BS6853报告与EN45545区别
- 格式:pdf
- 大小:439.85 KB
- 文档页数:12
EN45545防火报告与BS 6853防火报告区别轨道车辆材料防火烟毒测试最常用的标准有欧标EN45545及英标BS6853,这两个标准都是用于测试轨道车辆材料的防火阻燃烧性能、烟雾释放量、毒性测试的标准。
EN45545及BS 6853这两个常用标准有什么具体区别了?EN45545-2标准为轨道车辆的防火保护-材料及构件的防火性能要求。
EN45545标准根据产品最终用途将产品测试划分26个表格,R1-R26。
不同表格的测试方法及测试项目会有所不同。
BS6853标准为载客列车设计与构造防火通用规范。
BS6853标准根据产品最终用途将测试划分为14个表格(Table 1-Table 14)。
一般材料EN45545防火烟毒报告测试项目及标准EN ISO 5658-2:建筑产品垂直结构火焰的扩张EN ISO 5660-1:产品热释放率的测试方法EN ISO 5659-2:烟密度测试EN ISO 5659-2:毒性测试小区域材料EN45545防火烟毒报告测试项目及标准EN ISO 4589-2:氧指数测试EN ISO 5659-2:烟密度测试NF X 70-31:毒性测试一般材料BS6853防火烟毒报告测试项目及标准BS476-6 火焰传播指数测试BS476-7 防火阻燃等级测试BS6853附录B.2: 毒性测试BS6853附录D8.4: 烟密度测试小区域材料BS6853防火烟毒报告测试项目及标准EN ISO 4589-2:氧指数测试BS6853附录B.1: 毒性测试BS6853附录D8.3: 烟密度测试小区域材料的BS6853及EN45545的防火性能测试都是根据EN ISO4589-2氧指数测试标准进行测试。
BS6853最高等级la类要求EN ISO4589-2氧指数至少为34%。
EN45545-2标准最高等级HL3要求EN ISO4589-2氧指数至少为32%。
由于EN45545及BS6853许多测试方法及项目都不相同,因此也无法直接进行比较。
橡胶en45545防火检测报告橡胶材料的防火性能是非常重要的,特别是在某些应用领域,如交通运输工业。
根据你的要求,我将从多个角度全面回答关于橡胶材料的EN45545防火检测报告的问题。
首先,EN45545是欧洲铁路行业的防火标准,它规定了铁路车辆中使用的材料和组件的防火性能要求。
这个标准涵盖了多个方面,包括热释放、烟雾生成、滴落物和毒性等级。
因此,橡胶材料需要通过相关测试来评估其在火灾情况下的性能。
防火检测报告通常包括以下几个方面的内容:1. 材料信息,报告会详细列出被测试的橡胶材料的相关信息,如材料名称、供应商、批次号等。
2. 测试标准,报告会明确指出所采用的测试标准,即EN45545,以及具体的测试方法和要求。
3. 热释放性能,报告会提供橡胶材料在燃烧过程中释放的热量数据。
这个数据可以用来评估材料的火灾蔓延速度和火势。
4. 烟雾生成性能,报告会给出橡胶材料在燃烧过程中产生的烟雾量。
这个数据对于评估火灾中的能见度和逃生情况非常重要。
5. 滴落物性能,报告会描述橡胶材料在火灾中是否会产生滴落物,并给出滴落物的数量和性质。
这个数据对于评估火灾蔓延的风险和火灾后的清理工作很有帮助。
6. 毒性等级,报告会评估橡胶材料在火灾中释放的有害气体和化学物质的毒性等级。
这个数据对于评估火灾中的人员健康风险非常重要。
除了以上内容,报告还可能包括其他相关测试结果和评估,如材料的耐热性能、机械性能等。
总之,橡胶材料的EN45545防火检测报告是评估材料在火灾情况下的性能的重要依据。
报告中的详细数据和评估结果可以帮助用户选择合适的材料,并确保其在铁路行业等领域的安全应用。
欧洲轨道车辆防火标准对比及借鉴摘要:对欧洲主要的轨道车辆防火标准进行了介绍和总结,对比了这些标准在测试方法和评价指标等方面的差异,并说明了对我国防火标准的借鉴及参考意义。
关键词:轨道车辆;防火标准轨道车辆防火安全是车辆设计中的首要问题,是保证列车安全运行的基础和必要条件。
目前,在轨道车辆防火标准研究方面比较成熟的德国,英国,法国等国家,根据其考虑问题的侧重点不同,对材料防火制定了不同的标准,本文将介绍和比较这些标准,并说明对我国防火标准的借鉴及参考意义。
1.德国标准德国的铁路防火标准DIN 5510是系列标准,其中DIN 5510-2《材料和构件的燃烧特性和燃烧并发现象:分类、要求和测试方法》是轨道车辆材料的防火要求。
在DIN 5510-1标准中,根据车辆运行线路设施条件以及逃生的可能性和失火后的风险,把车辆分为4个阻燃保护等级(见表1)。
表1 DIN 5510中的客车车辆阻燃保护等级DIN 5510-2中根据DIN 5510-1中规定的客车车辆阻燃保护等级以及零部件的安装位置等特点,明确了材料的防火性能要求。
防火性能包括可燃性、烟雾性、滴落性及烟气毒性等。
主要指标有S、SF、ST、FED等。
1)易燃等级由低到高分为S1,S2-S5,主要考核材料的烧毁长度和续燃时间;SF1-SF3适用于地板面层易燃等级,主要考核材料燃烧时的消光情况;2)烟雾生成等级由低到高分为SR1和SR2;3)滴落物生成等级由低到高分为ST1和ST2,主要考核材料燃烧的滴落现象;4)烟气毒性,FED-有效计量百分数,主要考核烟气毒性情况。
1.英国标准英国铁路防火标准BS 6853《铁路客车设计和建造火灾预防实施规范》,加强了铁路车辆设计者和制造商的责任,规定了设计中的注意事项,例如:乘客头上的行李架应设计为从下面可以看到摆放的物品。
强调了列车建造材料的特性及防火性能,对材料的选择制定了目标,例如:控制燃烧源的能量、持续时间及着火频率;控制材料对多种燃烧源的反应等。
埃肯轨道车辆(机车)阻燃防火EN45545硅胶介绍背景:轨道车辆是一种客流量大的,线路大多处于相对密闭空间,又是无序人员密集场所,在发生灾难时逃生与救援都比较困难。
近年来,多次发生列车火灾事故,致使多人伤亡,财产损失严重,因此世界各国对轨道交通车辆可能发生的消防安全隐患不断提出更高的防范标准。
对于铁路车辆材料的防火测试标准,各国测试标准及方法均不同,欧盟启动了一个名为Firestarr Project的计划,旨在研究和建立一套适合于铁路车辆材料的可燃性、火焰传播速率、热释放量、烟雾释放量和毒性的测试奠定基础。
根据产品的最终用途、火灾时风险程度,将划分为R1-R26这26个不同的类别。
根据不同车辆类型及操作环境不同,火灾的危险等级从HL1-HL3 。
主要评估性能有:热释放量;可燃性;毒性测试;烟雾密度测试方法EN ISO 5658-2 建筑产品垂直结构火焰的扩张EN ISO 5660-1 产品热释放率的测试方法EN ISO 5659-2 产品烟密度EN 45545 Annex C 毒性测试EN ISO 9239-1 建筑产品垂直结构火焰的扩张ISO 9705 全规模的测试方法ISO 4589-2 氧指数测试EN 50266 电缆的垂直火焰燃烧EN 50266-2-4 电线电缆多根成束垂直燃烧测试(电缆直径≥12mm)EN 50306.9.1.1 铁路用薄壁电缆的防火性能测试(6mm<电缆直径<12mm)EN 50306.9.1.2 铁路用薄壁电缆的防火性能测试(电缆直径≤6mm)EN 61034-2 电线电缆烟雾浓度测试EN 60332-1-2 电线电缆单根垂直火焰燃烧EN 50268-2 电线电缆的烟密度的测试NF X 70-100 毒性测试相关标准CEN/TS EN 45545 Fire protection of railway vehicles 轨道车辆防火保护。
各国轨道车辆(机车)材料阻燃防火规范德国标准:DIN 5510-2 铁路车辆防火材料燃烧性能,分类,要求和测试方法法国标准:NF F 16-101/102铁路车辆防火材料的选择/电力设备的应用英国标准:BS6853 载客列车设计与构造防火通用规范美国标准:NFPA 130 有轨列车和乘客轨道系统标准意大利标准:UNI CEI 11170-3 轨道车辆防护的指导欧盟技术规范:CEN/TS 45545-2 轨道车辆的防火保护国际铁路联盟标准:UIC564-2 国际载客轨道车辆防火和消防规范善贞实业(上海)有限公司是一家致力于橡胶行业发展为己任的公司,并与蓝星为战略合作伙伴,长期供应蓝星有机硅产品,为客户提供先进、优质、特色、稳定的产品,以及定制化的整体解决方案等服务。
EN45545是欧洲铁路行业的防火标准,其中HL3是最高的防火等级。
这个标准主要基于车辆运行的风险程度,分为HL1、HL2、HL3三个火灾风险等级。
其中,HL3等级具有最高的防火要求,必须满足特定的防火测试要求,具有高阻燃性能和低烟毒性。
此外,根据车辆运行的环境和车辆类别,EN45545-2也进行了具体的规定。
例如,对于标准车辆、没有急救培训的员工的自动列车、双甲板车辆以及卧铺车辆等,都有不同的风险等级要求。
以上信息仅供参考,如需了解更多信息,建议查阅EN45545的官方文件或咨询相关人员。
欧盟防火测试EN45545标准
EN45545标准是欧盟为了建立统一的铁路车辆的防火测试标准所制定,标准中规定铁路车辆构件及材料的防火阻燃性,烟雾毒性等性能要求。
防火标准EN45545随着EN45545的引入和批准,欧洲正在统一消防安全标准,以确保铁路应用中人员和设备的安全。
EN 45545-1包含关于如何对轨道车辆进行分类的基本定义和一般规则。
定义了列车运行和列车设计类别,以评估火灾风险。
危险等级是根据这些分类来定义的。
EN 45545-2描述了不同危险等级(HL1、HL2和HL3)的材料要求。
表R22规定了内部应用的可燃性、烟雾排放和毒性要求。
表R23对外部应用程序也是如此。
EN 45545-3描述了防火屏障的耐火要求。
除非小心设计,否则电缆保护导管内的电缆穿过防火屏障的位置可能代表火灾、热量或气体可能穿透的潜在弱点。
EN 45545-3根据EN 45545-1中定义的操作类别,为10种不同的消防安装情况设置了E、I和W要求:
-E(完整性),性能等级E15,E30(分钟)
-I(隔热)
-W(辐射)
E15足以满足10种安装情况和操作类别中的几种。
E30中,对3类和4类列车运行的行李厢和乘客区或司机室之间的防火屏障规定了最高要求。
在这种情况下,必须防止火灾至少持续30分钟。
说到轨道交通大家都比较熟悉,例如我门上下班需要乘坐的地铁,出远门需要乘坐的高铁,这些都属于轨道交通的范畴。
要知道这些事关人们的生命安全,安全问题是重中之重,所以这些与轨道交通相关的材料和产品再投入使用之前是需要经过相关检测的,其中EN45545-2检测就是众多检测中的一种。
但是我们很多人可能并不了解,下面就给大家介绍一下。
EN 45545-2:2013新标准与之前的协调性标准PrCEN TS 45545-2有一定程度的差异。
这一新轨道交通防火标准综合考虑并结合了当前欧洲主要轨道防火标准(英标BS 6853、德标DIN 5510-2、法标NFF16-101、意大利标准UNICEI11170-3)等,未来有望成为欧洲国家统一通用的轨道车辆防火标准。
EN 45545-2: Fire protection of railway vehicles - Part 2: Requirement for fire behaviours of materials and components EN 45545-2: 轨道车辆防火保护-第2部分:材料和元件的防火要求EN 45545-2 / EN45545-2:2013欧盟最新轨道车辆材料阻燃防火测试-标准简介欧洲铁路于2013.03.08正式发布了EN 45545-2:2013,并已发展成为国际铁路联盟和欧洲国家的铁路车辆防火安全规范。
EN 45545-2:2013欧盟最新轨道车辆阻燃防火测试标准与之前的协调性标准PrCEN TS 45545-2存在一定程度的差异。
EN 45545-2 / EN45545-2:2013欧盟最新轨道车辆材料阻燃防火测试-标准概述EN 45545-2:2013的主要目的是根据材料燃烧性能、热量释放、烟雾密度和烟雾毒性,来制定与材料选择有关的规则。
根据材料的最终用途,EN 45545-2标准划分了R1-R26共26个不同类别;根据火灾的风险程度,EN 45545-2标准划分了HL1、HL2、HL3共3个火灾风险等级其中EN45545-2 HL3要求最高,最为严格。
BS6853测试-铁路列车防火阻燃测试BS6853测试简介BS6853标准为英国铁路联盟、英国伦敦地铁协会、英国标准技术委员会FSH-19等机构所制定,规定铁路车辆构件及材料的防火阻燃烟雾毒性等性能。
英国BS6853-1999标准为载客列车设计与构造防火通用规范。
目的在于保证旅客在列车车辆上及周围环境的安全性,重点为地铁动车等车辆的构造,材料的特性、防火性能。
BS 6853: Code of practice for fire precautions in the design and construction of passenger carrying trainsBS6853中车辆的分类根据机车运行环境,列车分类为Ⅰa 类、Ⅰb 类和Ⅱ类(地表),这三种类别分别适应于不同的性能等级,这些性能对应着火及危险不同的发生可能性及发生时不同的规模。
Ⅰa类:多数运行时期是在不带通向人行道的侧出口和逃生道的单轨隧道,或在地下运行相当时间的卧铺车辆,或无人操作的列车。
Ⅰb类:多数运行时期是在有通向人行道侧出口和逃生道的多轨隧道,或无在地下运行相当时间的卧铺车辆。
Ⅱ 类:多数运行时期不在隧道的表面运行车辆。
BS6853测试的材料1.橡胶产品、密封条2.天花板、吊顶、吊顶覆盖物3.墙体、墙体覆盖物4.纺织品、无纺布、窗帘、遮阳产品5.座椅、座椅装饰6.地板(PVC、橡胶、铝蜂窝板等)地面材料7.发泡材料(海绵、三聚氰胺泡沫)8.粉末涂料、胶粘剂、颜料、光油9.玻璃钢复合材料、SMC片材10.防火胶水11.门、窗及门窗框架12.扶手、拉手、头枕、可折叠护套、小开关等小部件13.连接器、连接设备14.加热管、冷却管、波纹管、空调管15.其它机车材料BS6853的相关标及要求。
欧盟欧盟最新最新最新标准标准EN45545-2:2013轨道交通车辆材料烟火毒测试1. 标准名称---轨道交通车辆材料防火测试标准 EN45545 / EN45545-2-2013EN45545-2 Railway applications - Fire protection of railway vehicles-Part 2: Requirement for fire behaviour of materials and componentsEN45545-2铁路应用—铁路车辆的防火保护—第2部分:材料和元件的防火要求。
欧盟铁路于2013年03月08日正式公布EN45545-2更新版标准。
EN45545-2最新版标准更新为EN45545-2:2013-09,EN45545-2:2013标准与之前EN45545-2:2009标准有所不同。
更多关于欧盟EN45545标准的最新内容,请咨询南京睿督公司,咨询电话:025-8658 3475。
2. EN45545 / EN45545-2-2013标准概述EN45545-2:2013最新标准主要关注于材料的燃烧性能、热释放量、烟密度、毒性等性能。
EN45545-2标准根据材料的最终用途,划分为R1-R26共26个不同的类别。
根据车辆类型及操作环境,EN45545-2-2013标准将火灾的危险等级划分为HL1、HL2、HL3,共3个火灾风险等级。
欧盟EN45545-2标准将计划取代BS6853、NFF16-101、NFF16-102、DIN5510-2、CEI UNI 11170-3、prE10.02.977.3、UIC564-2等欧盟各国轨道车辆材料防火测试标准。
3. EN45545 / EN45545-2-2013标准包括如下轨道车辆EN45545-2标准规定了如下车辆(地铁 动车 高铁 磁悬浮列车 机车火车 轻轨 有轨电车 无轨电车 长途汽车进行)的防火燃烧测试性能、烟雾毒性、燃烧热值等性能。
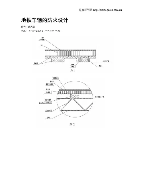
地铁车辆的防火设计作者:奚大业来源:《科学与技术》2018年第08期摘要:地铁车辆的防火主要考虑防火材料防火和结构防火,两者同时兼顾。
关键词:地铁防火设计;车体防火;内装结构防火;地板防火;间壁防火;材料防火1.前言地铁整车防火设计主要分为两个方面,一是通过材料防火性和部件的防火和结构防火设计控制车辆本身材料及结构不易发生火宅;二是通过防火设计在火灾发生后,紧急制动良好、信息系统可用、火灾报警装置及时报警和具有灭火装置,从而创造足够的条件撤离和逃离。
本文主要侧重论述以下第一方面。
2.地铁车辆的防火安全设计系统要求2.1 材料及构件防火设计根据相应的防火标准选用符合条件的材料及构件。
2.2结构防火设计根据车体及内装各部件的特点和防火要求,设计车体钢结构及内装防火结构。
一方面,在火灾发生时保证车体钢结构有足够的强度,车体和内装的变形不影响车门、紧急逃生窗口、紧急逃生门的开启。
贯通道、司机室间壁门可安全通过。
另一方面,内装系统采用防火性能好的材料,内装结构能有效防火。
保证在火灾发生时列车内装各系统不影响乘客逃生。
其中包括:a、地板结构可有效阻止车下电气燃烧向客室内蔓延;b、端部电器柜能有效阻止火灾蔓延到客室c、钢结构与墙板或端墙板之间空间设置组织高热空气流动的间隔;d、司机室隔断间壁能有效阻止客室火势向司机室发展。
2.3车电安全系统正常工作,对车电防火安全高的设备制作防火隔离箱。
箱体走线孔须用防火材料进行封堵。
保证牵引、制动等箱体的防火性能。
保证电气引起的火灾进行蔓延,进入到客室内部。
2.4对车辆紧急制动装置、信息系统、火灾报警装置和灭火装置的要求。
2.5防火与安全撤离设计。
本文着重阐述第2.1和2.2点。
3 材料及构件防火概述:材料防火标准主要有EN 45545-2-2013、BS6853:1999、DIN5510-2:2009,EN BS6853:1999材料防火主要从烟、毒、火方面要求材料达到相应的标准。
轨道交通防火标准:欧标EN45545-2详解EN 45545-2:2013新标准与之前的协调性标准PrCEN TS 45545-2有一定程度的差异。
这一新轨道交通防火标准综合考虑并结合了当前欧洲主要轨道防火标准(英标BS 6853、德标DIN 5510-2、法标NFF16-101、意大利标准UNICEI11170-3)等,未来有望成为欧洲国家统一通用的轨道车辆防火标准。
EN 45545-2欧标最新防火标准-标准名称EN 45545-2:Fire protection of railway vehicles-Part 2:Requirement for fire behaviours of materials and componentsEN 45545-2:轨道车辆防火保护-第2部分:材料和元件的防火要求EN 45545-2/EN45545-2:2013欧盟最新轨道车辆材料阻燃防火测试-标准简介欧洲铁路于2013.03.08正式发布了EN 45545-2:2013,并已发展成为国际铁路联盟和欧洲国家的铁路车辆防火安全规范。
EN 45545-2:2013欧盟最新轨道车辆阻燃防火测试标准与之前的协调性标准PrCEN TS 45545-2存在一定程度的差异。
EN 45545-2/EN45545-2:2013欧盟最新轨道车辆材料阻燃防火测试-标准概述EN 45545-2:2013的主要目的是根据材料燃烧性能、热量释放、烟雾密度和烟雾毒性,来制定与材料选择有关的规则。
根据材料的最终用途,EN 45545-2标准划分了R1-R26共26个不同类别;根据火灾的风险程度,EN 45545-2标准划分了HL1、HL2、HL3共3个火灾风险等级。
其中EN45545-2 HL3要求最高,最为严格。
为了减少车辆运行时的风灾危险程度,要求铁路车辆内装饰材料最好都达到EN45545 HL3类。
EN45545-2 HL1-HL3风险等级根据车辆运行环境及车辆类别来划分等级。
BS 6853标准是英国防火阻燃测试标准,其目的是保证旅客在列车的车辆上或周围发生意外时的安全。
该标准中的建议包括材料对火的反应、防火屏障的使用、消防安全设计的一般方面。
BS 6853标准适用于多种材料,包括橡胶制品(密封件、过滤器)、三聚氰胺保温泡沫、隔音毯、窗帘、座椅靠背用纺织品、海绵(座位)、地板(胶水和粘合剂)、塑料制品(灯罩、电池外壳)、耐火涂料、耐火胶、电缆等。
BS 6853标准对产品的防火性能和耐火程度进行了规定和分类,对列车车辆的构造和材料提出了防火安全要求。
该标准还规定了列车内部设施的耐火等级和燃烧性能要求,以确保在火灾情况下,列车内部设施能够承受一定的热量和火焰,并保持一定的完整性和稳定性,为乘客提供足够的安全逃生时间。
总之,BS 6853标准是列车防火安全的重要标准之一,对于保障旅客的生命安全具有重要意义。
《深度解读:en 45545-2-r5合格标准》一、引言在当今世界,安全性已经成为了一个永恒的主题。
特别是在铁路运输领域,安全性更是一项不容忽视的重要因素。
铁路车辆材料的阻燃性能一直备受关注。
而en 45545-2-r5合格标准正是针对铁路车辆材料的阻燃要求而制定的,它对铁路车辆的安全性起着至关重要的作用。
二、en 45545-2-r5合格标准概述en 45545-2-r5合格标准是欧洲铁路行业针对铁路车辆材料的阻燃性能制定的一项标准。
其目的是保障铁路车辆在运输过程中的安全性,防止火灾事故的发生。
该标准主要包括对材料的热释放、烟密度、毒性和火焰传播性能等方面的要求,以及相应的测试方法和等级划分标准。
三、en 45545-2-r5合格标准的深度解读1. 对材料的热释放要求en 45545-2-r5合格标准对铁路车辆材料的热释放性能提出了严格的要求。
热释放指的是材料在燃烧过程中释放出的热量,其快速释放会加剧火势蔓延的速度,因此对热释放性能的要求十分关键。
测试方法主要包括热释放速率测试和总热量释放测试,而各级别的要求则基于火车车厢内部的位置和材料的用途而有所不同。
2. 烟密度和毒性要求烟密度和毒性是在火灾发生时对乘客和工作人员造成伤害的主要因素。
en 45545-2-r5合格标准对铁路车辆材料在燃烧过程中产生的烟雾密度和毒性进行了严格的要求。
测试方法包括光学密度测试和烟雾毒性测试,通过对烟雾的浓度和成分进行监测,以确保在火灾发生时乘客和工作人员能够尽快疏散,并降低中毒风险。
3. 火焰传播性能要求火焰传播性能是衡量材料燃烧过程中火焰蔓延速度的重要指标。
en 45545-2-r5合格标准对铁路车辆材料的火焰传播性能也进行了严格的要求,主要包括火焰传播速率和火焰持续时间等指标。
通过对材料燃烧过程中火焰的蔓延速度和范围进行测试,以确保火灾发生时能够及时控制火势的蔓延,降低事故造成的损失。
四、个人观点和理解en 45545-2-r5合格标准的制定是对铁路安全性的重大保障,对于铁路行业的发展具有重要意义。
欧盟最新防火测试标准:EN 45545EN 45545 欧盟最新防火测试-标准概述根据材料的最终用途,EN45545-2标准划分了R1-R26共26个不同类别。
根据车辆运行的风险程度,EN45545-2标准划分了HL1、HL2、HL3共3个火灾风险等级。
EN45545-2:2013新标准的主要目的是根据材料燃烧性能、热量释放、烟雾密度和烟雾毒性,来制定与材料选择有关的规则。
EN 45545主要材料分类和测试方法:EN 45545-2 R1主要针对门,窗,天花板等表面材料EN 45545-2 R2主要针对有限表面材料EN 45545-2 R4主要针对是灯罩,灯光扩散器等EN 45545-2 R5主要针对空调过滤材料EN 45545-2 R6主要针对乘客座椅EN 45545-2 R15/R16主要针对电线电缆EN 45545-2 R18主要针对完整的乘客座椅EN 45545-2 R19主要针对工作人员座椅EN 45545-2 R20主要针对床上用品,但不包括床垫EN 45545-2 R21主要针对床垫、头枕、坐垫、座椅扶手EN 45545-2 R22/R23主要针对密封条,小区域材料,大功率电子电器产品,软管等EN 45545-2 R24/R25主要针对的材料是电路板EN 45545-2 R26主要针对电工小元件等EN 45545测试方法:ISO 5658-2火焰延伸试验ISO 5660-1热量释放试验ISO 5659-2Ds 烟雾密度测试ISO 5659-2VOF烟雾密度测试ISO 5659-2 CIT烟雾毒性测试EN ISO 11925-2小火焰测试EN ISO 12952-2明火燃烧测试EN 60332-1-2电缆单根燃烧测试EN 60332-3-24电缆成束燃烧测试EN 50305烟雾毒性测试EN ISO 4589-2氧指数测定NF X70-100-1 & 2烟雾毒性测试ENISO4589-2氧指数测试EN60695-2-11灼热丝测试EN 60695-11-10 垂直燃烧测试EN ISO 9239-1 铺地材料辐射热源法。
随着经济的快速发展,科技的不断进步,我国的交通事业也得到了快速发展,尤其是轨道交通,在近十年的发展可谓如火如荼。
仙子啊轨道交通已经不在是大城市的特例,在许多的中型城市轨道交通也在慢慢出现和逐渐普及。
在大力建设轨道交通的同时,安全问题是重中之重,因此进行各项检测必不可少。
其中EN45545-2; DIN5510-2是轨道交通材料常规检测项目。
关于EN45545测试,EN45545检测的级别分类,针对产品,以及测试项目,具体要求如下:R1,R2,R3,R11,R12,R17级别,针对的测试产品一般是:表面材料,覆面材料,桌子,过道内表面,窗帘等。
测试项目:火焰蔓延性能,CONE热释放速率,NBS烟密度,FTIR毒性。
R4级别,针对的测试产品一般是:灯罩,灯光扩散器。
测试项目:火焰蔓延性能,可燃性,FTIR毒性。
R5级别,针对的测试产品一般是:空调过滤材料。
测试项目:可燃性,CONE热释放速率,NBS烟密度,FTIR毒性。
R6级别,针对的测试产品一般是:乘客座椅坐垫,靠背等床垫,头枕,坐垫。
测试项目:CONE热释放速率,NBS烟密度,FTIR毒性。
R7级别,针对的测试产品一般是:车厢外表面,外部管道,外部容器等。
测试项目:火焰蔓延性能,CONE热释放速率,NBS烟密度,FTIR毒性。
R8,R10级别,针对的测试产品一般是:车厢内地板材料,车厢外部屋顶结构等。
测试项目:铺地辐射热源法,CONE热释放速率,NBS烟密度,FTIR毒性。
R9,R21级别,针对的测试产品一般是:床垫,头枕,坐垫等。
测试项目:热释放速率,NBS烟密度,FTIR毒性。
R13级别,针对的测试产品一般是:制动刹车,套管和隔热板。
测试项目:不燃性,燃烧热值。
R14级别,针对的测试产品一般是:润滑油,阻燃液体等。
测试项目:开口法燃点。
R15,R16级别,针对的测试产品一般是:电线电缆。
测试项目:单根燃烧性能,成束燃烧性能,成束燃烧性能,管式炉毒性。
EN45545防火报告与BS 6853防火报告区别
轨道车辆材料防火烟毒测试最常用的标准有欧标EN45545及英标BS6853,这两个标准都是用于测试轨道车辆材料的防火阻燃烧性能、烟雾释放量、毒性测试的标准。
EN45545及BS 6853这两个常用标准有什么具体区别了?EN45545-2标准为轨道车辆的防火保护-材料及构件的防火性能要求。
EN45545标准根据产品最终用途将产品测试划分26个表格,R1-R26。
不同表格的测试方法及测试项目会有所不同。
BS6853标准为载客列车设计与构造防火通用规范。
BS6853标准根据产品最终用途将测试划分为14个表格(Table 1-Table 14)。
一般材料EN45545防火烟毒报告测试项目及标准
EN ISO 5658-2:建筑产品垂直结构火焰的扩张
EN ISO 5660-1:产品热释放率的测试方法
EN ISO 5659-2:烟密度测试
EN ISO 5659-2:毒性测试
小区域材料EN45545防火烟毒报告测试项目及标准
EN ISO 4589-2:氧指数测试
EN ISO 5659-2:烟密度测试
NF X 70-31:毒性测试
一般材料BS6853防火烟毒报告测试项目及标准
BS476-6 火焰传播指数测试
BS476-7 防火阻燃等级测试
BS6853附录B.2: 毒性测试
BS6853附录D8.4: 烟密度测试
小区域材料BS6853防火烟毒报告测试项目及标准
EN ISO 4589-2:氧指数测试
BS6853附录B.1: 毒性测试
BS6853附录D8.3: 烟密度测试
小区域材料的BS6853及EN45545的防火性能测试都是根据EN ISO4589-2氧指数测试标准进行测试。
BS6853最高等级la类要求EN ISO4589-2氧指数至少为34%。
EN45545-2标准最高等级HL3要求EN ISO4589-2氧指数至少为32%。
由于EN45545及BS6853许多测试方法及项目都不相同,因此也无法直接进行比较。
下面为BS6853测试标准完整介绍。
1.标准名称—BS6853:1999 英国轨道车辆材料防火测试标准
BS6853:1999 Code of practice for fire precautions in the design and construction
of passenger carrying trains
BS6853:1999载客列车设计与构造防火通用规范
2.标准目的-- BS6853:1999 英国轨道车辆材料防火测试标准
本BS 6853标准的目的在于保证旅客在载客列车的车辆上的或周围的安全。
本标准向铁路车辆制造商解释安全规定权威部门对防火性能的指导,加强了铁路车辆设计者和制造商的责任,鼓励他们使用在火焰中释放较小的有毒物质的更为安全的材料。
遵守本BS 6853标准即意味着应提供以下条件:
--达到对着火危险可接受的控制。
--当所有主要用到的材料表面暴露于火源时,达到对热量、烟及毒气总量等级的可接受的控制。
--所有要求作为防火板使用的材料或物品,以及在暴露于火源时要求发挥作用的材料及物品,应达到可接受的防火性能。
3.列车分类-BS6853:1999英国轨道车辆类型
根据机车运行环境,列车分类为
Ⅰa 和Ⅰb 类(地下)
Ⅱ类(地表)
这三种类别分别适应于不同的性能等级,这些性能对应着火及危险不同的发生可能性及发生时不同的规模。
--Ⅰa:多数运行时期是在不带通向人行道的侧出口和逃生道的单轨隧道,或在地下运行相当时间的卧铺车辆,或无人操作的列车。
6.BS6853/BS 6853轨道车辆材料如下:
橡胶产品、密封条
天花板、吊顶、吊顶覆盖物
墙体、墙体覆盖物
纺织品、无纺布、窗帘、遮阳产品
座椅、座椅装饰
地板(PVC、橡胶、铝蜂窝板等)地面材料
发泡材料(海绵、三聚氰胺泡沫)
粉末涂料、胶粘剂、颜料、光油
玻璃钢复合材料、SMC片材
防火胶水
门、窗及门窗框架
扶手、拉手、头枕、可折叠护套、小开关等小部件
连接器、连接设备
加热管、冷却管、波纹管、空调管
其它机车材料
天津智动电子科技有限公司代理凯门富乐斯ECO及ST材料均经过EN 45545-2及BS6853权威测试,有完整测试报告,请各车厂放心使用。
2018年3月22日星期四。