通道类定向资产管理业务介绍
- 格式:ppt
- 大小:337.54 KB
- 文档页数:10
资管人必须了解的通道业务(号称最绕的的钱路)通道业务具体指什么,为何还会被称为最绕的钱路,让我们一起来看看这篇关于通道业务解读的文章。
1通道业务1、哪些是通道业务、有哪些通道机构简单地说,通道业务是银行作为委托人,银行表内资金或理财委贷等表外资金,以第三方机构作为受托人,设立资管计划或信托收益权为客户提供融资。
受托人这一通道主要为券商资管、信托、保险等机构。
在银监发〔2014〕54号文中,曾解释跨业通道业务:商业银行或银行集团内各附属机构作为委托人,以理财、委托贷款等代理资金或者利用自有资金,借助证券公司、信托公司、保险公司等银行集团内部或者外部第三方受托人作为通道,设立一层或多层资产管理计划、信托产品等投资产品,从而为委托人的目标客户进行融资或对其他资产进行投资的交易安排。
这段话更加详细地定义了通道业务,点明特点:在上述交易中,委托人实质性承担上述活动中所产生的信用风险、流动性风险和市场风险等。
2、典型的通道模式有哪几种委托贷款通道模式:通道业务最终的客户是一些受宏观调控控制或过剩行业的企业,这些企业难通过正常的贷款流程在银行贷到款。
委托贷款的模式是过桥企业委托银行向需要融资的银行客户发放委托贷款,银行用理财资金从过桥企业受让这笔委托贷款的受益权。
银信合作模式:一家银行作为过桥银行,由该银行与信托公司签订,设立单一信托,以信托贷款的形式贷给银行指定的企业。
过桥银行将信托受益权卖断给另一家银行,并同时出具信托受益权远期回购。
也有一部分通过买卖信贷和票据资产实现。
例如,银行向信托公司提供资金,指定信托公司购买银行的信贷或票据资产。
通过信贷资产转让,将贷款或票据转至信托公司名下,银行得以释放贷款额度。
银证合作模式:银行与券商签署协议设立定向资产管理计划,银行委托券商资产管理部门管理自有资金,券商将委托的自有资金购买银行的贴现票据(表内),并委托托收银行到期收回兑付资金。
银行持有的资管计划受益权计入表外。
银行创新通道类业务“通道类业务”,就是商业银行受到监管指标约束和政策限制,没有相应的存款和资本做支撑发放贷款,或不得向某些行业(如房地产)、政府融资平台等直接发放贷款,为此银行转而通过“理财产品”的形式“吸储”,之后用理财产品募集的资金认购信托公司、证券公司等发行的资产管理类金融产品,而这个金融产品的投向,其实就是银行事项选定好的项目或房地产企业、政府融资平台限制性行业。
通道类业务是一个通俗的说法,由于项目、客户两头资源都掌握在银行手中,信托、券商或基金公司,只是利用牌照出一个方案,甚至形式上过一下账而已。
通道类业务最早是银行与信托公司合作,尤其是2011年四季度前,信托公司帮助银行信贷资产由表内转表外,主要以信托计划对接银行理财产品的形式进行。
但由于信托公司在银信合作模式中的风险收益不匹配,且对现行银行监管的绕道而行,银监会对银信合作进行了明文限制。
然而2012年证监会发文放开了券商的资产管理业务,以及11月1日起施行的《基金管理公司特定客户资产管理业务试点办法》允许基金公司设立专门的子公司,通过设立专项资产管理计划开展资产管理业务,同时随着泛资产管理时代的到来,保险公司也加入与银行合作的队伍,证券公司、基金公司以及保险公司成为了银行监管套利的新通道。
银信合作、银证合作、银基合作、银保合作等通道类业务的模式有一个基本的共同点:就是信托公司、证券公司、基金公司以及保险公司利用他们能够开展资金管理业务的功能,通过发行信托计划(信托公司)、资金管理计划(证券公司)、专项资产管理计划(基金公司)、资管债权投资计划(保险公司)等与银行理财产品进行对接,其中银行负责挑选合适的项目并发行理财产品募集资金,合作的信托、证券等公司则负责为理财产品设立资金管理计划,以此实现项目和资金的对接。
通道类业务主要有两种功能:一是将表内资产转表外,逃避信贷规模和资本约束;二是将资金投向限制性行业企业,逃避政策管制。
逃避信贷规模和资本约束的通道类业务:如银行理财资金投资于一个券商定向资产管理计划(或单一信托),后者再投资于保险资产管理公司的资产管理计划,然后再以保险资产管理公司的名义存入协议存款。
定向资产管理计划定向资产管理计划是指根据投资者的需求和目标,通过资产配置和资产管理,为投资者提供量身定制的投资服务。
这种管理计划通常由专业的资产管理机构或个人财务顾问提供,旨在帮助投资者实现其财务目标,并最大程度地降低风险。
定向资产管理计划的核心理念是根据投资者的风险偏好、投资目标和投资期限,为其量身定制一揽子的资产配置方案。
这种方案可能包括股票、债券、房地产、大宗商品等多种资产类别,以及不同地区、不同行业的投资标的。
通过细致的资产配置和持续的资产管理,定向资产管理计划旨在实现投资者的长期财务目标。
定向资产管理计划的优势在于个性化和专业化。
相比于传统的资产管理产品,定向资产管理计划更加注重投资者的个性化需求,能够为其量身定制投资方案。
投资者可以根据自身的财务目标和风险承受能力,选择适合自己的资产配置方案,从而实现更加精准的资产管理。
另外,定向资产管理计划通常由专业的资产管理机构或个人财务顾问提供,他们拥有丰富的投资经验和专业的投资知识,能够为投资者提供更加专业的投资建议和服务。
投资者可以借助他们的专业能力,更好地把握投资机会,规避投资风险,实现更加稳健的投资回报。
然而,定向资产管理计划也存在一定的风险和挑战。
首先,个性化的投资方案需要投资者对自身的财务目标和风险承受能力有清晰的认识,否则可能导致投资方案与实际需求不匹配。
其次,专业的资产管理机构或个人财务顾问的服务费用通常较高,这也是投资者需要考虑的成本之一。
总的来说,定向资产管理计划是一种为投资者量身定制的投资管理服务,其核心理念是通过资产配置和资产管理,实现投资者的财务目标。
这种管理计划能够更好地满足投资者的个性化需求,提供专业的投资服务,但也需要投资者对自身的财务目标和风险承受能力有清晰的认识,以及考虑专业服务的成本。
希望投资者在选择定向资产管理计划时,能够充分了解自身需求,选择合适的投资方案,实现更加理想的投资回报。
了解通道业务一、通道业务的基本概念1、通道业务注1是中国金融市场分业经营、牌照管理环境之下的一种特殊业态。
具体是指资金方(资金方穿透到底层,大多数为银行资金及保险资金,银行资金包括自有资金,理财资金等资金)决定(包括自主决定、委托第三方机构决定以及其他)借助通道方(通道方实践中由信托公司、证券公司、基金公司及其子公司、期货公司、保险公司、私募机构等其他资管机构)设立通道载体(一般表现为资管产品、信托计划、私募及其他载体),由资金方或资金方委托第三方进行尽职调查及存续期管理来实现投资目标的业务模式。
2、通道方参与通道业务本质上是出借牌照,资金方参与通道业务本质上是跨监管套利。
银行做通道业务的根源就是通过表内、表外资产注2的腾挪,突破贷款规模和行业限制,实现跨监管套利。
注1目前有银监会、保监会版本定义,证监会未定义。
银监会版本的定义:出自《商业银行并表管理与监管指引》银监会发[2014]54号,“本指引所称跨业通道业务,是指商业银行或银行集团内各附属机构作为委托人,以理财、委托贷款等代理资金或者利用自有资金,借助证券公司、信托公司、保险公司等银行集团内部或者外部第三方受托人作为通道,设立一层或多层资产管理计划、信托产品等投资产品,从而为委托人的目标客户进行融资或对其他资产进行投资的交易安排,在上述交易中,委托人实质性承担上述活动中所产生的信用风险、流动性风险和市场风险等。
”保监会版本定义:出自《关于清理规范保险资产管理公司通道类业务有关事项的通知》(保监会资金)[2016]98号,“本通知规定需要清理规范的银行存款通道等业务(简称通道类业务),是指在本通知发布之日前开展的资金来源于投资标的均由商业银行等机构确定,保险资产管理公司通过设立资产管理计划等下形式接受商业银行等机构的委托,按照其意愿开展银行协议存款等投资,且在其委托合同中明确保险资产管理公司不承担主动管理职责,投资风险由委托人承担的各类业务。
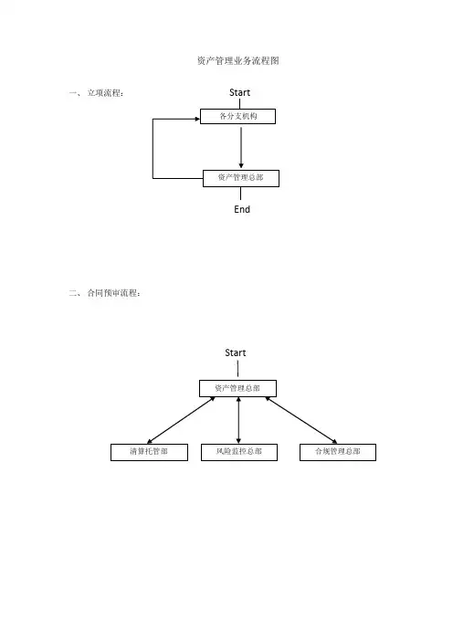
资产管理业务流程图一、立项流程:
二、合同预审流程:
Start
三、合同审批流程:
End
注:○1项目立项过程:各分支机构通过工作备忘录形式提交立项申请资料,包括但不限于立项申请表、项目风险评估表、定向资产管理合同以及相关投资合同资料;资产管理总部对立项提出反馈意见。
○2
合同预审过程:由资产管理总部通过工作备忘录形式发至清算托管总部、风险监督总部、合规管理总部,由这三个部门进行合同预审,并提出修改意见。
○3合同审批流程:资产管理总部承做项目,并通过工作呈批表发起合同审批盖章流程。
定向资产管理通道业务实务及案例引言在金融市场中,定向资产管理通道是一种重要的投资工具,其通过将投资人的资金投向特定的资产,以实现固定收益。
本文将介绍定向资产管理通道的业务实务,并通过案例分析,进一步说明其应用和风险管理。
一、定向资产管理通道的定义定向资产管理通道指的是一种通过设立特定资产管理计划,将投资人的资金汇集起来,专门用于投资特定的资产。
通常情况下,定向资产管理通道的资金主要用于投资信托计划、债权资产和股权投资等。
二、定向资产管理通道的特点(1)专业化管理:定向资产管理通道由专业的资产管理公司负责管理,投资人无需直接参与资产的运作和管理。
(2)个性化投资:定向资产管理通道允许投资人根据自身的需求和风险承受能力进行个性化的投资选择。
(3)流动性管理:定向资产管理通道通常设有合理的流动性管理机制,使投资人可以根据需要随时赎回投资份额。
(4)风险控制:定向资产管理通道设有风险控制措施,以确保投资人的资金安全。
三、定向资产管理通道的业务实务(1)投资策略制定:定向资产管理通道的资产管理公司根据投资人需求、市场状况和风险因素等,制定相应的投资策略。
(2)资产选择与投资:资产管理公司根据制定的投资策略,选择适合的资产进行投资,并及时进行风险控制和优化调整。
(3)分红与分配:定向资产管理通道的投资收益一般以分红方式进行,资产管理公司根据投资人的份额比例进行分配。
(4)信息披露与透明度:定向资产管理通道需要及时向投资人披露相关信息,确保透明度和投资者的知情权。
四、定向资产管理通道的案例分析以下是一个定向资产管理通道的实际案例:某资产管理公司发行了一只定向资产管理通道产品,旨在投资房地产信托计划。
该产品的投资策略包括选择优质的商业地产项目和住宅地产项目进行投资,并通过分散投资来降低风险。
投资人可以根据自身的投资需求选择相应的份额,资产管理公司负责管理和运作。
在运作过程中,资产管理公司定期向投资人披露相关项目的运作情况以及投资风险,确保投资人的知情权。
通道业务详解腾讯“证券研究院” 李奇霖联讯证券董事总经理、首席宏观研究员券商资管是什么?从字面简单看,它就是代人管钱的意思,在现实中已经成为证券公司重要的业务部分。
但如果对“管钱”进行细分,这里面又有更深层次的意义。
一种是主动管钱,即我们所说的主动管理,钱投向哪种资产,怎么投由我决定;而另外一种是被动的管钱,即我们所说的通道,钱投向哪种资产不由我决定,我只是一个执行指令的木偶。
在过去几年时间里,券商资管一直处于前者弱后者强的状态,通道成为其扩规模的利器。
但由于监管的收紧,市场的变化及其本身的脆弱与竞争力的不稳定不持久性,通道到现在似乎已经走到了尽头,券商资管正处于转型的十字路口,未来它该何去何从?为什么会有通道业务?在市场中,任何业务的出现都有其合理性。
通道业务能从无到有发展到当前超万亿的规模,其根源在于银行、非银与实体企业三者的利益具有一致的契合点。
银行是一个赚取利差、经营风险的机构,它的主要业务模式是吸收负债资金,然后拿去做投资获得收益。
这个投资可以是做贷款或类信贷(即非标),也可以去投债券,或者去做其他资产。
但无论怎么运用,银行都是为了实现低风险高收益的目标。
对于贷款,监管限制会使资金不能如愿投向相对高利率低风险的行业与企业。
这种监管限制体现为两点,一是银监会各种的风险指标约束,比如集中度限制,银行要确保每笔贷款占净资本的比例不能超过10%,同时该客户所在集团的整体授信也不能超过银行净资本的15%。
这意味着即使有资质十分好且收益率相对可以的客户,银行也不能一口吃太多,必须要分散。
二是行业限制。
在这种监管限制下,银行低风险高收益目标的实现受到了阻碍,银行的收益率可能会受到影响。
这时银行或许还可以下沉企业资质来获得高利率,但这样风险就大了,不良贷款与坏账率可能就会上去,资本可能就不够用,后面其他业务展开就会受到影响,得不偿失。
这时通道的作用就显现了。
我找一个机构,给他钱,让他去帮我投,表内的监管对我的约束就小了不少。
定向资产管理计划定向资产管理业务定向资产管理计划篇(一):专项资产管理、集合资产管理、定向资产管理计划对比分类比较点集合资产管理(计划)专项资产管理(计划)定向资产管理(计划)含义指证券公司设立集合资产管理计划,与客户签订集合资产管理合同,将客户资产交由具有客户交易结算资金法人存管业务资格的商业银行或者中国证监会认可的其他机构进行托管,通过专门账户为客户提供资产管理证券公司以管理人身份发起设立专项资产管理计划,依照能够产生稳定现金流的基础资产发行资产支持受益凭证,受益凭证持有人据此享有该资产的收益分配证券公司接受单一客户委托,与客户签订合同,根据合同约定的条件、方式、要求及限制,通过专门账户管理委托资产内部分类大集合(分为限定性和非限定性)资产管理计划、小集合资产管理计划债权类专项、收益权类专项以及其他通道类和非通道产品类型股票型、债券型、混合型、FOF型等资产证券化或创新型SOT类、票据类、特定收益权类、银行间市场类投资范围限定性定性集合资产管理计划资产应当主要用于投资国债、债券型证券投资基金、在证券交易所上市的企业债券、其他信用度高且流动性强的固定收益类金融产品;非限定性集合资产管理计划投资范围由合同约定没有具体限定,资产管理业务中,专项资产管理是限定最少的,是进行其他业务类型的一个通道和平台;例如高速公路、水利发电、租赁资产等创新型产品,多为实现资产证券化。
股票、债券、基金、资产管理计划、央行票据、资产支持证券等,具体投资范围由证券公司和客户通过合同约定投资额度限制投资于股票等权益类证券以及股票型证券投资基金的资产,不得超过该计划资产净值的20%,大额投资,合同约定合同约定申购新股要求集合计划申购新股,可以不设申购上限,但是申报的金额不得超过集合计划的现金总额,申报的数量不得超过拟发行股票公司本次发行股票的总量主要是企业资产证券化业务合同约定增发可参与未知可参与融资融券可参与不参与可参与委托人(客户)限制券商已有客户和推广机构的客户,【公募基金的客户是大众】多客户委托,特定的投资对象,机构投资者单一客户委托;证券公司董事、监事从业人员及配偶不得参与申购下限【大集合:限定性集合资产管理计划,接受单个客户的资金数额不得低于人民币5万元;非限定性集合资产管理计划,接受单个客户的资金数额不得低于人民币10万元,】【小集合:募集资金规模在50亿元以下;单个客户参与金额不低于100万元;客户人数在200人以下,但单笔委托金额在300万元以上的客户数量不受限制。
大资管时代,咣当一下就来了在一个金融压抑、信贷融资需求总是得不到满足的经济体里,券商和基金要拒绝银行的通道业务实在“太难太难”。
从单一业务到资产管理国内外概莫能外。
就像老舍笔下北京的春天一样,大资管时代,咣当一下就来了。
然而,就在证券人士发出“太难太难”的慨叹,并“勉为其难”地争抢银行通道业务份额的同时,银行那些为PE定制的“选择权贷款”、“投联贷”业务,则更加显得“你情我愿、偏爱有加”了。
在信,在证,在基金通道类业务是一个通俗的说法。
由于项目、客户两头资源都掌握在银行手中,信托、券商或基金公司,只是利用牌照出一个方案,甚至形式上过一下账而已。
对于这些公司而言,通道业务虽然没有什么技术含量,但不承担实质性风险,是一块难以拒绝的制度性红利。
对于券商的“限额特定资产管理计划”(俗称“小集合”),证监会已经将投资范围放宽到“券商专项资产管理计划、商业银行理财计划、集合资金信托计划等金融监管部门批准或备案发行的金融产品以及中国证监会认可的其他投资品种。
”市场操作人士指出,如果券商要发“小集合”去放贷款,套个信托计划或专项资产管理计划的“马甲”就可以,无非是支付一点“通道”费。
11月1日起施行的《基金管理公司特定客户资产管理业务试点办法》,允许基金公司设立专门的子公司,通过设立专项资产管理计划开展资产管理业务。
专项资产管理计划可投资的范围不仅包括股票、债券、资产支持证券、证券投资基金等各类证券资产,还包括“未通过证券交易所转让的股权、债权及其他财产权利”,及“中国证监会认可的其他资产”。
基金公司子公司和信托公司争抢“通道”业务势所难免,而基金公司不受净资本的约束,是其与券商、信托公司最突出的优势。
由于各类机构所受的监管不同,潜在的目的不同,通道业务也在各类机构间发生转移。
此前,银证通道业务之所以有取代银信合作之势,是因为相比信托公司,券商占用的净资本较低。
证监会和银监会分别对券商和信托公司实行净资本管理,原理一致:净资本不得低于各项风险资本之和的100%。
定向资产管理业务(通道类)产品手册XX证券资产管理部年十一月二十八日目录一、产品概况 (3)二、产品类型 (4)(一)定向股权质押业务 (4)产品介绍 (4)产品优势 (4)(二)政府平台资产支持证券业务 (4)产品介绍 (4)产品优势 (5)(三)小贷公司信贷资产支持证券业务 (5)产品介绍 (5)产品优势 (5)(四)定向票据类定向资产管理业务 (6)产品介绍 (6)产品优势 (6)(五)SOT类定向资产管理业务 (6)产品介绍 (6)产品优势 (6)(六)委托贷款类定向资产管理业务 (7)产品介绍 (7)产品优势 (7)(七)银行信用证划款通道业务 (7)产品介绍 (7)产品优势 (8)(八)银证债券类业务 (8)产品介绍 (8)产品优势 (8)(九)银证保业务 (9)产品介绍 (9)产品优势 (9)一、产品概况定向资产管理业务是证券公司资产管理业务的传统业务之一,与集合资产管理业务、专项资产管理业务共同组成资产管理业务的三大支柱。
定向资产管理业务是证券公司接受单一客户的委托,与客户签订合同,根据合同约定的方式、条件、要求及限制,通过专门账户管理客户委托资产的活动。
创新型的定向资产管理业务结合银行、券商、信托、保险等多种金融机构的优势,通过有效的金融创新,实现金融服务于实体经济的目标。
目前,创新性定向资产管理业务主要包括:定向股权质押业务、政府平台资产支持证券业务、小贷公司信贷资产支持证券业务、定向票据类、SOT业务、银证委托贷款类、银行信用证划拨款通道业务、银证债分销通道业务、银证保存款类业务。
二、产品类型(一)定向股权质押业务产品介绍股票质押回购式定向资产管理计划是指以股票质押为保障,对股票收益权进行转让和约定回购的定向资产管理计划。
管理人发行定向计划募集资金,资金用于购买融资方的股票收益权,融资方与管理人、托管人签署相关协议,约定回购该收益权,并用质押股票担保。
管理人负责盯市监控和履约管理,在发生违约的情况下,通过实现质权及其他救济措施,确保委托人权益得以保护。
定向资产管理计划定向资产管理计划是一种专门针对特定投资者需求设计的资产管理工具。
它通过对投资者的需求进行深入了解,为其量身定制资产配置方案,以实现投资者的个性化投资目标。
定向资产管理计划通常由专业的资产管理机构或个人资产管理师提供,他们会根据投资者的风险偏好、资产规模、投资期限等因素,为投资者量身打造最适合其需求的资产配置方案。
定向资产管理计划的特点之一是个性化定制。
相对于传统的资产管理方式,定向资产管理计划更加注重投资者的个性化需求。
通过深入了解投资者的风险承受能力、投资目标和资产配置偏好,资产管理机构或个人资产管理师可以为投资者量身定制最适合其需求的资产配置方案,使投资者的资产得到更好的保值增值。
另一特点是专业化管理。
定向资产管理计划通常由专业的资产管理机构或个人资产管理师提供,他们具有丰富的投资管理经验和专业的投资管理技能,能够为投资者提供专业化的资产管理服务。
他们会根据市场行情和投资者的需求,灵活调整资产配置,以实现投资组合的最优化。
此外,定向资产管理计划还具有灵活性强的特点。
由于定向资产管理计划是根据投资者的个性化需求进行定制的,因此在资产配置方面具有较大的灵活性。
资产管理机构或个人资产管理师可以根据市场行情和投资者的需求,灵活调整资产配置,以应对市场的变化,从而最大程度地实现投资者的投资目标。
定向资产管理计划的实施过程中,需要充分了解投资者的需求,进行全面的风险评估和资产配置规划。
投资者需要与资产管理机构或个人资产管理师充分沟通,明确自己的投资目标和风险承受能力,以便资产管理机构或个人资产管理师可以为其量身定制最适合其需求的资产配置方案。
总的来说,定向资产管理计划是一种个性化定制、专业化管理、灵活性强的资产管理工具,它能够为投资者提供更加符合其需求的资产配置方案,帮助投资者实现其投资目标。
投资者在选择定向资产管理计划时,应该充分了解自己的投资需求,选择具有丰富经验和专业技能的资产管理机构或个人资产管理师,以便获得更好的投资管理服务。