联通移动业务客户维系与挽留方案
- 格式:ppt
- 大小:718.50 KB
- 文档页数:39
联通客户维系方案引言客户维系是每个企业都非常重视的一个环节,它关系到客户的持续购买意愿和忠诚度。
对于联通公司来说,客户维系更加重要,因为联通作为一家电信运营商,需要依靠客户的长期合作来保持稳定的营业额。
本文档将介绍联通公司的客户维系方案,包括以下几个方面:1.客户分级和分类2.客户维系策略3.客户维系工具和方法4.客户维系团队的建设客户分级和分类客户分级和分类是客户维系的基础,通过对客户进行分级和分类,可以实现更加精准的维系策略和资源配置。
客户分级联通公司一般将客户分为以下几个级别:1.重要客户:这些客户贡献了大部分的收入,对联通的业务发展非常重要,需要给予关注和优质的服务。
2.普通客户:这些客户对联通的业务有一定的需求,但对公司的收入贡献较低,需要定期维系,以提高他们的忠诚度。
3.潜在客户:这些客户具有潜在的购买能力和需求,但还未成为联通的正式客户,需要通过维系活动引导他们成为联通的客户。
4.失效客户:这些客户曾经是联通的客户,但因为种种原因已经不再使用联通的服务,需要通过维系活动重新获得他们的信任和支持。
客户分类除了客户分级,联通还将客户按照不同的特征进行分类,以便制定更精准的维系方案。
常见的客户分类包括:1.个人客户:即个体用户,包括家庭用户和个人商务用户。
2.企业客户:即各类企事业单位和政府组织,包括大型企业、中小企业和政府机关等。
客户维系策略基于客户分级和分类,联通制定了一系列的客户维系策略,以确保客户的满意度和忠诚度。
重要客户维系策略针对重要客户,联通实行以下维系策略:1.定期回访:联通会定期与重要客户进行电话回访,了解他们的需求和意见,并及时解决问题。
2.专属服务代表:每个重要客户都会有一个专属的客户代表,负责与他们保持密切的联系,提供一对一的服务。
3.定制化解决方案:针对重要客户,联通会根据他们的需求定制化解决方案,提供更加个性化的服务。
普通客户维系策略对于普通客户,联通采取以下维系策略:1.发送关怀短信:定期向普通客户发送关怀短信,提醒他们联通的存在,并询问他们的需求和意见。
客户挽回方案的总结:
1. 了解客户流失原因:调查和分析客户流失的原因,以便有针对性地制定挽回策略。
2. 优化产品或服务:根据调查结果,改进产品或服务质量,提高客户满意度。
3. 提高客户服务质量:加强客户服务团队的培训,提高客户服务质量,确保客户问题得到及时、有效的解决。
4. 重新建立信任:通过诚挚的道歉、赔偿损失等方式,重新建立与客户之间的信任关系。
5. 提供优惠和关怀:给流失的客户提供一定的优惠政策,体现对客户的关怀,吸引客户回流。
6. 持续关注客户需求:持续关注客户需求变化,及时调整产品或服务策略,确保客户满意度。
7. 客户关系管理:建立完善的客户关系管理体系,定期与客户保持沟通,关注客户动态,预防客户流失。
8. 数据分析与优化:通过数据分析,持续优化挽回策略,提高客户挽回的成功率。
总之,客户挽回方案的核心是了解客户流失原因,优化产品和服务,提高客户服务质量,重新建立信任,提供优惠和关怀,持续关注客户需求,建立完善的客户关系管理体系,数据分析与优化。
移动客服话术技巧挽留在现代社会,移动客服在企业中扮演着重要的角色,他们代表企业与客户进行沟通交流,提供服务,解决问题。
在客户服务过程中,掌握一些有效的话术技巧可以帮助客服人员更好地挽留客户,增强客户黏性。
本文将介绍一些在移动客服中常用的话术技巧,帮助客服人员提升服务质量和客户满意度。
1. 主动倾听在沟通过程中,客服要时刻保持主动倾听的态度,耐心倾听客户问题和需求,不要过于急于表达自己的观点,要给客户充足的表达时间,让客户感受到被尊重和重视。
在倾听过程中,可以使用肯定性词语,比如“是的”、“明白了”等,让客户感受到自己的声音被听到。
2. 亲和力建立亲和力是挽留客户的一种有效手段。
客服人员可以在与客户交流过程中,使用友好亲切的语气和措辞,表达出自己对客户的关心和热情。
比如可以说:“很高兴为您提供服务”、“感谢您的耐心等待”,这样可以增加客户的好感度,增强客户与企业之间的情感联系。
3. 主动解决问题在客户提出问题或投诉时,客服人员要以解决问题为首要任务。
客服不仅要快速、准确地回答客户的问题,还要在解决问题的同时表现出自己的专业性和能力。
客服可以向客户承诺会尽快解决问题,并在解决问题前后向客户解释情况,保持透明度和沟通畅通。
4. 留存订户对于有流失意向的客户,客服可以采取一些留存措施,比如赠送优惠券、提供增值服务、延长合约期限等,以吸引客户继续留存。
在倾听客户需求的基础上,结合客户的实际情况,给予合适的奖励和优惠,让客户感受到公司的诚意和关怀,从而增强留存意愿。
5. 结语移动客服话术技巧可以帮助客服人员更好地挽留客户,提升客户体验和企业形象。
在与客户沟通交流过程中,主动倾听、建立亲和力、主动解决问题、留存订户等技巧都是提升客服服务质量的重要手段。
只有不断学习、提升自身的技能和意识,才能更好地满足客户需求,提高客户忠诚度,实现企业的长期发展目标。
以上是关于移动客服话术技巧挽留的一些建议,希望能帮助更多客服人员提升专业技能,提高服务水平。
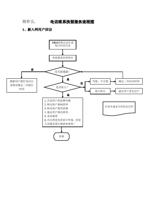
附件五. 电话维系挽留服务流程图1、新入网用户回访
2、话费余额预警通知流程图
中国联通山西分公司电话维系挽留服务流程图
3、协议、租机到期通知流程图
4、异动用户预警
中国联通山西分公司电话维系挽留服务流程图
5、会员用户服务
(1)、通信助理服务
(2)、会员晋级通知
中国联通山西分公司电话维系挽留服务流程图
(3)、会员积分辅助兑换
(4)、会员活动通知
(5)新业务体验通知
中国联通山西分公司电话维系挽留服务流程图
(6)赠送会员专刊等处理程序
6、新分配客户标准化服务
中国联通山西分公司电话维系挽留服务流程图
7、老用户定期回访流程图
8、客户挽留业务流程图
中国联通山西分公司电话维系挽留服务流程图
是
否
是
9、咨询投诉处理流程:
中国联通山西分公司电话维系挽留服务流程图
10、客户信息反馈处理流程
11、新业务通知流程
中国联通山西分公司电话维系挽留服务流程图
13、联谊活动通知流程
14、上门服务业务流程
中国联通山西分公司电话维系挽留服务流程图
15、主动回访流程图
16、品牌迁移回访业务流程图
中国联通山西分公司电话维系挽留服务流程图
17、每日工作流程
18、会员卡发放流程
中国联通山西分公司电话维系挽留服务流程图。
全业务经营下移动电话客户维系挽留业务规范(初稿)年目录1 前言1.1背景中国电信承接网运营以来,移动电话客户数“大进大出”,流失严重,维系挽留工作迫在眉睫。
为进一步贯彻集团“聚焦客户的信息化创新战略”,发挥公司全业务经营优势,全面推进客户维系挽留工作及支撑。
集团决定以移动业务为切入点,聚焦中高端客户,利用全业务优势,组织江苏、浙江、湖南省开展移动电话客户维系挽留试点工作,为进一步实现全业务经营针对性营销和客户维系挽留支撑奠定基础。
1.2目标此项工作的目标是通过锁定中国电信中高端移动客户,发挥电信全业务融合优势,通过推广融合业务、移动增值业务、客户关怀、存费维系、、二次续约、离网预警挽留、拆机挽留、离网赢回等工作,做好对客户的维系与挽留工作,达到增强客户感知与黏性、减少客户及话务的流失、提高客户价值的目的,最终实现对中国电信移动电话客户的维系和挽留。
1.3思路1.3.1 内容与框架此项工作以中国电信移动电话客户为主线,围绕“客户维系和挽留”两个重点经营主题,通过拍照用户锁定聚焦中高端客户,针对性开展客户维系与挽留工作。
此项工作的框架如下图:➢基于业务融合的维系,主要是通过针对具有政企客户或家庭客户性质的移动电话客户,推广融合业务(总机服务、商务领航融合套餐、手机版、),提高客户使用黏性,达到对中国电信移动电话客户进行捆绑维系的目的。
➢基于增值业务的维系,是通过向中国电信移动电话客户推广移动增值业务,培养增值业务消费习惯,以增强客户在网粘性,达到客户维系的目标。
➢基于客户关怀的维系,是指通过对客户进行的人文、健康、重大突出事件等关怀活动,提升客户感知和忠诚度。
➢基于的维系,是对日常联系较多的电信移动电话客户,从业缘关系,地缘关系,亲缘关系,共同喜好等维度考虑,结合不同“圈子”的消费特征,构建散户群,形成病毒式传播,实现对散户移动电话客户的维系与价值提升。
➢维挽商机管理,是借助号、网厅在锁定目标客户、洞察客户意向上所具有的优势资源,获取和管理客户的潜在需求,从而把握商机,实现对于客户的维系和价值提升。
中国移动客服降档挽留话术
1. 周末假日畅聊包
您看2块钱也不贵,而且这个月有端午节,节假日电话都会比较多,您可以不妨使用看看效果,好用的话您都可以长期使用的好吧?
像您平时本地电话也是比较多的,而且一个月至少也有8天的周末时间,相信也能为您节省不少话费,您都可以放心使用的好吧?
2. 5元本地长途夜话优惠包
您看您平时打长途直接打的话是非常贵的,要0.7元/分钟,即使加拨12593也是要0.19元/分钟,现在您不用加拨任何号码,在晚上10点到第二天早上9点,5块钱就可以包打60分钟了,平均每分钟才8分多钱,是非常实惠的,您都可以使用一段时间看看效果的好吧?
3. 3元长话优惠包
像您平时加拨12593也要0.19元/分钟,如果忘记加拨是非常贵的,要0.7元/分钟。
办理之后您今后打长途就不用加拨任何号码了,在本地直接拨打国内长途就可以享受0.15元/分钟全包的优惠了,您都可以不妨使用看看效果的好吧?
您看这个业务3块钱一个月也不贵,平均下来每天不到1毛钱的月租,而且在本地打长途直接打就可以了,不用加拨任何优惠号码,既实惠又方
便,您都可以不妨使用看看效果的好吧?
4. 各类漫游包
如果您不办理的话,漫游时打电话要0.6元/分钟,接听要0.4元/分钟,是非常贵的。
办理之后就可以节省您的漫游话费了,您都可以放心使用了好吧?
5. 72小时业务
您看这个业务很多用户使用过后反应效果都是不错的,相信对您的工作和生活都有帮助的,您都可以使用一下看看效果的好吧?
6.短信套餐
例如:原来您5块钱只能发送50条国内短信,现在5块钱可以发送60条了,让您每个月花同样的钱发到更多的短信,您可以不妨使用看看效果的好吧?。
运营商维系方案一、背景随着信息通信技术的不断发展,运营商作为信息通信的基本服务提供者,承担着重要的角色。
然而,在激烈的市场竞争中,运营商必须不断提升服务质量,维系客户关系,以保持竞争力并实现持续发展。
因此,建立一套完善的运营商维系方案,成为运营商必须要面对的问题。
二、维系目标1. 提升客户满意度客户是运营商的生命线,而提升客户满意度是维系客户关系的关键。
运营商需要通过提供卓越的服务,满足客户的需求,并不断改善客户体验,以提高客户满意度。
2. 降低流失率客户流失是运营商的一个严重问题,因此减少客户流失率也成为一个重要目标。
通过提供更具吸引力的产品和服务,并采取积极的客户维系措施,可以有效降低客户流失率。
3. 提升客户忠诚度客户忠诚度的提升不仅能够带来稳定的收入,还可以为运营商带来口碑效应。
因此,提升客户忠诚度也是运营商维系客户关系的重要目标。
三、运营商维系方案1. 提供优质的产品和服务首先,提供优质的产品和服务是维系客户关系的基础。
运营商可以通过不断优化现有产品和服务,引入新的创新产品和服务,提高品质和性能,以满足客户对通信服务的不断增长的需求。
2. 建立完善的客户服务体系运营商需要建立一套完善的客户服务体系,为客户提供全面的支持。
这包括建立24小时在线客服系统,提供便捷的客户服务热线,建立客户投诉处理机制等措施,以解决客户在使用过程中遇到的问题,提高客户体验。
3. 提供个性化的定制服务个性化的定制服务可以满足不同用户的个性化需求,提高客户满意度。
例如,运营商可以根据客户的通信需求,提供个性化的通信套餐服务,定期为客户提供专属优惠活动等,以提升客户忠诚度。
4. 加强客户关系管理客户关系管理是一个重要的环节,通过建立客户档案,分析客户的行为习惯和需求,了解客户的价值观,以更好的维护客户关系。
运营商可以通过客户关系管理系统,对客户进行分类和管理,以实现精准营销,提升客户满意度和忠诚度。
5. 提供增值服务运营商可以通过提供各类增值服务,例如流量赠送、积分兑换、优惠券活动等方式,增加客户使用运营商服务的附加价值,以提升客户满意度和忠诚度。
离网客户挽留工作技巧客户咨询如何办理退网?(必问):客户退网的原因(根据客户的具体情况对客户进行挽留)。
原因1:客户觉得话费太贵(注意观察客户的反应,把握尺度,适度介绍以下内容)。
*(建议):从网络领先方面进行挽留。
(如:我们公司的资费相对其它运营商略微高了一点,但我们的网络覆盖比较广泛,国际国内漫游畅通。
)*(建议):根据客户在网时间和号码情况进行挽留。
(如:您是我们的老客户,如办理退网,您的朋友与您联系会不太方便。
或者:您的号码这么好,放弃了实在可惜。
)*(建议):从新业务方面进行挽留。
(如:我们公司目前推出了许多可节省话费的新业务,如虚拟网及IP电话、短消息、呼叫转移、亲情号码等业务,是否允许我向您介绍一下……(根据客户兴趣,有针对性向其介绍)我们来选择一下哪些新业务比较适合您?)*(建议):从资费套餐方面进行挽留。
(如:最近移动公司推出几款资费套餐,优点是……,比较适合象您这样……的客户使用。
)根据客户实际情况,向客户介绍套餐或建议加入虚拟网。
原因2:客户对我们的网络、服务质量不满(注意观察客户的反应,把握尺度,适度介绍以下内容)。
*(必问):了解不满意的因素。
(如:是否能详细告诉我,您在哪方面对我们的网络(服务)质量不满(做好记录工作)。
XX先生/小姐,我尽快去了解情况,尽量给您满意的答复,您看这样好吗?*(必说):感谢您对我们提出宝贵意见,您的建议对我们非常重要,对改善我们今后的网络(服务)质量很有帮助,希望您能一如既往地支持和使用我们的网络,我们将竭诚为您提供优质服务!原因3:客户手机遗失。
*(必介绍):向客户推荐补卡业务。
(如:您使用这个号码也有一段时间,如办理退网,您的朋友与您联系不太方便,我建议您补一张卡,补卡后号码是不会改变的,也不会影响您的帐户,原来的SIM 卡就自动作废了。
)若公司正在开展手机捆绑销售活动,可向客户作详细的说明。
原因4:客户已在使用其它运营商移动号码。
(注意观察客户的反应,把握尺度,适度介绍以下内容)。
X联通公司移动业务客户维系与挽留研究目录摘要 (2)第一章绪论 (3)1.1研究的背景 (3)1.2研究的目的与竞义 (4)1.3研究的方法与架构 (4)1.3.1研究的方法 (4)1.3.2论文的架构 (6)第二章客户维系相关理论综述 (7)2.1客户关系甘理理论 (7)2.2客户维系的概念 (9)2.3客户关系生命周期理论 (9)第三章X联通公司客户流失现状分析 (10)3.IX地区移动通信市场竞争现状 (10)3.1.1我国电信业发展现状 (10)3.1.ZX联通公司发展现状 (11)3.1.3X地区移动通信市场竞争现状 (12)3.2X联通公司客户流失现状 (13)3.2.1客户流失率 (13)3.2.2客户流失造成的收入损失 (14)第四章X联通公司客户流失的规律和原因分析 (14)4.1整体分析思路 (14)4.2x联通公司客户流失的问卷调查分析 (15)4.2.1流失客户的在网时长分析 (15)4.2.2流失客户的从pU值分析 (16)4.2.3流失客户的去向分析 (16)4.2.4客户转网的原因分析 (19)4.2.5本网换号客户因素分析 (21)4.2.6流失客户的满愈度分析 (22)4.3.1客户流失的外部原因分析 (24)4.3.2客户流失的内部原因分析 (26)第五章X联通公司客户维系与挽留措施 (29)5.1维系与挽留的总体思路和框架 (29)5.2客户预防阶段措施 (31)5.2.1营销措施 (31)5.2.2服务措施 (32)5.2.3管理措施 (34)5.2.4技术支撑 (36)5.3客户维系阶段措施 (36)5.3.1营销措施 (37)5.3.2服务措旅 (39)5.3.3管理描施 (42)5.3.4技术支撑 (44)5.4客户挽留阶段措施 (45)5.4.1营销措施 (45)5.4.2服务措施 (47)5.4.3、理措施 (49)5.4.4技术支撑 (50)第六章X联通公司客户维系与挽留的实施与控制 (50)6.1做好组织建设 (50)6.2健全规幸制度 (51)6.3规范业务流程 (51)结束语 (52)附录...................................................................................................................... 错误!未定义书签。
中国联在4G时代通客户流失原因分析及解决对策一、原因:(1)竞争对手的攻势虽然现在只有三家主要的运营商,但是不客气的说,现在的移动通信市场竞争非常激烈,任何一家的任何一种产品,随时可以在竞争对手那边找出完全相似的产品,只要客户愿意,客户可以随时更换产品。
笔者所在的联通公司就经常和移动、电信上演“针锋相对”活动。
2013年初联通推出本地电话“敞开打”业务,靠着低廉的价格成功抢占大批客户,但是移动的反击也很犀利,移动仗着自身的营销成本雄厚、客户群体众多,也推出了自己的“敞开打”业务,同样争夺了部分联通、电信的客户。
现在移动4G拍照已经获发,可想而知,移动必定在2013年底2014年初展开一大波攻势。
(2)羊群效应一个饭店门口停的车越多,就会有越多的人去吃饭,甚至有饭店老板自己租车堵在自家饭店门口以吸引顾客,这就是一种羊群效应。
同样在通信市场,也会有这样的情况出现,在心理学上,这叫“趋众心理”。
有的客户觉得周围的人都用移动的号码,自己不用的话可能会导致自己的话费升高,享受不到类似亲情号、虚拟网等类的业务,“大家都用我也用”,“随大流没错”等等的观念,正是由于这些趋众心理,就会导致客户流失。
(3)信号差联通公司成立时间较短,全面网络优化时间也短于移动公司,这是联通信号确实弱于移动公司的主要原因。
加之近些年受到绿色环保等概念影响,客户们对于基站的布设位置有了更多的要求,很多原本布设在小区、办公楼、沿街商铺的基站,被客户以辐射污染的理由拒绝继续布设,很多的物业公司趁机提高租赁价格,乱设“门槛费”等等不规范的行为,也限制了部分地区的网络信号优化,甚至在某些地区竞争对手和物业联合抵制联通基站进驻,严重影响到了联通客户的使用,造成客户流失。
(4)服务质量差笔者在对很多客户做流失回访的时候,能听到客户抱怨说“上次我去你们营业厅办业务,排队2个小时没办完”,“我装了个宽带,2天了都还没给我装上”,甚至还有“我打电话查个话费,10010爱答不理的,我就不用了”等等情况。
联通存量维系及挽留措施客户维系及挽留措施2022年客服部根据__ 工作会上的工作报告,强化存量经营工作,提升用户的价值贡献。
强化存量用户的经营,提升用户的在网时长和价值贡献,是当前促进公司质量发展的关键。
全省上下必须建立“入网即存量”的概念,基于用户的生命周期和产品生命周期,健全存量用户的经营管控体系,针对不同环节实施不同的管控与经营举措,是强化存量经营工作,提升用户价值贡献的关键。
组建存量经营中心,整合存量经营职能。
在省市两级市场部下组件存量经营中心,整合原有市场营销部和客户服务部的存量维系职能,强0化在网用户的存量经营,提升存量用户的整体经营能力。
狠抓入网用户质量,提升入网用户的有效性。
以调整佣金结构和专业KPI 考核为牵引,以实施数据挖掘和数据分析为支撑,一深化真实用户和虚假用户区隔管理为前提,强化新入网用户的质量管控,提升新入网用户的质量和有效率。
建立存量用户经营体系,提升存量经营能力。
基于用户的生命周期,落实不同阶段的经营举措。
针对入网0-3个月的用户,强化用户真实性的辨别,制定管控措施,加大对虚增用户行为的惩处力度;针对入网3个月-6个月的用户,根据用户类型和消费特征不同,实施不同的消费引导,增强产品与用户消费的匹配度,提升用户感知;针对入网6个月以上的用户,依托数据挖掘和结构建模,实施用户聚类分析。
在此基础上加大适合其聚类特点的辅助产品的营销推广,提升用户对基础产品的信任度,提升用户对辅助产品的依赖度,以此来提升用户粘性和对公司的价值贡献度。
建立全渠道统一的体验营销体系,增强辅助产品的吸引力和在线半截率。
依托公司的大服务平台,制定统一规范的体验营销策略,在所有客户接触渠道实施统一时间统一规范的体验营销。
一方面,通过与用户在多渠道的统一互动,了解用户需求,传递产品价值,并根据用户的意愿,实施即时办理,提升客户感知,从根源上提升营销的精准度,降低传统营销行为带来的投诉压力;另一方面,针对用户体验中的意见反馈,完善优化我们的现有产品,开发用户需要的新产品,优化重点地区网络,提升网路质量,增强公司的整体运营能力。
客户转销户的对策及挽留话术:1。
佣金类客户理由:佣金费率太高,其他券商能给予更低佣金对策1:监管部门对最低佣金标准有要求话术1:您说的情况我们也有所了解,目前无法按您的要求给您调整是因为手续费的调整是受到证监会、证券业协会监管的,我们本地证监局于X年X月设定了最低佣金标准,目前正是严查阶段,所以我们不敢触碰底线,希望您能理解。
我们现在先给您做一次微调。
对策2:劝说对成本影响不大,资金量增大了可再来调话术2:刚才已经查看了您的资产及交易情况,要调到您说的标准实在比较困难,因为我们给客户调整佣金都是根据资产及交易量,按标准进行调整的,所以您目前的情况达不到期望的佣金率,希望您能理解.但根据您目前的情况也是可以做相应的调整,您放心,这次调整之后,您交易一段时间,或者有新资金注入的话,我们可以在相应的给您调整。
对策3:给予佣金调整,不同意时可比对方更低来劝说(前提是不低于监管底线)话术3:虽然证监会要求我们不能把佣金降得很低,但是您本来就是我们的客户,我们非常重视您,像您这种情况经过领导特批,可以比对方再低2个点,一万的成交量就能省2元,长久以往能给您的成本省下很大的一笔钱,我们是很诚心的希望您能继续在我们这交易的。
2。
服务类客户理由1:在这一直没得到什么服务,要到其它地方去尝试下对策1:向客户道歉,请求给予机会话术1:首先我要向您道歉,对不起,您没有享受到相应的服务。
对于客户服务工作,我们公司非常重视,不仅推出了很多新的服务产品,并且近一段时间以来我们都在主动联系客户,了解并满足客户的需求,不过因为客户数量比较多,有些客户的联系电话也变了,我们要联系到每一位客户需要一段时间,可能现在暂时还没有联系到您.我代表公司恳求您再给我们一次机会,我们会用优质、超值的服务让您重新认识我们公司的服务品质。
(介绍公司及营业部的服务产品和服务内容……)对策2:提供短信、邮件、网站等资讯服务话术2:我们公司有免费的短信服务发给您,其中包含了最新的市场信息、个股重大公告等.您还可以登录我们公司的官方网站,阅读每天的研究报告、晨会报告,这些资料都是总公司免费提供的,具有很高的参考价值.对策3:提供投资顾问电话号码,可提供个股咨询服务话术3:在刚才与您沟通的过程中,我大致了解了您的投资需求,现在我们会给您配备一个专业的投资顾问,给您提供一对一的服务.(同时将投资顾问引荐给客户认识,并将投资顾问的从业年限,通过的从业资格告知客户,让客户了解投资顾问的专业程度)对策4:给予费率优惠并向客户介绍公司服务内容,请求客户再试一试话术4:您的感受我能理解,因为没有得到服务想所以换到其它公司去试试,但以前我确实不知道您的情况,现在既您跟我反映了,我一定帮您解决这个问题。