市政工程施工许可流程图(大市政)
- 格式:doc
- 大小:29.00 KB
- 文档页数:5
建设工程施工许可证办理流程图1.申请人准备材料:-申请表-建设项目规划许可证-土地使用证-规划设计方案-施工组织设计-工程量清单-技术负责人资格证书-施工现场平面布置图-安全生产措施和应急预案2.提交申请:-将准备好的材料提交给施工许可证受理窗口。
3.受理申请:-施工许可证受理窗口对申请材料进行初步审查。
-如果材料齐全,受理窗口会给予受理并颁发受理通知书。
-如果材料不齐全,受理窗口会通知申请人补充完整。
4.审查核实:-受理窗口将申请材料交给相关部门进行审查。
-相关部门对申请材料进行核实和审查,并出具审查意见。
5.改正补正:-如果审查过程中发现问题或需要补充材料,受理窗口会通知申请人进行改正或补正。
6.审批决定:-审查核实完成后,相关部门将出具审查报告,并提交给上级主管部门进行审批决定。
-上级主管部门在审查报告的基础上进行核准或驳回决定。
7.许可证颁发:-如果审查报告获得核准,上级主管部门会颁发建设工程施工许可证。
-受理窗口通知申请人领取许可证,并进行收费。
8.许可证有效期:-建设工程施工许可证的有效期视具体项目而定,通常在1年至3年之间。
9.监督检查:-在施工过程中,相关部门会进行监督检查,确保施工按照许可证规定进行。
10.竣工验收:-施工完成后,申请人需要向相关部门申请竣工验收。
-相关部门进行竣工验收,并出具竣工验收报告。
11.许可证注销:-施工完成后,申请人需要向相关部门申请建设工程施工许可证注销。
12.档案归档:-相关部门将申请材料和审批文件进行档案归档。
以上是建设工程施工许可证办理流程的大致步骤,具体流程可能因地区和项目类型的不同而有所差异。
申请人在办理建设工程施工许可证时,要按照相关要求准备材料,如有问题及时改正补正,与相关部门保持良好的沟通合作,确保顺利取得许可证。
房建和市政工程领域办事指南和流程图下载温馨提示:该文档是我店铺精心编制而成,希望大家下载以后,能够帮助大家解决实际的问题。
文档下载后可定制随意修改,请根据实际需要进行相应的调整和使用,谢谢!并且,本店铺为大家提供各种各样类型的实用资料,如教育随笔、日记赏析、句子摘抄、古诗大全、经典美文、话题作文、工作总结、词语解析、文案摘录、其他资料等等,如想了解不同资料格式和写法,敬请关注!Download tips: This document is carefully compiled by theeditor. I hope that after you download them,they can help yousolve practical problems. The document can be customized andmodified after downloading,please adjust and use it according toactual needs, thank you!In addition, our shop provides you with various types ofpractical materials,such as educational essays, diaryappreciation,sentence excerpts,ancient poems,classic articles,topic composition,work summary,word parsing,copy excerpts,other materials and so on,want to know different data formats andwriting methods,please pay attention!一、前期准备1.1 项目调研在开始房建或市政工程之前,需要进行项目调研,包括市场需求、地理位置、土地使用情况、可行性分析等方面。
市政工程施工审批市政工程施工是指涉及城市基础设施建设的各项工程,如道路建设、排水系统建设、绿化工程等。
在进行市政工程施工前,必须经过严格的审批程序,以确保施工过程合规、安全、高效。
本文将介绍市政工程施工审批的流程、所需材料以及审批的重要性。
一、施工许可申请市政工程施工许可申请是进行施工审批的第一步。
申请单位或个人需要准备相关申请表格,填写工程基本信息、施工方案、施工人员资格等,并提交给施工管理部门。
此外,还需提供施工单位的组织机构代码证、法人代表授权委托书等相关材料。
二、施工图纸审查施工图纸是市政工程施工的重要依据,必须经过审查合格后才能进行后续工作。
审查主要包括对图纸的合理性、技术可行性以及符合相关规范要求进行评估。
审查人员将对图纸中的施工工艺、土建结构、材料选用等方面进行细致的评估,并提出必要的修改意见。
三、工程验收申请市政工程施工完成后,申请单位需要提交工程验收申请。
验收申请包括已完成的施工报告、验收报告、工程材料及设备清单等材料。
施工单位还应提供工程竣工资料,如验收报告书、材料合格证明等。
这些材料将在工程验收过程中被相关部门进行细致的检查和评估。
四、施工现场核查施工审批过程中,监管部门将对施工现场进行定期核查,以确保施工过程符合工程图纸和技术规范要求。
核查内容主要包括现场施工人员的资质、材料的质量检验、安全隐患的整改等方面。
监管部门将根据核查结果提出相应的整改要求,并对整改情况进行复核。
五、审批的重要性市政工程施工审批的重要性在于保障施工过程的合规和安全。
审批程序的严谨性可有效避免施工单位在施工过程中违法违规行为的发生,保护施工人员和周边居民的安全。
审批过程还可确保施工工程与城市规划的协调,提高城市基础设施建设的质量和效率。
六、结语市政工程施工审批是市政工程建设不可或缺的环节。
只有经过合规审批的市政工程施工,才能保证建设的顺利进行,确保施工质量和人员安全。
在进行市政工程施工时,申请单位或个人必须积极配合审批机构,提供准确、完整的材料,并按照要求进行整改。
市政道路工程施工流程路基土石方工程施工阶段流程1、路基土石方工程施工流程2、施工准备阶段2.1 施工现场准备:1、施工用水、用电、临时办公用地及场地平整。
2、施工便道修筑3、道路中线、导线点及水准点高程复核。
2。
2 部门配合:1、设计管理部提供施工图纸、图纸会审及技术交底、标准点的高程及坐标。
2、对外事务部办理施工许可证、沟通协调地方及政府主管部门事务。
3、合约管理部督查监理单位、施工单位人员及机械设备的进场情况。
路基施工准备基底处理路堤填筑路基挖方台背回填路基整修3、基底处理3。
1 部门配合:1、设计管理部现场地质复核及图纸变更;2、对外事务部协调地方政府主管部门检查等事务3、合约管理部复审图纸变更的工程量变化。
3.2 重点施工内容1、对基底范围内的地表杂土,树根等进行清除,清除后运至指定地点。
2、坡面基底稳定性处理3、基底处理后应与压实。
3。
3 基底处理注意事项:3。
3。
1 做好原地面临时排水工作。
3。
3。
2 当路堤基底的原状土强度不符合要求时,应进行换填处理,深度不小于30cm,并分层找平压实。
3。
3。
3 对于山坡路堤,当地面横坡不陡于1:5 时,基底土质稳定密实, 路堤可直接修于天然地面;地面横坡陡于1:5 时,应将原地面挖成台阶夯实,台阶宽度不低于1m.3。
3.4 矮路堤基底处理4、路堤填筑4.1 部门配合:1、设计管理部审核图纸变更问题;2、对外事务部沟通协调施工过程的阻扰及地方政府主管部门关系;3、合约管理部复核图纸及工程量的变更。
4.2 路堤填筑要点:4.2。
1 路基填筑必须根据设计断面分层填筑压实,分层厚度与压实机械功能相适应。
4。
2。
2 路堤填料除利用挖方外,采用外购土方,购土前做好相关土工试验,符合要求后方可使用。
4。
2.3 压实度按压实标准控制,为保证压实均匀,一定要注意压实顺序,为确保压实质量,必须经常检查图的压实度及含水率。
5、路基挖方5.1 部门配合:1、设计管理部审核图纸变更及日常答疑设计图纸问题;2、对外事务部沟通协调施工过程的阻扰及地方政府主管部门关系;3、合约管理部复核图纸及工程量的变更及路基挖方工程量计量.5。
行业精品资料市政工程基本建设程序一、工程前期手续:首先编制年度计划报县领导审批,审批通过后进行工程前期手续办理:发展改革部门项目建议书批复文件一建设单位委托资质等级较高的工程咨询公司编制项目可行性研究报告一规划部门出具选址意见书一国土部门提出土地预审意见,环保部门批准环境影响评价文件一发展改革部门项目可行性研究报告批复文件、招投标方案核准一规划部门发放建设用地规划许可证一根据规划局的规划条件由建设单位委托资质等级较高的市政设计院进行施工图设计,出具正式施工图纸(设计费标准按工程中标价的1%计取)一规划部门核发建设工程规划许可证。
二、招投标阶段:按照设计院出具正式施工图纸委托在县备案的造价咨询单位编制工程预算书和工程量清单(收费标准按照工程造价预算编制额定率分档计取,工程造价总额在500万元以下的按工程造价预算总额的3‰计取;工程造价总额在500至1 000万元的,按工程造价预算总额的2. 5‰计取;工程造价总额在1 000万元以上的按工程造价预算总额的2‰计取。
为减少财政投资评审咨询服务费用的支出,避免盲目扩大工程预算编制的现象,造价咨询单位或垄断行业(如自来水、电力、煤氕等)编制的建设项目工程预算,应将财政投资评审审减额控制在送审额的8%以内,否则财政投资评审咨询服务费用由编制工程预算的建设和施工单位自行负担。
为此建设单位与造价咨询单位或施工单位签订协议时应将此部分给以约束。
)建设单位将施工图纸、预算书及工程量清单报送县财政局进行财政评审,由财政局委托在县备案的造价咨询单位进行评审,出具预算评审报告,评审结果作为招标最高限价进行公开招标(财政投资预算评审,按照审减金额的一定比例计取:送审金额在500万元以内,按照审减金额的7%计取,送审金额在500至1000万元的,按照审减金额的6%计取,送审金额在1000万元以上的,按审减金额的5%计取。
)招标代理公司由招标人自行委托,总投资3千万元以上(不含征地费、大市政配套费与拆迁补偿费)的,应当采取竞争性比选方式择优选择招标代理机构。
工程建设项目审批流程图工程建设项目审批流程操作说明工程建设项目审批流程分为立项规划选址、建设用地审批、项目建设招标(审批)、监理施工招标和报建施工五个阶段。
每个阶段,都由牵头部门先受理审批业务,并指引申办人到其他联办部门办理相关的审批手续。
办理结果最后由牵头部门集中答复申办人(立项规划选址阶段除外)。
申办人办理报建的具体操作步骤如下:第一阶段:立项规划选址阶段一、到规划局(牵头部门)窗口办理《建设项目选址意见书》的审批: (一)提交办理《建设项目选址意见书》所需材料,并领取签收《审批跟踪监督卡》(以下简称《监督卡》)。
(二)凭《监督卡》分别到发改局、环保局、消防局、国土局等联办部门窗口提交相关审批材料,并在《监督卡》上签名确认。
(三)将全部联办部门窗口已签收确认的《监督卡》送回规划局窗口。
(四)到规划局窗口领取和签收《建设项目选址意见书》以及《监督卡》等有关材料,办理承诺时限为7个工作日。
二、到发改局(牵头部门)窗口办理建设项目立项审批(项目不需要办理《建设项目选址意见书》的,由发改局牵头)。
(一)以登记备案方式立项的项目1.提交办理《企业投资项目登记备案》所需材料,并领取《监督卡》。
说明:1、整个审批流程为45个工作日。
2、圆角矩形是可选过程;虚线是指审批可跨阶段完成。
3、以上流程属市、区审批权限项目,如报省审批项目,无时间承诺。
2.到发改局窗口领取审批结果,并在《监督卡》上签名确认,办理承诺时限为5个工作日。
(二)以其他方式立项的项目1.提交办理《项目建议书》或《可行性研究报告》所需材料,并领取签收《监督卡》。
2.凭《监督卡》分别到环保、国土、规划等联办部门窗口提交相关审批资料,并在《监督卡》上签名确认。
3.将全部联办部门窗口已经签收确认的《监督卡》送回发改局窗口。
4.到发改窗口领取和签收立项意见,办理承诺时限为6个工作日。
第二阶段:建设用地审批阶段到规划局窗口(牵头部门)办理用地审批:(一)提交办理《建设用地规划许可证》的所需材料,并领取签收《监督卡》。
. 建设工程施工许可证办理流程图.半是夕阳余光,半是狰狞血雨。
是的,血,到处都是冷腥的鲜血。
整个皇宫之内,血流成河,白玉理石全被洗涮成黑红之色,到处是断壁残肢,尸横一片,到处是厮杀后的痕迹。
“为什么?”百里冰左手紧捂着胸口,瞪大着眼睛看着对面十米敌对方处,挥手点兵之人。
那是她的未婚夫,她倾尽一生所爱之人。
亦是绝杀她百里一族,将她迫入绝境之人。
她不懂,为何倾尽所有的爱,换来的是百里一族的灭顶之灾。
台下之人仍是一身儒雅白衣,清俊的脸上,就连平日里对她宠溺的笑容都没有变过。
冷逸辰就这样含笑相对,却不肯多说只字片语。
权利?利益?她虽是寒月帝国唯一的继承人,可是她早已与身为寒月帝国帝皇的外公达成协议,她与冷逸辰成婚后,冷逸辰为帝,她为后,她会做好他的贤内助,她从来不是他成功之路上的绊脚石,他为何要如此对她?冷逸辰仍是气定神闲的坐在不远处,手中的白羽扇仍旧轻摇着,完全不惧百里冰眼中的怒意,只是仿佛没有听到她的问话般,仍一派温和之笑,却坚定的吐出一个字,“杀!”百里冰怒上心头。
手中剑气如虹,眼看便要破势而出,却听到远处传来震天动地,撕心裂肺的愤然吼声,“冷逸辰,我百里一族与你不死不休!”“噗!”百里冰同一时刻,一口鲜血狂喷而出,心脏之处传来剧痛。
她突的单腿倒下。
是皇帝外公的声音。
百里冰痛苦的闭上眼睛。
果然,冷逸辰在派人围杀她的同时,也对她的皇帝外公与其他族人动手了,看来百里一族今日恐怕难逃灭族之祸了。
她看着惜日对她呵护倍至的爱人,指甲恨得深入掌心,却感觉不到半丝痛意。
血阳残光,打在百里冰的脸上,映红了她的眼,也血洗了她的心。
“冷逸辰,你借我生辰之名,将我百里一族全部聚此,竟是为了灭我全族。
你可知欺我百里者,杀无赦。
”明明落在下风,却仍是气度非凡,那轩昂之姿,百分不输男儿。
百里冰冷面肃目,冷冷怒视着冷逸辰。
天色瞬间黯然,黑云密布,邪风四起,所有天地剑气从四面八方汇集于百里冰身上,她的剑力更胜之前。
冷逸辰前密密麻麻的高手执剑相护,可他仍然感觉到了百里冰身上所散发的凛冽剑气。
开工前需提交监督机构的资料初验前需提交监督机构的资料竣工验收前需提交监督机构的资料如有不明之处请联系萧山工程质量监督站市政科,联系:82658737附件1(市政)质量保证体系审查记录注册编号:附件2施工准备情况检查表本表一式份,建设单位、监理单位各份,承包单位份。
附件3检测机构工程项目备案登记表备注:该表一式三份,检测机构一份,施工企业一份,质监站一份。
附件4市政工程检测计划表(一)工程名称: (监督注册号: )注:1.工程监督检测计划表应由施工单位按照单位工程填写,30%抽查应覆盖全工程的各部位,填写完毕由项目负责人签认,同时由监理单位审查;2.质监站确定有资质的检测单位后,施工单位应及时与检测单位联系,签订检测合同;3.检测单位签订检测合同后尽快到质监站总师办备案后方可开展检测业务;4.施工单位未到指定的检测单位检测或检测单位备案的检测报告,质监部门不予认可;5.对于违反<加强建设工程质量检测管理的若干规定>的行为质监部门将依据有关法律法规处理.6.本表一式三份。
附件5市政工程检测计划表(二)工程名称: (监督注册号: )注:1.工程监督检测计划表应由施工单位按照单位工程填写,30%抽查应覆盖全工程的各部位,填写完毕由项目负责人签认,同时由监理单位审查;2.质监站确定有资质的检测单位后,施工单位应及时与检测单位联系,签订检测合同;3.检测单位签订检测合同后尽快到质监站总师办备案后方可开展检测业务;4.施工单位未到指定的检测单位检测或检测单位备案的检测报告,质监部门不予认可;5.对于违反<加强建设工程质量检测管理的若干规定>的行为质监部门将依据有关法律法规处理.6.本表一式三份。
.页脚. 附件6压实度试验报告汇总表工程名称:施工单位:编号:第页,共页审核结果:(盖章)审核结果:(盖章)日期:年月日弯沉试验报告汇总表工程名称:施工单位:编号:第页,共页审核结果:(盖章)审核结果:(盖章)日期:年月日页脚.无侧限抗压强度试验报告汇总表工程名称:施工单位:编号:第页,共页审核结果:(盖章)审核结果:(盖章)日期:年月日页脚.路面厚度检验报告汇总表工程名称:施工单位:编号:第页,共页审核结果:(盖章)审核结果:(盖章)日期:年月日页脚.水泥混凝土路面抗滑构造深度检验报告汇总表工程名称:施工单位:编号:第页,共页审核结果:(盖章)审核结果:(盖章)日期:年月日页脚..页脚. 附件11地基承载力检测结果汇总表工程名称:施工单位:编号:第页,共页审核结果:(盖章)审核结果:(盖章)日期:年月日附件12桩基检测试验结果汇总表工程名称:施工单位:编号:第页,共页审核结果:(盖章)审核结果:(盖章)日期:年月日附件13无压管道闭水试验记录汇总表工程名称:施工单位:编号:审核结果:(盖章)审核结果:(盖章)日期:年月日附件14压力管道注水法试验记录汇总表工程名称:施工单位:编号:审核结果:(盖章)审核结果:(盖章)日期:年月日附件15主要原材料、构配件出厂证明及复试报告目录()工程名称:施工单位:编号:第页,共页审核结果:(盖章)审核结果:(盖章)日期:年月日页脚.附件16钢筋焊接接头试验汇总表工程名称:施工单位:编号:第页,共页页脚.审核结果:(盖章)审核结果:(盖章)日期:年月日附件17钢筋机械连接接头试验汇总表工程名称:施工单位:编号:第页,共页页脚.施工单位审核人:监理单位审核人:日期:年月日审核结果:(盖章)审核结果:(盖章)日期:年月日页脚.附件18城镇道路工程强制性条文执行情况检查记录附件19城市桥梁工程强制性条文执行情况检查记录附件20给排水管道工程强制性条文执行情况检查记录附件21给排水构筑物工程强制性条文执行情况检查记录附件22 城镇道路工程路基分部工程观感质量检查表编号:01(10条)基层分部工程观感质量检查表编号:02面层分部工程观感质量检查表编号:03-01(3条)注:本表应在该分部工程完工之后,进行检查验收,表中所列分项在被下一个分项掩盖之前必须进行隐蔽工程检查验收同时填写该表中的相关容。
市政项目前期工作总体流程签订前期代理、施工代建合同查看是否符合土地利用总规
申请压覆矿产查询申请建设用地规划
xx申请用地预审意见发改委
下达xx
委托函申请规划
设计条件办理项目选址意见书施工图设计预算编制
编制初步设计
文本申报建设工程
规划xx
勘察、设计
招标签订勘察、测量、设
计合同勘察、测量工作申请立项批复办理地质灾害评估备案申请环境影响评价批复申请可行性研究
报告批复提交成果方案设计申报设计方案审核通知书初步设计报市住建局技术审查概算编制报市住建局审查报市发改委申请初步设计及概算
批复报市住建、发改委申请施工图预算批复编制工程量清单和招标控制价
xx审查
申请资金闭合证明施工监理招标申报施工许可证市政项目竣工验收、审计工作总体流程质监站出具监督报告报住建局备案向档案馆移交项目建设材料申请竣工总验收办理竣工验收备案手续提交整改报告代建单位复查报质监站备案
制定验收方案报质监站审核代建单位组织专家组验收向质监站提交验收报告准备相关材料申报竣工决算审计局审计出具政府投资项目结(决)算审计报告财政局审计出具基本建设工程竣工财务决算报告审核项目完工施工方自检
自检合格向代建单位提交报告代建、监理单位审查组织初步验收(预验)质监站下发预验整改通知施工方整改竣工资料报质监站核查列出存在问题反馈施工方整补。
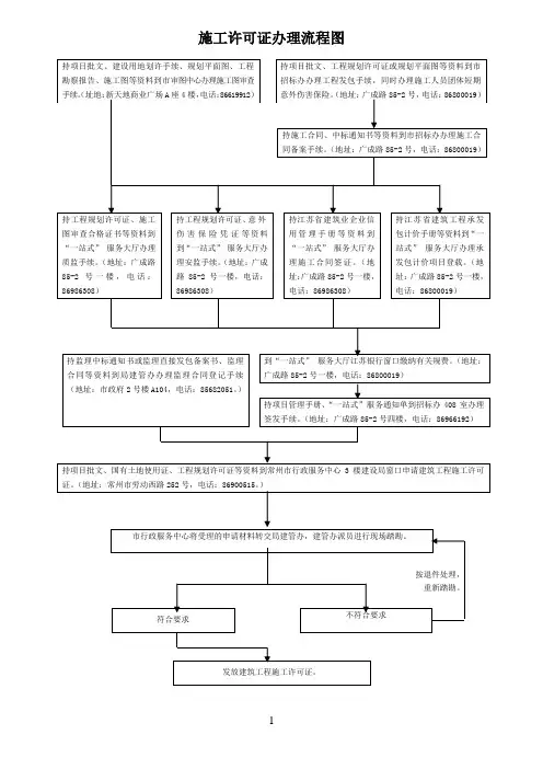
市政工程施工许可流程图(大市政)
市政工程施工许可流程图说明
一、网上申报地址:/(市政企业综合管理系统)
二、单项进市外地施工企业进市资质核验所需资料:
1.《企业信用管理手册》登记表(一式三份);
2.企业法人营业执照副本原件及复印件(盖公章);
3.建筑业企业资质证书副本原件及复印件(盖公章);
4.企业安全生产许可证(副本)原件及复印件;
5.项目经理资质证书(副本)和安全生产考核合格证书原件及复印件、身份证复印件;
6.技经、管理人员及劳务人员花名册;
7.施工现场管理人员(五大员)、特殊工种的上岗证书及专职安全员的安全考核证原件及复印件(盖公章);
8.企业所在地建设行政主管部门开具的外出施工介绍信(省外企业由省级建设行政主管部门出具;省内企业由省辖市建设行政主管部门出具);
9.企业在昆山负责人身份证复印件及法定代表人授权委托书;
10.企业近三年承建的代表性工程及证明文件;
11.中标通知书或合同书原件、复印件。
2
三、单项进市外地监理企业进市资质核验所需资料:
1.《非驻苏监理企业承接监理工程资质核验登记表》(一式四份);
2.外出介绍信:省外企业由省级建设行政主管部门或国务院有关部门出具;苏州市以外省内企业由省辖市建设行政主管部门出具,或在江苏工程建设网上登记;
3.建设单位的邀请函原件或合同原件;
4.工程监理企业法人营业执照副本(原件);
5.工程监理企业资质证书副本(原件);
6.近年监理业务手册(原件);
7.派驻监理现场的总监理工程师的任命书(原件)、国家注册监理工程师岗位证书(原件)、技术职称证(原件)、所在单位出具的个人监理业务简介(原件)、身份证(复印件)、学历证明(复印件);主要专业监理工程师的国家注册监理工程师岗位证书(原件)、技术职称证(原件)、身份证(复印件)、学历证(复印件);
8.派驻监理现场的其他监理人员的岗位证(原件)、身份证(复印件)、技术职称证(复印件)、学历证明(复印件)。
“其他监理人员的岗位证”是指省辖市以上建设行政主管部门核法的监理人员岗位证书。
总监等所有人员必须是本单位人员。
四、外地长驻施工企业所需资料:
1.常驻施工企业备案表(含驻昆的负责人、法人授权委托书、企业承诺书,详见附件);
2.企业营业执照副本原件与复印件;
3.企业资质证书副本原件与复印件;
4.企业安全生产许可证副本原件与复印件;
5.企业在本市的自有房产的房产证或经市房产交易中心鉴证的租赁合同书原件与复印件;
3
6.在昆施工的项目经理资格证书和安全生产考核合格证书(B类)的原件与复印件(已在我局信用管理系统审核过的除外);
7.我局颁发的原《手册》原件。
请将以上材料(第1项和第7项为原件、第2-6项均为复印件)按顺序简易装订成册。
五、施工许可所需资料:
1.立项批准文件;建设用地许可证及建设工程规划许可证;施工合同、监理合同;设计施工图纸; 办结履约担保手续;
2.市建设局市政公用科核发的《江苏省建筑业企业信用管理手册》或市行政审批中心建设局窗口核发的《外地市政施工企业进昆资质等级核验单》;《昆山市市政施工企业项目经理业绩考核手册》;专职安全员安全考核证原件及复印件;《市政工程项目施工管理承诺书》;施工单位中标通知书及备案表或直接发包通知书;安全监督申报;办结人工工资担保手续;
3.监理单位中标通知书及备案表(需招标项目);《项目监理机构人员填报表》;总监任命书;监理人员《业绩考核记录卡》;外地监理企业还需提供:办公场所所在地建设主管部门确认的《外地监理企业在昆山市配置办公场所及办公用品的现场踏勘表》;《江苏省昆山市外地监理单位进市备案通知》。
六、安全监督申报所需资料:
1.建设工程安全责任书;
2.施工单位施工现场安全管理法人委托书;
4
3.施工项目部安全管理B、C类上岗证书;
4.与昆山市建设工程质量检测中心签订的钢管、扣件、安全网、深基坑及桥梁工程监测的协议书。
5。