兽医部门操作流程(2013-6-15)
- 格式:pdf
- 大小:1.55 MB
- 文档页数:53
兽医实验室基本操作规程1. 引言兽医实验室是开展动物科研、疫情监测和兽药研发的重要场所。
为了确保实验室工作的安全性和规范性,制定本基本操作规程,以指导实验室人员正确操作,保障实验室成果的准确性和可靠性,同时确保动物的福利和健康。
2. 通用规定2.1 实验室人员应接受相关培训,了解实验室的操作规程、实验室安全措施和紧急救援计划。
2.2 实验室应配备必要的安全设施和紧急设备,并保持其功能完好。
2.3 实验室内操作应保持整洁,并定期进行卫生消毒工作。
2.4 实验室人员应穿戴合适的个人防护装备,如实验室服、手套和防护眼镜。
2.5 实验室应定期检查仪器设备的工作状态,发现问题及时维修或更换。
3. 动物实验准备3.1 实验前,应准备足够数量的实验动物,并确保其健康状态。
3.2 实验动物应按照相关法规进行饲养和管理,并定期进行健康检查。
3.3 实验动物的选择应符合实验要求,并遵循伦理原则。
3.4 实验动物麻醉时,应根据实验的需要选择适当的麻醉方法,并确保动物的麻醉质量。
3.5 实验前,应准备实验所需的药物、试剂和设备,并确保其质量和有效性。
4. 实验操作流程4.1 在进行实验操作前,应仔细阅读实验操作指南,并确保对实验操作步骤的理解和掌握。
4.2 实验操作时,应注意实验动物的舒适度和安全性,避免给动物带来不必要的伤害。
4.3 实验操作过程中应注意卫生以及试剂和样品的交叉污染,避免实验结果的误差。
4.4 实验操作完成后,应及时清理实验台面、仪器设备和实验动物所在的区域。
4.5 实验过程中出现的问题和异常情况应及时记录并报告实验负责人。
5. 废弃物处理5.1 废弃物应按照实验室废弃物管理规定进行分类和处理。
5.2 针头、刀片等锐器应单独收集,并进行专门处理,防止伤害人员。
5.3 化学药品废物应妥善存放,并交由专门机构进行处理和处置。
5.4 动物尸体和剩余物应进行无害化处理,以防止传播病原体。
6. 紧急情况处置6.1 发生紧急情况时,实验室人员应迅速采取紧急措施,保护好自己和他人的安全。
兽医操作规范一、监督检查:1.每天定时检查消毒设施使用情况,消毒液的浓度、质量、数量等,定期检查消毒设备。
2.对前一日的治疗病牛进行观察(采食情况、精神状态、行为表现等)。
二、发现病牛:1.询问饲养员牛、昼夜值班人员牛群是否出现新的异常牛只(食欲下降或停止、反刍停止、精神差、卧地不起、气喘、外伤、临产、流产表现的等)。
2.兽医技术员在牛补饲时对牛群采食情况进行观察(2-3次),是否有异常表现的牛只。
3.每天询问和查阅牛群产奶量变化,发现有异常牛只(乳房炎、乳房异常,奶牛发热等)进行检查。
三、病牛诊断:1.对病牛和新增病牛, 要用心诊断,根据病情轻重、时间的长短、成年牛所处的泌乳期、行为表现等进行诊断(望、问、闻、叩、听、触摸、),确实做到诊断真确。
2.对病牛诊断结果不清的,技术人员要进行联合会诊,确保诊断真确。
四、病牛治疗:1.根据病牛的轻重缓急来进行合理安排治疗时间和治疗顺序。
2.根据病牛诊断记录,做治疗记录和治疗方案后开取处方,然后配药实施治疗。
五、防疫检疫:1.按消毒防疫计划定期对生产区的牛舍、运动场、道路、设施工具、牛群等进行消毒工作的监督检查。
2.对重病牛进行隔离治疗,对具有传染性的牛,要进行隔离治疗和排泻物的消毒(制定临时消毒计划);3.制定牛群免疫接种计划并负责实施(口蹄疫、焦虫、布病、巴氏杆菌气肿疽等);4.制定牛群结核、布病检疫计划并组织实施(两病检疫每年两次,间隔半年);六、奶牛保健:1.制定奶牛卫生保健计划并组织实施。
2.按计划定期对泌乳牛乳汁进行体细胞数的测定,判定隐性发病率。
3.按计划定期对奶牛肢蹄进行修剪(春秋季节对奶牛的变形蹄进行修理)。
4.通过奶牛的酮病、产褥热等病发病率对牛群的代谢病进行监控。
七、药品计划:1.根据牛群数量和常发病,制定全年药械采购计划,根据季节性发病情况,制定短期药械采购计划和临时药械采购计划并组织实施。
2.药品采购及时合理,不能造成某种药品堆积而失效过期。
一、总则为加强兽医卫生管理,保障动物源性食品安全,预防动物疫病的发生和传播,维护公共卫生安全,根据《中华人民共和国动物防疫法》、《中华人民共和国食品安全法》等相关法律法规,制定本制度。
二、组织机构及职责1. 兽医卫生管理领导小组:负责制定兽医卫生管理制度,监督实施,协调各部门工作。
2. 兽医卫生管理部门:负责具体实施兽医卫生管理制度,开展兽医卫生监督、检查、指导等工作。
3. 兽医卫生监督员:负责对兽医卫生工作进行监督,对违法行为进行查处。
三、兽医卫生管理制度流程1. 兽医从业人员管理(1)兽医从业人员应取得相应的执业资格,持证上岗。
(2)兽医从业人员应定期参加培训,提高业务水平。
(3)兽医从业人员应遵守职业道德,保守业务秘密。
2. 兽药、饲料和饲料添加剂管理(1)兽药、饲料和饲料添加剂的生产、经营和使用,应符合国家相关法律法规和标准。
(2)兽药、饲料和饲料添加剂的生产、经营企业应取得相应资质。
(3)兽药、饲料和饲料添加剂的使用,应按照说明书或技术要求进行。
3. 动物防疫管理(1)动物防疫部门应制定动物防疫计划,组织实施。
(2)养殖场(户)应建立动物防疫制度,落实防疫措施。
(3)动物防疫部门应定期对养殖场(户)进行防疫检查,确保防疫措施落实到位。
4. 动物诊疗管理(1)动物诊疗机构应取得相应资质,遵守国家有关法律法规。
(2)动物诊疗机构应按照诊疗规范开展诊疗活动,确保诊疗质量。
(3)动物诊疗机构应做好动物诊疗记录,便于追溯。
5. 畜产品质量安全监管(1)畜产品生产、经营企业应建立质量安全管理制度,落实质量安全措施。
(2)畜产品生产、经营企业应定期对产品进行自检,确保产品质量安全。
(3)畜产品质量安全监管部门应加强对畜产品生产、经营企业的监督检查。
6. 举报投诉处理(1)设立举报投诉电话、邮箱等渠道,接受社会监督。
(2)对举报投诉事项,及时进行调查处理。
(3)对违法行为,依法进行查处。
四、附则1. 本制度自发布之日起施行。
兽医站各项工作流程简介【4】
;
2、生产区有良好的采光、通风设施设备;
3、圈舍地面和墙壁选用适宜材料,以便清洗消毒;
4、配备疫苗冷冻(冷藏)设备、消毒和诊疗等防疫设备的兽
医室,或者有兽医机构为其提供相应服务; 5、有与生产规模相适应的无害化处理、污水污物处理设施设备; 6、有相对独立的引入动物隔离舍和患病动物隔离舍。
规章制度和档案记录
农业部《动物防疫条件审核办法》第二章第九
条规定:动物饲养场、养殖小区应当按规定建立免疫、用药、检疫申报、疫情报告、消毒、无害化处理、畜禽标识等制度及养殖档案。
人员要求
1、农业部《动物防疫条件审核办法》第二章第八条
动物饲养场、养殖小区应当有与其养殖规模相适应的执业兽医或者乡村兽医。
2、患有相关人畜共患传染病的人员不得从事动物饲养工作。
(必须有体检健康证明)。
兽医安全操作规程兽医安全操作规程一、引言兽医工作的特殊性要求从业人员必须遵守严格的安全操作规程。
本文旨在制定一套兽医安全操作规程,确保兽医从业人员的安全与健康。
二、个人防护1.着装要求:(1)穿戴干净整洁的工作服,不得穿戴过长的衣物,以免影响工作;(2)穿戴防护耐化学药物的手套,以防止接触传染病和化学试剂;(3)配戴防护面罩、护目镜或防护眼镜,以防止粉尘、细菌等对眼部的伤害;(4)戴着有防护作用的防滑鞋,以防止摔倒或滑倒。
2.个人卫生:(1)进入兽医工作场所前后必须洗手;(2)保持良好的体态和仪表,不得携带头发、钥匙、手机等外部物品进行工作;(3)保持口腔卫生,不得吃东西或咬指甲等不正当的行为;(4)遵守工作场所的清洁要求,保持个人工作区域的整洁。
三、安全操作流程1.感染性疾病的处理:(1)在处理疑似感染性疾病的动物或标本时,应佩戴防护手套和口罩;(2)将感染性动物或标本置于特定的隔离区域,并采取适当的防护措施;(3)在处理完毕后,应及时清洗和消毒工作场所,并焚烧或正确处理生物废弃物。
2.药物和化学品的使用:(1)药物和化学品使用时,应按照说明书进行正确操作;(2)在使用化学试剂时,应佩戴防护手套和眼部防护设备,避免皮肤和眼睛直接接触;(3)药物和化学品的储存,应放在特定的储存区域,定期检查和更新。
3.手术操作:(1)手术操作前应对工作区域进行清洁消毒,确保手术器械和场地无菌;(2)手术时应佩戴手术手套,并遵循严格的手术操作规程;(3)手术后应及时处理垃圾和废物,并对使用的器械进行消毒。
四、意外事故处理1.急救知识:兽医从业人员应具备基本的急救知识,包括人工呼吸、心脏按压、止血等技能,以应对突发意外。
2.事故报告:任何一起工作中的意外事故都必须及时向上级汇报,并采取相应的救治和补救措施。
五、兽医安全培训兽医从业人员应定期接受兽医安全培训,确保他们掌握最新的安全操作规程和应急处理知识。
六、安全设施和设备1.安全设施:(1)应在必要的地方设置安全警示标志,警示员工注意安全;(2)应为员工提供清洗和消毒设备,以确保个人和工作区域的清洁;(3)应在工作场所设置灭火器和应急出口,并定期对设施进行检查和维护。
兽医临床技术操作规程为确保猪场正常生产,更有效地降低猪群的发病率,死亡率,减少疾病造成的损失,不断促进猪场疫病防治工作规范化、科学化,逐步提高兽医临床操作技术水平,特制定本规程细则,请猪场生产线员工参照执行。
1.认真做好防疫工作,严格执行《猪场卫生防疫制度》。
2.认真做好消毒工作,严格执行《消毒制度》。
3.认真做好免疫工作,严格执行《猪场免疫程序》。
4.认真做好驱虫工作,严格执行《驱虫程序》。
5.加强饲养管理,严格按《技术操作规程细则》进行日常工作。
提高猪群的抗病能力。
6.注意了解、调查本地区疫情,掌握流行病的发生发展等有关信息,及时提出合理化建议并提出相应综合防治措施。
7.定期检疫,定期进行抗体检测工作。
8.一旦发生疫情或受到周围疫情威胁,猪场要及时采取紧急封锁等自卫措施,全体职工要绝对服从猪场发布的封锁令。
9.建立健康猪群,引入种猪要检疫并隔离饲养观察至少40天。
尽量自繁自养10.及时隔离病猪、处理死猪,污染过的栏舍、场地彻底消毒。
各舍要设1-2个病猪专用栏。
11.病死猪用专车运到腐尸池处理;解剖病猪在腐尸池解剖台进行,操作人员要消毒后才能进入生产线;每次剖检写出报告存档,临床检查、剖检不能确诊要采取病料化验。
12.及时将猪群疫病情况反映给猪场领导,以便有计划地进行药物控制与预防。
13.对病猪必须做必要的临床检查如体温、食欲、精神、粪便、呼吸、心率等全身症状的检查,然后做出正确的诊断。
14.诊断后及时对因对症用药,有并发症、继发症的要采取综合措施。
15.残次、淘汰、病猪要经兽医鉴定后才能决定是否出售。
16.预防中毒、应激等急性病,发现时及时抢救治疗。
17及时治疗僵猪,配方采用肌苷+VB1+补铁,各2毫升,每天1次,连用7天,治疗前驱虫、健胃。
18.对仔猪黄白痢等常见病要有目的地进行对照治疗,有计划地进行药物预防。
19久治不愈或无治疗价值的病猪及时淘汰。
20.饲养员要熟练掌握肌注、静注、腹腔补液、去势手术、难产等简单的兽医操作技术。
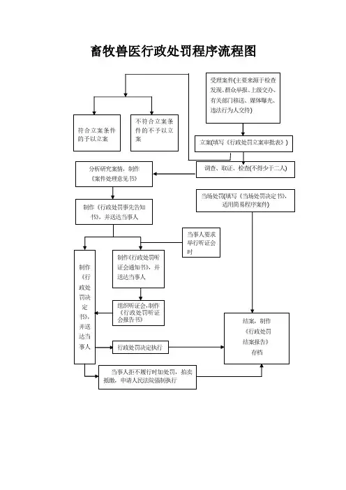
畜牧兽医综合执法工作流程(一)受理1、案件受理。
动物卫生监督所办公室人员将群众举报、上级交办等案源信息,认真做好登记,并当日向单位领导汇报。
经领导批准后,安排动监所执法人员对案件的第一现场进行检查。
2、现场检查。
执法人员(2人以上)外出巡查、办理上级交办案件、群众举报案件时,必须携带“执法证件”,现场检查时必须出示执法证。
现场未能提供执法单位所需相应手续或发现有违法行为需要立案、调查、给予行政处罚的:制作《现场检查(勘验)笔录》;《询问笔录》;现场取证(拍照、录相);责令其立即停止违法行为。
现场需暂扣工具、物品的必须开具《查封(扣押)通知书》、《登记保存物品清单》,《登记保存物品处理通知书》,《产品确认通知书》。
回所后,向领导及时汇报巡查和办案的情况,将个案的第一现场检查笔录报办公室档案管理人员登记。
(二)立案对符合立案条件的,执法人员将个案的第一现场检查笔录报办公室档案管理人员登记,申请案号。
执法人员制作《行政处罚立案审批表》报局法制科审批,提出是否立案的意见,由法制科报领导审批。
对不符合立案条件的,局法制科提出撤销立案申请。
(三)调查立案后,执法人员对案件进一步详细调查。
确认违法事实,提出初步行政处罚意见。
(四)审核与批准执法人员根据调查情况,制作《案件处理意见书》,报局法制科,提出处理建议。
特殊的、处罚金额多和处罚幅度大的案件由法制科、执法单位集中会审,作出会审决定,参加会审人员签名。
局法制科对违法事实和证据、违反法规条款、处罚种类和依据、履行方式及此案的资料进行审核把关,报领导审批并签名。
(五)处罚与执行1、事先告知。
执法人员根据案情制作《行政处罚事先告知书》,告知当事人违法事实、违反法规条款、处罚依据、依法享有的权利;听取当事人陈述和申辩。
符合听证程序的,必须告知当事人有要求举行听证的权利。
当事人要求听证的,必须组织听证,并作《听证通知书》,盖行政机关印章,在举行听证的七日前,通知当事人举行听证的时间、地点及有关事项等。
官方兽医工作流程下载温馨提示:该文档是我店铺精心编制而成,希望大家下载以后,能够帮助大家解决实际的问题。
文档下载后可定制随意修改,请根据实际需要进行相应的调整和使用,谢谢!并且,本店铺为大家提供各种各样类型的实用资料,如教育随笔、日记赏析、句子摘抄、古诗大全、经典美文、话题作文、工作总结、词语解析、文案摘录、其他资料等等,如想了解不同资料格式和写法,敬请关注!Download tips: This document is carefully compiled by theeditor. I hope that after you download them,they can help yousolve practical problems. The document can be customized andmodified after downloading,please adjust and use it according toactual needs, thank you!In addition, our shop provides you with various types ofpractical materials,such as educational essays, diaryappreciation,sentence excerpts,ancient poems,classic articles,topic composition,work summary,word parsing,copy excerpts,other materials and so on,want to know different data formats andwriting methods,please pay attention!宠物就医流程当宠物出现身体不适或疾病需就医时,需要进行以下流程。
一、预约挂号主人需要先预约挂号,在挂号时需要提供宠物的基本信息,如种类、年龄、体重等,同时也需要告知医生宠物的症状、病史等相关信息,以便医生进行初步诊断。
牧场兽医部门操作规程(内容清晰)牧场兽医部门操作规程牧场兽医部门操作规程部门名称:兽医部直接上级:牧场经理助理直接管理人:部门主管管理权限:牧场牛群疾病的防疫及治疗一、总则1、兽医是给动物疾病进行预防、诊断并治疗的专业人员。
2、必须按照国家的法律法规严格进行防疫消毒工作。
3、维护动物健康、保证畜牧安全、规范畜牧生产、保障食品安全,控制人畜共患病、建立人类的动物模型。
二、部门生产目标1、所有疾病的治疗记录做到全部利用软件,确保记录的可靠性和准确性。
2、全年疾病淘汰率:成乳牛群﹤10%,青年牛群﹤2%,犊牛﹤2%。
3、全年牛群死淘率:成乳牛群﹤3.5%,青年牛群﹤1%,犊牛﹤2%。
4、乳房炎的全年发病率平均﹤2%,治愈率﹥90%。
5、全年病牛治愈率﹥85%。
6、年平均胎衣不下﹤5%,年平均子宫炎﹤8%,年平均DA﹤2%, 产后瘫﹤2%,酮病﹤2%。
7、年平均蹄病牛的发病率﹤2%。
8、必须严格预防传染病,布病、结核每年最少检疫两次,各种疫苗的免疫率达100%。
9、巡圈时的病牛鉴定率达100%。
10、每头泌乳牛每年至少2次保健修蹄。
三、部门岗位职责1、主管岗位职责1.1、按牧场要求制定适合本地区和本牧场的相关防疫检疫制度。
负责组织和实施牧场牛群防疫检疫执行计划,负责安排兽医组日常工作。
1.2、协助牧场总兽医官编写及完善奶牛疾病治疗程序,规范疾病治疗。
1.3、每日、每周、每月向牧场经理汇报疾病治疗情况和淘汰情况,遇有特殊情况要及时汇报。
1.4、做好兽医组各项报表的制定和审核工作。
1.5、每月25号把部门下月的申购计划交给采购。
1.6、每月2日上午8点之前上交本部门月报、工作总结及下月工作计划。
1.7、考核兽医组员工工作情况。
1.8、检查落实兽医组各项规章制度的执行情况。
1.9、每月做好药物器械的申购和产房药物管理工作。
1.10、制定牧场兽医岗位职责和岗位考核制度。
1.11、做好各部门之间的沟通工作。
2、主管助理岗位职责2.1、协助主管完成本部门各项工作。
宠物医院工作细节流程1.寄养清洁消毒流程:将笼内犬只转出(确保安全)→冲洗笼内的粪便及洒落狗粮→喷洒消毒水→10min后将笼壁及底板正反面刷干净→清水冲洗→擦干(干净的消毒毛巾)→放入犬只(确保安全)(1)指定责任人(医疗员工为主)职责:除做好清洁消毒工作,每日履行对寄养室内卫生、气味、温湿度、犬只护理及相应记录工作的落实执行,并就寄养室整体情况每日主动向院长汇报。
具体工作如:早班交接时应检查笼内清洁状况、犬只数量、犬只精神状态、寄养室内温湿度、气味、排气扇等必须达到合格标准:笼内清洁程度佳(干净,无大小便,污渍及洒落狗粮等),犬只数量与记录本上要求相符,犬只精神状态佳,寄养室温度在24℃~28℃,湿度在60-85%,无明显臭味,排气扇运行正常,表面洁净,记录工作认真及时。
如遇异常情况应立即与院长汇报。
其他时间:白天每半个小时巡查一次,并注意喂水,喂食,卫生等,特别注意不负责任出现夏天空调温度过低,犬只生病或冻死或者未给予足够的饮水,而出现其他意外;注意冬季寄养密度过高出现中暑意外;夜间督促夜班人员要求每一小时巡查一次。
(2)院长复核定时到寄养室内检查,每天至少三次,主要复核巡查寄养室内各项指标是否符合要求、发现寄养室内存在的安全隐患及犬只状况逐个亲自检查核实。
2.护理区(含输液区、住院区)(1)外出遛狗。
住院犬只若病情需要需外出遛时,严格按照遛狗要求操作。
(2)笼内安全。
必须保证所有在院犬只笼门时时关闭,且牢固,部分破损存在安全隐患的狗笼必须给予加固或者更换。
(3)室内活动。
部分患病犬只因为病情需要需适当活动,但又不能带出时,如骨折康复期犬只等,护理人员可选择在室内进行活动。
地点应选择住院部等密闭的房间,同时要求护理人员必须在现场看护并在门外挂上“请勿开门”等警示字样。
活动结束后,立即将犬只放回笼内。
(4)猫的活动。
因猫的特殊性,要求在其服务过程中,务必保证门窗关闭,如需放出笼外,必须有专人看护并给予警示避免他人突然推门进入出现猫只逃跑。
畜牧兽医实验室基本操作流程表格【实用版】目录1.畜牧兽医实验室基本操作流程表格的概述2.表格的主要内容3.表格的具体操作流程4.表格的重要性和应用价值正文【1.畜牧兽医实验室基本操作流程表格的概述】畜牧兽医实验室基本操作流程表格是一个以表格形式展示畜牧兽医实验室基本操作流程的工具。
它将实验室的基本操作流程进行了梳理和归纳,使得实验人员能够快速了解和掌握实验室的基本操作流程,从而提高工作效率和实验质量。
【2.表格的主要内容】畜牧兽医实验室基本操作流程表格主要包括以下几个部分:(1)实验前准备:包括实验材料的准备、实验环境的准备、实验设备的准备等。
(2)实验操作:包括实验的具体步骤、操作方法、注意事项等。
(3)实验后处理:包括实验数据的处理、实验报告的撰写、实验资料的保存等。
(4)实验安全:包括实验过程中的安全措施、实验事故的处理等。
【3.表格的具体操作流程】以实验操作为例,其具体操作流程如下:(1)明确实验目的:在开始实验之前,首先要明确实验的目的,以便选择合适的实验方法和实验材料。
(2)准备实验材料:根据实验目的,选择合适的实验材料,并对实验材料进行处理和保存。
(3)设置实验环境:根据实验要求,设置合适的实验环境,包括温度、湿度、光照等。
(4)操作实验设备:根据实验要求,操作实验设备,进行实验操作。
(5)观察实验现象:在实验过程中,观察实验现象,并记录实验数据。
(6)处理实验数据:对实验数据进行处理,得出实验结果。
(7)撰写实验报告:根据实验结果,撰写实验报告,并进行实验资料的保存。
【4.表格的重要性和应用价值】畜牧兽医实验室基本操作流程表格的重要性和应用价值主要体现在以下几个方面:(1)提高工作效率:通过提供清晰的实验操作流程,可以帮助实验人员快速掌握实验操作方法,提高工作效率。
(2)保证实验质量:通过规范实验操作流程,可以保证实验的科学性和准确性,从而提高实验质量。
(3)保障实验安全:通过强调实验安全措施,可以降低实验过程中的安全风险,保障实验人员的人身安全。
一、兽医生产安全1、赶牛时尽量避免与牛近距离接触,减少被牛碰伤的危险。
2、挤奶治疗时,先对牛只进行试探性接触,确定可以进行安全操作时方可进行。
3、在配制碘液时必须戴橡胶手套,以防碘液溅在皮肤上。
4、挤奶员在药浴乳头时应尽量避免消毒液溅入眼内,如溅入眼内应马上用清水进行彻底清洗。
5、如果不小心被牛碰伤应及时采取以下措施进行处理:A、小面积轻微碰伤,首先用清水清洗,再用碘酊进行消毒,再用酒精棉球进行脱碘消毒,最后用创可贴进行包扎。
B、如遇严重碰伤,应立即送往当地正规医院进行治疗。
6、兽医人员在添加酸碱液消毒剂时,应配戴耐酸碱的长臂橡胶手套、护眼罩等防护用具再进行操作。
7、修蹄人员在赶牛都要与牛保持安全距离,保证自身安全。
8、在做各项疫苗接种时要做好自我防护措施避免在接种操作时感染给自己(注:戴橡胶手套、长臂手套、口罩、护眼罩、线手套等)。
9、采样时特别是采血时要做好自我保护,避免与样品接触造成自身感染。
10、在治疗时要正确使用各种器械,避免操作过程中给自己造成伤害。
11、离开带有电源地方时关闭电源。
二、兽医岗位职责(一)、兽医主管(1)兽医主管工作职责1、接受牧场场长和兽医防疫部的领导,向牧场场长和兽医防疫部汇报工作,接受牧场技术(副)场长的工作协调。
2、认真贯彻落实兽医防疫部与牧业公司其他中心下发的关于兽医方面的规章制度。
3、结合地区传染病流行情况、牧场免疫历史,建立完善的免疫、检疫计划,严格按照计划执行。
出现疫情第一时间得出准确判断并向兽医防疫部和场长汇报。
4、负责制定、完成牧场兽医指标预算。
5、对无饲养价值的奶牛,按淘汰牛规程提出淘汰申报计划。
6、负责建立与推行防重于治的工作思路及方法,严格落实兽医的操作规程。
7、做好兽医安全生产。
8、负责本部门人员管理工作安排(日常工作、休息、休假、考勤、培训)。
9、做好兽医各项报表的制定、审核和申报工作,确保数据的真实性,并建立电子档案,对本部门上报的每一项数据负责,全面了解牧场牛只发病治疗情况。
兽医手术操作规范手术操作是兽医工作中至关重要的一部分。
为确保手术的安全和成功,兽医必须遵守一系列规范和操作程序。
本文将重点介绍兽医手术操作规范,以确保手术过程中的安全和高效。
1. 手术准备在进行手术前,兽医必须进行充分的准备工作,以确保手术的顺利进行。
首先,兽医需要对手术所需的器械和设备进行检查,确保其完好无损并妥善清洁消毒。
其次,兽医需要仔细阅读患者的病例记录,了解其健康状况和手术需求。
最后,兽医需要准备好所需药物和麻醉剂,并确保其有效性和安全性。
2. 术前准备在手术前,兽医需要进行术前准备工作,以确保手术过程的顺利进行。
兽医应仔细检查患者的身体状况,并记录相关信息,如体温、血压和心率等。
此外,兽医还应详细询问患者的药物过敏史和麻醉反应情况,以便进行适当的麻醉方案选择。
3. 术中操作规范在手术过程中,兽医应严格按照操作规范进行操作,以确保手术的安全和有效。
首先,兽医必须保持手术区域的清洁和无菌。
在手术开始前,兽医应对手术区域进行彻底清洁和消毒,并覆盖无菌巾。
其次,兽医需要正确选择和使用手术器械,确保其质量和适用性。
在手术操作过程中,兽医需要按照正确的操作步骤进行,确保操作的准确性和安全性。
4. 术后处理手术结束后,兽医需要对患者进行相应的术后处理工作,以促进其迅速康复。
首先,兽医应对手术切口进行处理,包括缝合、敷料和抗生素应用等。
其次,兽医需要进行术后观察,密切关注患者的恢复情况和可能的并发症。
在术后一段时间内,兽医还应提供相应的护理指导和药物治疗建议,以确保患者的康复进程。
5. 安全注意事项在进行手术操作时,兽医还需遵守一系列安全注意事项,以确保手术的安全和成功。
首先,兽医应佩戴适当的个人防护装备,如手套、口罩和护目镜等,以避免手术感染和意外伤害。
其次,兽医应确保手术器械和设备的安全性和可靠性,并定期进行检查和维护。
最后,兽医应始终保持专注和集中注意力,避免疲劳和分心,以确保手术操作的准确性和安全性。
兽医急诊处理流程与技巧兽医急诊处理是指在动物遭受意外伤害、急性疾病或紧急情况下的紧急抢救与处理。
在兽医急诊处理过程中,及时而准确地采取适当的措施,可能是挽救动物生命的关键。
本文将介绍兽医急诊处理的流程与技巧,帮助兽医及工作人员能够高效地应对紧急情况。
一、评估病情在兽医急诊处理过程中,第一步是对患动物的状况进行精确评估。
这包括了采用VACELS(呼吸、空气道、循环、眼、神经系统、皮肤及黏膜)等方法对患动物的生命体征进行检查,以确定病情的严重程度与危害程度。
除此之外,兽医还应仔细询问患动物主人关于其动物的现象,如症状、起病时间等,以便获取更多有效信息,为下一步的处理提供参考。
二、紧急措施在评估完病情后,紧急处理措施应迅速而准确地采取。
以下列举几种常见的紧急处理措施:1.止血措施:对于出血量较大的伤口,可采用直接压迫、外科缝合或应用止血药物等方式进行止血。
2.氧气供应:对于呼吸急促、缺氧或气道受阻的情况,应及时提供氧气支持。
3.急救药物应用:在紧急情况下,兽医可根据病情的需要应用急救药物,如抗生素、解热镇痛药等。
4.内源性急救措施:有时候动物自身可能有一些应对紧急情况的生理反应,如呕吐排除消化道中毒物、体内噁心物质等,兽医可以辅助这些内源性应对反应。
三、详细检查与诊断在采取了紧急处理措施后,兽医需要进行详细检查与诊断,以更准确地判断病情。
详细检查包括了全身系统检查,如血液、尿液、X光检查等。
同时,兽医还需要进行病史的询问与观察,以获取更多的信息,为进一步的治疗提供依据。
对疑似病例,兽医还可以通过实验室检查,如血液生化分析等,以排除或确认某些疾病。
四、治疗与护理根据诊断结果,兽医会制定相应的治疗方案并根据实际情况进行治疗。
治疗方式可能包括手术、药物治疗、物理疗法等。
同时,在治疗过程中,对患动物的护理也是至关重要的。
这包括了给予合适的饮食、保持良好的环境条件、提供舒适的住宿等。
五、观察与后续护理在治疗过程中,兽医和工作人员应密切观察患动物,观察其病情的变化以及治疗效果的评估。