为民服务全程代理流程图
- 格式:docx
- 大小:21.89 KB
- 文档页数:8
税务局纳税服务规程服务小组企业服务制度为进一步搞好优化服务,推进“创税企零距离”的进一步深入,建立和完善起新型的征纳关系,努力营造良好的依法治税环境,积极实践“某某某某”的重要思想,树立国税新形象。
经研究,决定建立为企业送服务制度。
一、服务对象国税纳税人、代扣代缴义务人。
二、服务方式1、定期到企业开展一系列税收服务;2、根据企业需要,随时下企业搞好服务;3、根据上级布置,联合有关单位人员下企业做好各种服务;4、向纳税人公布服务热线。
三、服务内容2、举办税法知识讲座及各类培训班;3、开展税收政策咨询;4、搞好纳税辅导和财务辅导,帮助企业加强税收财务管理;5、建立税企对话制度,为企业出谋划策;6、及时反馈纳税人对国税部门管理、服务的意见和建议。
四、服务要求1、每半年组织一次纳税人参加税收知识培训;2、对每一户新办企业开展一次纳税申报、税款计算辅导;3、对新认定一般纳税人的网上申报进行实地操作指导;5、随时接受纳税人的税收政策咨询;6、应企业的要求帮助企业建帐建证对企业进行财务辅导。
服务大厅岗位设置岗位:发票发售窗口、某某开具及门征申报窗口、文书受理窗口、税务登记窗口、防伪税控认证窗口、值班长违章处理窗口岗位职责:税务登记岗:负责受理包括开业登记、变更、注销、停业登记以及税种登记等工种,该岗位主要职责是:4、负责外来经营报验证,遗失税务登记补办。
8、根据新办或变更税务登记的纳税人情况,按纳税人《税种登记表做好税种登记工作。
9、负责税务登记验换证工作。
文书受理岗:负责受理各类需审核上报或审批的涉税文书其主要职责是:2、负责受理涉税文书的移交。
3、根据审核批准文书的通知,制发各类批准通知书。
4、根据审核后的《企业进货退出及索取折让证明单》申请表,开具《企业进货退出及索取折让证明单》。
5、在ctai文书未正式流转前,负责各类文书的录入工作。
申请征收岗:负责纳税申报、税款征收等工作,该岗位主要职责是:2、审查各种纳税申报表、附表及财务报表是否齐全。
配龙镇从成立了便民服务中心以来,做了大量的便民服务工作,群众反映良好。
现将便民服务中心工作总结如下:一、提高认识,成立工作领导小组。
镇党委、政府专门召开会议研究便民服务工作。
通过大会,全体机关人员认识到成立便民服务中心是贯彻落实“十八大”精神,保护和维护人民群众的合法利益,改善民生,维护民权,保障民和,促进民富;加快政府职能转变,建立公正便民、廉洁高效的办事公开服务体系的重要举措。
镇领导高度重视,成立了以镇长朱鸿飞为主任,李燕同志为常务副主任的便民服务领导小组,全面指导便民服务中心工作。
二、成立服务中心,添置办公设施。
配龙镇便民服务中心正式挂牌成立后,服务中心包括民政、农经、计划生育、劳动保障、国土、村镇建设、财政、等7个工作窗口,以后还将陆续扩大与群众办事密切相关的窗口。
为方便群众办事,镇政府特意在政府大门外安排120平方米的办公室为服务中心办公室,各个办事窗口都把自己的工作职责、服务内容、办事流程挂牌上墙,并放在显著位置。
政府还为便民服务中心添置了电脑、桌椅等办公设备,从而确保服务中心更好的为群众办事。
三、中心热心服务,群众反映良好。
便民服务中心成立后,各办事窗口工作人员都认真工作,热情为老百姓服务。
民政窗口接待群众咨询及开展困难救助120余件;劳动保障窗口办理就业证、就业登记证、再就业优惠证20余个,调节劳动纠纷3起,办理农村养老保险5900余份;计划生育窗口对全镇流入流出育龄妇女进行了妇检200余人次,发放一孩服务通知单120多份,孕期营养素30多份,免费查病、查环、查孕,对农村独生子女伤残死亡家庭进行了摸底,办理独生子女父母光荣证30余次,接受群众咨询70余次。
我镇成立便民服务中心,把与群众办事密切相关的工作窗口集中,极大的方便了人民群众,群众只需到便民服务中心一地,就能办理原来要跑好几个地方的事,老百姓十分满意,反映良好。
成立以来我镇便民服务中心。
各窗口单位都能起到应有的作用,方便群众,尽快、更好的解决群众实际问题。
以为民服务为宗旨以群众满意为目标扎实做好群众申请事项全程代办暨为民服务双向承诺工作河口区义和镇(2008年5月9日)自“记三情铸三线”主题实践活动开展以来,义和镇党委、政府高度重视,精心组织,周密安排,记实“三情”,铸好“三线”,以“四联四促”、“四抓四新”、“四查四清”为载体,以便民服务大厅为平台,以为民服务为宗旨,以群众满意为目标,不断改进活动形式,丰富活动内容,推进了群众申请事项全程代办与为民服务双向承诺工作,进一步扩大提升了“记三情铸三线”主题实践活动的成果。
截至目前,全镇共接待群众来访、咨询967人次;受理群众申请事项348件,办结346件,办结率99%以上,群众满意率100%。
我们的主要做法是:一、健全组织机构,完善服务网络为认真做好群众申请事项全程代办制试点工作,我镇首先成立了由镇党委书记任组长,镇长和分管书记为副组长,相关单位负责人为成员的领导小组。
设立了镇便民服务大厅,安排一名政治素质高、工作责任心强的同志担任便民服务大厅主任,抽调民政办、劳动保障事务所、农业综合服务中心、法律服务中心、村镇建设管理站及财税办等6名工作人员到便民服务大厅集中办公,未进入镇便民服务大厅的镇直各单位设立受理室。
从办事快捷、方便群众的角度规范布置了一站式服务大厅,开通了全程代办便民服务热线电话3087180,配置了3台电脑和饮水机、报架、茶几等设施,配备了一辆便民服务专用车。
镇包村工作人员为各村代办员,具体负责群众申请事项全程代办工作,各村明确一名村干部为代办联络员,确保了上下联系畅通,代办工作方便快捷,形成了在镇党委统一领导下,以为民服务为宗旨,以群众满意为目标,以镇便民服务大厅为载体,以镇直单位和村级组织为依托的全程代办工作服务网络。
二、精心制定方案,落实各项制度为使群众申请事项全程代办工作有章可循,镇党委结合实际,制定了《义和镇关于实行群众申请事项全程代办制的实施意见》、《义和镇群众申请事项全程代办制实施细则》等文件,明确了服务大厅代办窗口职责、代办员职责,制定了全程代办服务承诺及文明服务用语和忌语。
代办服务流程及注意事项
一、村代办服务点把群众需要办理的事项,如计划生育、民政优抚、社会保障、宅基地审批、林木采伐、退耕还林补贴发放等,作为便民服务的重点,实施全程代办服务。
二、村代办服务点收到群众办事申请后,能办理的直接办理,不能办理的事项有代办员到乡“综合服务中心”办理。
乡综合服务中心收到群众办事申请后,能办理的事项直接办理,不能办理的事项由乡代办服务员送到区行政服务中心办理。
承办事项结束后,代办员要将办理结果及时告知申请人。
三、代办员在办事群众符合法律法规规定,资料齐全的前提下,按照对外公示的时限,及时办结(上报)服务对象申请办理的事项。
特殊原因不能在承诺时限内办结,需延期办结的事项,须提前向申办群众出具延期办结通知书,并说明延期理由。
延期办结最长不得超过3个工作日,延期承诺后,必须在承诺时限内办结。
四、群众对村级代办点出现的违规违纪违法现象可以进行举报,乡政府对村级代办点出现的违规不法行为,严肃查处。
政府采购代理工作流程
政府采购代理工作流程可分为公开招标、协议采购、询价采购、竞争性谈判和单一来源采购五个步骤。
首先是公开招标。
在此步骤中,需要受理申请表并确定采购方式,如公开招标、邀请招标、竞争性谈判、单一来源采购、询价采购等。
然后编制招标文件并由招标办审核确认后发布招标公告。
接着进行投标报名、资格预审、发售招标文件等流程,组织答疑和召开招标会,最终公示中标结果并签订合同。
其次是协议采购。
在此步骤中,业主单位填写《政府采购定标申请联系单》选择供应商,由供应商提供报价单,根据协议采购有关规定确定中标价,并出具中标通知书。
第三是询价采购。
在此步骤中,业务三处受理申请表并确定采购方式,制作询价单并发布招标公告,被询价的供应商一次性报出不得更改的价格,确定成交供应商后出具中标通知书。
第四是竞争性谈判。
在此步骤中,业务三处受理申请表并确定采购方式,编制招标文件并发布招标公告,成立谈判小组并进行谈判,最终确定成交供应商并出具中标通知书。
最后是单一来源采购。
在此步骤中,业务三处受理申请表并确定采购方式,采购人与供应商在保证采购项目质量的基础上协商,供应商填写报价单,业务三处确认后报监督科备案。
街道为民服务为全面贯彻党的十七大精神,进一步落实科学发展观,切实转变政府职能,全面加强干部作风建设,提高办事效率,规范办事程序,进一步增强廉洁自律意识、勤政为民意识和依法行事能力,打造高效、廉洁、文明、务实的街道办事处,不断密切党群干群关系,创造宽松的经济发展环境和稳定和谐的农村社会环境,加快全面建设小康社会的步伐,根据中共安宁市委组织部、安宁市街道为民服务中心“星级评定”管理工作领导小组关于《安宁市街道为民服务中心星级评定管理实施意见》的要求,我街道党政主要领导高度重视为民服务中心及村(社区)为民服务站星级评定工作,积极开展“四星级”为民服务中心及所辖10个村(社区)“三星级”为民服务站的申报创建工作,现将开展工作情况总结如下:一、基本情况街道为民服务大厅现有面积300平方米,配备电脑11台、打印机7台、复印机1台、传真机1部,电话4部,中心根据服务项目和内容设置了4个服务区(即经济发展、社会事务、综治维稳、党建群团服务区);14个服务窗口,即科教文卫、民政、人力资源和社会保障、文体广播电视、公安、计划生育、畜牧、农林水、城镇建设服务、招商引资、综合代办、国土资源、社会治安综合治理及矛盾调处、党建群团,服务事项计70项,做到了“窗口”应进必进,进必授权。
窗口19名工作人员分别从各部门抽调,并明确了服务事项、办事程序、工作要求等。
二、规范管理,创新服务型为民服务中心街道为民服务中心坚持“服务经济,方便群众”的宗旨和“依法办事,廉洁高效,公开透明”的办事原则,践行“把方便给群众,把麻烦留给自己”的服务理念,实行集中办公,公开办事,规范操作,限时办结的运行模式,真正落实“办理+代理”的服务内容,即凡是属于本街道一级审批办理的事项,只要材料齐全、条件具备,中心及时予以办理,属于上级政府和主管部门审批办理的事项,中心也予以受理,并代为办理,限时办结。
真正做到一站式服务,一次性办理,减少办事环节,减轻群众负担。
村级便民服务代办点制度一、便民服务宗旨:便民、利民、富民、安民二、便民服务内容:㈠代办类1、民政事务类。
社会救济、农村医保、农村社会养老保险、医疗救助、住房保险、最低生活保障、户口迁移、____办理等。
2、计划生育类。
生殖健康服务证、独生子女证办理、流动人口婚育证明办理、农村部分计划生育家庭奖励扶助对象确认等。
3、农林水类。
林木零星采伐许可证审批。
4、其他可代办的事务。
㈡、咨询类法律咨询、政策咨询、农技知识咨询、市场信息咨询、劳动力需求信息咨询等。
㈢、公益事业类水、电、电话、有线电视线路____及维修联系工作,群众性文化活动、全民健身活动的联系工作等。
三、便民服务承诺:1、积极主动热情快捷为村民提供代办帮办服务。
2、在规定时限内办结并将结果反馈给村民;是特事急事的,及时给予代办帮办服务。
3、除法定的规费以外,不另收取代办、帮办费用。
四、村便民服务点工作和值班制度1、设立村便民服务点,各村村委主任任中心主任,村支部书记、村主任、住村干部、大学生村官为中心工作人员,各村民组长为中心联络员;2、服务点工作人员保持____小时开机为民服务;3、实行代办员ab岗制,确保工作时间人员不脱岗;4、实行代办事项一次性告知,减少村民无效往返;5、及时受理、代办、转办、催办村民所需办理事项;6、除收取正常规费以外,严禁擅自提高标准收费、巧立名目乱收费、搭车收费;7、自觉接受镇便民服务点业务指导和工作监督,自觉接受群众监督;8、实行集中办公制度,集中办公时间为:逢集日五、村便民服务点工作职责1、受理办事群众的咨询、留言、陪同、转告等事项;2、受理服务对象的代理服务申请,代为办理申请人的具体事项;3、做好群众来电、来信、来访的记录、答复、转办、督办、反馈和归档;4、及时向镇领导汇报群众来电、来信、来访反映的重大问题,并提供有价值的信息,供领导决策参考;5、配合上级政务服务部门做好审批项目的现场踏勘工作;6、按时向镇便民服务点上报统计报表和有关资料。
乡镇为民服务中心简介为民服务中心是乡镇党委、政府副科级常设机构,主要工作是为发展经济提供综合性服务,职能定位于提供全程服务,推广现代科技,宣传政策法规,培育新型农民,探索科学管理,构建服务型政府,全面建设小康社会。
目的:提供服务,优化环境,发展经济,维护稳定。
宗旨:帮民致富,为民解忧,服务全局,振兴经济。
服务内容:全程代办有关证照,传播现代科技信息,培育科技示范基地,指导劳务有序输出,宣传涉农政策法规,搞好机关综合服务。
服务理念:宁可自己麻烦不让群众作难当好人民公仆服务百姓致富组织机构图:(见下页)乡镇为民服务中心组织机构图乡镇为民服务中心工作制度为加强为民服务中心建设,更好地实现“提供服务、优化环境、发展经济、维护稳定”的工作目标和“帮民致富,为民解忧,服务全局,振兴经济”的服务宗旨,特制定本制度。
1、加强政治学习,不断提高政治理论水平,增强宗旨意识,认真践行“三个代表”重要思想。
2、认真学习党在农村的路线、方针、政策和有关业务知识,不断提高为民服务的综合素质。
3、严格遵守作息制度,坚守工作岗位,遵章守纪,爱岗敬业。
4、办理证照及有关手续,要认真受理,一次性告知,简化程序,全程代办。
5、想农民所想,急农民所急,及时传播各种信息、技术,适时提供有效服务。
6、对农民、企业反映的涉及切身利益的问题,可通过说服教育、政府行为、法律指导等途径妥善解决,维护其合法权益。
7、对群众来电、来信、来访要认真登记,视情况分别做好解答、协调、上报等工作,让群众满意,促进社会稳定。
8、对待办事群众要文明用语,热情接待,耐心诚恳,主动服务。
9、积极搞好乡镇机关综合服务,努力当好领导参谋助手,认真完成领导交办工作。
10、不断强化服务意识,做到传达精神要及时,收集情况要准确,处理问题要稳妥,提供服务要到位,切实将工作平台前移、服务重心下移。
11、增强公仆意识,牢记服务宗旨,更新服务观念,拓宽服务范围,提高服务质量,真正树立起党和政府“执政为民”的良好形象。
代办工作流程群众工作服务内容一、贯彻执行党的群众路线、方针、政策和上级部门对群众工作的新要求。
二、负责办理本辖区群众来信来访的接待、登记、承办、答复、协调衔接信访人反映问题有关工作。
三、承办上级交办和领导批示交办的信访案件,同时配合各办事处处理有关信访案件,调解民事纠纷,化解各类矛盾。
四、在镇党委、政府领导下负责处理本辖区越级上访、群体性及突发性事件。
五、负责收集、排查本辖区不稳定因素,按时向上级信访部门报告情况,为镇党委、政府当好群众工作参谋。
六、负责收集本辖区群众工作各类信息并及时处理。
七、按照上级信访部门和维稳部门的要求,抓好各类业务工作,按时按要求上报各类情况。
八、负责指导、协调督促各办事处、各村(居)抓好信访维稳工作。
九、承办镇党委、政府交办的其他工作。
工作流程计生事项服务内容一、开展人口与计划生育宣传,宣传邓小平人口理论和计划生育法律法规,引导群众少生优生快富奔小康。
二、贯彻执行《中华人民共和国人口与计划生育法》、《四川省人口与计划生育条例》,根据上级下达的目标任务结合实际拟定实施意见。
三、建立健全内部工作制度,依法行政,严格管理。
四、摸底调查、编报人口、指导各村(居)实行人口与计划生育村(居)民自治。
五、组织已婚育龄妇女接受“三查”,为落实节育措施对象提供优质服务。
六、严密组织对人口与计划生育工作的阶段和年终考核,坚持“一票否决”,奖惩逗硬。
七、加强对计划生育宣传技术服务站的管理,提高技术服务水平和质量。
八、完成镇党委政府和上级主管部门交办的其他工作任务。
工作流程劳动保障事项服务内容一、贯彻执行劳动保障工作方针政策、法律法规,开展劳动保障政策法规宣传和咨询。
二、组织开展辖区城乡劳动者职业培训、就业和再就业服务工作。
三、协助开展辖区内城乡居民基本养老、基本医疗、失业、工伤、生育保险经办服务工作。
四、协助开展辖区内农民工职业培训、农村富余劳动力转移和劳务输出。
工作流程零就业家庭申报认定业务流程 办理《再就业优惠证》业务流程 职介补贴业务流程小额担保贷款申办业务流程职业培训补贴申办业务流程申报公益性岗位补贴业务流程城镇失业人员《就业失业登记证》办理《再就业优惠证》年检业务流程(一)街道、区内外组织关系接转1、业务流程图2、工作内容及要求(1)申请申请人根据申请办理的业务内容提供相应的资料。
乡镇为民服务全程代理服务内容共有十点:一、办理独生子女证、流动人口婚育证、社会抚养费征收、计生家庭奖励扶助资金发放;二、代理优抚对象抚恤定补证、伤残军人证、残疾人证、城乡低保证、农村医疗救助证、收养登记、社团登记、民办非事业单位登记、五保供养证;三、代理居民身份证发放、暂住人口登记及办证、出租房屋登记;四、代理个体工商户登记注册、企业注册登记、商标注册、合同管理以及投诉受理;五、代理规划区外建设项目选址、建设用地建设工程规划审批、农村土地变更、登记、农村宅基地审批等;六、代理税费征缴、城镇失业人员失业证、农村社会养老保险、兑付业务、提供劳务信息、职业介绍等服务;七、受理政策法律咨询、种养殖农产品销售、农业科技咨询和服务;八、接待群众来信来访、受理农民负担咨询和举报;九、其他农村基层党务工作、行政管理、公共服务等工作中、群众需要办理的事项;十、其他工作流程群众工作服务内容一、贯彻执行党的群众路线、方针、政策和上级部门对群众工作的新要求。
二、负责办理本辖区群众来信来访的接待、登记、承办、答复、协调衔接信访人反映问题有关工作。
三、承办上级交办和领导批示交办的信访案件,同时配合各办事处处理有关信访案件,调解民事纠纷,化解各类矛盾。
四、在镇党委、政府领导下负责处理本辖区越级上访、群体性及突发性事件。
五、负责收集、排查本辖区不稳定因素,按时向上级信访部门报告情况,为镇党委、政府当好群众工作参谋。
六、负责收集本辖区群众工作各类信息并及时处理。
七、按照上级信访部门和维稳部门的要求,抓好各类业务工作,按时按要求上报各类情况。
八、负责指导、协调督促各办事处、各村(居)抓好信访维稳工作。
九、承办镇党委、政府交办的其他工作。
工作流程财税事项服务内容一、咨询有关财政、会计、财务等事项,有问必答,在职权范围内的,按政策规定给予及时解释答复,不属财政所职权范围的,在3个工作日内请示领导或上级主管机关,3各工作日内给予答复。
二、各项财政资金的款项拨付,符合拨款程序和审批手续的,在银行账户有足额资金的情况下,2个工作日内保证拨发。
村委为民服务全程代理制方案为彻底解决群众办事找不准部门、办事程序复杂、往返路途奔波等“办事难”问题,在全乡广大干群中树立“心系群众、服务万家”的优良作风,进一步密切党群、干群关系,结合我乡实际,经研究,决定在苏黄村、路南村率先推行为民服务全程代理试点工作,特制定本实施方案。
一、指导思想以全区“三解三促”领导干部下基层活动为指导,以“基层___建设年”为契机,在全乡推行为民服务全程代理活动,通过服务主体(党___和村干部)公开承诺、服务事项全程代理、服务过程全程透明、服务结果定期公示、服务质量群众监督、服务等次___评议、服务之星公开表彰,搭建村级党___服务党员、村干部服务群众的平台,化解一批影响党群干群关系的问题,转变基层干部工作作风。
二、工作目标通过全程代理,确保“群众有求、我有所应,群众有难、我有所帮,群众有怨、我有所解,群众有话、我有所听,群众有问、我有所答,群众有事、我有所动,群众有批、我有所改,群众有盼、我有所思”。
对群众申办事项,只要符合条件、政策允许,由村服务代理员义务办理并及时反馈办理结果,确保群众满意。
三、服务对象及服务事项1、服务对象:苏黄、路南两村党员、群众及辖区内投资客商、外来务工人员。
2、代理事项:申领证件、政策咨询、技术指导、纠纷处理、法律援助、问题反映、家政服务、接送学生、入学入托、医保报销、新农保代理及其他服务对象需要帮助办理事宜。
四、方法步骤(一)成立机构,明确职责。
在苏黄、路南两村分别成立“全程代理服务点”,地点设在村党群服务中心综合服务大厅。
各代理点设___名代理员,由会计、大学生村官担任。
群众根据需要代办内容,联系具体人员帮助办理。
各代理员要明确职责、尽心尽力为群众做好代办工作。
(二)表态承诺,亮明身份。
代办点实行服务承诺制度,对代办事项、办理时限、所需费用、服务流程等内容公示上墙,方便群众了解和监督。
代理员统一制作工作牌,注明职务、分管工作、代办事项、___等,摆放在办公桌显要位置,向群众亮明身份。
招标代理业务流程图一、背景介绍招标代理业务是指由专业的招标代理机构为招标人提供全面的招标服务,包括招标文件的编制、发布、评标、中标结果的公示等环节。
为了保证招标过程的公平、公正、透明,招标代理业务流程需要严格执行标准化的流程。
二、流程图1. 招标需求确认阶段- 招标人与招标代理机构签订招标代理协议- 招标代理机构与招标人进行需求确认,明确招标范围、招标方式等细节2. 招标文件编制阶段- 招标代理机构收集相关资料,包括项目背景、技术要求、招标标的等- 招标代理机构编制招标文件,包括招标公告、招标文件、投标文件模板等 - 招标代理机构与招标人进行审核和修改,确保招标文件的准确性和完整性3. 招标文件发布阶段- 招标代理机构根据招标文件要求,将招标公告发布在指定媒体上,如招标网站、报纸等- 招标代理机构将招标文件发送给潜在投标人,要求其进行投标准备工作4. 投标准备阶段- 潜在投标人向招标代理机构索取招标文件,支付相应的文件费用- 潜在投标人进行招标文件的仔细研究和分析,准备投标所需的材料和文件- 潜在投标人可以向招标代理机构提出问题和咨询,以确保对招标文件的充分理解5. 投标递交阶段- 潜在投标人在规定的截止日期前将投标文件递交给招标代理机构- 招标代理机构对递交的投标文件进行登记和验收,确保文件的完整性和合规性- 招标代理机构将投标文件送交评标委员会进行评标6. 评标阶段- 评标委员会根据招标文件的要求,对投标文件进行评审和打分- 评标委员会开展评标会议,讨论和比较各个投标人的优劣势- 评标委员会根据评审结果确定中标候选人,并形成评标报告7. 中标结果公示阶段- 招标代理机构根据评标结果,将中标结果通知给中标候选人,并要求其提供相关的中标文件- 招标代理机构将中标结果公示在指定媒体上,如招标网站、报纸等- 招标代理机构与中标候选人进行合同谈判和签订合同8. 合同履行阶段- 中标候选人按照合同要求履行合同义务,提供相应的产品或服务- 招标代理机构进行合同履行的监督和跟踪,确保合同的顺利执行- 招标代理机构与招标人进行验收和结算,结束招标代理业务流程三、总结招标代理业务流程图涵盖了招标代理业务的各个环节,从招标需求确认到合同履行,确保了招标过程的公平、公正、透明。
构建“四位一体”工作格局扎实推进示范村创建活动在开展农村基层党风廉政建设示范村创建活动中,我市着力健全组织网络、强化制度约束、创新活动载体、推行服务代理,构建起了组织、制度、载体、服务“四位一体”的工作格局,有力地推动了示范村创建活动的开展,提高了村级组织的战斗力、凝聚力,促进了农村的和谐稳定和经济社会又好又快发展。
一、健全组织网络,夯实创建基础开展农村基层党风廉政建设示范村创建活动,乡镇是基础,村级是主体。
为有效解决镇村纪检监察干部力量配备不足、专职不专用的问题,确保创建活动有人管、有人干、能干好,我市重点抓了镇村纪检监察干部的配备和素质提升工作。
一是充实乡镇纪检监察力量,做到有人管事。
为了加强乡镇纪检监察力量,我市严格考察程序,把思想政治素质好、热爱纪检工作、清正廉洁、公道正派、有较强事业心和责任感的干部选配到乡镇纪检干部的岗位上来,全市20个乡镇全部配备了专、兼职纪委副书记和专职纪检干事,共新增配乡镇纪检干部43名。
莱城区各乡镇纪委副书记都由乡镇后备干部担任,并经区委直接任命,保证了纪检干部的整体素质,树立了纪检干部的权威。
同时,乡镇(街道)纪委书记原则上不再承担与纪检监察无关的工作,确保了纪检干部专职专用、主业主抓。
二是设立村级纪检员和监察员,做到有人干事。
我市在各村党支部设立了纪检员,在村委会设立了监察员。
纪检员和监察员代表党员和群众行使监督职能,直接对党员大会和村民会议、村民代表会议负责,接受乡镇纪委和村党组织的双重领导。
全市共增配专职纪检员和监察员1580名。
为使他们说话有底气,我们赋予其6项权力,即对村“两委”执行党的路线、方针、政策及村务公开、工程建设、干部履职等情况的监督权;对村级事务、财务及资金、资产、资源等的审核权;对村务活动和事关群众利益事项的知情权和参与权;对有疑义的村务活动要求解释的质询权;对村务活动中违法、违纪、违规和不合理事项的否决权;对违纪违规和不称职的村干部,向村民代表会议或上级组织提出罢免的建议权等。
为民服务全程代理制度三篇为民服务全程代理制度1一次性书面告知制度一、为加强机关效能建设,进一步规范为民服务全程代理大厅办事行为,增强责任感,提高工作办事效率,努力做到不让群众多跑一趟,根据《中华人民共和国行政许可法》及效能建设有关规定,制定本制度。
二、本制度适用于为民服务全程代理大厅全体工作人员。
三、本制度所指一次性书面告知制度,是指服务对象来为民服务全程代理大厅咨询或办理业务,工作人员应按政策法规及有关规定一次性向服务对象告知规定的办事程序、办事依据和要求的全部书面材料,一次性告知能否办理、材料是否完整、齐全;条件不符或材料不全的,应一次性告知相关的要求、条件和应提交的材料,说明暂不予受理的理由等,并出具书面的“一次性告知单”(“退件回执单”),一份给服务对象,一份留窗口备案。
四、一次性告知单(“退件回执单”)的内容应包括:承办单位、经办人员、申报时间、申报事项、规定办理程序和材料或需补充材料和手续、承诺时限和查询方式等。
五、对违反本制度的行为,按有关失职追究制规定追究当事人责任;对引起以不作为为由的行政复议案件或行政诉讼案件等不良影响或严重后果的,按效能建设有关规定追究当事人的责任。
六、本制度自发文之日起执行。
限时办结制度一、为加强机关效能建设,进一步增强为民服务全程代理大厅窗口人员服务意识,提高工作效率和服务水平,努力做到让群众满意,根据《中华人民共和国行政许可法》及效能建设有关规定,特制定本制度。
二、本制度适用属为民服务全程代理大厅受理范围的许可和相关政务服务事项。
三、本制度所指限时办结制度,是指在符合法律法规及有关规定、手续齐全的前提下,为民服务全程代理大厅窗口工作人员要严格按部门对外明确承诺的时限办结服务对象的申请。
四、为民服务全程代理大厅各窗口部门应在窗口公示各自办理事项的设定依据、条件、办事程序、申报材料、承诺时限、收费标准及收费依据等;各窗口应建立限时办结制的转接件登记簿,详细记载接件时间、转件时间、责任人等内容。
党员干部为民服务代理制实施方案本文是关于范文的党员干部为民服务代理制实施方案,感谢您的阅读!党员干部为民服务代理制实施方案根据市委组织部《关于实行党员干部为民服务代理制的实施意见》(酒组部发〔2011〕88号)文件精神,为深入推进创先争优破解难题主题活动,进一步转变基层工作职能,不断创新服务模式,拓展服务渠道,提高服务水平,广泛开展为民服务活动,现就实行党员干部为民服务代理制制定如下方案。
一、明确总体要求党员干部为民服务代理制是贯彻党的根本宗旨和落实科学发展观的具体体现,是深化农村综合改革和推动基层工作职能转变的现实需要,是密切党群干群关系和增强基层党组织亲和力的必然选择,是巩固党在基层执政基础和促进社会和谐的有效途径,是转变干部思想工作作风和加强基层党风廉政建设的务实举措。
各单位、各部门要紧紧围绕深化创先争优活动、服务人民群众这一中心任务,以“贴近群众、方便群众、关注民生、优质服务”为宗旨,按照“便民、公开、依法、无偿、高效”的原则,整合服务资源,健全服务网络,深化服务内容,对群众最关心、最直接的生产生活问题实行全程代理,密切党群干群关系,促进社会和谐,使群众切实感受到创先争优活动带来的新变化、新实惠。
二、把握基本原则1、以人为本、服务群众。
以广大人民群众的需求为导向,以人民群众满意为标准,急群众之所急,想群众之所想,让群众在实行党员干部为民服务代理制中得到方便和实惠。
2、转变职能、优化服务。
坚持前移服务平台,下沉服务重心,变群众跑腿为党员干部跑腿,变多口办理为一站式办理,变被动服务为主动服务,不断改进工作作风,提升服务水平。
3、依法行政、廉洁高效。
坚持公正、公开、公平,代理事项全过程阳光操作,自觉接受群众监督。
对群众申请办理的事项,随时受理、及时承办、限时办结,为群众提供便捷高效服务。
4、注重实效、稳步推进。
从人民群众最期盼解决的事情抓起,从最容易办到的事情做起,紧密结合实际,针对不同情况,突出特色,分步实施,不断完善,整体推进。
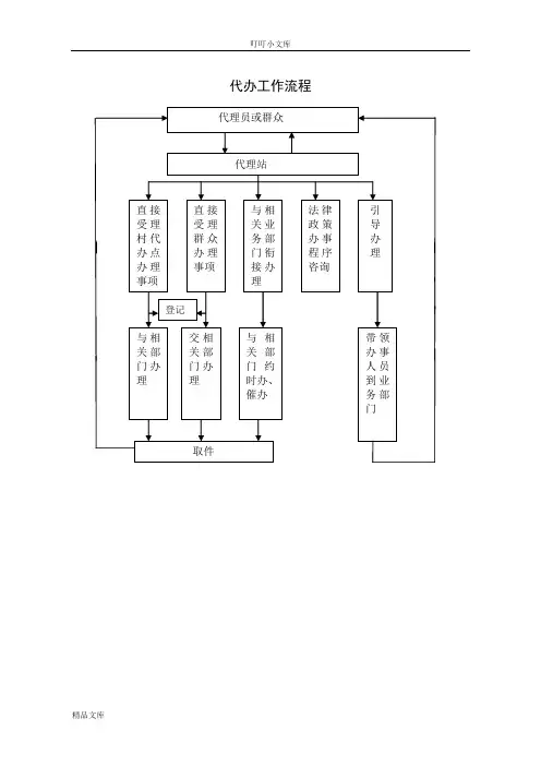
代办工作流程
群众工作服务内容
一、贯彻执行党的群众路线、方针、政策和上级部门对群众工作的新要求。
二、负责办理本辖区群众来信来访的接待、登记、承办、答复、协调衔接信访人反映问题有关工作。
三、承办上级交办和领导批示交办的信访案件,同时配合各办事处处理有关信访案件,调解民事纠纷,化解各类矛盾。
四、在镇党委、政府领导下负责处理本辖区越级上访、群体性及突发性事件。
五、负责收集、排查本辖区不稳定因素,按时向上级信访部门报告情况,为镇党委、政府当好群众工作参谋。
六、负责收集本辖区群众工作各类信息并及时处理。
七、按照上级信访部门和维稳部门的要求,抓好各类业务工作,按时按要求上报各类情况。
八、负责指导、协调督促各办事处、各村(居)抓好信访维稳工作。
九、承办镇党委、政府交办的其他工作。
工作流程
条例》,根据上级下达的目标任务结合实际拟定实施意见。
治。
五、组织已婚育龄妇女接受“三查”,为落实节育措施对象提供优质服务。
二、组织开展辖区城乡劳动者职业培训、就业和再就业服务工作。
三、协助开展辖区内城乡居民基本养老、基本医疗、失业、工伤、生育保险经办服务工作。
零就业家庭申报认定业务流程办理《再就业优惠证》业务流程职介补贴业务流程
小额担保贷款申办业务流程
职业培训补贴申办业务流程
(一)街道、区内外组织关系接转1、业务流程图
2、工作内容及要求
(1)申请
申请人根据申请办理的业务内容提供相应的资料。
窗口人员做到“二立、三声、一双手”服务。
(2)受理
党员服务窗口受理申请人办理的街道、区内外组织关系接转业务。
报送资料符合规定的予以受理,不符合规定的退回,
代收水、电、话费流程图
80岁以上老人及行动不便的居民上门服务流程图
法律咨询流程图。