生产计划变更申请单
- 格式:xls
- 大小:12.00 KB
- 文档页数:1
供电方案变更申请书模板尊敬的XXX供电公司:我是XXX公司的代表,特此向贵公司提交一份供电方案变更申请书。
我将在下文中详细说明我们的申请理由和变更内容,希望贵公司能够审慎考虑并批准我们的申请。
1. 申请理由:我们公司近期发生了一些变化,需要对供电方案进行调整。
以下是我们的申请理由:1.1 公司扩大规模,由于业务的发展,我们公司近期进行了扩大规模的工程建设,新增了一些设备和生产线,因此需要更大的供电容量来满足我们的日常生产需求。
1.2 能源效益提升,为了提高能源利用效率和减少能源消耗,我们计划对现有的供电方案进行优化。
通过调整供电方式或使用更高效的设备,我们可以实现能源的节约和环保效益的提升。
1.3 安全性改进,为了确保供电系统的安全性,我们计划对供电方案进行改进。
例如,增加备用电源或调整电路布局,以提高供电系统的可靠性和稳定性。
2. 变更内容:根据上述申请理由,我们计划进行以下供电方案的变更:2.1 供电容量增加,我们希望贵公司能够提供更大容量的电力供应,以满足我们扩大规模后的用电需求。
请考虑我们的用电负荷变化,并相应调整供电容量。
2.2 供电方式调整,我们计划调整供电方式,例如从单相电改为三相电,以提高供电的稳定性和效率。
我们希望贵公司能够支持并提供相应的设备和技术支持。
2.3 安全设施改进,我们计划增加备用电源设备,以应对突发停电等紧急情况。
我们也希望贵公司能够提供相关的指导和支持,确保安全设施的合理布局和运行。
3. 实施计划:我们计划在XX年XX月XX日开始实施供电方案的变更。
我们已经进行了详细的规划和准备工作,并将确保变更过程的顺利进行,以最小化对生产和业务的影响。
4. 相关附件:为了支持我们的申请,我们附上了以下相关附件:4.1 公司规划和扩建方案,详细说明了我们公司的扩建计划和用电负荷变化。
4.2 能源效益改进方案,详细说明了我们计划进行的能源效益改进措施和预期的效果。
4.3 安全设施改进方案,详细说明了我们计划增加的安全设施和其布局设计。
21工装模具设计变更申请单单位名称:XXX公司项目名称:XXX工装模具设计申请人:XXX申请日期:XXX一、变更原因由于XXX工装模具设计方案存在一些不足和问题,为了提高生产效率,降低生产成本,特向有关部门申请对工装模具设计进行变更。
二、变更内容1.修改工装模具尺寸:根据实际生产需要,对工装模具的尺寸进行调整,以更好地适应生产工艺。
2.优化工装模具结构:对工装模具的结构进行优化,提高其稳定性和耐用性,减少故障发生率。
3.增加功能性:在原有的基础上增加一些新的功能,提升工装模具的多功能性和适用范围。
4.调整材料选用:根据实际需求,调整工装模具的材料选用,更加耐磨、抗压,延长使用寿命。
5.提高制造精度:优化加工工艺,提高工装模具的制造精度,保证产品质量和生产效率。
三、变更影响1.生产周期:由于对工装模具设计进行了变更,可能会对生产周期造成一定延误,需做好调整和安排。
2.生产成本:优化工装模具设计可能需要增加一些成本,需在预算范围内进行谨慎考虑。
3.生产效率:通过工装模具设计的改进,预计将会提高生产效率,降低生产成本,提升产品质量。
四、变更后效果评估1.生产效率提升:预计通过工装模具设计的变更,将提高生产效率,缩短生产周期,增加产量。
2.节约生产成本:通过优化工装模具设计,降低故障率和维修成本,节约生产成本,提高企业经济效益。
五、变更流程1.提出申请:申请人向相关部门提出工装模具设计变更的申请,并提供相关资料和理由。
2.审批评估:相关部门对工装模具设计变更申请进行审核,评估变更内容的必要性和影响。
3.实施变更:经批准后,启动工装模具设计变更项目,制定详细实施计划。
4.跟踪监控:对工装模具设计变更过程进行跟踪监控,及时解决问题,保证变更效果。
5.审定验收:完成工装模具设计变更后,进行审定验收,确认效果和成果。
六、申请人意见经过认真分析和评估,我认为对工装模具设计进行变更是十分必要的,有利于提高生产效率,降低生产成本,保证产品质量。
管道变更申请书尊敬的XXX单位领导:您好!我单位承担的XXX项目管道工程,现因设计变更、施工现场条件调整等原因,需要对原有管道设计进行调整。
为确保项目顺利进行,特向您提交管道变更申请书,请您予以审批。
一、项目背景1. 项目名称:XXX项目2. 项目地点:XXX地区3. 项目内容:XXX管道工程4. 项目规模:XXX公里二、变更原因1. 设计变更:根据项目实际情况,结合地质、地形、交通、环保等因素,对原有管道设计进行优化调整。
2. 施工现场条件调整:由于施工现场条件发生变化,部分管道线路需进行调整,以满足施工要求。
3. 相关法律法规要求:根据国家及地方政策,项目需进行相应调整,以确保合规合法。
三、变更内容1. 管道线路调整:对原有管道线路进行优化,调整部分管道走向,以适应施工现场条件。
2. 管道材质及规格变更:根据设计要求,对部分管道材质及规格进行调整,以满足项目需求。
3. 施工方案调整:结合现场实际情况,对施工方案进行优化,确保施工顺利进行。
4. 安全、环保措施调整:根据相关法律法规要求,对项目安全、环保措施进行调整,确保项目合规合法。
四、变更影响及措施1. 项目进度:由于变更原因,项目进度可能受到影响。
我们将合理安排施工计划,确保项目按期完成。
2. 成本预算:管道变更可能导致成本预算发生变化。
我们将严格控制成本,确保项目投资控制在预算范围内。
3. 质量保障:我们将继续严格执行质量管理体系,确保项目质量满足设计及规范要求。
4. 安全生产:我们将进一步加强施工现场安全管理,确保项目安全生产。
五、申请事项1. 请您审批管道变更设计方案及相关施工方案。
2. 请您审批项目成本预算调整。
3. 请您审批项目进度计划调整。
六、后续工作1. 我们将根据审批结果,及时调整项目设计及施工方案。
2. 我们将合理安排施工计划,确保项目按期完成。
3. 我们将严格执行质量、安全、环保等相关规定,确保项目合规合法。
请您予以审批,并给予指导。
家具材料变更申请书尊敬的XXX公司领导:您好!我司因业务发展需要,计划对现有家具产品的材料进行变更。
特此向贵公司提交此申请,并期待得到您的批准。
一、申请背景近年来,我司致力于为客户提供高品质、环保的家具产品,深受市场好评。
但随着市场竞争的加剧,我们发现现有家具材料的性能和成本已无法满足市场需求。
为了提高产品竞争力,同时满足客户对环保、健康的需求,我们计划对家具材料进行调整。
二、材料变更方案1. 材料种类:由原木材质改为人造板材。
人造板材具有较高的强度、耐用性和稳定性,且易于加工,有利于降低生产成本。
2. 环保等级:根据我国相关标准,人造板材的环保等级分为E0、E1、E2级,我们计划选用E1级及以上环保等级的人造板材,以确保产品符合环保要求。
3. 供应商选择:我们将对市场上的人造板材供应商进行严格筛选,确保供应商具备相关资质,产品质量和售后服务有保障。
4. 产品定价:在保证产品质量的前提下,我们将合理调整产品定价,以适应市场变化。
三、变更效益1. 提高产品竞争力:新型材料具有更好的性能和成本优势,有助于提高我司产品在市场上的竞争力。
2. 满足客户需求:环保、健康的人造板材更符合现代消费者对家居环境的需求。
3. 降低生产成本:人造板材易于加工,有利于提高生产效率,降低生产成本。
四、风险评估及应对措施1. 质量风险:新型材料可能存在质量不稳定、性能不达标等问题。
我们将加强对供应商的审核,确保产品质量。
2. 环保风险:人造板材的环保性能可能不达标。
我们将严格筛选供应商,确保产品符合环保要求。
3. 市场风险:产品定价可能影响市场销量。
我们将根据市场反馈,适时调整产品定价策略。
五、实施计划1. 材料采购:与合格供应商签订采购合同,确保材料供应稳定。
2. 生产调整:对生产线进行改造,适应新型材料的加工需求。
3. 质量检测:加强对产品的质量检测,确保产品符合相关标准。
4. 市场推广:通过各种渠道,宣传新型材料的优点,提高产品知名度。
设计变更申请申请人:[您的姓名]申请日期:[日期]1. 申请背景(在这一部分简要介绍项目的背景信息,说明为什么需要进行设计变更。
)2. 变更内容(在这一部分详细列出需要进行的设计变更内容,包括但不限于以下方面:)2.1 外观设计变更(描述需要进行的外观设计变更,包括颜色、形状、材质等方面的调整。
)2.2 功能性设计变更(描述需要进行的功能性设计变更,包括增加、删除、修改功能模块等方面的调整。
)2.3 结构设计变更(描述需要进行的结构设计变更,包括部件连接方式、支撑结构等方面的调整。
)2.4 材料选择变更(描述需要进行的材料选择变更,包括选用不同材料以优化产品性能与质量。
)3. 变更原因(在这一部分详细阐述进行设计变更的原因,可以包括以下一些方面:)3.1 客户反馈(列举客户反馈的问题和建议,说明为了满足客户需求进行设计变更。
)3.2 技术优化(说明某些设计方面的技术发展或研究成果,需要进行相应的设计变更以提升产品性能。
)3.3 成本优化(说明某些设计方面的成本问题,通过设计变更可以减少生产成本并提高产品竞争力。
)4. 变更计划(在这一部分详细说明设计变更的计划和进度,包括但不限于以下方面:)4.1 设计任务(描述每项设计变更的具体任务,分别列出所需时间和负责人。
)4.2 设计阶段(将设计变更按照不同的阶段进行划分,明确每个阶段的任务和时间节点。
)4.3 设计验证(说明进行设计验证的方法和标准,确保设计变更后产品的性能和质量得到保证。
)5. 风险评估(在这一部分对进行设计变更所涉及的风险进行评估,包括但不限于以下方面:)5.1 技术风险(列举可能的技术风险,如设计效果无法达到预期、技术难题等。
)5.2 时间风险(分析可能的时间风险,如设计变更导致项目延期、影响产品发布等。
)5.3 成本风险(评估可能的成本风险,如设计变更导致生产成本增加、影响项目盈利等。
)6. 变更影响(在这一部分说明进行设计变更所带来的影响,包括但不限于以下方面:)6.1 产品性能(说明设计变更后产品性能的变化,以及对用户体验和满意度的影响。
第1篇尊敬的[部门负责人姓名]:主题:关于[项目名称/产品型号]的物料变更申请一、申请背景随着[项目名称/产品型号]的研发和生产进度,我们发现当前使用的[物料名称]在性能、成本、供应等方面存在一定的问题,为了提高产品竞争力、降低生产成本、确保生产进度,特提出以下物料变更申请。
二、变更原因1. 性能问题:[详细说明当前物料在性能方面的不足,如耐久性、稳定性、安全性等,以及新的物料如何改进这些问题。
]2. 成本问题:[详细说明当前物料在成本方面的不足,如采购价格高、加工难度大等,以及新的物料如何降低成本。
]3. 供应问题:[详细说明当前物料在供应方面的不足,如供应商不稳定、交货周期长等,以及新的物料如何改善供应状况。
]4. 其他原因:[如有其他需要说明的原因,请在此列出。
]三、变更内容1. 物料名称:[变更后的物料名称]2. 物料型号:[变更后的物料型号]3. 物料规格:[变更后的物料规格]4. 物料性能指标:[详细列出变更后的物料性能指标,并与原物料进行对比。
]5. 物料成本:[详细列出变更后的物料成本,并与原物料进行对比。
]6. 物料供应:[详细说明变更后的物料供应商、交货周期等信息。
]四、变更实施计划1. 调研阶段:[说明调研目标、调研方法、调研时间等。
]2. 评估阶段:[说明评估内容、评估方法、评估时间等。
]3. 实施阶段:[说明实施步骤、实施时间、实施人员等。
]4. 验收阶段:[说明验收标准、验收方法、验收时间等。
]五、变更预期效果1. 提高产品性能:[说明变更后的物料如何提高产品性能。
]2. 降低生产成本:[说明变更后的物料如何降低生产成本。
]3. 优化供应链:[说明变更后的物料如何优化供应链。
]4. 提高生产效率:[说明变更后的物料如何提高生产效率。
]六、变更风险评估1. 技术风险:[说明变更过程中可能遇到的技术问题,以及应对措施。
]2. 供应链风险:[说明变更过程中可能遇到的供应链问题,以及应对措施。
第1篇 一、报告概述 报告名称:劳务单位变更申请报告 报告单位:[劳务单位名称] 报告日期:[填写日期] 报告编号:[填写编号] 一、变更背景 1. 项目基本情况 [项目名称],位于[项目地点],由[建设单位名称]投资建设,[设计单位名称]设计,[施工单位名称]施工。本项目于[项目开工日期]开始施工,预计于[项目完工日期]完工。
2. 劳务单位现状 本项目自开工以来,我单位作为劳务分包单位,负责[具体劳务内容],严格按照合同约定,保质保量完成了各项工作。然而,在项目实施过程中,由于[具体原因],我单位部分劳务人员出现离职情况,导致现有劳务人员数量不足,无法满足项目施工需求。
3. 变更原因 鉴于上述原因,为确保项目施工进度和质量,经我单位研究决定,对劳务单位进行变更。
二、变更内容 1. 劳务单位变更 原劳务分包单位:[原劳务单位名称] 变更后劳务分包单位:[变更后劳务单位名称] 2. 劳务人员变更 原劳务人员:[具体人员名单及离职原因] 变更后劳务人员:[具体人员名单及资质证明] 3. 变更合同内容 (1)变更合同期限:[变更后合同期限] (2)变更合同金额:[变更后合同金额] (3)变更合同内容:[具体变更内容,如劳务内容、质量标准、工期要求等] 三、变更理由 1. 保障项目施工进度 由于原劳务人员离职,导致我单位现有劳务人员数量不足,无法满足项目施工需求。为保障项目施工进度,确保项目按期完工,有必要对劳务单位进行变更。
2. 提高施工质量 变更后的劳务分包单位具有丰富的施工经验和良好的信誉,能够确保项目施工质量。 3. 优化资源配置 通过变更劳务单位,可以优化资源配置,提高项目施工效率。 四、变更程序 1. 劳务单位变更申请 我单位向[建设单位名称]提交劳务单位变更申请,并附上相关证明材料。 2. 审批程序 [建设单位名称]对劳务单位变更申请进行审批,审批通过后,与我单位签订变更后的劳务分包合同。
项目建设内容变更申请报告一、背景和目的1.1 背景随着市场环境的变化以及客户需求的变更,我们项目的建设内容需要进行一定的调整和变更。
通过本次申请报告,我们旨在提出项目建设内容的变更,以满足新的市场需求,提高项目的效益和竞争力。
1.2 目的- 适应市场环境和客户需求的变化,提高项目的市场竞争力;- 提高项目建设的效益和经济效果;- 优化项目的资源配置,提高项目的可行性。
二、变更内容概述2.1 变更项目名称:将项目原名由“XX项目”更改为“XX项目2.0”。
2.2 变更项目目标:原项目目标为实现销售额增长10%,现变更为销售额增长20%,并在两年内突破市场份额前三。
2.3 变更项目范围:- 原项目范围:产品开发、生产与销售;- 变更后项目范围:产品开发、生产与销售,增加售后服务。
2.4 变更项目周期:原项目周期为三年,现变更为两年。
2.5 变更项目资源投入:- 资金投入:原计划投入1000万元,现变更为1500万元;- 人力资源:原计划招聘20名员工,现需增加招聘10名售后服务人员。
三、变更原因和影响分析3.1 变更原因3.1.1 市场需求变化市场对我们的产品提出了更高的要求,需要增加售后服务,以提供更全面的技术支持和解决方案。
3.1.2 竞争环境变化竞争对手推出了一款类似产品并提供了较为完善的售后服务,直接对原项目带来竞争压力。
3.1.3 经济效益考虑通过增加售后服务,可以提高产品的附加值,增加收入来源,进而提高项目的经济效益。
3.2 影响分析3.2.1 项目成本增加增加售后服务将带来额外的成本,加大了项目的经济压力。
3.2.2 资源调配变化为满足售后服务的需求,需要增加人力资源投入,并重新制定项目资源配置策略。
3.2.3 影响项目进度变更后的项目范围和目标将对项目进度带来一定的影响,需要重新制定项目计划并进行合理的风险评估。
四、变更管理方案4.1 项目组织调整增加售后服务部门,并设立相关岗位,如售后服务经理、售后技术工程师等。
安全生产培训计划申请表尊敬的领导:我单位计划在近期开展安全生产培训工作,现提出本次培训计划申请表,望领导审批。
一、培训主题:本次培训主题为“安全生产培训”。
二、培训目的:1. 提高员工对安全生产的认识和重视程度,增强安全生产意识。
2. 增强员工对安全生产操作规程的理解和掌握,降低生产事故风险。
3.加强员工对安全防护设施和安全用具的使用和维护技能。
三、培训对象:公司全体员工,重点培训生产一线人员。
四、培训内容:1. 安全生产法规法规政策宣传2. 安全生产操作规程和注意事项3. 安全防护设备的使用和维护4. 特种设备操作和安全培训5. 突发事件处理和应急预案演练五、培训时间:拟定在本月中旬开展,为期 2 天。
六、培训形式:结合理论和实践,采取课堂授课、案例分析、模拟演练等多种形式开展。
七、培训地点:公司会议室和生产车间。
国家《安全生产法》(下简称《安全法》)作为我国安全生产的基本法律,明确规定了企业将员工的安全生产知识教育作为首要任务,鼓励企业建立安全生产宣传教育制度,培训各类操作人员,提高其安全生产技能,增加其安全生产知识,提高其安全生产文化素质。
随着公司的发展,生产车间的设备和工艺技术不断更新,员工的工作环境和操作技能要求也与日俱增。
因此,加强员工安全生产教育培训,提高员工的安全生产技能和文化素质,已成为当前企业安全生产管理的重要内容。
八、培训责任人:我部门将安排专人负责培训的组织策划和实施工作,督促各部门落实培训计划。
九、培训预算:估算根据培训人员数目、培训时间、培训场地及培训材料等方面的费用,并报领导审批。
十、培训效果评估计划:完成培训后,将组织员工进行考核和评估,及时总结培训取得的成绩和存在的问题。
十一、培训计划的落实:1. 领导要高度重视本次培训计划,亲自指挥、检查和督促,确保培训计划的落实。
2. 培训部门要协调好各部门之间的工作关系,确保培训计划的顺利进行。
以上是本次安全生产培训计划的主要内容,望领导审批并指导。
□ECN ■DCN DFM-2020041302版本Rev.版本Rev.详细说明Description验证结果Testresult##备注Remark112233类别Item 完成确认Complete confirm类别Item数量Quantity完成确认Complete confirm物料库存Material inventory 0半成品Work in process 0生产线成品F/G on floor 0完成品库存F/Ginventory000数量 Quatity签名Signature结案日期Complete DateForm :No. 工程/设计变更通知单(ECN/DCN)确认Confirm审核Check 批准Approval□品质检验指导书SIP ■品质管控计划QCP■承认书 Approval specification ■标准样品 Standard samples ■2D 图档 2D Drawings ■3D 图档 3D■项目进度表 Project schdule ■产品信息清单 Part list ■来料检验指导书 IQC Procedure ■品质管控计划 QCP ■物料清单 Bom■无处理 N/A □用完切换Use Up □返修 Rework □报废 Scrap □其他 Other:■无处理 N/A □用完切换Use Up □返修 Rework □报废 Scrap □其他 Other:■无处理 N/A □用完切换Use Up □返修 Rework □报废 Scrap □其他 Other:零件名称Part name 客户Customer 项目阶段PJ. Stage 申请日期Date 审核Check批准Approval变更描述 Change description变更来源ECN origin ■设计更改 Design change □设计更正 Correct design error □生产改进 Improve producibility ■客户要求 Customer request 零件编号Part No.申请人Request by 图纸编号Drawing No.□图纸更正 Correct DWG error□图纸升级 Drawing upgrade□降低成本 Reduce cost□其它 Others变更验证Validating验证项目 Test item验证标准Test standard数量quatity变更模式 Change classification备注Remark■只变更文件 Document change onlyN/A□旧料用后换用新料 Use up current inventory and change □立即变更但不追溯 Change immediately but not track back □追溯至成品仓 Track to finished goods inventory □追溯到客户 Track to customers 变更内容Change detail更改前内容 Before change 更改后内容 After change 更改后影响 Change effect :□生产出货Production □样板Golden Sample □物料Material □治具Fixture □成本Cost □性能 Performance □制造过程 MFG Process ■资料Document更改后文件处理计划 Disposition Plan of Documents:文件类别 Document item供应商Supplier品质文件 Quality documents 工程文件 Approval documents 内部文件Internal图纸 2D/3D项目文件 Project documents 品质文件 Quality documents 物控文件 PMC documents处理内容 Disposal Documents计划完成日期Plan complete date公司内部Company物料库存 Material inventory半成品 Work in process完成品库存 F/G inventory 更改后物料处理计划 Disposition Date of Parts and Materials:物料类型Material type 供应商Supplier■无处理 N/A □用完切换Use Up □返修 Rework □报废 Scrap □其他 Other:■无处理 N/A □用完切换Use Up □返修 Rework □报废 Scrap □其他 Other:■无处理 N/A □用完切换Use Up □返修 Rework □报废 Scrap □其他 Other:■无处理 N/A □用完切换Use Up □返修 Rework □报废 Scrap □其他 Other:■无处理 N/A □用完切换Use Up □返修 Rework □报废 Scrap □其他 Other:处理方式 Disposal mode计划完成日期Plan complete dateDFM-007 Rev.A01客户Customer在途货品 Products on ship 客户货品 Parts in customer工程变更评审及结案 Comment&Close订单生产跟踪Production tracking after change N/A成品订单号 FG order成品确认 FG confirm出货日期 Delivery date结案审核Close approval■无处理 N/A □用完切换Use Up □返修 Rework □报废 Scrap □其他 Other:是Yes否NoOKNG OKNGOK NG OK NG OK NG OK NG。
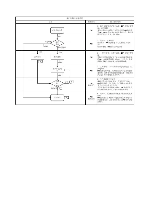
批准与签署版本控制流程图图例说明开始流程开始,结束流程结束在SAP 中操作的流程步骤.SAP 以外操作的流程SAP 内业务操作判断, SAP 以外业务操作判断流程连接SAP 内文档及报表, SAP 以外文档及报表1.流程概述1.1.流程说明本流程目的是在生产计划发生变更时,通过流程的标准化,使工厂能够弹性的处理因工艺技术、工厂生产过程中的异常和销售市场变化引起的生产变化,以维持工厂平衡有序生产和实现公司计划规范性管理。
所属流程组:销售计划、生产计划与控制1.2.适用范围触发事件:当出现销售需求变化、工艺技术(BOM或工艺路线引起)变更、生产过程出现质量异常和紧急订单时1.3.详细描述1.3.1.术语解释和概念说明计划订单:是在MPS/MRP阶段产生的计划补货建议,包括计划数量,日期以及所需组件清单等信息,根据物料采购类型的不同通常分生产建议和采购建议两种类型,其中生产建议后续可用来转化为生产订单并下达车间组织生产,采购建议后续可用来转化为采购申请交付采购部门执行后续的采购流程。
计划订单可由MPS/MRP自动生成,也可手工创建生成。
锁定计划订单:对计划订单进行标记,表示该计划订单已经过评估、调整及审批。
可用于生产订单的创建和下达。
主生产计划(MPS):是根据销售计划预先建立的一份计划,由主生产计划员负责维护,是确定每一具体的最终产品在每一具体时间段内生产数量的计划紧急订单:是指营销按非正常生产周期下达的紧急销售订单,或由于客户需求将工期提前的销售订单。
生产订单MO(生产工单):是描述一个自制的物料执行生产所需的必要的信息,是生产组织和调度的一个基本单元,包含什么时间生产多少产量,在什么地方生产,生产所需用的物料,以及生产成本如何进行归集等信息。
生产订单可用来指导生产用物料的领用或配送,生产工序派工,以及对生产过程中所发生的料、工、费进行成本收集。
1.3.2.流程相关的制度与规范1、由市场变化引起的生产计划变更规范1.1 市场变化直接影响销售计划的改变,工厂计划在确定变更方案时,必须以低成本、小影响为前提,制定出一套经济可行的执行方案。