车站信号控制系统
- 格式:ppt
- 大小:7.83 MB
- 文档页数:13
车站信号控制系统课程设计专业:轨道交通信号与控制班级:电1302-2_____姓名:王英达______学号: 20212751_____指导教师:胡晓娟______一设计概括本课程设计是我们在学完车站信号自动控制课程之后,进行的一次综合性和实践性训练的教学环节,是对课堂所学知识的巩固和提高,使我们能够综合运用车站信号自动控制专业知识和其它先修课程的知识去分析、解决实际问题,培养工程设计的基本技能,为后续课程的学习和毕业设计做准备,为今后从事科学研究、工程技术工作打下较坚实的基础。
本课程设计是在本学期学完6502电气集中课程以及前面已学信号基础设备、铁路信号运营基础课程之后进行的一次综合性和实践性的教学环节。
目的是通过实践对课堂所学知识的进行再一次的巩固和提高,使得理论与实践得以兼顾,同时使用CAD绘图软件绘制图形,提高了我们熟练使用绘图软件的能力,通过查阅手册、资料,培养设计的基本技能。
通过这次课程设计,对所学专业课做了进一步深化和进一步巩固,从而有了更系统化的认识,为后续课程的学习和毕业设计打下坚实的基础内容:参观交通学院沙盘,石家庄铁路运输学校及我校的铁道信号实训基地的情况,将每一部分的情况进行介绍,包括画出车站信号平面布置图,对信号平面布置图进行介绍,用什么系统进行的控制,该控制系统有什么特点。
并比较不同系统的异同点。
所有人自由结组,每组人数为6、7人,每人完成其中的一部分。
一、1、绘制车站信号平面布置图2、组合连接图3、联锁表4、控制台盘面图二、1、方向继电器电路2、按钮继电器电路3、6线制选岔电路三、7线、8线四、9线、10线五、11线、信号辅助继电器电路、锁闭继电器、轨道反复示继电器电路、CJ继电器电路六、计算机联锁系统制式的选择组合排列表、采集、驱动电路的设计,室外设备控制电路的设计(信号机、道岔)七、分线盘的配线、组合侧面端子的配线小组内进行交流,每个人对自己所做的部分进行讲解、讨论学习。
铁路信号控制系统设计在铁路运输中,信号控制系统是保证列车行驶安全和效率的重要组成部分。
本文将介绍铁路信号控制系统的设计和实现过程,包括信号类型、信号控制原理、信号系统组成和信号控制的自动化。
一、信号类型铁路信号主要分为两种类型:主要信号和辅助信号。
主要信号又分为机车信号、信号机和科技信号。
其中,机车信号指的是在铁路线路上设置的信号牌,用作机车司机识别行车信息的重要标志。
信号机指的是在铁路站台或者线路上设置的信号机,用于控制列车行车方向和速度。
科技信号指的是通过计算机、视频监控等技术手段获取的信号信息,用于辅助信号机和机车信号的识别和判断。
辅助信号则分为路缘信号、侧向信号和距离信号。
路缘信号是指设置在铁路线路边缘处的信号,用于识别铁路路线。
侧向信号是指设置在铁路线路左、右侧位置的信号,用于指示铁路线路方向。
距离信号是指设置在铁路线路车站或者车辆行驶距离上的信号,以提示司机与车长电气部分的状态。
二、信号控制原理铁路信号控制原理分为两个方面:信号传输原理和信号作用原理。
在信号传输方面,铁路信号控制主要依靠电信号传输。
通过送电方式,将信号传输到信号控制电缆上。
同时,信号传输也需要考虑信号方向,用于提醒行车方向和变车道信息。
在信号作用方面,铁路信号控制主要以信号灯、信标、转辙器和区间占用进行。
例如,在设置转辙器的时候,需要考虑铁路路线和行车方向;在设置区间占用信号的时候,需要考虑前方行车区域是否被占用。
这些信号传输和作用的细节需要统一规划,并保证运行效率和安全性。
三、信号系统组成铁路信号控制系统主要由信号灯、信标、转辙器、计算机和一系列设备组成。
其中,信号灯通常是在路线和站场上设置的,其作用是指示行车路线和行车状态。
信标则是铁路路线上某特定位置的信号,用于提示车辆和司机将要进入的铁路路线、车站或者车道。
转辙器则是指铁路线路上的交叉口处,用于控制铁路路线和行车速度。
计算机和其他设备则是负责对信号信息的采集、传输和控制。
车站信号自动控制系统学生姓名:学号:专业班级:指导教师:摘要随着铁路信号技术的发展和应用,铁路信号已成为提高运输效率、实现运输管理自动化和列车运行自动控制以及改善铁路员工劳动条件的重要技术手段,用来保证行车安全。
按其应用场所可分为车站信号控制系统、编组站调车控制系统、区间信号控制系统、铁路行车指挥控制系统及列车运行自动控制系统等。
而车站信号控制系统则是一个安全继电集中联锁系统,它包括:(1)进路空闲的检测技术;(2)道岔控制技术;(3)信号控制技术;(4)联锁技术;(5)故障-安全技术。
在这些电路安装之前,首先需要现场勘测调查,然后设计站场室内室外设备的布置以及电路电缆的走向、送电受电等等。
这也就是本设计所要做的,主要包括车站信号平面布置图、联锁表、双线绝缘轨道电路布置图、电缆径路图和电缆网络图、控制台盘面布置图、控制台零层端子配线图、控制台电源配线图、组合连接图及排列表、室外电缆配线图等内容。
关键词:车站信号;行车安全;信号控制;目录摘要.................................................................................................. 错误!未定义书签。
引言.................................................................................................. 错误!未定义书签。
第一章所选站场简介.......................................................................... 错误!未定义书签。
第二章车站信号平面布置图 (3)2.1车站信号平面布置图包括的内容: (3)2.2股道编号、道岔编号 (3)2.3 信号机的布置 (4)2.31列车信号机的布置 (4)2.32 调车信号机的布置 (4)2.33、信号机编号 (5)2.4钢轨绝缘位置的确定 (5)2.5、轨道区段的划分及编号 (6)2.6 坐标计算 (8)第三章联锁表.................................................................................. 错误!未定义书签。
车站信号自动控制系统第一章信号机平面布置图(一)列车信号机的设置因为该站处在复线当中,因此设中间两股道为正线,命名下行线为IG、上行线为IIG,其他两个股道下行线为3G、上行线为4G。
为提高作业能力又根据道岔方向及站场形状,IG、IIG、4G可单方向接发列车,3G可双方向接发列车。
上、下行接车进路始端设高柱五显示进站信号机S、X防护;上行发车进路分别设出站信号机SⅡ、S4、S3防护。
下行发车进路分别设出站信号机XI、X3防护,正线出站设高柱四显示出站兼调车信号机、侧线为矮柱四显示出站兼调车信号机。
(二)调车信号机的设置为了由股道向咽喉区调车,在股道端处设置出站兼调车或调车信号机,如SII、S4、S3、XI、X3以及D5、D6、D8、D10。
为了满足各股道间的转线作业,在道岔尖处设有调车信号机,如在1号道岔尖设有D1满足I、II、3、4道间转线作业的需要。
同理在2号道岔尖前设D2信号机;D3是为了I、3道间转线作业需要;D4是为了II、4道间转线作业需要。
3道中间的道岔12号道岔是电动道岔应设调车信号机对其进行防护如D12、D14、D16。
(三)轨道区段的划分1.在电气集中车站上,凡设置信号机的地方都要用钢轨绝缘把信号机前方线路划分不同的轨道区段;2.股道两侧均设钢轨绝缘,以至于股道上留有车辆时不导致锁闭咽喉道岔;3.尽头线入口处的调车信号机前方必须设一段轨道电路其长度不小于25米,以便了解线路占用状态;4.道岔区段轨道电路一般不应超过三组单动道岔或两组双动道岔;5.1/3、2/4渡线绝缘是满足道岔定位时不影响平行进路的需要。
6.电动道岔岔根绝缘均为弯股切割保证电码化需要。
(四)股道有效长度各股道有效长度的计算是根据各股道两端出站信号机(或者出站处调车信号机)距离即两信号机距站中心坐标之和,如IG有效长度是581+297=878。
第二章联锁表联锁表是说明车站信号设备之间联锁关系的图表。
它显示了进路道岔、信号以及轨道区段之间的基本联锁内容。
车站信号控制系统课程设计上行咽喉一、引言车站信号控制系统课程设计是现代交通运输领域中非常重要的课程之一。
其中,上行咽喉是车站信号控制系统中的重要组成部分,对于保障列车运行安全和提高铁路运输效率有着至关重要的作用。
本文将对车站信号控制系统课程设计中的上行咽喉进行详细介绍。
二、上行咽喉概述1. 上行咽喉定义上行咽喉是指列车从下行线进入上行线所必须经过的区段,也可以称为“出岔”。
其主要作用是将下行线与上行线进行连接,使得列车能够顺利地从下行线进入到上行线,并且确保列车在进入上行线前能够做好必要的准备工作。
2. 上行咽喉的组成部分(1)道岔:道岔是铁路交通运输中非常重要的设施之一,它可以将铁路轨道分叉成两个或多个方向。
在上行咽喉中,道岔主要用于连接下行线与上行线,并且确保列车能够平稳地通过转辙器进入到目标轨道。
(2)信号机:信号机是铁路交通运输中的重要设备,它可以指示列车行驶方向、速度和停车位置等信息。
在上行咽喉中,信号机主要用于指示列车是否可以进入上行线,并且确保列车在进入上行线前能够做好必要的准备工作。
(3)轨道电路:轨道电路是铁路交通运输中的重要设备,它可以检测轨道上的列车位置和速度等信息。
在上行咽喉中,轨道电路主要用于检测列车是否已经通过转辙器进入到目标轨道,并且确保列车能够平稳地通过转辙器进入到目标轨道。
三、上行咽喉设计方案1. 上行咽喉设计原则(1)安全性原则:安全是铁路交通运输中最基本的原则之一。
在设计上行咽喉时,必须充分考虑列车的安全性,确保列车能够平稳地通过转辙器进入到目标轨道,并且不会发生任何事故。
(2)可靠性原则:可靠性是铁路交通运输中非常重要的原则之一。
在设计上行咽喉时,必须充分考虑设备的可靠性,确保设备能够正常运行,并且不会出现任何故障。
(3)经济性原则:经济性是铁路交通运输中非常重要的原则之一。
在设计上行咽喉时,必须充分考虑成本的问题,确保设计方案既能够满足列车运行的需求,又能够控制成本。
第一章车站信号控制系统概述第一节概述一、铁路信号自有铁路以来,人们就约定以物体的外表特征,如形状、位置、颜色、灯光以及状态的显示数目等作为向乘务人员和行车有关人员传达运行条件和命令的信号。
从铁路发展初期,信号的显示意义就与行车安全联系在一起,只有当安全条件确已满足,或者说危及行车安全的风险因素不存在的条件下,才给出允许列车或车列前进的信号,反之则给出停车信号。
关于安全条件的检查,最初是靠运营管理措施来保证的,随着铁路运输的发展和科学技术的进步,保证行车安全的措施逐步从管理措施向技术措施过渡,以致发展成今天的自动控制系统。
由于保证行车安全的技术大部分是和信号相联系,所以把通过技术手段保证行车安全的系统称做铁路信号系统,或简称铁路信号。
铁路信号的主要功能是保证行车安全,但随着铁路信号技术的发展和应用,铁路信号已成为提高运输效率、实现运输管理自动化和信息化以及改善铁路员工劳动条件的重要技术手段。
铁路信号系统按其应用场所,大致可以分为车站信号控制系统、区间信号控制系统、编组站自动化系统、铁路行车指挥系统以及列车运行控制系统等等。
本教材以车站信号控制系统为讲述内容,着重讨论车站信号自动控制系统的具体功能、构成原理及实现的方法。
二、车站信号控制系统车站信号控制系统的主要功能是保证行车安全,具体而言,指通过技术手段来使车站内信号机、道岔、轨道电路等基本信号设备按照规定的要求工作,以保证列车或调车车列在站内运输作业的安全。
1.主要技术车站信号控制系统涉及的技术主要有:(1)故障-安全技术我们知道,任何技术设备不管它多么可靠,总有发生故障的可能,铁路信号系统也不例外。
对铁路信号系统来说,其主要功能是保证站内行车安全,所以必须考虑在其发生故障后,故障的后果不应危及行车安全。
例如,信号机及其控制系统发生故障时,应自动地给出限速或停车的显示;道岔的控制系统发生故障时,道岔不应错误地转换而必须锁在原来的位置上。
总的来说,故障的后果必须导致行车安全,这已经成为不可动摇的原则,在铁路信号领域里称这一原则为故障-安全原则,用于实现故障-安全的一些技术措施为故障-安全技术。
车站信号控制系统课后答案第三章1、编译程序属于______。
[单选题] *A:系统软件(正确答案)B:应用软件C:操作系统D:数据库管理软件2、计算机网络速度单位是()[单选题] *AMB/sBKB/sCB/sDbit/s(正确答案)3、A:只能进行逻辑运算B:对数据进行算术运算或逻辑运算(正确答案)C:只能进行算术运算D:做初等函数的计算下列关于磁道的说法中,正确的是______。
[单选题] *4、在WPS中,如果单元格的内容是,则在编辑栏中显示一定不对的是()。
[单选题] * A)+ ((正确答案)B)=+ (C)(5、右键单击一个单元格出现的快捷菜单,下面的哪个命令不属于其中()。
[单选题]*A. 插入B. 删除C. 删除工作表(正确答案)6、Pentium(奔腾)微机的字长是______。
[单选题] *A:8位B:16位C:32位(正确答案)D:64位7、以下对PPP 协议的说法中错误的是()易[单选题] *A. 具有差错控制能力B. 仅支持IP 协议(正确答案)C. 具有动态分配IP 地址的支持D. 支持身份验证8、在WPS表格中,下面不正确的说法是()。
[单选题] *A.输入公式首先要输入“=”号B.求大量数据的和可用SUM函数C.公式中的乘号为“*”9、C:USB具有热插拔与即插即用的功能D:在Windows XP下,使用USB接口连接的外部设备(如移动硬盘、U盘等)不需要驱动程序下列选项中,不属于显示器主要技术指标的是______。
[单选题] *A:分辨率B:重量(正确答案)10、RJ插头是铜缆布线中的(),它和插座(RJ模块)共同组成一个完整的连接器单元。
[单选题] *A中继器BCP集合点C标准连接器(正确答案)D屏蔽器11、29.通常所说的计算机的主机是指()[单选题] *A.CPU和内存(正确答案)B.CPU和硬盘C.CPU.内存和硬盘D.CPU.内存与CD-ROM12、组成计算机系统的两大部分是______。
铁路信号控制系统调试方案
背景与目的
铁路信号控制系统作为铁路安全的重要保障设备,在运营前需
要进行仔细的调试,以确保其正常运行。
本文旨在介绍铁路信号控
制系统调试方案。
调试方式
铁路信号控制系统的调试需要采取多种方式,包括硬件调试和
软件调试。
具体操作流程如下:
1. 硬件调试:包括接线调试、设备功能测试、设备工作状态检
测等步骤,主要用于检查设备是否符合要求,是否存在故障等;
2. 软件调试:包括程序调试、网络调试、数据传输测试等步骤,主要用于检查系统在各种情况下是否正常工作。
调试方案
针对铁路信号控制系统调试需求,制定如下调试方案:
1. 接线调试:按照接线图进行接线,检查各接口之间的连接是否正确;
2. 设备功能测试:逐一对每个设备进行功能测试,检查其是否正常工作;
3. 设备工作状态检测:对每个设备进行工作状态检测,检查其是否正常工作、是否存在故障的迹象;
4. 程序调试:对软件程序进行调试,主要检查程序功能是否正常;
5. 网络调试:通过网络测试程序的正常工作情况;
6. 数据传输测试:测试数据的传输是否正常。
总结
通过以上调试方案,能够有效地确保铁路信号控制系统的正常工作,提高铁路运营安全性和效率。
注:以上内容不得作为铁路调试标准,具体调试方案需要根据具体情况进行制定。
铁路信号控制与调度一、信号控制的作用随着铁路系统的不断发展,信号控制在车站、车辆及铁路线路等方面都起着至关重要的作用。
信号控制能够确保列车在行驶过程中保持安全的距离,减少潜在事故的风险。
此外,信号控制还能确保车站的运行秩序,有效地减少列车的延误及数量控制等问题。
二、信号控制的组成信号控制系统主要由信号灯、信号柱、信号机门及信号表等部分组成。
这些部分相互配合,构成铁路列车行驶过程中的信息交流中心,确保列车按规定线路行驶。
1.信号灯:信号灯是信号控制系统中的核心部分,是列车行驶过程中的重要表示器。
根据灯的颜色来识别列车是否安全地到达站点。
2.信号柱:信号柱主要用于放置信号机、连接接近信号器及情况信号机门的处置装置。
3.信号机门:信号机门是列车行驶过程中经常需要使用的设备,它是列车运行的灵魂。
操作人员能够通过信号机门及其处置装置来确定列车的运行方向和速度。
4.信号表:信号表主要用于完成列车与信号控制中心之间的通讯,确保列车的安全行驶。
信号表中要附带有列车的属性信息,以便信号控制中心能够及时处理相关的控制命令。
三、信号控制的原理信号控制的核心原理是系统保护。
系统保护是信号控制的基本原则,能够减少因列车行驶方向偏差及车速过高所导致的事故。
1.列车方向的判别:信号控制系统根据信号灯的颜色来决定列车行驶的方向。
当信号灯为红色时,列车必须停车等待绿灯。
当信号灯为黄色时,列车应该减速慢行等待。
当信号灯为绿色时,列车才能行驶。
2.车速控制:信号控制系统还可以根据列车与信号控制中心之间的通讯信息来控制列车的运行速度。
3.列车数量的控制:信号控制系统可以通过各种信号灯为列车分配运行时间,以控制列车的数量。
四、调度系统的作用调度系统是一个管理铁路运输流程的综合信息系统。
它可以协调客流、货运和普通列车的开行,并为铁路公司的运营活动提供各种服务。
调度系统的主要功能包括:1.列车的分配:调度系统可以根据铁路公司的区域、时间以及类型等要求来分配列车。
车站信号控制系统图文车站信号控制系统是一种用于管理和控制铁路车站的系统,通过信号灯和交通道口等设备,确保列车行进安全和有序。
本文将介绍车站信号控制系统的工作原理、组成部分以及应用。
工作原理车站信号控制系统的工作原理如下:1.信号灯:车站信号控制系统通过信号灯来指示列车的运行状态。
信号灯的颜色分为红、黄和绿,分别表示停车、警告和通过。
2.轨道电路:车站信号控制系统通过轨道电路来检测列车的位置和速度。
当列车经过轨道电路时,会产生电流信号,系统通过监测这些信号来判断列车的位置和速度。
3.交换机:车站信号控制系统通过交换机来控制信号灯的状态。
根据列车的位置和速度,系统会自动切换信号灯的颜色,确保列车安全通行。
组成部分车站信号控制系统主要由以下组成部分组成:1.信号灯控制器:负责控制信号灯的开关状态,根据列车的位置和速度来切换信号灯的颜色。
2.轨道电路监测设备:用于检测列车的位置和速度,通过监测轨道电路上的电流信号来实现。
3.交换机:用于控制信号灯和轨道电路监测设备的通信,并根据实时的列车信息来判断信号灯的状态。
4.控制中心:车站信号控制系统的核心部分,负责接收和处理来自交换机的信号,并根据列车的位置和速度来判断信号灯的状态。
应用场景车站信号控制系统广泛应用于铁路车站和地铁站等公共交通场所。
它能够确保列车在车站中的行进安全和有序,有效防止事故的发生。
下面是车站信号控制系统在不同场景中的应用:1.站内信号控制:车站信号控制系统通过信号灯和交换机等设备,确保列车在车站内的行进安全和有序。
2.列车交叉:在车站发生列车交叉的情况下,车站信号控制系统会通过交换机来调度不同列车的通过顺序,保证安全通行。
3.路口控制:车站信号控制系统还可以与道路交通系统集成,实现对道路上的交通信号灯进行控制,确保列车和道路交通的协调。
车站信号控制系统是一种用于管理和控制铁路车站的系统,通过信号灯和交通道口等设备,确保列车行进安全和有序。
车站信号自动控制第一章车站信号控制系统概述1、铁路信号的主要功能1)保证行车安全;2)提高运输效率,实现运输管理自动化和列车运行自动化;3)改善铁路员工的劳动条件。
2、目前我国铁路上常用的联锁设备。
•6502电气集中联锁设备。
主要通过继电器电路实现联锁控制功能。
•计算机联锁系统。
主要通过计算机设备(和软件)实现联锁控制功能。
3、举例站场信号机的布置,如何区别咽喉区的并置、单置、差置调车信号机并置调车信号机:同一坐标处,设置两架背向调车信号机,如D7、D9和D10、D12单置调车信号机:同一坐标处,布置一架调车信号机,如D11、D13、 D8、D16差置调车信号机:两架信号机的坐标不同,是差开布置的,如D5、D15和D4、D144、进路、基本进路、变通进路、敌对进路的概念1、进路:在车站范围内,列车或车列(调车车列)由某一指定地点行至另一指定地点所经过的路径。
2. 基本进路影响其他作业较少;3.变通进路影响其他作业较多的进路(也称迂回进路)只有基本进路排不通时,才使用它。
4.相互敌对、从安全角度不能同时建立的进路。
5、课后习题第二章设备简介1、6502电气集中系统构成,室内、室外设备的构成及作用。
室内设备●控制台用于控制和监督道岔、进路和信号机。
设有控制台的信号楼或行车室就是车站的控制中心。
●区段人工解锁按钮盘是辅助设备,主要在更换继电器或停电后,用它使设备恢复正常状态;另外,在道岔区段因故障不能解锁时,用它办理区段故障人工解锁。
作用:当解锁电路故障,不能按进路方式解锁时,用它实现个别区段的故障解锁;用取消进路或人工解锁方式不能关闭信号时,用它关闭信号●继电器组合及组合架:是实现联锁的设备,也是实行控制和监督用的继电器放置的地方。
●电源屏:能不间断地供给整个电气集中用的各种交流电源和直流电源。
●分线盘:是室内外电缆连接的地方。
2、控制台进路按钮配置原则1)控制台站场模拟盘上,凡是有信号复示器的地方都设进路(信号)按钮;2)为了减少按钮的数量,进路始端按钮可兼作同性质的进路终端按钮。
车站信号自动控制系统维护指导老师:傅宗纯姓名:班级:信号151学号:6502电气集中设备实验报告实验目的:1.了解6502电气集中的组成部分2.掌握控制台各种按钮的用途、各种操作的方法。
3.能够正确的办理进路和取消进路。
一、6502电气集中设备概述6502电气集中联锁是用电气集中控制和监督,用继电器实现道岔、进路和信号机之间的联锁关系。
电气集中车站的信号设备分室外和室内两部分,电气集中联锁车站和计算机联锁车站室外设备相同,主要有色灯信号机、电动转辙机、轨道电路和电缆电路。
对于6502电气集中信号楼内的设备主要有控制台、区段人工解锁按钮盘、继电器组合及组合架、电源屏和分线盘。
控制台用于控制和监督道岔、进路和信号机,设有控制台和信号楼或行车室就是车站的控制中心。
区段人工解锁按钮盘是辅助设备,主要在更换继电器或停电后,用它使设备恢复正常状态。
继电器组合及组合架的实现联锁控制的核心设备,它安放着控制和监督用的各种继电器。
电源屏能不间断的供给电气集中用的各种交直流电源。
分线盘是室内外电缆连接的地方。
通过这些设备完成联锁控制功能和显示及报警功能。
二、6502电气集中系统设备组成室内设备:控制台、区段人工解锁按钮盘、继电器组合及组合架、电源屏、分线盘。
室外设备:信号机、电动转辙机、轨道电路、电缆线路及各种箱盒。
1、区段人工解锁按钮是辅助设备,主要在更换继电器或者停电后,用它使设备恢复正常状态。
另外,在道岔区段因故障不能解锁时,用它来办理区段故障人工解;若设备发生故障时,用它实现对信号的强制关闭。
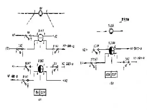
2、继电器组合及组合架把控制对象相同的继电器按照定型电路环节组合在一起,叫继电器组合,它是6502电气集中系统实现联锁功能的设备。
组合架用来放置继电器组合。
图 1 继电器组合及组合架3、电源屏不间断的供给电气集中用的各种交直流电源。
4、分线盘室内外电缆连接的地方,有助于辅助查找信号设备故障的范围。
黄色的胶木板上有许多的白色的瓷端子。