消防灭火流程图
- 格式:doc
- 大小:32.37 KB
- 文档页数:1
学校体育馆火灾应急预案流程图目标:确保学校体育馆内发生火灾时,能够及时并有效地组织疏散人员、控制火势,并保障人员的生命财产安全。
流程:1.发现火灾:如果发现体育馆内有疏散信号或火源,立即触发火灾应急预案。
2.报警:迅速拨打火警电话 [请填写相关国内火警电话]。
向消防部门报告火灾情况,包括地点、火势等。
同时,将火灾情况告知学校相关负责人。
3.疏散人员:立即触发疏散警报,通过大喇叭等方式通知在场人员有火灾发生,并指示他们按疏散路线有序撤离。
4.火灾扑救:如果火势较小,可使用灭火器进行初期扑救。
如果火势过大,不得私自使用水源进行灭火,应等待消防人员到达现场。
5.集结点:指定安全集结点,确保疏散出体育馆的人员能够有序聚集在指定地点。
集结点应远离火灾现场并保证安全。
6.指挥与协调:学校相关负责人应在火灾发生后迅速到达现场,指挥和协调疏散、扑救等工作。
同时,与消防部门保持紧密联系,协助他们迅速到达现场。
7.消防人员到场:一旦消防人员到达现场,应全程协助消防人员进行扑救工作,提供必要的协助和信息。
8.停电与封门:如条件允许,考虑停电以防止火势扩大。
同时,封闭体育馆的入口和出口,避免人员进入危险区域。
9.人员登记与确认:在集结点对疏散出体育馆的人员进行登记和确认,核对人数与实际情况。
10.事后处理:灭火后,对体育馆进行全面检查,确保没有复燃的火源。
进行火灾事故调查,分析原因,并采取相应措施避免类似事故再次发生。
注意事项:学校体育馆内的员工和学生应该定期进行火灾应急演练,熟知疏散路线和应急措施。
特别是体育馆工作人员,应熟悉体育馆内防灭火设备的使用方法,并定期检查设备的工作状态。
此应急预案流程图仅供参考,具体应根据实际情况进行调整。
工厂发生火灾的应急预案流程图
1. 火灾预防措施
- 定期进行火灾隐患排查,确保消防设备完好无损
- 建立完善的消防安全管理制度,组织员工进行消防安全培训
- 安装灭火器等消防设备,并进行定期检测和维护
2. 火灾应急组织
- 建立完善的火灾应急领导小组,制定应急预案,并定期组织演练
- 安排专人负责消防安全,监督各项火灾预防措施的执行情况
- 设定火灾应急值班制度,24小时随时应对紧急情况
3. 火灾预警
- 在发现火灾隐患或疑似火灾情况时,及时报告相关部门,并采取紧急措施进行处理
- 定期进行火灾风险评估,及时发现和排除潜在的火灾隐患
4. 火灾应急响应
- 当发生火灾时,立即启动应急预案,通知应急领导小组成员,并迅速组织应急人员进行应急处置
- 按照消防预案,迅速疏散人员,并指定人员负责通知消防部门和其他相关救援单位
- 在进行疏散的同时,尽可能采取措施控制火灾扩散,保护重要设施和设备
5. 火灾事故调查和评估
- 在火灾处置结束后,及时对火灾事故进行调查和评估,找出火灾的原因和漏洞,并及时进行整改
- 制定整改措施,严格执行,确保火灾事故不再发生
6. 火灾后的恢复工作
- 火灾后,对工厂进行全面的检查和评估,确保安全隐患排除干净
- 组织对受灾设施和设备进行修复和恢复工作,及时恢复生产
7. 消防演练
- 定期组织消防演练,提高员工的火灾逃生技能和应急处理能力
- 加强与消防部门的沟通和合作,制定联合应对突发火灾的方案
以上是工厂火灾应急预案的流程图,通过严格的预防措施、完善的应急组织和周密的应急措施,可以最大程度地减少火灾事故的发生,并保障人员的生命财产安全。
一、突发《火警、火灾应急预案流程图》
灭火器灭火,确认火区附近电源关闭后用消防水龙头灭火。
维护现场秩序,劝告无关人员远离现场。
引导地下层内车辆离开。
疏通救火车通道。
关闭火灾附近电源,确保应急指示灯有效。
确认电梯内无人后,将电梯落入安全区域,并关闭电源。
保障泵房供电,手动开启消防,喷淋泵。
疏散人群,抢救财物。
维护秩序,防止坏人趁火抢劫。
协助救火,事后清扫现场。
接听电话,保持联络。
善后处理,记录备案。
二、突发《停电、停水应急处置流程图》
三、突发《水浸事件应急处置流程图》
四、《电梯困人事件应急处置流程图》
五、突发《治安案件应急处置流程图》(1)
七、物业小区《突发公共卫生事件应急处置流程图》。
附1::发现手术间电器冒烟,蹿出火苗 巡回护士至配电室关闭相应电源,断开吊塔气源 巡回护士至最近的消防栓取灭火器,同时大声通知中控护士(吧台8860)发生火情,要求协助 巡回护士、进修人员及学生使用灭火器灭火 火势失控 火势扑灭 中控护士拨119,广播通知各手术室疏散 科主任、护士长指挥进一步灭火,协调人员有序撤离 中控护士广播通知各手术区域人员及科主任护士长发生火情,致电保卫科通报火情,通知各手术间注意,做好撤离准备 洗手护士示意外科医生手术暂停、纱布覆盖创面 麻醉医生保护手术台上患者安全火势扑灭火势失控 火势扑灭 火势失控 巡回护士关闭房间总电源,大声通知中控护士火势失控,与其他医护一起协助患者逃生 巡回护士协助麻醉医生、外科医生将患者转运至其他手术室完成手术 火灾应急预案洗手护士用纱布覆盖创面,协助外科医生将患者转移至手术床撤离 洗手护士协助麻醉医生以及外科医生将患者转运至其他手术室完成手术麻醉医生使用简易呼吸器或皮囊与其他医护一起帮助患者撤离,携带可能需要用到的药品麻醉医生与外科医生将患者转运至其他手术间完成手术附2:停电应急预案单手术间停电大面积停电巡回护士确认手术间停电,关闭各仪器电源,打开后门配电箱推上控制开关,重新开启各仪器开关,重新调节参数医生立即暂停手术上、下级麻醉师密切观察患者病情,以便随时处理紧急情况洗手护士严格无菌操作,做好物品清点工作巡回护士确认大面积停电后告知麻醉师与手术医生,手术室自启动UPS,可供电2小时;关闭多余电源,开阅片灯;手术超过2小时,取25米长插线板引用其他手术间电源中控护士致电电工班咨询停电原因以及来电时间;广播通知各个手术间,询问电梯里有无人员被困,安慰患者家属做好解释麻醉师密切观察患者病情变化,做好紧急情况处理洗手护士严格无菌操作,做好物品清点工作附3:停水应急预案择期停水突然停水护士长:1.通知护工做好生活储水2.关闭手术室总水阀3.通知供应室4.通知急诊班中控护士:1.广播通知各个手术间2.协助医生用0.9%生理盐水刷手中控护士:1.广播通知各个手术间2.询问管道班停水原因及来水时间护士长:1.通知供应室,上报医务部2.关闭手术室总水阀3.通知急诊班附4:停氧应急预案手术间控制面板低氧压指示灯亮起并报警,随后麻醉机报警下级麻醉医师检查麻醉机管路连接情况,检查麻醉机氧压表,确认发生低氧压巡回护士通知中控台氧压低上级麻醉医师检查严密观察患者生命体征,必要时给与呼吸支持中控护士致电氧气站询问低氧压原因及回复供氧时间短时间无法恢复2分钟内恢复护士长进一步协调相关部门,确保氧气瓶供应充足中控护士广播通知各手术间供氧中断,并已启动供氧应急预案。
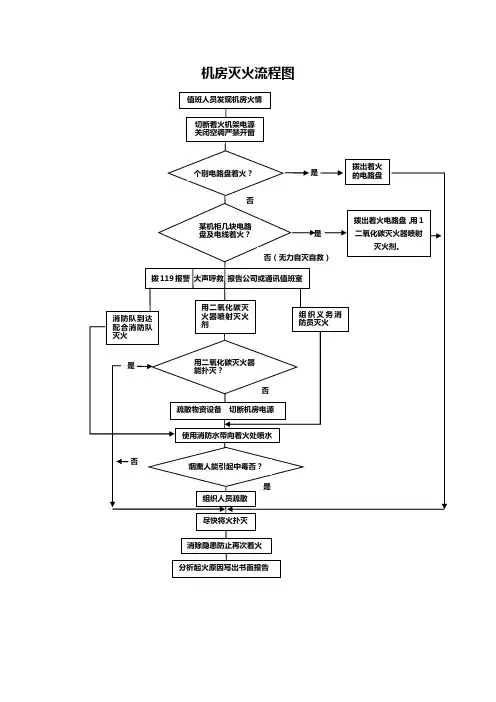
机房灭火流程图机房灭火的应急措施1、通讯机房发生火灾时,关键在于“灭早、灭小、灭了”,不要惊慌失措,火场无论大小都应在统一指挥下进行扑救,要及时关闭空调,切断着火机架电源,积极组织扑救,在消防器材没有准备好之前不要过早地打开失火机房的门窗,防止火势迅速蔓延。
2、在火灾初起阶段,一定要争分夺秒、集中全力、立足自防自救,力争将火尽快扑灭,化险为夷。
若是机架上个别电路盘刚刚失火,可以当机立断将失火的电路盘拔出,将火扑灭。
若是几块电路盘及电线都已着火,要抓紧时间,一方面有人拨出着火的电路盘,同时有人用二氧化碳灭火器对准机架着火处喷洒灭火剂,争取将火压住并彻底扑灭。
片刻延误往往造成巨灾。
在这种情况下,能用灭火器将火扑灭的,可暂不用消防水带喷射机架,但在有人的情况下,可以安排人做好水带铺设射水的准备。
3、如果火势已到发展阶段用二氧化碳灭火器不能将火扑灭时,为了保住全局,可切断失火机房交直电源,尽快使用消防水带向失火处喷水。
但在未切断电源之前,不可轻易地向机架上射水。
4、在无力自灭自救时,一方面应积极组织扑救,疏散物资设备保通讯,另一方面迅速向公安局消防队拨“119”报警,报警人要沉着、准确,讲清起火单位,所在地址,街道,起火部位,烧的什么东西,火势大小。
报警人姓名及使用电话的号码。
报警越早,损失越小。
5、消防队赶到后,要尽快向消防队介绍火场情况,并配合其进行灭火工作。
6、机房发生起火时,一部分人投入救火,其他人还可坚守岗位确保通讯,但烟气一旦比较大时,为了防止烟气中毒,要有人尽快组织人员有条不紊地进行疏散。
疏散要沉着冷静守秩序,这样才能在火场中安全撤出,若争先恐后,互相拥挤,阻塞通道,会导致自相践踏,造成不应有的损失。
7、在烟气较大的情况下或撤离火场时,最好用湿毛巾、湿衣服、布类等掩住口鼻。
8、在救火中,人身上着了火,万万不能跑,如果衣服能撕裂脱下时,应尽可能地脱下浸入水中或踩灭,如果来不及脱,可以就地打滚,把火窒息,三人以上时,未着火的人要镇定沉着地随手拿麻袋、衣物等朝着火人身上覆盖、扑打、浇水或帮他脱下衣服,但应注意不宜用灭火机直接往人身上喷射。
火警、火灾应急预案流程图
灭火器灭火,确认火区附近电源关闭后用消防水龙头灭火。
维护现场秩序,劝告无关人员远离现场。
引导地下层内车辆离开。
疏通救火车通道。
关闭火灾附近电源,确保应急指示灯有效。
确认电梯内无人后,将电梯落入安全区域,并关闭电源。
保障泵房供电,手动开启消防,喷淋泵。
疏散人群,抢救财物。
维护秩序,防止坏人趁火抢劫。
协助救火,事后清扫现场。
接听电话,保持联络。
善后处理,记录备案。
感谢阅读本文档,希望本文档能对您有所帮助!
停电、停水应急预案流程图
感谢阅读本文档,希望本文档能对您有所帮助!
水浸应急预案流程图
感谢阅读本文档,希望本文档能对您有所帮助!
电梯困人应急预案流程图
感谢阅读本文档,希望本文档能对您有所帮助!
感谢阅读本文档,希望本文档能对您有所帮助!
治安应急预案流程图(1)
注:A、B、C级情况对照标准公司ISO9001:2000体系中SDHQ/D.DWWY001文件感谢阅读本文档,希望本文档能对您有所帮助!。
消防火灾应急预案及流程图一、前言为了加强消防安全管理,提高火灾应急处理能力,确保人员生命安全和财产安全,根据《中华人民共和国消防法》及有关法律法规,结合本单位的实际情况,特制定本消防安全应急预案。
本预案旨在明确火灾发生时的组织机构、职责分工、应急响应程序和措施,以及应急处置预案实施终止后的生产恢复工作,为火灾应急救援提供科学、有序、高效的指导。
二、组织机构及工作职责(1)灭火行动组1. 组长:由单位消防安全责任人担任。
2. 成员:由具备消防知识和技能的人员组成。
3. 工作职责:a) 负责组织初期火灾的扑救工作;b) 制定灭火作战计划,明确灭火器材、设施的使用方法和操作步骤;c) 指挥、协调灭火行动,确保灭火工作的顺利进行;d) 及时向指挥部报告火灾扑救情况。
(2)通信联络组1. 组长:由单位消防安全管理人员担任。
2. 成员:由具备通信设备操作技能的人员组成。
3. 工作职责:a) 负责火灾现场的通信联络工作,确保信息畅通;b) 建立与消防部门、上级主管部门、相关单位的通信联系;c) 收集、整理火灾现场信息,及时向上级报告;d) 协助指挥部发布指令,传达相关信息。
(3)疏散引导组1. 组长:由单位疏散引导责任人担任。
2. 成员:由具备疏散引导知识和技能的人员组成。
3. 工作职责:a) 制定疏散引导计划,明确疏散路线、安全出口等;b) 组织、指挥火灾现场的疏散工作,确保人员迅速、有序地撤离;c) 检查、维护疏散通道、安全出口,确保畅通;d) 对受伤、被困人员进行救助。
(4)安全抢救组1. 组长:由单位安全抢救责任人担任。
2. 成员:由具备安全抢救知识和技能的人员组成。
3. 工作职责:a) 负责火灾现场的安全抢救工作,确保人员生命安全;b) 对受伤、被困人员进行紧急救治和救援;c) 负责火灾现场的危险源排查和控制;d) 配合消防部门进行火灾原因调查。
(5)现场警戒组1. 组长:由单位现场警戒责任人担任。
消防控制室火灾事故紧急处理程序流程图消防控制室火灾事故紧急处理程序流程图:1.接到火警通知:值班人员应立即拨打119报警电话,并启动来火应急预案,并组织人员安全疏散。
2.监视火灾情况:值班人员应监视火灾情况,确定是否为火警。
3.确认火警:如果确认为火警,值班人员应通知控制室并立即赴现场。
4.到达现场:值班人员应携带灭火器等设备前往现场,进行灭火救援工作。
5.误报警处理:如果确认为误报警,值班人员应通知控制室,并记录误报的时间、部位、原因。
6.恢复系统正常工作状态:值班人员应通知控制室,恢复系统正常工作状态。
消防控制室值班人员职责:1.遵守控制室的各项规章制度。
2.熟悉和掌握本系统的工作原理和操作规程,熟悉各种按键的功能,能够熟练操作。
3.记录控制器日运行情况,每日检查火灾报警控制器的自检、消音、复位功能以及主备电源切换功能,消防联动控制器的运行状况,并认真填写《消防控制室值班纪录》。
4.及时发现和处理设备故障,并填写《建筑消防设施处理记录》。
5.掌握和了解消防设施的运行、误报警、故障等有关情况。
6.熟练掌握《消防控制室火灾事故紧急处处理程序》,火灾情况下能够按照程序开展灭火救援工作。
消防控制室管理制度:1.消防控制室工作人员应严格遵守控制室的各项安全操作规定和各项消防安全管理制度。
2.消防控制室应当实行每日24小时专人值班制度,确保及时发现并准确处置火灾和故障报警。
3.消防控制室工作人员每班不得少于2人。
4.消防控制室自动消防系统的值班操作人员,应取得岗位操作证,持证上岗,并存放在消防控制室备查。
5.消防控制室人员应按时上岗,并做好交接工作。
6.坚守岗位,尽职尽责,不得脱岗、替岗、睡岗,严禁值班前饮酒或在值班时进行娱乐活动。
7.应在消防控制室入口处设置明显的标志,并配备相应的通讯联络工具。
8.消防控制室工作人员要爱护消防控制室的设备,保持控制室内的卫生。
9.严禁无关人员进入消防控制室,随意触动设备。
消防应急预案灭火流程图
通过通讯设备上报控制 中心解除警报并复位
误报
烟感报警 手动报警 现场报警
发现火情任何人有权利和义务立即报告并参
消防中控室
中控室值班人员用最短的时间赶到现场确认是否火警
初起火灾
消防控制中心秩序维护部义务消防工程、保洁班
通知各职能部门到位,并掌握现上报各级领导赶赴现场并提供相关用现有设备消火栓灭火器组织人员组织疏散人员救助伤员、维持秩序维修组责任明确后、负责供水供电保洁组负责清理废弃物品和环境卫
火势有扩大趋势情况下
消防控制中心 义务消防队、维修组 灭火总指挥、秩序维护部主管
迅速上报情况、并经领导同意拨打119报警告知:地点、燃烧物、火势大小、建筑物情况
启动消防泵并开启消防广播、引导人员疏散
根据总指挥指示做好抢险救灾工作在专业消防队到来之后负责现场安全、保护现场
维修组保障灭火水源、器材到位,在具体情况下做好停电断气工作
根据火情做出相应对策指挥抢险救灾 原则:先救人后救火、先隔离火源后灭火
协调人员维护现场秩序、做好后勤保卫工作、救助伤员向附近单位求助
保护好现场,待勘查火场后方可进行清理工作
主要职责部门和负责人电话 火警:110 医疗急救:120 总指挥:
秩序维护部主管:
工程主管: 客服主管:。