建筑工程安全保证体系框图
- 格式:doc
- 大小:31.00 KB
- 文档页数:1
图18.2-1 安全保证体系框图
组织保证体系
安
全
领
导
小
组
党政工团齐抓共管
各级领导层层负责,包保落实
建立全员确保安全的总体格局
安全检查机构人员配备齐全
施工技术部门搞好安全方案
各职能部门按分工做好安全工作
开展事故预想、预防活动
抓好安全宣传教育工作
坚持持证上岗,加强职工岗位培训基
础
工
作
防
范
重
点
监
督
检
查
加大安全技术设备、设施的投入
严格执行民工管理规定
防止行车事故
防止高空坠落、重物打击事故
防止机具设备伤害事故
防止电击伤害事故
防止火灾事故
开工前检查
施工中检查
施工后总结
安全方针:安全第一,预防为主
安全目标:无重伤以上事故,因工年受伤率控制在0.5‰以下
安全领导小组:项目经理、项目副经理、项目总工程师、各业务员部门负责人、施工作业队长、安全质量检查人员及施工技术人员。
工
作
保
证
体
系
组织保证体系工作保证体系制度保证体系
作业队自检。
工期保证体系框图工期目标是工程建设的一个主要指标,为保证全线及早建成通车,发挥社会效益,项目经理部将采取一切措施确保这一目标的实现。
(1)组织保障:做到领导班子到位、管理人员到位、管理制度到位、现场服务到位、奖惩措施到位。
(2)技术保障:配备足够的技术人员,组成技术攻关组,在每个工序开工前编制详细的施工方案和操作细则,专门研究和解决施工中出现的技术问题。
运用网络技术优化施工设计,积极推广应用新技术、新材料、新工艺,提高劳动生产率。
(3)计划保障:编制切实可行的施工进度计划,并在施工管理的全过程中严格遵照执行,抓好关键项目和关键工序施工进度,根据施工实际进展,及时调整施工计划,确保各项工作始终控制在按计划、有秩序的轨道上。
(4)人员、设备保障:投入充足的人员、施工机械设备、车辆,所有设备车辆按一般负荷所需数量的 110%配备,保证在使用高峰时不会因为某分设备损坏而造成停工。
(5)施工调度保障:合理调配劳动力,根据各工序的需要随时抽调设备与人员,做到停人不停机,提高机械利用率。
(6)资金保障:加强资金调度,保障工程的周转资金,确保工程材料有一定的储备量,供需时使用。
(7)后勤保障:抓好职工生活、医疗、卫生、防病工作,保证职工有充分的精力和体力。
生产、生活物资供应及时,解决职工的后顾之忧。
(8)协调保障:尊重和服从业主、监理工程师的监督、指导,将各项工作做好,同时加强和当地村民和乡村级政府的联系,尽可能避免因为地方矛盾出现的停工。
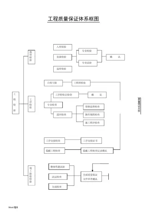
第四章、工程质量管理体及保证措施一、质量管理体系见下页图:1、质检体系:项目部设有质检部,配备有专职质职员,各施工队和作业班设兼职质检员。
项目部实行分级管理制度,质检工程师配备与其职责相匹配的质检仪器、设备、工具和书籍,为其提供充分的装备。
2、试验体系:项目部设中心试验室,为试验室配备与其相适应的仪器、设备保证工程试验资料的真实准确性,以充分反映结构实体内部质量状况。
3、检测体系:项目部设工程部测量队,配备全站仪、水准仪等,以满足本工程所需,测量组负责本合同段控制测量和施工放样工作。
施工组织机构框图安全目标和安全保证体系及措施本工程项目施工将严格遵守《中华人民共和国安全生产法》、《建设工程安全生产管理条例》、《公路工程施工安全技术规程》等工程建设安全生产有关规定以及《江罗高速安全管理办法》,规范管理,强基达标,创建安全标准化工地。
1.安全目标坚持“安全第一,预防为主”的方针,以“安全为了生产、生产必须安全”为指导,落实“管生产必须管安全、项目经理是安全第一负责人”的原则,严格按照安全技术操作规程和安全规则组织施工。
做好安全生产,创造良好的施工生产环境。
针对各分部分项工程分别制定详细安全措施。
安全管理各项指标确保达到上级“安全标准工地”标准。
安全目标如下:重伤率控制在0.5‰以内,轻伤率控制在5‰以内;杜绝责任职工死亡事故;杜绝重大火灾、爆炸事故、机械设备、中毒事故;2.安全施工原则2.1.安全施工原则坚持“安全第一,预防为主,综合治理”的方针,坚持“以人为本”和“管生产必须管安全”、“只要有人在的地方就有人管安全”的理念,加强安全生产宣传教育,建立健全各项安全生产管理制度,配备专职及兼职安全检查人员,有组织、有计划地开展安全生产活动。
遵章守法,提高职工的安全素质,改善职工的工作条件,给家庭、社会创造更多的安宁、和谐。
2.2.施工安全管理重点临建及施工期间,各种机械设备多,设备的安全使用是安全工作的重点,施工用电是安全管理的另一项重点内容。
安全管理工作要紧紧围绕上述内容狠抓落实,同时不能放松和忽视其它事故易发点的监控,确保安全目标的实现。
3.安全保证体系及组织机构3.1.安全保证体系按照GB/T28000-2001职业健康安全管理体系标准的要求建立本项目安全生产保证体系。
贯彻落实国家,交通部及地方相关安全生产和劳动保护法律、法规,接受安全监督部门及业主的监督检查。
逐级签订安全目标管理责任书,使各级人员明确自己的岗位安全职责,达到全员参加,全面管理的目的。
落实安全生产责任制和“一岗双责”制,从项目经理到生产工人的安全管理系统,必须做到纵向到底,一环不漏;各职能部门和人员的安全生产责任制横向到边,人人有责。
工程质量保证体系框图
质
量
保
证
文
件
安全生产保证体系框图
安
全
监
督
检
查事故处理逐级上报
工期保证体系框图
组建强有力的领导班子选择专业化施工队伍
项目经理部
-财-
-物-
机-
一
组
织
管
理
-
度
合理安排、加强QC小组活动
搞好外部关系、加强协作
信
息
跟
踪
反
馈
环境保护体系框图
提高全员环保意识
钻孔灌注桩施工工艺框图
桩式墩台施工工艺框图
墩(台)盖梁工艺流程图
桥板预制工艺框图
桥板安装施工工艺框图
浆砌片石工艺流程图
Word范文。
安全保证体系框图
质量保证体系框图
中铁十七局集团敦格铁路DGGSZQ-3标段质量管理领导小组思想保证
质量教育意识质量控制
意识
1
技术保证
施工图纸会审、施工组织
设计、编制施工方案、
加强技术培训
掌
握
规
范
标
进
行
技
术
交
推
广
新
技
术
定
期
质
量
检
技术责
任制
质量
责任制
提咼施工技术
保证施工质量
制度保证
工
程
质
量
奖
惩
制
工
程
质
量
责
任
追
究
制
隐
蔽
工
程
及
关
键
部
位
验
收
责任考核
奖优罚劣
质
量
控
制
资
料
管
理
制
环境保证体系框图
中铁十七局集团敦格铁路DGGSZQ-3标段环境保护领导小组
工作保证
环保措施
水土保持保护措施
工
环
境
保
护
措
环保检查
环境保护
制
度
保证
环
保
检
查
制
环
保
奖
罚
制
环
保
责
任
制
责任到人奖
罚兑现。
裕达工程实业有限公司中山东润华庭项目部安全生产组织机构、保证体系框架图编制:中山东润项目部2006年5月1日工程施工安全保证体系及保证措施1-1 工程施工安全体系1、安全管理目标在整个施工期,杜绝各类重大事故;努力减少一般性事故。
具体指标如下:(1)工伤事故:伤亡事故率<4‰,其中重伤率<1‰,死亡率=0‰,实现零目标;(2)火灾事故:直接经济损失率<5000元/人·年。
2、安全方针坚持“安全第一,预防为主”的方针。
项目部安全生产组织机构图人员组成,安全生产部配备施工安全监察员5人,负责本项目工程的安全隐患检察,督促整改。
另外,工地设医疗站,配备一定的医疗设备和常用药物,保证遇有紧急情况及时抢救,并负责整个工地的医疗保健和对伤员的护理工作。
各施工队配2—3名安全检查员,负责各施工队的施工安全监督工作。
综合办公室下设一个治安组,配备正、副组长一名,负责工地巡逻、治安及工地综合治理等工作。
4、落实安全生产责任制在本工程施工中,我单位将贯彻执行安全生产责任制,从领导到施工工人层层落实,分工负责,使“安全生产,人人有责”落到实处。
(1)项目经理对整个工程的安全生产负全面责任。
组织建立本工程的安全保证体系,制定安全管理细则,定期主持召开安全生产工作会议,组织定期安全检查,督促下级主管部门落实安全生产责任制。
(2)项目总工程师认真贯彻国家和上级有关规定和安全技术标准,对本工程施工中一切技术问题==============================专业收集精品文档=============================负安全责任。
将安全措施渗透到施工组织设计的各个环节中,并检查执行情况。
组织安全技术攻关活动,从技术方面提出安全保障措施。
(3)施工员(工长)对所领导的生产班组的安全生产负责。
领导所属班组搞好安全生产,组织班组学习安全操作规程。
对所管范围的安全防护设施符合要求负责,对整改指令书组织落实改进,并有权拒绝上级不科学、不安全、不文明的生产指令。
质量保证体系图经济责任制提高质量意识掌握规范及验标技术交底测量定位审核图纸推广新技术工艺项目QC小组单位工程合格率达到施工控制全员QC教育经济保证控制保证技术保证组织保证思想保证下道工序是用户为用户服务质量第一工班回访改进工作质量反馈奖优罚劣进行自检、互检、交接检加强施工现场控制实行质量保险抵押接受业主检查各分项工程由监理签证严格按施工程序和技术标准施工质量责任制技术岗位责任制队QC小组工班QC小组总结表彰先进提高施工能力经济兑现质量评定提高工程质量质量保证体系创优保证体系图工程创优技术管理施工控制质量检查物资管理各项规章制度检查落实按规定入库存放,定期检查领用发放记录路基压实度检查、控制按设计和操作规程组织施工,按技术交底施工细则标准化作业混凝土配合比使用与检查、塌落度及和易性检查工序自检质检工程师监理工程师阶段检查:自行组织并配合监理工程师成品检查分部、分项按工程验收标准检查选课题、定目标、开展QC小组活动砂石料等地材符合质量标准要求钢材、水泥等材料的复检收集施工原始资料,编制竣工文件针对施工中出现的问题进行攻关,制定解决问题的方法积极推广新工艺、新技术、新材料、新设备实行专项工序的技术交底,制定路基桥涵等专项质量技术措施中线、水平、结构物各部尺寸控制与检查精确施工放样,仔细复核设计文件,编制实施性施工组织设计,严格技术复核制度开展劳动竞赛,技术练兵,现场文明施工教育结合施工情况,培训施工人员,在重要工序及关键部位施工前上专项技术课技术管理工期保证体系图工期保证体系工作保证制度保证各级领导层层负责、分片包干做好物资供应和后勤保证工作协调好各方关系创造良好施工环境突出重点、日清月结杜绝返工和安全事故工程例会制度工期责任制度实行内部承包制,加大产值所占比编制科学合理的施工组织计划建立、健全调度指挥系统加强思想教育,提高合同工期意识组织保证安全保证体系图安全保证体系组织保证工作保证制度保证项目部安全领导小组各级领导层层负责并落实党政工团齐抓共管安质部搞好安全设计安全机构及人员配备齐全各部门按职责分工做好安全工作建立群体安全的总体格局抓好安全预防,开展预想、预制、预防活动抓好安全宣传教育加强职工岗位培训,坚持培训、持证上岗加大安全技术设备和设施的投入严格执行安全管理规定杜绝职工因公亡人事故,杜绝火灾及交通责任亡人事故,杜绝一切重伤事故,安全轻伤率控制在3‰以下防物体打击事故防电击伤害事故防高空坠落事故防机具设备伤害事故防行车事故安全责任制安全有关台账齐全定期与日常安全检查制及安全生产奖惩制周一安全活动日制及定期安全课制安全技术交底制、交接班制及班前技术讲话安全设计制基础工作防范重点安全目标环境保护保证体系图环境保护保证体系法律保证思想保证组织保证制度保证经济保证国家法律地方规定全员学法、知法、懂法、法律教育增强环保意识提高全员环保意识发挥党团及工会组织作用思想过硬有环保意识作风过硬个人素质队伍团结稳定建设文明队伍项目部环保小组施工队环保小组环保制度各种保证措施实行环保责任制奖罚分明明确各级责任。
安全生产管理保证体系报审表承包单位:中铁十四局集团第五工程有限公司合同段:No10 监理单位:广西桂通公路工程监理咨询责任有限公司编号:中铁十四局集团第五工程有限公司六钦公路NO.10合同段项目经理部安全生产管理保证体系编制单位名称:中铁十四局第五工程有限公司六钦公路NO.10合同段项目部日期:2009年10月9日安全生产管理保证体系与保证措施一、安全生产管理保证体系为全面实现安全目标,针对本项目的具体特点,从思想保证、组织保证、措施保证、制度保证、经济保证等几方面建立和完善本工程的安全保证体系。
严格遵守各类安全技术规程,建立健全项目部和施工队、班组三级安全保证体系。
严格落实各项制度,保证令行畅通。
安全保证体系详见下图安全管理机构框图安全生产领导小组组长:高忠民副组长:张洪星、张现存、谭卫波、王兴国成员:李学利、王之敏、穆卉楠、张洪顺、巩耐松、杨海庆、张旭、朱明。
安全生产管理保证体系框图二、安全生产管理保证措施(一)思想、组织保证措施制定严格的安全管理制度和措施,定期分析安全生产形势,研究解决施工中存在的问题,建立、健全各级安全责任制,责任落实到位。
安全教育经常化、制度化,对特种作业人员必须经培训合格后持证上岗;对新招聘员工必须进行三级安全教育和培训;通过安全竞赛、现场安全标语、图片等宣传形式,增强全员安全意识和自觉性,注意安全、珍惜生命,把安全生产工作落到实处。
(二)制度保证措施全面落实国家及交通部、上级部门的安全法律法规和规章制度。
依据《中华人民共和国安全生产法》、《建设工程安全生产管理条例》、《安全生产许可证条例》、《公路水运工程安全生产监督管理办法》等建立健全本单位安全生产责任制度和安全生产教育培训制度及安全生产技术交底制度,制定安全生产规章制度和操作规程,保证安全生产条件所需资金的投入,对所承担的工程进行定期和专项安全检查,并做好安全检查记录。
牢固树立“本质安全”的理念,认真贯彻落实公司安全管理办法和集团公司组织编写的《安全管理手册》、《安全操作规程》,切实进行安全危险源的辨识、排查和治理,消除安全隐患。