硬件开发管理办法及流程图
- 格式:doc
- 大小:236.50 KB
- 文档页数:14
西安极众数字通讯有限公司管理制度公文名称:技术开发部项目开发流程管控制度编制:审核:批准:公文编号:受控状态:受控版本/修改:A/0※本规范为受控公文,未经人力资源部确认,不得更改其中流程内容;※本规范一式两份人力资源部、品管部各一份;※本规范在实施过程中需更改地方,按照公文记录管理规范执行;目录一、目的4二、原则5三、组织结构51.约束条件52.假定环境53.组织结构61)整体组织架构62)项目组内实行团队式组织结构63)项目组长64)项目总工程师/部门负责人75)最终决策层74.职权、职能71)项目组长72)硬件设计、开发工程师83)硬件测试、调试工程师84)项目评审小组95)最终决策层9四、立项流程91.系统方案和需求书写92.立项前提93.立项流程图104.立项流程说明105.立项书内容与格式11五、下达任务流程121.任务下达流程图122.任务下达流程说明12六、项目控制机制131.项目计划的制定机制132.项目展开后的跟踪机制143.项目进展中的冲突或差异处理机制151)进度差异的解决要采取如下解决步骤152)人员感情冲突153)项目进展中途的人员更迭机制154.项目进展中的业务沟通机制161)项目内部成员与用户的沟通162)项目总工程师与各项目团队内部成员的沟通163)项目团队成员与公司其他部门或机构沟通174)项目团队成员与公司总经理沟通175.项目进展中的创新机制。
176.开发产品的测试、调试与反馈机制。
177.开发产品的抽查机制。
188.开发产品的验收机制18七、附录191.创新工作登记表192.项目进展差异分析表203.单元测试、调试交流日志214.开发项目进度报告225.项目工作月报236.项目总结报告247.抽查结果分析表258.项目正式验收申请书269.硬件问题报告单2710.开发项目验收书28一、目的1.明确项目团队的管理和沟通流程,改善团队耦合性能。
2.部门内全面实施团队式管理机制,发挥广大员工各自的潜能,激励员工共同参与团队建设与发展。
硬件开发流程文件编码(008-TTIG-UTITD-GKBTT-PUUTI-WYTUI-8256)拟制:______________ 部门:_______________ 日期:_______________审核:______________ 部门:_______________ 日期:_______________批准:______________ 部门:_______________ 日期: 0. 定义硬件项目组:由硬件开发人员(硬件开发工程师、可靠性工程师、可维护性工程师、信号完整性分析工程师、结构工程师、工艺工程师、系统工程师、器件工程师、装备工程师等)和单板软件开发人员组成,接受产品经理和项目开发经理领导,接受业务部硬件经理和研究部经理的指导,负责完成产品的硬件开发和单板软件的开发工作。
硬件测试组:由研究管理部测试业务部及各业务部测试部、中间试验部测试中心的测试工程师组成,接受测试经理、研究管理部测试业务部及各业务部测试部、中间试验部测试中心的共同领导,负责拟制硬件测试计划和系统测试计划,开展测试并提交测试报告。
测试组还应负责硬件测试工具的开发和调试;同时参与实验局的开局工作;负责试生产准备工作。
1. 目的规范硬件开发流程,控制硬件开发质量,确保硬件开发项目能按预定目标完成,并规范硬件开发工作流程与工艺、结构、电源、物料及可靠性设计等项工作的接口关系。
2. 范围适用于所有硬件及单板软件的开发。
3. 流程提要单板硬件开发及过程控制(器件选型、结构、电源、工艺、产品数据、可靠性等项工作同时开展)单板调试、测试4. 输入硬件总体设计方案(4/DC-RDS-I04-01-03)软件总体设计方案单板装备设计报告(4/DC-RDS-I04-01-002-03)单板PCB设计要求(4/DC-RDS-I04-01-002-06)5. 输出单板软件详细设计报告单板硬件详细设计报告过程调试报告6. 职责硬件项目组6.1.1 会同总体组对单板总体设计方案进行评审6.1.2 会同总体组对单板硬件详细设计进行审核6.1.3 负责设计开发过程中各种文档的编写和归档6.1.4 负责设计开发过程中向工艺组,结构组,物料组,装备组,电源组提交设计任务书6.1.5 配合版本管理员进行版本管理6.1.6 负责单板物料清单的定义和归档6.1.7 负责硬件设计中的物料选型总体组6.2.1 负责对单板硬件总体方案、软件总体方案、总体测试方案进行评审6.2.2 负责硬件详细设计、测试方案的评审6.2.3 会同总体技术办负责对硬件开发归档文档的评审6.2.4 负责对关键器件进行评审并督促项目组提交关键器件列表给物料认证部和物料品质试验中心进行验证。
第一章硬件开发过程介绍1.1硬件开发的基本过程硬件部门开发流程指定后,需要硬件部门人员严格按照开发流程完成开发工作。
硬件部开发流程主要分为如下几个步骤:1)市场调研对即将进行的项目,需要进行市场调研。
市场调研包括三个方面。
1.了解市场需求在网上或者其他渠道,了解当前市场上有多少同种产品,及产品的价格、规格等方面信息。
并了解当前市场对该产品的需求量,及发展的情况。
市场前景是否良好。
2.了解客户要求通过和客户的交流,了解客户的要求是什么,对产品的性能等各方面有什么要求。
3.分析客户要求,转变成客户需求将客户的要求分析汇总,转化成客户需求。
市场调研完成后,撰写市场调研分析。
里面明确写明客户需求及攻关难点。
市场调研分析完成后,即可进行项目工作。
2)立项市场调研完成后后,首先需要进行立项工作。
首先需要明确项目的需求;完成项目所需要的时间;需要配合的部门;预计花费的金额;项目各部分的功能规格等内容,并完成可行性方案、项目总体方案书、项目需求说明书、项目规格说明书四个文件的初稿。
然后和各相关部门及相关领导开会讨论,明确各自的任务。
并认真记录会议纪要,对各部门提出的要求汇总。
经多次讨论确认项目方案后,完成可行性方案、项目总体方案书、系统需求说明书、产品规格说明书四个文件的最终版本。
经各相关部门经理确认,总工程师审核,总经理核准后,开始进行项目的开发。
相关文件存档。
项目的开发要严格按照可行性方案、项目总体方案书、项目需求说明书、项目规格说明书四个文件的要求进行。
如出现意外情况,需要修改其中内容,则需要和各相关部门讨论,经总工程师同意,总经理核准后进行修改。
修改后的文件同样需要各相关部门经理确认,总工程师审核,总经理核准。
版本号升级,并存档。
3)硬件总体设计项目立项后,需要进行硬件总体设计。
立项完成后,需要进行项目的总体设计。
其内容包括:将该项目硬件部分分模块,明确各个模块之间的作用、完成时间、责任人;各个块之间的通讯及连接;电源要求;通讯协议;项目的主要部分及难点部分的攻关时间等内容。
西安极众数字通讯有限公司管理制度公文名称:技术开发部项目开发流程管控制度编制:审核:批准:公文编号:受控状态:受控版本/修改:A/0※本规范为受控公文,未经人力资源部确认,不得更改其中流程内容;※本规范一式两份人力资源部、品管部各一份;※本规范在实施过程中需更改地方,按照公文记录管理规范执行;目录一、目的 (5)二、原则 (5)三、组织结构 (5)3. 组织结构 (6)1) 整体组织架构 (6)2) 项目组内实行团队式组织结构 (6)3) 项目组长 (6)4) 项目总工程师/部门负责人 (6)5) 最终决策层 (7)4. 职权、职能 (7)1) 项目组长 (7)2) 硬件设计、开发工程师 (7)3) 硬件测试、调试工程师 (7)4) 项目评审小组 (8)5) 最终决策层 (8)四、立项流程 (8)1. 系统方案和需求书写 (8)2. 立项前提 (8)3. 立项流程图 (9)4. 立项流程说明 (9)5. 立项书内容与格式 (10)五、下达任务流程 (11)1. 任务下达流程图 (11)2. 任务下达流程说明 (11)六、项目控制机制 (11)1. 项目计划的制定机制 (11)2. 项目展开后的跟踪机制 (12)3. 项目进展中的冲突或差异处理机制 (13)1) 进度差异的解决要采取如下解决步骤 (13)2) 人员感情冲突 (13)3) 项目进展中途的人员更迭机制 (13)4. 项目进展中的业务沟通机制 (13)1) 项目内部成员与用户的沟通 (13)2) 项目总工程师与各项目团队内部成员的沟通 (14)3) 项目团队成员与公司其他部门或机构沟通 (14)4) 项目团队成员与公司总经理沟通 (14)5. 项目进展中的创新机制。
(14)6. 开发产品的测试、调试与反馈机制。
(14)7. 开发产品的抽查机制。
(15)8. 开发产品的验收机制 (15)七、附录 (15)1. 创新工作登记表 (16)2. 项目进展差异分析表 (17)3. 单元测试、调试交流日志 (18)4. 开发项目进度报告 (19)7. 抽查结果分析表 (22)8. 项目正式验收申请书 (23)9. 硬件问题报告单 (24)10. 开发项目验收书 (25)一、目的1.明确项目团队的管理和沟通流程,改善团队耦合性能。
硬件开发流程及规范第一章概述第一节硬件开发过程简介§1.1.1 硬件开发的基本过程硬件开发的基本过程:1.明确硬件总体需求情况,如CPU 处理能力、存储容量及速度,I/O 端口的分配、接口要求、电平要求、特殊电路(厚膜等)要求等等。
2.根据需求分析制定硬件总体方案,寻求关键器件及电咱的技术资料、技术途径、技术支持,要比较充分地考虑技术可能性、可靠性与成本操纵,并对开发调试工具提出明确的要求。
关键器件索取样品。
3.总体方案确定后,作硬件与单板软件的全面设计,包含绘制硬件原理图、单板软件功能框图及编码、PCB 布线,同时完成发物料清单。
4.领回PCB 板及物料后由焊工焊好1~2 块单板,作单板调试,对原理设计中的各功能进行调测,必要时修改原理图并作记录。
5.软硬件系统联调,通常的单板需硬件人员、单板软件人员的配合,特殊的单板(如主机板)需比较大型软件的开发,参与联调的软件人员更多。
通常地,通过单板调试后在原理及PCB布线方面有些调整,需第二次投板。
6.内部验收及转中试,硬件项目完成开发过程。
§1.1.2 硬件开发的规范化硬件开发的基本过程应遵循硬件开发流程规范文件执行,不仅如此,硬件开发涉及到技术的应用、器件的选择等,务必遵照相应的规范化措施才能达到质量保障的要求。
这要紧表现在,技术的使用要通过总体组的评审,器件与厂家的选择要参照物料认证部的有关文件,开发过程完成相应的规定文档,另外,常用的硬件电路(如ID.WDT)要使用通用的标准设计。
第二节硬件工程师职责与基本技能§1.2.1 硬件工程师职责一个技术领先、运行可靠的硬件平台是公司产品质量的基础,硬件工程师职责神圣,责任重大。
1、硬件工程师应勇于尝试新的先进技术,在产品硬件设计中大胆创新。
2、坚持使用开放式的硬件架构,把握硬件技术的主流与未来进展,在设计中考虑将来的技术升级。
3、充分利用公司现有的成熟技术,保持产品技术上的继承性。
硬件开发流程及规范---第二章硬件开发规范化管理第二章硬件开发规范化管理第一节硬件开发流程§2.1.1硬件开发流程文件介绍硬件开发的规范化是一项重要内容。
硬件开发规范化管理是在公司的《硬件开发流程》及相关的《硬件开发文档规范》、《PCB 投板流程》等文件中规划的。
硬件开发流程是指导硬件工程师按规范化方式进行开发的准则,规范了硬件开发的全过程。
硬件开发流程制定的目的是规范硬件开发过程控制,硬件开发质量,确保硬件开发能按预定目的完成。
硬件开发流程不但规范化了硬件开发的全过程,同时也从总体上,规定了硬件开发所应完成的任务。
做为一名硬件工程师深刻领会硬件开发流程中各项内容,在日常工作中自觉按流程办事,是非常重要的。
所有硬件工程师应把学流程、按流程办事、发展完善流程、监督流程的执行作为自己的一项职责,为公司的管理规范化做出的贡献。
§2.1.2硬件开发流程详解硬件开发流程对硬件开发的全过程进行了科学分解,规范了硬件开发的五大任务。
•硬件需求分析•硬件系统设计•硬件开发及过程控制•系统联调•文档归档及验收申请。
1. 硬件需求分析项目组接到任务后,首先要做的硬件开发工作就是要进行硬件需求分析,撰写硬件需求规格说明书。
硬件需求分析在整个产品开发过程中是非常重要的一环,硬件工程师更应对这一项内容加以重视。
一项产品的性能往往是由软件和硬件共同完成的,哪些是由硬件完成,哪些是由软件完成,项目组必须在需求时加以细致考虑。
硬件需求分析主要有下列内容:(1) 系统工程组网及使用说明(2) 基本配置及其互连方法(3) 运行环境(4) 硬件系统的基本功能和主要性能指标(5) 功能模块的划分(6) 关键技术的攻关(7) 外购硬件的名称型号、生产单位、主要技术指标(8) 主要仪器设备(9) 可靠性、稳定性、电磁兼容讨论(10) 电源、工艺结构设计(11) 硬件测试方案2.硬件总体设计硬件总体设计的主要任务就是从总体上进一步划分各单板的功能以及硬件的总体结构描述,规定各单板间的接口及有关的技术指标。
硬件产品开发管理制度1. 产品开发流程1.1 项目启动阶段在项目启动阶段,团队成员需要明确产品的需求和目标,并制定项目开发的计划和进度安排。
在这个阶段,需要完成产品立项报告,确定项目预算和资源分配,建立项目团队,并进行项目的沟通和协调。
1.2 产品设计阶段在产品设计阶段,团队成员需要根据产品需求和目标,进行产品的设计和规划。
在这个阶段,需要完成产品功能需求分析,进行产品结构设计和原型制作,确定产品的技术方案和设计方案,并对产品进行评审和修改。
1.3 产品开发阶段在产品开发阶段,团队成员需要根据产品设计方案,进行产品的开发和实施。
在这个阶段,需要完成产品的软硬件开发和集成,进行产品的测试和验证,对产品进行性能和可靠性测试,并进行产品的调试和改进。
1.4 产品验收阶段在产品验收阶段,团队成员需要对产品进行验收和审查。
在这个阶段,需要完成产品的功能测试和性能测试,进行用户体验测试和市场测试,评估产品的竞争优势和市场潜力,确定产品的生产和上市计划。
2. 产品开发管理2.1 项目管理团队成员需要建立项目管理制度,明确项目的目标和任务,确定项目的计划和进度,建立项目的组织结构和管理机制,进行项目的沟通和协调,监督和验收项目的执行和结果。
2.2 设计管理团队成员需要建立设计管理制度,明确产品的设计目标和要求,进行产品的功能需求分析和系统架构设计,制定产品的技术方案和设计方案,对产品进行评审和修改,确保产品的设计方案符合需求和标准。
2.3 开发管理团队成员需要建立开发管理制度,明确产品的开发目标和任务,进行产品的软硬件开发和集成,进行产品的测试和验证,对产品进行性能和可靠性测试,确保产品的开发过程符合过程和标准。
2.4 质量管理团队成员需要建立质量管理制度,健全产品的质量管理体系,进行产品的质量规划和控制,进行产品的质量评价和改进,确保产品的质量达到需求和标准。
3. 产品开发流程控制3.1 风险管理团队成员需要建立风险管理制度,识别和分析项目的风险,制定风险管理计划和控制措施,进行风险的评估和监控,确保项目的风险可控和可管理。
硬件开发流程及规范第一章概述第一节硬件开发过程简介§1.1.1 硬件开发的基本过程硬件开发的基本过程:1.明确硬件总体需求情况,如CPU 处理能力、存储容量及速度,I/O 端口的分配、接口要求、电平要求、特殊电路(厚膜等)要求等等。
2.根据需求分析制定硬件总体方案,寻求关键器件及电路的技术资料、技术途径、技术支持,要比较充分地考虑技术可能性、可靠性以及成本控制,并对开发调试工具提出明确的要求。
关键器件索取样品。
3.总体方案确定后,作硬件和单板软件的详细设计,包括绘制硬件原理图、单板软件功能框图及编码、PCB 布线,同时完成发物料清单。
4.领回PCB 板及物料后由焊工焊好1~2 块单板,作单板调试,对原理设计中的各功能进行调测,必要时修改原理图并作记录。
5.软硬件系统联调,一般的单板需硬件人员、单板软件人员的配合,特殊的单板(如主机板)需比较大型软件的开发,参与联调的软件人员更多。
一般地,经过单板调试后在原理及PCB布线方面有些调整,需第二次投板。
6.内部验收及转中试,硬件项目完成开发过程。
§1.1.2 硬件开发的规范化硬件开发的基本过程应遵循硬件开发流程规范文件执行,不仅如此,硬件开发涉及到技术的应用、器件的选择等,必须遵照相应的规范化措施才能达到质量保障的要求。
这主要表现在,技术的采用要经过总体组的评审,器件和厂家的选择要参照物料认证部的相关文件,开发过程完成相应的规定文档,另外,常用的硬件电路(如ID.WDT)要采用通用的标准设计。
第二节硬件工程师职责与基本技能§1.2.1 硬件工程师职责一个技术领先、运行可靠的硬件平台是公司产品质量的基础,硬件工程师职责神圣,责任重大。
1、硬件工程师应勇于尝试新的先进技术,在产品硬件设计中大胆创新。
2、坚持采用开放式的硬件架构,把握硬件技术的主流和未来发展,在设计中考虑将来的技术升级。
3、充分利用公司现有的成熟技术,保持产品技术上的继承性。
硬件开发流程及规范第一章概述第一节硬件开发过程简介§1.1.1 硬件开发的基本过程硬件开发的基本过程:明确硬件总体需求情况,如处理能力、存储容量及速度, I/O 端口的分配、接口要求、电平要求、特殊电路(厚膜等)要求等等。
根据需求分析^p 制定硬件总体方案,寻求关键器件及电咱的技术资料、技术途径、技术支持,要比较充分地考虑技术可能性、可靠性以及成本控制,并对开发调试工具提出明确的要求。
关键器件索取样品。
总体方案确定后,作硬件和单板软件的详细设计,包括绘制硬件原理图、单板软件功能框图及编码、 PCB 布线,同时完成发物料清单。
领回PCB板及物料后由焊工焊好1?2块单板,作单板调试,对原理设计中的各功能进行调测,必要时修改原理图并作记录。
软硬件系统联调,一般的单板需硬件人员、单板软件人员的配合,特殊的单板(如主机板)需比较大型软件的开发,参与联调的软件人员更多。
一般地,经过单板调试后在原理及PCB布线方面有些调整,需第二次投板。
内部验收及转中试,硬件项目完成开发过程。
§1.1.2 硬件开发的规范化硬件开发的基本过程应遵循硬件开发流程规范文件执行,不仅如此,硬件开发涉及到技术的应用、器件的选择等,必须遵照相应的规范化措施才能达到质量保障的要求。
这主要表现在,技术的采用要经过总体组的评审,器件和厂家的选择要参照物料认证部的相关文件,开发过程完成相应的规定文档,另外,常用的硬件电路(如 ID.WDT )要采用通用的标准设计。
第二节硬件工程师职责与基本技能§1.2.1 硬件工程师职责一个技术领先、运行可靠的硬件平台是公司产品质量的基础,硬件工程师职责神圣,责任重大。
1、硬件工程师应勇于尝试新的先进技术,在产品硬件设计中大胆创新。
2、坚持采用开放式的硬件架构,把握硬件技术的主流和未来发展,在设计中考虑将来的技术升级。
3、充分利用公司现有的成熟技术,保持产品技术上的继承性。
4、在设计中考虑成本,控制产品的性能价格比达至最优。
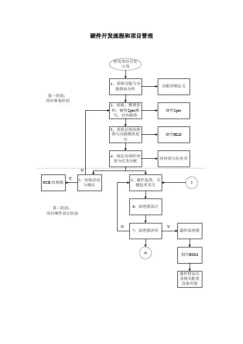
硬件开发流程和项目管理
备注:请大家在相关开发环节做好相关开发文档,以便项目完成后能及时的归档。
同时希望大家配合做好各个开发环节的衔接,以便能使整个项目及时高效的完成。
XXX项目管理表
备注:器件选型一定要在原理图开始前完成,原理图最终版本一定在pcb最终版本前3天确定,bom一定要在pcb板打板前确认ok,元件及相关配套设备的购买或者免费申请样品一定要在pcb回来前准备ok,结构评估一定要在pcblayout 前完成。
另外相关任务的责任人在接手和完成自己的相关工作时一定要记得把相关时间点填写到上面表格“责任人”栏中。
硬件开发管理流程1目的1.1使开发人员的开发工作能够按照一定的程序进行,保证开发工作的顺利进行。
1.2使开发工作的管理流程化,保证开发产品的品质。
1.3确保有较高的开发与管理效率。
2范围2.1本流程适用于硬件部产品硬件开发过程。
3职责3.1由硬件部负责产品的硬件开发,修正及发行相关文件。
3.2由品管部负责产品开发过程的审核、监督与产品质量的控制、评定。
4定义4.1PCB:Printed Circuit Board印刷电路板4.2BOM:Bill Of Material 材料表5程序5.1新产品硬件开发程序5.1.1接收新需求5.1.1.1由市场部提交已通过可行性分析的《客户需求明细》。
5.1.2硬件部针对客户产品需求进行详细硬件参数分析,制定设计方案与规划,并填写《硬件开发设计规划》5.1.3原理图设计5.1.3.1硬件部完成产品原理图设计。
5.1.3.2同部门相关人员负责原理图设计的检查与审核,如不通过则进行修改,并填写《硬件设计记录表》。
5.1.4PCB设计5.1.4.1硬件部依据本公司PCB设计规范完成PCB图设计。
5.1.4.2同部门相关人员负责PCB设计的检查与审核,如不通过则进行修改,并填写《硬件设计记录表》。
5.1.5PCB光绘文件设计5.1.5.1PCB设计完成并通过审核后,出相应光绘文件。
5.1.5.2同部门相关人员负责光绘文件的检查与审核,如不通过则进行修改,并填写《硬件设计记录表》。
5.1.6BOM表设计5.1.6.1根据原理图出相应产品BOM表。
5.1.6.2同部门相关人员负责BOM表的检查与审核,如不通过则进行修改,并填写《硬件设计记录表》。
5.1.7PCB打样,申请器件样片5.1.7.1硬件部将PCB光绘文件及《PCB制作申请表》交至采购部门联系安排PCB板打样。
5.1.7.2硬件部到材料库领用配套调试所需的器件,如材料库没有的,硬件部将欠缺的器件清单交至采购部进行采购。
硬件开发流程及规范第一章概述第一节硬件开发过程简介§1.1.1 硬件开发的基本过程硬件开发的基本过程:1.明确硬件总体需求情况,如CPU 处理能力、存储容量及速度,I/O 端口的分配、接口要求、电平要求、特殊电路(厚膜等)要求等等。
2.根据需求分析制定硬件总体方案,寻求关键器件及电咱的技术资料、技术途径、技术支持,要比较充分地考虑技术可能性、可靠性以及成本控制,并对开发调试工具提出明确的要求。
关键器件索取样品。
3.总体方案确定后,作硬件和单板软件的详细设计,包括绘制硬件原理图、单板软件功能框图及编码、PCB 布线,同时完成发物料清单。
4.领回PCB 板及物料后由焊工焊好1~2 块单板,作单板调试,对原理设计中的各功能进行调测,必要时修改原理图并作记录。
5.软硬件系统联调,一般的单板需硬件人员、单板软件人员的配合,特殊的单板(如主机板)需比较大型软件的开发,参与联调的软件人员更多。
一般地,经过单板调试后在原理及PCB布线方面有些调整,需第二次投板。
6.内部验收及转中试,硬件项目完成开发过程。
§1.1.2 硬件开发的规范化硬件开发的基本过程应遵循硬件开发流程规范文件执行,不仅如此,硬件开发涉及到技术的应用、器件的选择等,必须遵照相应的规范化措施才能达到质量保障的要求。
这主要表现在,技术的采用要经过总体组的评审,器件和厂家的选择要参照物料认证部的相关文件,开发过程完成相应的规定文档,另外,常用的硬件电路(如ID.WDT)要采用通用的标准设计。
第二节硬件工程师职责与基本技能§1.2.1 硬件工程师职责一个技术领先、运行可靠的硬件平台是公司产品质量的基础,硬件工程师职责神圣,责任重大。
1、硬件工程师应勇于尝试新的先进技术,在产品硬件设计中大胆创新。
2、坚持采用开放式的硬件架构,把握硬件技术的主流和未来发展,在设计中考虑将来的技术升级。
3、充分利用公司现有的成熟技术,保持产品技术上的继承性。
硬件开发管理流程
1目的
1.1使开发人员的开发工作能够按照一定的程序进行,保证开发工作的顺利进行。
1.2使开发工作的管理流程化,保证开发产品的品质。
1.3确保有较高的开发与管理效率。
2范围
2.1本流程适用于硬件部产品硬件开发过程。
3职责
3.1由硬件部负责产品的硬件开发,修正及发行相关文件。
3.2由品管部负责产品开发过程的审核、监督与产品质量的控制、评定。
4定义
4.1PCB:Printed Circuit Board印刷电路板
4.2BOM:Bill Of Material 材料表
5程序
5.1新产品硬件开发程序
5.1.1接收新需求
5.1.1.1由市场部提交已通过可行性分析的《客户需求明
细》。
5.1.2硬件部针对客户产品需求进行详细硬件参数分析,制定
设计方案与规划,并填写《硬件开发设计规划》
5.1.3原理图设计
5.1.3.1硬件部完成产品原理图设计。
5.1.3.2同部门相关人员负责原理图设计的检查与审核,
如不通过则进行修改,并填写《硬件设计记录表》。
5.1.4PCB设计
5.1.4.1硬件部依据本公司PCB设计规范完成PCB图设
计。
5.1.4.2同部门相关人员负责PCB设计的检查与审核,
如不通过则进行修改,并填写《硬件设计记录表》。
5.1.5PCB光绘文件设计
5.1.5.1PCB设计完成并通过审核后,出相应光绘文件。
5.1.5.2同部门相关人员负责光绘文件的检查与审核,如
不通过则进行修改,并填写《硬件设计记录表》。
5.1.6BOM表设计
5.1.
6.1根据原理图出相应产品BOM表。
5.1.
6.2同部门相关人员负责BOM表的检查与审核,如不通过则进行修改,并填写《硬件设计记录表》。
5.1.7PCB打样,申请器件样片
5.1.7.1硬件部将PCB光绘文件及《PCB制作申请表》交至采购部门联系安排PCB板打样。
5.1.7.2硬件部到材料库领用配套调试所需的器件,如材料库没有的,硬件部将欠缺的器件清单交至采购部进行采购。
5.1.8焊接与装配样板
5.1.8.1PCB打样完成后,硬件部负责完成样板的器件焊
接与装配。
5.1.9产品硬件功能验证
5.1.9.1硬件部完成相关硬件驱动程序编写。
5.1.9.2硬件部进行产品硬件功能的验证,出《硬件功能验证报告》,如未通过则重新回到5.1.3原理图设计流程查找
原因,并进行修改。
5.1.10配合嵌入式软件调试
5.1.10.1将硬件功能验证完毕的样板与相关参数、驱动程序移交给嵌入式软件开发部进行软件调试。
5.1.10.2跟踪软件调试情况,对于调试中发现所存在的硬件问题,进行设计修改。
5.1.11制定新产品整体测试方案
5.1.11.1由品管部、硬件部、嵌入式共同制定产品的《整体测试方案》。
5.1.12新产品整体测试
5.1.12.1品管部进行新产品整体测试,如不通过则重新进入5.1.3原理图设计查找原因并进行相应修改。
5.1.13发行各类生产文件
5.1.13.1将生产所需要的文件移交至生产部门,并在《硬件设计记录表》中记录签收情况,如:PCB制作所需光绘文件、产品生产BOM单。
5.1.13.2将产品开发文件/记录归档,列入常规产测试里。
5.2现有产品设计变更程序
5.2.1接收设计变更需求
5.2.1.1硬件部根据市场部提交的外部设计变更需求或
品管部提交的内部设计变更需求判断此需求为故障设计变更
还是原产品新需求设计变更,如为原产品新需求变更则进入
新产品硬件开发程序,为故障设计变更需求则进入以下程序。
5.2.1.2硬件部根据变更需求进行进一步详细故障分析,
并出故障分析结果报告。
5.2.1.3确认是否为硬件故障,不是则将故障情况交于嵌
入式部门,是则进入以下流程。
5.2.2硬件部制定设计变更方案和规划,填写《硬件开发设计
规划》。
5.2.3硬件部进行设计变更方案评审,如不通过则重新修改设
计变更方案。
5.2.4进行设计变更工作,变更产品试做
5.2.5设计变更产品验证
5.2.5.1由品管部进行设计变更产品测试方案的制定与
测试工作,如不通过则返回到5.2.2设计变更方案制定。
5.2.6修改相关生产文件并通知生产部门,同时在《硬件设计
记录表》中记录签收情况。
6相关文件和记录
6.1《硬件开发设计规划》
6.2《硬件设计记录表》
6.3《PCB制作申请表》
6.4《硬件功能验证报告》
6.5《整体测试方案》
7流程图
7.1新产品硬件开发流程图
7.2现有产品硬件设计变更流程图
《PCB制作申请表》
现有产品硬件设计变更流程图
流程图
说明
责任
产品设计变更需求
故障分析
是否硬件故障
否
进入嵌入式设计变
更流程
制定设计变更方案
变更产品试做
测试
不通过
设计变更结果转移至
生产部
是
设计变更方案评
审
不通过
通过
通过
是否故障变更
是进入新产品开发程
序
否
由市场部提交外部设计变更需求记录表,或品管部提交整体测试方案记录表提出内部设计变更需求
如不是故障变更,而是新需求设计变更则进入新产品开发程序
根据变更需求与故障情况
进行故障分析,并出故障分析
报告
根据分析结果判断是否硬件原因造成,若不是则将故障情况交至嵌入式进行软件故障
设计变更
确定硬件故障后制定《硬件开发设计规划》
对设计变更方案进行评审,如不通过则重新进行《硬件开发设计规划》制定
进行设计变更产品制作与验证工作,包括产品开发流程中的原理图,PCB 设计
品管部对设计变更完成的产品进行相关测试,确认变更结果
产品设计变更完成后将设计变更后的PCB 光会文件与产品BOM 文件移交至生产部
品管部
硬件部
硬件部
硬件部
硬件部
硬件部
硬件部
品管部
硬件部。