板式无砟轨道施工共45页
- 格式:ppt
- 大小:3.98 MB
- 文档页数:45
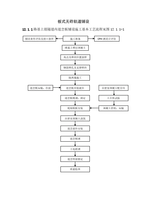
板式无砟轨道铺设12.1.1路基上级隧道内道岔板铺设施工基本工艺流程见图12.1.1-112.1.2板式无砟道岔铺设主要施工装备:混凝土搅拌站、混凝土运输车、混凝土浇筑设备、道岔板运输车、道岔板铺设门吊及汽车吊、道岔板精调装置、道岔板固定扣压装置、检测测量仪器等。
12.1.3测量及精调用的仪器及配套工具应提前准备,并经专业检验合格。
12.1.4道岔区及前后200m的路基宜作为一个整体对沉降变形观测资料进行分析评估,工后沉降变形符合设计要求后方可进行无砟道岔铺设。
12.1.5施工前应由建设单位组织相关单位,根据路基、排水、信号、供电等设计图,逐一核对道岔区路基范围内各种管线沟槽的数量、位置、结构尺寸及与道岔区无砟轨道接口是否正确,并确认路基表面尺寸验收合格。
12.1.6道岔板铺设施工放样前,必须确认轨道控制网CPIII建立完成,并经专业评估合格。
12.1.7道岔区无砟轨道施工应与区间正线、站线相关轨道工程施工相协调。
1 道岔区无砟轨道与区间正线及站线轨道之间应按设计要求设计过渡段。
2 正线无砟道岔宜在站内正线无砟道床施工前完成预铺。
无条件预铺时可采用预留岔位,铺设临时轨道过渡后再进行换铺。
3道岔区无砟轨道无缝线路施工与跨区间无缝线路施工应协调进行。
12.1.8 道岔组件及转换设备应在工厂预组装并验收。
出厂时,制造厂应依据相关技术条件进行检验,并提供出厂合格证、铺设图和发货明细表等,按要求发运。
12.1.9 板式无砟道岔铺设应统筹考虑道岔板及道岔的供应、运输和铺设等环节制定实施方案,确定道岔板及岔轨的最佳运输路线、存放场地及运输吊装方法,做好施工协调工作。
12.1.10 道岔板及道岔钢轨在运输、装卸、存放和铺设过程中,应保证不产生塑性变形和损伤。
道岔铺设应采用配套设备机械化施工。
12.1.11 道岔板质量应符合相关技术条件。
道岔板出场及铺设前应及时检查外观质量情况,对其螺栓孔位置、标识、预埋件、螺栓配件安装情况、门形锚固筋尺寸位置、棱镜孔、混凝土缺陷等进行检查记录,并对存在的问题及时处理。
板式无碴轨道施工技术前言现代高速铁路是以重型钢轨和混凝土枕为基础的有碴轨道结构,在列车速度达到250~300km/h的线路上能够确保行车的安全。
但这种有碴轨道在列车载荷反复作用下的不足之处是轨道残余变形积累很快,而且沿轨道纵向方向,其变形积累的分布也不均匀,从而导致轨道高低的不平顺,影响了旅客乘坐的舒适性;同时有碴轨道后期的养护维修,一方面在清筛道床时会对环境构成污染,另一方面其工作量也较大,加大了铁路后期的经济投入,使铁路建设和运营的整体成本提高。
为了提高轨道在高速运行条件下的稳定性和耐久性,减少轨道后期维修和对环境的影响,实现有效降低整体成本的目的,就必须改变轨下基础的结构形式。
相对于有碴轨道而言,板式无碴轨道是以混凝土和沥青混合料等取代散粒道碴道床而组成的轨道结构型式。
由于板式无碴轨道具有轨道平顺性高、刚度均匀性好、轨道几何形位能持久保持、以与维修工作量可显著减少等特点。
因此无碴轨道结构的应用是目前国内外高速铁路发展的方向。
在施工技术的开发中,应着重解决以下关键技术:1)轨道板的制作和安装;2)CA砂浆的研制和灌注施工;3)无碴轨道施工的测量控制方法和手段。
二00三年初,铁道部科技司将京沪高速铁路板式无碴轨道成套施工机械设备研究列入科研项目,由中铁十一局、三局集团共同研制,现在将板式无碴轨道施工技术分两部分整理如下:第一部分秦沈客运专线狗河特大桥上板式无碴轨道施工一、施工方法概述当桥梁架设以后,首先进行防护墙、凸形挡台与基床混凝土的施工,然后进行板式轨道的施工。
施工先是从基准点测量开始,把中线测量和水准测量的资料经过整理,按规定位置设置基准器。
然后将工厂预制的轨道板搬运至现场,以基准器为准绳,把轨道板调整至准确的位置上,并用轨道板支撑调整螺栓加以支撑,随后在轨道板底面和混凝土基床之间注入CA砂浆,固定轨道板,最后在其上铺设长钢轨,调整轨下衬垫,整正钢轨的微量偏差,上紧钢轨扣件,即完成了板式轨道的施工。
桥梁板式无碴轨道施工技术本文介绍了用于秦沈客运专线桥梁上的一种新型轨道结构——板式无碴轨道施工技术,主要包括轨道板的制造、CA 砂浆的研究及配制,商品混凝土底座及凸形挡台施工、轨道板铺设、CA 砂浆灌注、充填式垫板的施工等一系列关键技术,对城市高架轻轨、高速铁路桥梁等工程推广此项新技术具有重要参考价值和实用价值。
1 前言随着我国铁路运营速度的不断提高,有碴轨道在列车荷载反复作用下轨道残余变形积累很快,从而导致轨道高低不平顺,影响旅客乘坐的舒适性,增大轨道养护维修工作量。
板式无碴轨道是用双向预应力轨道板及CA 砂浆替换传统有碴轨道的轨枕和道碴的一种新型轨道型式。
由于板式无碴轨道具有结构简单、具有足够的强度和稳定性及设有提高轨道弹性的水泥沥青砂浆垫层而优于其它无碴轨道结构,被很多专家认为是一种应该在高速铁路广泛采用的结构形式。
与有碴轨道相比,板式轨道具有更好的整体性、稳定性和耐久性,虽然技术较复杂,一次性投资要略大于有碴轨道,但其使用寿命周期长,通常使用周期为30年,轨道板在使用周期内基本上免维修,运营过程中维修工作量可减少70以上,能够有效缓解高速铁路运营与维修的矛盾,且高速行车时的安全性和舒适性亦优越于普通轨道。
秦沈客运专线是我国第一条设计时速大于200 km/h的高速铁路,其中双何特大桥全长703.33 m,梁体为单线箱梁,上下线并行。
桥梁位于两个曲线及其间的夹直线上,纵坡为9.9‰ 和一1.5‰ 。
为提高旅客乘坐的安全性、舒适性,减小桥梁振害及减少运营期间的维修工作量,满足高速铁路运营的要求,梁上采用的板式无碴轨道,为京沪高速铁路的施工做了一定的技术准备。
2 结构设计及特点板式无碴轨道是由预制的轨道板、商品混凝土底座,以及介于两者之间的CA 砂浆填充层组成,在两块轨道板之间设凸形挡台以承受纵、横向水平力。
秦沈客运专线双河特大桥板式无碴轨道特点是:结构高度699mm,3.2 t/延m。
具有结构高度低、自重轻、现场商品混凝土施工量少、可修复行强、施工需专用设备等特点。
AUTOCAD2012 安装序列号666-69696969 产品秘钥001D1.txtC RTSⅡ型板式无砟轨道施工内容摘要:CRTSⅡ型板式无砟轨道是通过水泥乳化沥青砂浆调整层将预制轨道板铺设在现场摊铺的混凝土支承层或现浇柱的钢筋混凝土底座上,并适应ZPW-2000轨道电路要求的纵连板式无砟轨道结构形式。
京津城际轨道交通工程首次在国内采用CRTSⅡ型板式无碴轨道技术,本文结合施工经验和CRTSⅡ板式无碴轨道的特点,简要的总结了CRTSⅡ板式无碴轨道施工工艺。
关键词:CRTSⅡ型板式无碴轨道施工工艺一、概况京津城际轨道交通工程是我国首次采用CRTSⅡ板式无碴轨道技术的客运专线,该技术从德国博格公司引进,轨道板又称博格板,因板式无碴轨道系统的特点和工程的实际特点,轨道板的生产及运输、存放、底座砼施工、CA砂浆灌注和轨道板精调则是施工中需要特别重视的重难点工程,也是施工工艺上需要突破的难点工程。
CRTSⅡ板式无碴轨道板系统主要有四部分组成:两布一膜滑动层、钢筋混凝土底板座、CA砂浆垫层和轨道板京津城际轨道交通工程桥梁占有很大的比例,桥上底座为连续钢筋砼板带结构,为适应中国长桥施工需要,针对这一特点,博格公司提出了新型施工工艺:临时端刺方案,通过增设后浇带连接器来解决砼温度应力及变形应力放散问题。
该方案对施工工序有严格的要求,同时还有复杂的温度及长度变化计算,对施工各工序间的衔接组织提出了很高的要求。
二、无碴轨道总体施工安排根据CRTSⅡ型版式无碴轨道施工工艺的特点,必须做到合理安排、精心设计、科学管理以期达到工序衔接合理,形成追赶式、流水线式的施工场面CRTSⅡ型板式无下面就CRTSⅡ型板式无碴轨道施工现场所涉及到的施工工艺和施工方法进行简要的描述,结合德国博格公司的技术文件和我们现场施工中所涉及到的问题我们将会详细的进行阐述。
3.1 滑动层施工工艺滑动层铺设前首先检查桥面,核对梁面高程、平整度,检查梁面防水层质量等,检查验收合格后,对桥面进行清洗,保证桥面清洁,表面无残留的细小石子、砂粒等杂质。
CRTSⅠ型板式无砟轨道施工技术一、概述CRTSⅠ型板式无砟轨道由钢轨、弹性分开式扣件(本项目为WJ-7A 型扣件)、充填式垫板、轨道板、水泥乳化沥青砂浆调整层、钢筋混凝土底座、凸形挡台及其周围填充树脂等组成。
结构分路基、桥梁和隧道地段,结构高度分别为787mm、687mm。
轨道板均为预制,标准板长度为4962mm、3685mm和4856mm,一标范围内用到异型板长度有两种分别为4652mm和3345mm。
二、轨道结构设计(一)总体设计1.桥梁地段桥梁地段轨道结构高度为687mm(钢轨176+扣件39+轨道板220+砂浆50+底座202),底座板宽度为2.8m。
底座在梁面分段设置,每块轨道板长度底座设置20mm伸缩缝,伸缩缝对应凸形挡台中心并绕过凸形挡台。
底座范围内梁面不设防水层和保护层,轨道中线2.6m范围内的梁面在梁场预制时应进行拉毛处理,梁体采用预埋套筒植筋与底座连接。
注意:1.底座施工之前检查梁面是否按要求拉毛。
2.轨道施工完成后再进行桥梁防水层的施工。
3.严格控制梁缝处扣件间距,一般不应大于700mm,困难条件下最大不超过725mm,不满足要求时底座进行悬出,悬出量最大不超过50mm。
采取底座悬出措施后扣件间距也不能满足困难条件下要求时应对梁缝进行处理。
4.严格控制梁面高程,保证底座厚度在允许范围内。
2.路基地段路基地段轨道结构高度为787mm(钢轨176+扣件39+轨道板220+砂浆50+底座302),底座板宽度为3.0m。
底座在基床表层上分段设置,普通路基地段每3~4块轨道板长对应的底座长度设置一处伸缩缝。
伸缩缝宽20mm。
两块底座板之间伸缩缝处设置10根传力杆,传力杆为直径38mm的光圆钢筋。
设置标准按《公路水泥混凝土路面施工技术规范》(JTG F30-2003)中表9.1执行。
混凝土整体浇筑路基上每块轨道板对应一处伸缩缝,伸缩缝宽20mm。
同时,在混凝土路基沉降缝上方底座板也对应设置伸缩缝,伸缩缝同路基沉降缝同宽,但最大不超过20mm,并在断开伸缩缝处适当调整底座钢筋布置。