2001年东南大学自动控制原理真题
- 格式:doc
- 大小:198.50 KB
- 文档页数:3
东南大学2001年攻读硕士学位研究生入学考试试题试题编号:448 试题科目:电路分析基础本试卷共七题,一、二、三、五题各16分,其余各题12分。
一、图示电路,已知二端网络N吸收的功率P=2W,求电压U。
二、图示电路,求a、b两点间的电压Uab。
(用Us1、Us2表示)三、图示电路,电源电压Us1和Us2有效值均为150V,角频率为1000rad/s,L为氖灯,内阻可以认为无限大,当氖灯电压达到100V时发亮。
试证明:当Uac超前Ubc 60°时,氖灯发亮;当Uac之后Ubc 60°时,氖灯不亮。
四、图示电路,已知A t t i s )30cos(2)( +=,t t U s 3cos 23)(1=V ,Us2=3V ,R1=R3=1Ω,R2=2Ω,L1=1/3 H ,L2=8/3 H, C=1/3 F 。
求电容两端电压Uc ,is 两端电压U 。
五、图示电路,初始状态不详,当Us1(t )=ε(t )V ,Us2=2t cos ε(t )V 时,A t t e t i t L )()]4/cos(231[)(επ-+-=-。
求:1、在相同的初始状态下,Us1(t )=ε(t ),Us2(t )=0时,)(t i L =?2、在相同的初始状态下,Us1(t )=0,Us2(t )=0时,)(t i L =?六、图示电路,已知Us (t )=16cos t V ,t<0时,K 断开,电路已达稳态。
t=0时,K 闭合,求t>=0时的电流i (t )。
七、已知N为线性无源结构对称的电阻网络,已测得图(a)电路的输入导纳为Y a,图(b)电路的输入导纳为Yb,试求网络的Y参数。
(a)(b)。
一、填空题(每空 1 分,共15分)1、反馈控制又称偏差控制,其控制作用是通过 给定值 与反馈量的差值进行的。
2、复合控制有两种基本形式:即按 输入 的前馈复合控制和按 扰动 的前馈复合控制。
3、两个传递函数分别为G 1(s)与G 2(s)的环节,以并联方式连接,其等效传递函数为()G s ,则G(s)为G 1(s)+G 2(s)(用G 1(s)与G 2(s) 表示)。
4、典型二阶系统极点分布如图1所示,则无阻尼自然频率=n ω 1.414 ,阻尼比=ξ 0.707 , 该系统的特征方程为 2220s s ++= ,该系统的单位阶跃响应曲线为 衰减振荡 。
5、若某系统的单位脉冲响应为0.20.5()105t t g t e e --=+,则该系统的传递函数G(s)为1050.20.5s s s s +++。
6、根轨迹起始于 开环极点 ,终止于 开环零点 。
7、设某最小相位系统的相频特性为101()()90()tg tg T ϕωτωω--=--,则该系统的开环传递函数为 (1)(1)K s s Ts τ++。
1、在水箱水温控制系统中,受控对象为水箱,被控量为 水温 。
2、自动控制系统有两种基本控制方式,当控制装置与受控对象之间只有顺向作用而无反向联系时,称为 开环控制系统 ;当控制装置与受控对象之间不但有顺向作用而且还有反向联系时,称为 闭环控制系统 ;含有测速发电机的电动机速度控制系统,属于 闭环控制系统 。
3、稳定是对控制系统最基本的要求,若一个控制系统的响应曲线为衰减振荡,则该系统 稳定 。
判断一个闭环线性控制系统是否稳定,在时域分析中采用劳斯判据;在频域分析中采用 奈奎斯特判据。
4、传递函数是指在 零 初始条件下、线性定常控制系统的 输出拉氏变换 与 输入拉氏变换 之比。
5、设系统的开环传递函数为2(1)(1)K s s Ts τ++,则其开环幅频特性为2222211K T τωωω++; 相频特性为arctan 180arctan T τωω--(或:2180arctan 1T T τωωτω---+) 。
东南大学二00 一年攻读硕士学位研究生入学考试试卷一、图为简单电压调节器,在发电机的输出端用一个电位器给出反馈电压K v o ,K为常数(K1),该电位器的电阻足够高,以致可假设它可以吸收的电流可以忽略。
放大器的增益为20V/V,发电机增益K g为50V/A(励磁电流)参考电压V r =50V。
(1)画出当发电机供给一个负载电流时的系统方框图,并写出每个方块的传递函数。
(2)系统工作于闭环状态(即S闭合),已知发电机的稳态空载端电压为250V, 求此时K的值。
通过30A的稳态负载电流时,引起的端电压的变化是多少?恢复到250V的发电机电压,需要多大的参考电压?(3)系统运转在开环状态下(即S断开),为获得250V的稳态空载电压,需要多大的参考电压?当负载电流为30A时,端电压如何变化?二、设某系统的开环传递函数为G0(s)=空,试求使闭环系统稳定的K的取s值范围。
三、设系统的状态方程为x = |0 1L + L试求当-3一 \(1)U ( t ) =S (t )(2)u (t) =1 (t)时系统的状态响应x (t )。
(假设初始状态为零)四、如图所示的一阶采样系统中,ZOH弋表零阶保持器,求闭环系统的脉冲传递函数。
为使系统保持稳定,积分器的增益A的范围如何? ( T为采样周期)五、某最小相位系统的折线对数幅频特性如图所示,试写出它的传递函数,并大致画出其对数相频特性曲线。
六、已知系统的状态方程为x=Ax Bu。
设P为非奇异常数阵,已知A =P」AP二A 11 A12,B = P A B 1,其中A 11和B1的行数均为n1,而且||A 21 A 22 .|L 0rank ( B J =n’。
试证明(A,B)能控的充要条件是(A 22,A可)能控。
七、已知线性定常系统的状态转移矩阵为⑴=3S2t Sint,求系统矩阵A。
|| sin 2t cost八、已知非线性系统如图所示,其线性部分的频率特性G(jw )及非线性部分的负倒特性-1/N(E)如图所示(1)试确定当初始误差E在①A点②B点③C点④D点⑤E点时C (t )的运动情况(2)将上述分析结果在以e为横坐标,e为纵坐标的相平面上定性的表示出来(设原点为焦点,有极限环时原点为中心点)。
一、填空题(每空 1 分,共15分)1、反馈控制又称偏差控制,其控制作用是通过 给定值 与反馈量的差值进行的。
2、复合控制有两种基本形式:即按 输入 的前馈复合控制和按 扰动 的前馈复合控制。
3、两个传递函数分别为G 1(s)与G 2(s)的环节,以并联方式连接,其等效传递函数为()G s ,则G(s)为G 1(s)+G 2(s)(用G 1(s)与G 2(s) 表示)。
4、典型二阶系统极点分布如图1所示,7系统 稳定 。
判断一个闭环线性控制系统是否稳定,在时域分析中采用劳斯判据;在频域分析中采用 奈奎斯特判据。
4、传递函数是指在 零 初始条件下、线性定常控制系统的 输出拉氏变换 与 输入拉氏变换 之比。
5、设系统的开环传递函数为2(1)(1)K s s Ts τ++; 相频特性为arctan 180arctan T τωω--(或:2180arctan 1T T τωωτω---+) 。
6、频域性能指标与时域性能指标有着对应关系,开环频域性能指标中的幅值穿越频率c ω对应时域性能指标调整时间s t ,它们反映了系统动态过程的快速性 .1、对自动控制系统的基本要求可以概括为三个方面,即: 稳定性 、快速性和 准确性 。
2、控制系统的 输出拉氏变换与输入拉氏变换在零初始条件下的比值 称为传递函数。
一阶系统传函标准形式是1()1G s Ts =+ ,二阶系统传函标准形式是 222()2n n nG s s s ωζωω=++(或:221()21G s T s T s ζ=++。
3、在经典控制理论中,可采用 劳斯判据 、根轨迹法或奈奎斯特判据等方法判断线性控奈奎斯特判据 等方法。
5、设系统的开环传递函数为12(1)(1)K s T s T s ++,则其开环幅频特性为()A ω=,相频特性为 01112()90()()tg T tg T ϕωωω--=--- 。
6、最小相位系统是指S 右半平面不存在系统的开环极点及开环零点。
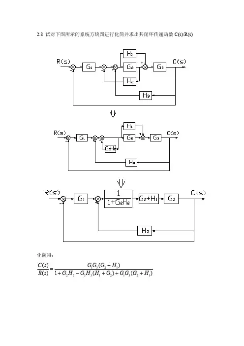
自动控制原理习题一、(20分)试用结构图等效化简求下图所示系统的传递函数)()(s R s C 。
解:所以:32132213211)()(G G G G G G G G G G s R s C +++= 二.(10分)已知系统特征方程为06363234=++++s s s s ,判断该系统的稳定性,若闭环系统不稳定,四.(121m -=222K K-0=1K ⇒=,s = 所以当1K >时系统稳定,临界状态下的震荡频率为ω五.(20分)某最小相角系统的开环对数幅频特性如下图所示。
要求(1) 写出系统开环传递函数; (2) 利用相角裕度判断系统的稳定性;(3) 将其对数幅频特性向右平移十倍频程,试讨论对系统性能的影响。
解(1)由题图可以写出系统开环传递函数如下:(2)系统的开环相频特性为截止频率1101.0=⨯=c ω相角裕度:︒=+︒=85.2)(180c ωϕγ故系统稳定。
(3)将其对数幅频特性向右平移十倍频程后,可得系统新的开环传递函数其截止频率10101==c c ωω而相角裕度︒=+︒=85.2)(18011c ωϕγγ= 故系统稳定性不变。
由时域指标估算公式可得)11(4.016.0-+=σoo=o o 1σ(1(2(2)121)(=s G 2函数。
1、的输出量不会对系统的控制量产生影响。
开环控制结构简单、成本较低、系统控制精度取决于系统元部件、抗干扰能力较差。
(2分)2、根轨迹简称为根迹,它是开环系统某一参数从零变到无穷时,闭环特征方程式的根在s 平面上变化的轨迹。
(3分)系统根轨迹起始于开环极点,终至于开环零点。
(2分)二、看图回答问题(每小题10分,共20分)1、解:结论:稳定(2分)理由:由题意知系统位于s 右半平面的开环极点数0=P ,且系统有一个积分环节,故补画半径为无穷大,圆心角为2122πππ-=⨯-=-v 的圆弧,则奈奎斯特曲线如图1示,(3分)由图可知系统奈奎斯特曲线包围(-1,j0)点的圈数为000=-=-=-+N N N ,(3分)由奈奎斯特稳定判据,则系统位于s 右半平面的闭环极点数02=-=N P Z ,(2分)故闭环系统稳定。
2001年自动控制原理真题(共六题)一、(20分)求解线性微分方程。
式中1(t)为单位阶跃函数。
x(t),dx/dt初始值均为零。
二、(20分)化简题二系统,并求出其传递函数。
三、(10分)已知传递函数。
求单位阶跃函数作用下的响应。
四、已知单位反馈系统开环传递函数Gk(s)=K/S(S+4),将ξ调整到ξ=根下2分之一,求相应的K值。
(仅限用根轨迹法)五、(20分)设控制後开环传函为。
试绘制系统的伯德图,并标出系统的幅值裕量与相位裕量。
六、(20分)非线性後的结构如图所示,图中T=1,K=4,e[size=-2]0=0.2,H[size=-2]0=0.2。
假定系统开始处于静止状态,当系统受到阶跃输入量r(t)=R作用时,试绘制後在相平面上的相轨迹。
(提示R=2)2002年自动控制原理真题(共六题)一、(15分)设一随动系统如图1所示,要求系统的超调量为0.2,峰值时间为1秒,试求1)增益K和反馈系数Kh之值。
2)根据所求的K值和Kh值,计算该系统的上升时间tr和调整时间ts.二、(20分)设一反馈系统如图2所示,试选择K1,K2以使该系统同时满足下列性能指标的要求:1)当单位斜坡输入时,系统的稳态误差小于等于0.35。
2)闭环极点的阻尼比小于等于0.707。
3)调整时间ts小于等于3秒。
.三、(20分)一控制系统如图3所示,当r(t)=t 时,要求系统的稳态误差小于0.2,且增益裕量不小于6dB,试求增益K的取值范围。
.四、(20分)采样系统如图4所示,试确定系统稳定的K值范围。
五、(15分)试确定由Y=X的3次方所表示的非线性的描述函数,式中X=ASinwt,X为输入量,Y为输出量。
六、(10分)以二阶系统Gk(s)=K/S(TS+1)说明伯德图形状对系统动态性能的影响。
2003年自动控制原理真题(共十题)一、(10分)增大控制器的比例控制系数对闭环系统输出有何影响?为什么加入滞后环节可以提高稳态精度而又基本上不影响系统暂态性能?二、(20分)写出下图所示环节输出Uc与Ur之间的微分方程。
《⾃动控制原理》试题(卷)与答案解析(A26套)⾃动控制原理试卷A(1)1.(9分)设单位负反馈系统开环零极点分布如图所⽰,试绘制其⼀般根轨迹图。
(其中-P 为开环极点,-Z ,试求系统的传递函数及单位脉冲响应。
3.(12分)当ω从0到+∞变化时的系统开环频率特性()()ωωj j H G 如题4图所⽰。
K 表⽰开环增益。
P 表⽰开环系统极点在右半平⾯上的数⽬。
v 表⽰系统含有的积分环节的个数。
试确定闭环系统稳定的K 值的范围。
4.(12分)已知系统结构图如下,试求系统的传递函数)(,)(s E s C,3==p v (a ),0==p v (b )2,0==p v (c )题4图题2图5.(15分)已知系统结构图如下,试绘制K 由0→+∞变化的根轨迹,并确定系统阶跃响应分别为衰减振荡、单调衰减时K 的取值范围。
6.(15分)某最⼩相位系统⽤串联校正,校正前后对数幅频特性渐近线分别如图中曲线(1)、(2)所⽰,试求校正前后和校正装置的传递函数)(),(),(21s G s G s G c ,并指出Gc (S )是什么类型的校正。
7.(15分)离散系统如下图所⽰,试求当采样周期分别为T=0.1秒和T=0.5秒输⼊)(1)23()(t t t r ?+=时的稳态误差。
8.(12分)⾮线性系统线性部分的开环频率特性曲线与⾮线性元件负倒数描述曲线如下图所⽰,试判断系统稳定性,并指出)(1x N -和G (j ω)的交点是否为⾃振点。
参考答案A(1)1、根轨迹略,2、传递函数)9)(4(36)(++=s s s G ;单位脉冲响应)0(2.72.7)(94≥-=--t e3、 21,21,21><≠K K K 4、6425316324215313211)()(G G G G G G G G G G G G G G G G G G s R s C ++++= 642531632421653111)()(G G G G G G G G G G G G G G G G G s R s E +++-= 5、根轨迹略。
(完整版)⾃动控制原理试题答案∑??=i i i s s Q s H )()(1)(zidpngkongzhi1 闭环系统(或反馈系统)的特征:采⽤负反馈,系统的被控变量对控制作⽤有直接影响,即被控变量对⾃⼰有控制作⽤。
2 典型闭环系统的功能框图。
⾃动控制在没有⼈直接参与的情况下,通过控制器使被控对象或过程按照预定的规律运⾏。
⾃动控制系统由控制器和被控对象组成,能够实现⾃动控制任务的系统。
被控制量在控制系统中.按规定的任务需要加以控制的物理量。
控制量作为被控制量的控制指令⽽加给系统的输⼊星.也称控制输⼊。
扰动量⼲扰或破坏系统按预定规律运⾏的输⼊量,也称扰动输⼊或⼲扰掐⼊。
反馈通过测量变换装置将系统或元件的输出量反送到输⼊端,与输⼊信号相⽐较。
反送到输⼊端的信号称为反馈信号。
负反馈反馈信号与输⼈信号相减,其差为偏差信号。
负反馈控制原理检测偏差⽤以消除偏差。
将系统的输出信号引回插⼊端,与输⼊信号相减,形成偏差信号。
然后根据偏差信号产⽣相应的控制作⽤,⼒图消除或减少偏差的过程。
开环控制系统系统的输⼊和输出之间不存在反馈回路,输出量对系统的控制作⽤没有影响,这样的系统称为开环控制系统。
开环控制⼜分为⽆扰动补偿和有扰动补偿两种。
闭环控制系统凡是系统输出端与输⼊端存在反馈回路,即输出量对控制作⽤有直接影响的系统,叫作闭环控制系统。
⾃动控制原理课程中所讨论的主要是闭环负反馈控制系统。
复合控制系统复合控制系统是⼀种将开环控制和闭环控制结合在⼀起的控制系统。
它在闭环控制的基础上,⽤开环⽅式提供⼀个控制输⼊信号或扰动输⼊信号的顺馈通道,⽤以提⾼系统的精度。
⾃动控制系统组成闭环负反馈控制系统的典型结构如图1.2所⽰。
组成⼀个⾃动控制系统通常包括以下基本元件.给定元件给出与被控制量希望位相对应的控制输⼊信号(给定信号),这个控制输⼊信号的量纲要与主反馈信号的量纲相同。
给定元件通常不在闭环回路中。
2.测量元件测量元件也叫传感器,⽤于测量被控制量,产⽣与被控制量有⼀定函数关系的信号。
自控原理试卷(11-12)标准答案一、简答题1、开环控制系统无反馈回路,结构简单,成本较低,但是控制精度低,容易受到外界干扰,输出出现误差无法进行补偿;闭环控制结构相对复杂,但能在有不可预知的干扰的情况下,使得输出量和参考输入量之间的偏差尽可能小。
2、如果系统开环传递函数在右半平面没有零、极点,那么该系统为最小相位系统; 有延迟环节的系统不属于最小相位系统。
3、一个连续时间线性定常系统输入-输出稳定的充分必要条件是其微分方程的特征方程的根(即传递函数的极点)全部具有负的实部。
4、存在矛盾之处,三阶系统例子。
5、状态反馈不会改变系统的能控性,输出反馈也不会改变系统的能控性; 输出反馈不会改变系统的能观性,状态反馈有可能改变系统的能观性。
二、综合题1、 13223232143211s (H G G H G G G G G G G G G G -++=)2、 解: ⎥⎥⎥⎦⎤⎢⎢⎢⎣⎡--=11126621641k Q 验证:0=k Q ,可以知道n rankQ k <,所以系统不完全可控。
⎥⎥⎥⎦⎤⎢⎢⎢⎣⎡-=1016104101g Qn rankQ k <=2 系统不完全可观3、 解:由已知条件可知91=a ,52=a ,33=a ,00=b ,11=b ,42=b ,13=b 选取状态变量 y x =1,y x =2,yx =3, 则 00=β,11=β,52-=β,413=β于是得到系统状态空间表达式为u X X ⎥⎥⎥⎦⎤⎢⎢⎢⎣⎡-+⎥⎥⎥⎦⎤⎢⎢⎢⎣⎡---=4151953100010 []X y 001= 4、26313,2js ±=,12=K5、⎥⎦⎤⎢⎣⎡+-+---=-=-t t tt t t tt e e e e e e e e t t 222212222)()(ΦΦ6、系统的闭环传递函数为Ks s s s Ks R s C ++++=)2)(1()()(2所以系统的特征方程为D (s )=0233234=++++K s s s s 劳斯表如下:Ks K s Ks s Ks 01234792372331-需满足:0792,0>->kK解得系统闭环稳定的K 的取值范围为:0<K<14/97、①6,5,3321-=-=-=λλλ;②-A⎥⎥⎥⎦⎤⎢⎢⎢⎣⎡=6-5-3-⎥⎥⎥⎦⎤⎢⎢⎢⎣⎡-=-3/12/16/1B。
三、(8分)试建立如图3所示电路的动态微分方程,并求传递函数。
图3解:1、建立电路的动态微分方程 根据KCL 有 200i 10i )t (u )]t (u )t (d[u )t (u )t (u R dt C R =-+- (2分)即 )t (u )t (du )t (u )()t (du i 2i 21021021R dtC R R R R dt CR R +=++ (2分)2、求传递函数对微分方程进行拉氏变换得)(U )(U )(U )()(U i 2i 21021021s R s Cs R R s R R s Cs R R +=++ (2分)得传递函数 2121221i 0)(U )(U )(R R Cs R R R Cs R R s s s G +++==(2分)四、(共20分)系统结构图如图4所示:1、写出闭环传递函数()()()C s s R s Φ=表达式;(4分) 2、要使系统满足条件:707.0=ξ,2=n ω,试确定相应的参数K 和β;(4分) 3、求此时系统的动态性能指标s t ,00σ;(4分)4、t t r 2)(=时,求系统由()r t 产生的稳态误差ss e ;(4分)图45、确定)(s G n ,使干扰)(t n 对系统输出)(t c 无影响。
(4分)解:1、(4分) 22222221)()()(n n n s s K s K s K sK s K s Ks R s C s ωξωωββ++=++=++==Φ 2、(4分) ⎩⎨⎧=====2224222n n K K ξωβω ⎩⎨⎧==707.04βK3、(4分) 0010032.42==--ξξπσe83.2244===ns t ξω4、(4分) )1(1)(1)(2+=+=+=s s K s s K sK s K s G βββ ⎩⎨⎧==11v K K β414.12===βKss K Ae 5、(4分)令:0)()(11)()()(=s s G ss K s N s C s n n ∆-⎪⎭⎫ ⎝⎛+==Φβ 得:βK s s G n +=)(五、(共15分)已知某单位反馈系统的开环传递函数为2()(3)rK G s s s =+:1、绘制该系统以根轨迹增益K r 为变量的根轨迹(求出:渐近线、分离点、与虚轴的交点等);(8分)2、确定使系统满足10<<ξ的开环增益K 解;1、绘制根轨迹 (8分)(1)系统有有3个开环极点(起点):0、-3、-3(2)(2)实轴上的轨迹:(-∞,-3)及(-3,0); (1分)(3) 3条渐近线: ⎪⎩⎪⎨⎧︒︒±-=--=180,602333a σ (2分) (4) 分离点: 0321=++d d 得: 1-=d (2分)432=+⋅=d d K r (5)与虚轴交点:096)(23=+++=r K s s s s D[][]⎩⎨⎧=+-==+-=06)(Re 09)(Im 23r K j D j D ωωωωω ⎩⎨⎧==543r K ω (2分) 绘制根轨迹如右图所示。
一、概念题(共30分,每题10分)1、 温度测量比较器放大器控制器加热装置水温设定温度实际温度被控对象:水温输入量:设定水温输出量:实际水温温控过程:用户设定热加水器的需要温度,通过将设定温度和实际测得的水温进行比较,如果实际水温比设定温度小,则利用控制器增大电流输入,使水温升高;如果实际测得的水温比设定的温度高,则减小电流输入,使水温下降,最终使得最终水温维持在设定温度。
原理图如上所示。
2、(A) 人驾驶汽车 是闭环控制,因为人会根据汽车的行驶方向对汽车进行控制。
(B) 空调器调节室温 是闭环控制。
因为空调器会根据室内温度进行自动调节,当室温低时,空调器会把温度调高,当室温高时,空调器会把温度降低。
(C) 给浴缸放热水 是开环控制,放入浴缸内的热水不会根据浴缸内水温进行调节。
(D) 投掷铅球 是开环控制,铅球一旦仍出后,就不受控制。
3、系统的稳定性是指处于平衡状态的系统,在受到外界扰动后偏离平衡位置之后能够回复到平衡点的能力。
系统的稳定性是系统的固有属性,与干扰的形式无关,只与系统本身的参数有关。
稳态误差是指系统从一个稳态过渡到新的稳态,或者系统在受到扰动后又重新达到平衡时系统出现的误差,这种偏差称为稳态误差。
稳态误差反映了系统对于输入信号或者扰动信号的跟踪精度,是系统控制精度的一种量度。
1、(1)3)101.0)(1()11.0(1000)(+++=s s s s G (2)(3)1000(0.1s+1)+(s+1)(0.01s+1)3=010-6s 4+3.01*10-4s 3+0.0303s 2+101.03s+1001=0二、综合题01243641001305.003.10110*01.310010303.010s s s s s ---所以系统不稳定2、10)10)(2(1015lim )(1)(lim 200=+++⨯=+=→→s s s s s s G s sR e s O s ss 3、3246-16-10100][2=⎥⎥⎥⎦⎤⎢⎢⎢⎣⎡==rank B A AB B rank rankQ C 所以系统完全能控 39-39-18-396-19202=⎥⎥⎥⎦⎤⎢⎢⎢⎣⎡=⎥⎥⎥⎦⎤⎢⎢⎢⎣⎡=rank CA CA C rank rankQ o 所以系统完全能观 4、因为闭环系统稳定,所以 闭环传递韩硕)1)(12)1()1)(12)(2++++++=s s K Ts s s s K s G (( Ks K TKK K s K K s K T s 0212301236123+-++ 所以K>0,0<T<6K+3 5、)()(1s A sI φ=-- 所以1)()(-=-s A sI φ=11)2)(1()2)(1(2)2)(1(1)2)(1(32211221221112112--⎥⎥⎥⎥⎦⎤⎢⎢⎢⎢⎣⎡++++-+++++=⎥⎥⎥⎦⎤⎢⎢⎢⎣⎡+++-+++-+-++-+s s s s s s s s s s s s s s s s s s =⎥⎦⎤⎢⎣⎡+-321s s所以=A ⎥⎦⎤⎢⎣⎡+-321s s =⎥⎦⎤⎢⎣⎡--32106、61162049192)(2323++++++=s s s s s s s G =611682772232++++++s s s s s =)(s Y )()611682772(232s U s s s s s ++++++ 令=)(~s Y )(6116123s U s s s +++ 即)()(6)()1(11)()2()()3(~~~~6t u s s s s y y y y =+++,选择系统状态为)()(~1s t x y = )()1()(~2s t x y =,)()2()(~3s t x y =,则⎪⎪⎩⎪⎪⎨⎧+---===•••)()(6)(11)(6)()()()()(32133221t u t x t x t x t x t x t x t x t x )(2)(8)(27)(7)(8)()1(27)()2(7)(2)(123~~~t u t x t x t x s s s t u t y y y y +++=+++=所以状态空间模型为)(100)(6101101600)(t u t x t x ⎪⎪⎪⎭⎫ ⎝⎛+⎪⎪⎪⎭⎫ ⎝⎛---=•())(2)(8277)(t u t x t y +=7、01110351250||=+--=-λλλλA I ,0)1()5(2=++λλ,所以1,53,1-=-=λλ 261035512505)(1=⎪⎪⎪⎭⎫ ⎝⎛----=-rank A I rank λ,所以将其化为若尔当规范性 =J ⎪⎪⎪⎭⎫ ⎝⎛---100051005。
东南大学建筑系规划设计1995——1996城市规划设计1999城市规划原理1995——1998,2002中外建筑史和城建史2003中、外建筑史1991——1999,2001外国建筑史1991,1995——2000,2002中国建筑史1995——2001建筑构造1996,2002建筑技术(构造、结构)1998——1999,2002建筑设计1995——2000建筑设计基础2004建筑设计原理1995——1996建筑物理1999,2002素描1995——1998素描色彩1999素描与色彩画2002色彩画1995——1998西方美术史1999中、西美术史1997——1998中西美术史1995——1996,1998中西美术史及其理论1999创作与设计1999无线电工程系专业基础综合(信号与系统、数字电路)2004——2006专业基础综合(含信号与系统、计算机结构与系统、线性电子线路)2003 通信原理1994,1999——2003(1999有答案)信号与系统1997——2002数字电路与微机基础1998——2002模拟电子技术2000模拟电子线路1999——2002电磁场理论2001,2003——2004微机原理与应用1996——2000,2002(2002有答案)应用数学系高等代数1997——2005数学分析1995——2005概率论2003常微分方程2004物理系量子力学2001——2005普通物理2001——2005光学1997——1998,2000——2004热力学统计物理2001电磁场理论2001,2003——2004人文学院政治学原理2008法学理论2004法学综合(法理学)(含刑法学与刑事诉讼法学、宪法学、行政法学与行政诉讼法学)2004法学综合(民商法学)(含宪法学、法理学、行政法学与行政诉讼法学)2004 法学综合(宪法学与行政法学)(含刑法学与刑事诉讼法学、法理学、民商法学与民事诉讼法学)2004民商法学2004宪法和行政法学2004外语系二外日语1999——2004二外法语2000——2004(2003有答案)(注:2004年试卷共10页,缺第9页和第10页)二外德语2000——2002,2004二外俄语2000,2002基础英语1999——2002语言学1999——2002翻译与写作1999——2002基础英语与写作2003——2004(2003——2004有答案)语言学与翻译2003——2004英美文学与翻译2004(2004有答案)二外英语2004日语文学与翻译2004交通学院材料力学2003——2005材料力学(结)1995——2000材料力学(岩)2005结构力学1993——2006土力学及土质学1993——1997,1999——2005道路交通工程系统分析1994——2004(1994——1998,2003——2004有答案)电路分析基础1996——2004电路分析与自控原理2003交通工程学基础1992——2001生物信号处理1999——2003局部解剖学1996生理学1995——1997流行病学2005卫生综合2004——2005内科学1995——1998建筑研究所中外建筑史和城建史2003中、外建筑史1991——1999,2001外国建筑史1991,1995——2000,2002中国建筑史1995——2001建筑构造1996,2002建筑技术(构造、结构)1998——1999,2002建筑设计1995——2000建筑设计基础2004建筑设计原理1995——1996建筑物理1999,2002学习科学研究中心(无此试卷)远程教育学院计算机软件基础(含数据结构、操作系统、软件工程、编译原理、离散数学)2003 计算机专业基础2002,2004——2005计算机结构与逻辑设计2001年本科生期末考试试题离散数学考研试题集(含97——00年)10元编译原理1993——2001编译原理与操作系统2002操作系统1994——2001数据结构1992——2002机械工程系机械原理1993——2005机械设计2002——2004电路分析基础1996——2004电路分析与自控原理2003制冷原理2003——2004制冷原理与设备2000——2002材料力学2003——2005材料力学(结)1995——2000材料力学(岩)2005结构力学1993——2006材料力学2003——2005材料力学(结)1995——2000材料力学(岩)2005土力学及土质学1993——1997,1999——2005工程结构设计原理2005工程经济2003——2005工程流体力学1998——2005工程热力学2000——2004工程施工与管理2002工程力学2003——2005工程力学2002(样题)钢结构1997——1999环境微生物学2005水污染控制工程1997——2002流行病学2005普通化学1997——1998,2000——2005有机化学2004——2005卫生综合2004——2005管理原理1998——2005,2010(2010为回忆版)(注:2004年试卷共2页,缺第2页)自动控制系自动控制理论1997——2002自动控制原理2004高等代数1997——2005生物科学与医学工程系生物信号处理1999——2003现代生物学2003经济管理学院西方经济学1999——2003,2005,2010(2002——2003有答案)(注:2005、2010年试卷为回忆版)金融学基础2002——2005,2005答案管理原理1998——2005,2010(2010为回忆版)(注:2004年试卷共2页,缺第2页)管理学2000——2002,2005,2007(2000——2002有答案)现代管理学2003——2004,2010(2003有答案)(2010为回忆版)市场营销学1999,2000——2001高等代数1997——2005自动控制理论1997——2002自动控制原理2004运筹学2001体育系(无此试卷)仪器科学与工程系电路分析基础1996——2004电路分析与自控原理2003自动控制理论1997——2002自动控制原理2004电磁场理论2001,2003——2004微机系统与接口技术2001——2002微机原理与应用1996——2000,2002(2002有答案)公共卫生学院西方经济学1999——2003,2005,2010(2002——2003有答案)(注:2005、2010年试卷为回忆版)卫生综合2004——2005有机化学2004——2005分析化学1992——2005(1992——2005有答案)物理化学2004——2005物理化学(化)1998——2005物理化学(金材)2000,2002生物信号处理1999——2003局部解剖学1996生理学1996流行病学2005高等教育研究所(无此试卷)软件学院(无此试卷)集成电路学院模拟电子技术2000模拟电子线路1999——2002微机系统与接口技术2001——2002微机原理与应用1996——2000,2002(2002有答案)电磁场理论2001,2003——2004动力工程系结构力学1993——2006土力学及土质学1993——1997,1999——2005工程经济2003——2005工程流体力学1998——2005工程热力学2000——2004工程施工与管理2002热工自动调节原理2001——2004制冷原理2003——2004制冷原理与设备2000——2002电路分析基础1996——2004电路分析与自控原理2003传热学2000——2004普通化学1997——1998,2000——2005电子工程系物理化学2004——2005物理化学(化)1998——2005物理化学(金材)2000,2002半导体物理1996——2005,2010(2010为回忆版)模拟电子技术2000模拟电子线路1999——2002电子线路基础2001——2004电磁场理论2001,2003——2004高等代数1997——2005微机系统与接口技术2001——2002微机原理与应用1996——2000,2002(2002有答案)计算机科学与工程系计算机软件基础(含数据结构、操作系统、软件工程、编译原理、离散数学)2003 计算机专业基础2002,2004——2005计算机结构与逻辑设计2001年本科生期末考试试题离散数学考研试题集(含97——00年)10元编译原理1993——2001编译原理与操作系统2002操作系统1994——2001数据结构1992——2002材料科学与工程系物理化学2004——2005物理化学(化)1998——2005物理化学(金材)2000,2002材料力学2003——2005材料力学(结)1995——2000材料力学(岩)2005钢结构1997——1999金属学2003——2004金属学及热处理1999——2002,2005卫生综合2004——2005电气工程系电工基础2000——2006模拟电子技术2000模拟电子线路1999——2002微机原理与应用1996——2000,2002(2002有答案)电磁场理论2001,2003——2004化学化工系物理化学2004——2005物理化学(化)1998——2005物理化学(金材)2000,2002艺术学系素描1995——1998素描色彩1999素描与色彩画2002色彩画1995——1998西方美术史1999中、西美术史1997——1998中西美术史1995——1996,1998中西美术史及其理论1999创作与设计1999临床医学院生物信号处理1999——2003局部解剖学1996生理学1995——1997流行病学2005卫生综合2004——2005内科学1995——1998情报科学技术研究所(无此试卷)职业技术教育学院(无此试卷)英语(单考)1999——2000。
一、填空题(每空 1 分,共15分)1、反馈控制又称偏差控制,其控制作用是通过 给定值 和反馈量的差值进行的。
2、复合控制有两种基本形式:即按 输入 的前馈复合控制和按 扰动 的前馈复合控制。
3、两个传递函数分别为G 1(s)和G 2(s)的环节,以并联方式连接,其等效传递函数为()G s ,则G(s)为G 1(s)+G 2(s)(用G 1(s)和G 2(s) 表示)。
4、典型二阶系统极点分布如图1所示,则无阻尼自然频率=n ω 1.414 ,阻尼比=ξ 0.707 , 该系统的特征方程为 2220s s ++= ,该系统的单位阶跃响应曲线为 衰减振荡 。
5、若某系统的单位脉冲响应为0.20.5()105t t g t e e --=+,则该系统的传递函数G(s)为1050.20.5s s s s+++。
6、根轨迹起始于 开环极点 ,终止于 开环零点 。
7、设某最小相位系统的相频特性为101()()90()tg tg T ϕωτωω--=--,则该系统的开环传递函数为 (1)(1)K s s Ts τ++。
1、在水箱水温控制系统中,受控对象为水箱,被控量为 水温 。
2、自动控制系统有两种基本控制方式,当控制装置和受控对象之间只有顺向作用而无反向联系时,称为 开环控制系统 ;当控制装置和受控对象之间不但有顺向作用而且还有反向联系时,称为 闭环控制系统 ;含有测速发电机的电动机速度控制系统,属于 闭环控制系统 。
3、稳定是对控制系统最基本的要求,若一个控制系统的响应曲线为衰减振荡,则该系统 稳定 。
判断一个闭环线性控制系统是否稳定,在时域分析中采用劳斯判据;在频域分析中采用 奈奎斯特判据。
4、传递函数是指在 零 初始条件下、线性定常控制系统的 输出拉氏变换 和 输入拉氏变换 之比。
5、设系统的开环传递函数为2(1)(1)K s s Ts τ++,则其开环幅频特性为2222211T τωωω++; 相频特性为arctan 180arctan T τωω--(或:2180arctan 1T T τωωτω---+) 。
东南大学2001年硕士研究生入学考试试题试题编号:558 试题名称:管理原理一、简答题(共三小题,每题8分,共24分)1.试述法约尔(Fayol)对管理科学发展的贡献。
2.从纵向分析的角度简述企业管理的主要内容。
3.用生命周期的观点简述组织的发展周期。
二、论述题(共三小题,每题20分,共60分)1.在社会主义市场经济条件下企业的任务是什么?请举例加以说明。
2.什么是经营单位组合分析法(波斯顿矩阵法),请举例说明其应用。
3.应用系统论的观点举例分析一个你所碰到的管理实际问题。
三、案例分析(16分)张家港的汽车工业应该怎么办?90年代初期,随着国内公路客运的迅速发展,张家港市涌现出了多家客车改装厂,经过激烈的市场竞争,逐步形成了牡丹、沙洲、春秋等五家具有一定规模的中型客车改装企业,当时五个汽车改装厂生产几乎同样的产品。
为了企业的生存,五家客车改装厂之间相互竞相压价,处于恶性竞争状态。
为了摆脱这种状况,张家港市政府曾组织了汽车工业公司行使行业管理的职能,但几乎没有效果。
五家企业之间也曾经有过实行价格同盟的尝试,但都以失败告终。
1994年,市政府牵头将五家企业组建成为一个汽车“集团”,由一位副市长任总经理,五个厂的厂长任副总经理,但由于五个企业之间不存在分工协作关系,各自有一套产供销体系,仍然处于各自为政的状态,“集团”图有虚名,恶性竞争状况有增无减。
据测算,由于价格方面的恶性竞争,五家改装企业每年的损失高达1亿元。
同时,各家企业的实力在恶性竞争中非但没有增强,反而极大地影响了张家港汽车在全国的声誉,客户评价张家港汽车产量虽然很大,但质量的确不怎么样。
张家港的汽车工业几乎处于声名狼藉的地位。
市政府里“将5家企业重组成一个真正的企业集团”的呼声日涨。
你认为应该怎么办?。
东南大学
二00一年攻读硕士学位研究生入学考试试卷
一、图为简单电压调节器,在发电机的输出端 用一个电位器给出反馈电压K 0V ,K 为常数(K1),该电位器的电阻足够高,以致可假设它可以吸收的电流可以忽略。
放大器的增益为20V/V ,发电机增益g K 为50V/A (励磁电流)参考电压r V =50V 。
(1) 画出当发电机供给一个负载电流时的系统方框图,并写出每个方块的传递
函数。
(2) 系统工作于闭环状态(即S 闭合),已知发电机的稳态空载端电压为250V ,
求此时K 的值。
通过30A 的稳态负载电流时,引起的端电压的变化是多少?恢复到250V 的发电机电压,需要多大的参考电压?
(3) 系统运转在开环状态下(即S 断开),为获得250V 的稳态空载电压,需要
多大的参考电压?当负载电流为30A 时,端电压如何变化?
二、设某系统的开环传递函数为s
Ke
Ts
-=)(s G 0,试求使闭环系统稳定的K 的取
值范围。
三、设系统的状态方程为u x ⎥⎦
⎤
⎢⎣⎡+⎥⎦⎤⎢
⎣⎡--=103210
x ·
试求当
(1)u (t )=δ(t )
(2)u (t )=1(t )时系统的状态响应x (t )。
(假设初始状态为零) 四、如图所示的一阶采样系统中,ZOH 代表零阶保持器,求闭环系统的脉冲传递
函数。
为使系统保持稳定,积分器的增益A 的范围如何?(T 为采样周期)
五、某最小相位系统的折线对数幅频特性如图所示,试写出它的传递函数,并大致画出其对数相频特性曲线。
六、已知系统的状态方程为B u A x x ·
+=。
设P 为非奇异常数阵,已知
⎥⎦
⎤
⎢
⎣⎡==-2221
1211
1
A A A A AP P A —
,⎥⎦
⎤
⎢⎣⎡==-0B B P B 11—
,其中11A 和1B 的行数均为1n ,而且
rank (1B )=1n 。
试证明(A ,B )能控的充要条件是(22A ,21A )能控。
七、已知线性定常系统的状态转移矩阵为⎥⎦
⎤
⎢
⎣⎡=cost sin2t
sint cos2t
(t)ψ,求系统矩阵A 。
八、已知非线性系统如图所示,其线性部分的频率特性G (jw )及非线性部分的负倒特性-1/N(E)如图所示
(1)试确定当初始误差E 在①A 点②B 点③C 点④D 点⑤E 点时C (t )的运动情况
(2)将上述分析结果在以e 为横坐标,·
e 为纵坐标的相平面上定性的表示出来
(设原点为焦点,有极限环时原点为中心点)。