注塑车间质量控制流程图
- 格式:doc
- 大小:54.00 KB
- 文档页数:3
注塑车间质量控制流程注塑车间质量控制流程概述注塑车间质量控制流程是指在注塑车间中,为了保证产品的质量,制定的一系列质量控制措施和流程。
该流程旨在规范注塑车间的操作,减少产品缺陷率和不合格品率,提高产品的质量稳定性和生产效率。
流程步骤步骤一:准备工作在开始注塑车间质量控制流程之前,需要进行一些准备工作,包括以下内容:- 确认注塑机设备的状态是否正常,是否具备开机条件。
- 确认注塑原料的充足性和质量问题。
- 检查模具设备的完好性和可用性。
步骤二:设备开机1. 打开注塑机电源,按照设备启动流程启动注塑机。
2. 检查注塑机温度控制装置是否正常工作,确保温度在正常范围内。
3. 注入注塑原料,并确保原料投入正常。
步骤三:质量控制1. 注塑车间质量控制人员在每个生产周期开始前,对注塑机进行检查,并记录相关数据。
2. 注塑机开始工作后,质量控制人员定期抽样检查产品尺寸和重量,并记录结果。
3. 使用工装夹具进行产品检查,确保产品的外观质量符合要求。
4. 定期进行产品外观检查,对产品进行分类评估,及时发现并解决质量问题。
5. 定期进行产品性能,以确保产品符合技术规范和客户要求。
6. 若发现质量问题,立即停止生产,排除质量问题,并记录问题产生原因和相应的改善措施。
步骤四:记录和分析1. 质量控制人员将每个生产周期的质量检查结果记录下来,并整理成报告。
2. 对于质量问题的分析,质量控制人员通过查看记录的质量数据和分析相关工艺参数,找出问题的原因,并提出相应的改善措施。
3. 质量控制人员根据记录和分析的结果,出相应的改进建议,并向注塑车间管理人员汇报。
步骤五:改进措施1. 注塑车间管理人员根据质量控制报告和改进建议,制定改进计划,并进行实施。
2. 针对不同的质量问题,采取相应的纠正措施和预防措施,防止类似问题发生。
注塑车间质量控制流程是一个保证产品质量的关键步骤,它能够帮助注塑车间避免质量问题,提高产品的合格率和质量稳定性。
注塑车间质量控制流程一、引言注塑车间是制造企业中重要的生产环节之一,质量控制流程对于保证产品质量、提高生产效率至关重要。
本文将详细介绍注塑车间质量控制的流程,包括原料检验、注塑过程控制、成品检验和异常处理等环节。
二、原料检验1. 原料采购:注塑车间在生产前需要采购合适的原料,确保原料的质量符合要求。
2. 原料检验:对采购的原料进行检验,包括外观检查、尺寸测量、物理性能测试等,以确保原料质量达到要求。
3. 原料入库:经过检验合格的原料按照规定的存放要求进行入库管理,确保原料的安全和质量。
三、注塑过程控制1. 模具准备:根据生产计划,准备好相应的注塑模具,并进行检查和清洁,确保模具的完好无损。
2. 注塑设备调试:对注塑设备进行调试,包括温度控制、压力调整等,以确保设备正常运行。
3. 注塑过程监控:在注塑过程中,对温度、压力、注射速度等参数进行实时监控,并记录相关数据,以便后续分析和改进。
4. 注塑样品抽检:每隔一段时间,从注塑过程中抽取样品进行检验,确保产品质量稳定。
四、成品检验1. 外观检查:对注塑成品进行外观检查,包括表面平整度、色差、划痕等方面的评估,以确保产品外观符合要求。
2. 尺寸测量:对注塑成品进行尺寸测量,使用合适的测量工具和设备,确保产品尺寸精确度符合要求。
3. 功能测试:对注塑成品进行功能测试,验证产品的性能是否符合设计要求。
4. 批量抽检:从生产批次中抽取一定数量的样品进行检验,以确保产品质量的稳定性和一致性。
五、异常处理1. 异常记录:对于发现的异常情况,及时记录并进行分类、整理,以便后续分析和改进。
2. 异常分析:对异常情况进行原因分析,找出问题根源,并采取相应的纠正措施。
3. 纠正措施:根据异常分析结果,采取相应的纠正措施,包括调整参数、修复设备等,以确保异常不再发生。
4. 效果验证:对纠正措施的效果进行验证,确保问题得到解决并不再出现。
六、总结注塑车间质量控制流程是保证产品质量的重要环节,通过原料检验、注塑过程控制、成品检验和异常处理等环节的有效管理,可以提高产品质量稳定性,提高生产效率,并为客户提供高质量的产品。
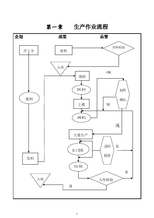
上海金秋塑料制品有限公司注塑车间质量控制流程1、目的为了确保对注塑产品质量有影响的各工序按规范作业,以保证这些检验处于受控状态。
保证产品的制造过程满足入库要求。
2、范围适用于注塑车间产品生产过程中的质量控制。
3、职责3.1.巡检员负责按订单要求或相应的工艺文件进行注塑过程的产品质量控制.3.2抽检负责对当班的注塑产品入库前全面检查3.3检验中如有疑问及争执,须由上级协调处理。
4.1 首检、记录和标识:4.1.1注塑生产过程中,操作工必须做好自检记录,检验产品的外观,巡检员做好开机前产品的首件签字封样,并填写《首件检验报告》,生产过程中要按巡检员要求进行产品抽检工作,每次检验项目要完整,并同时对打包产品、作业台产品和机台随机产品三个环节进行验证,发现问题,及时纠正和协调处理。
4.1.2抽检员有权要求操作工对自检不合格的产品进行返工,并对返工产品进行记录、标识和复查,直至达到产品质量要求,否则不允许入库,对不合格的产品在交接班时要确保信息完全传达给下班次人员,以防不良品继续产生;4.1.3检验主管每天要将巡检报表收回并检查巡检记录的情况,对记录有不实或存在疑问则找相关质检员了解确认,如属工作粗心、失误、责任心不足则要求进行通报批评并,对多次未按检验工作指导执行人员将考虑换岗或其它处分;4.1.4各注塑工段完成品合格后,操作工应在产品外包上作好表示,才能转入下一道工序,注塑的成品、半成品、合格和不合格品等,应按规定的区域整齐放置,并按标识和可追溯性管理原则进行标识,检验员有权对过程进行控制和协调,对标识不规范有权要求员工整改或停机整顿。
4.2 过程再确认:4.2.1 换料和换模后产品的检验和确认巡检过程中机台有换料、换模时,质检要按首件检验标准,逐项确认产品的外观、工程尺寸、性能强度和组件装配度等各项品质参数,调查和了解所用物料的批次是否发生变化,便于记录和预防不良的发生;4.2.2 修模后产品的检验和确认当模具发生异常维修结束上机试样时,质检要按首件检验标准,逐项确认产品的外观、工程尺寸、性能强度和组件装配度等各项品质参数,并对照前期样品,确认无误后方可投入批量生产,若模具属重大维修事项则由工艺组依照以上项目检查合格后方可批量生产,必要的时候还需进行长时间的验证跟踪;4.2.3 新人作业后产品的检验和确认当机台发生换人,新人作业等,领班、巡检必须加强巡检次数,明确告之产品的注意事项并确保员工全部理解,过程中反复检查新手作业熟练程度,发生异常要及时纠正,必要时候换熟练员工作业,保证品质的稳定性;4.2.4 停机后产品的检验和确认生产过程中,由于特殊原因等造成机台异常作业而重新开机生产,此时,机台的工作处于不稳定状态,巡检员要按首件检验标准,逐项确认产品的外观、工程尺寸、性能强度和组件装配度等各项品质参数,并对照前期样品,确定产品合格后方可批量生产,并持续跟进直到机台运行、产品质量趋于稳定为止;4.2.5 过程调机后产品的检验和确认生产过程中,产品发生变异,车间领班或车间主管重新调机,当改变机台成型参数而原问题得到克服后,巡检员要重新确认其他检验项目的品质是否出现变异,各种性能是否达到要求,如通过提高温度来克服产品外观不良是否会影响塑胶的物性而使产品变脆等,避免发生新的不良问题造成批量品质事故发生;4.2.6 交班过程产品的检验和确认车间在交班过程中,由于人员发生变动、新换材料未确认已到换班时间、上班次巡检员忘了彻底交接或其他原因等给机台生产埋下质量隐患,对可能造成批量质量事故的风险,接班巡检员除严格执行检验外,必须确认上班次的巡检表、自检表,了解材料使用情况等,及时熟悉上班次的品质情况,采取措施,确保对影响过程能力的变化及时做出反应。
注塑车间质量控制流程 TTA standardization office【TTA 5AB- TTAK 08- TTA 2C】上海金秋塑料制品有限公司注塑车间质量控制流程1、目的为了确保对注塑产品质量有影响的各工序按规范作业,以保证这些检验处于受控状态。
保证产品的制造过程满足入库要求。
2、范围适用于注塑车间产品生产过程中的质量控制。
3、职责.巡检员负责按订单要求或相应的工艺文件进行注塑过程的产品质量控制.抽检负责对当班的注塑产品入库前全面检查检验中如有疑问及争执,须由上级协调处理。
首检、记录和标识:4.1.1注塑生产过程中,操作工必须做好自检记录,检验产品的外观,巡检员做好开机前产品的首件签字封样,并填写《首件检验报告》,生产过程中要按巡检员要求进行产品抽检工作,每次检验项目要完整,并同时对打包产品、作业台产品和机台随机产品三个环节进行验证,发现问题,及时纠正和协调处理。
4.1.2抽检员有权要求操作工对自检不合格的产品进行返工,并对返工产品进行记录、标识和复查,直至达到产品质量要求,否则不允许入库,对不合格的产品在交接班时要确保信息完全传达给下班次人员,以防不良品继续产生;4.1.3检验主管每天要将巡检报表收回并检查巡检记录的情况,对记录有不实或存在疑问则找相关质检员了解确认,如属工作粗心、失误、责任心不足则要求进行通报批评并,对多次未按检验工作指导执行人员将考虑换岗或其它处分;4.1.4各注塑工段完成品合格后,操作工应在产品外包上作好表示,才能转入下一道工序,注塑的成品、半成品、合格和不合格品等,应按规定的区域整齐放置,并按标识和可追溯性管理原则进行标识,检验员有权对过程进行控制和协调,对标识不规范有权要求员工整改或停机整顿。
过程再确认:4.2.1 换料和换模后产品的检验和确认巡检过程中机台有换料、换模时,质检要按首件检验标准,逐项确认产品的外观、工程尺寸、性能强度和组件装配度等各项品质参数,调查和了解所用物料的批次是否发生变化,便于记录和预防不良的发生;4.2.2 修模后产品的检验和确认当模具发生异常维修结束上机试样时,质检要按首件检验标准,逐项确认产品的外观、工程尺寸、性能强度和组件装配度等各项品质参数,并对照前期样品,确认无误后方可投入批量生产,若模具属重大维修事项则由工艺组依照以上项目检查合格后方可批量生产,必要的时候还需进行长时间的验证跟踪;4.2.3 新人作业后产品的检验和确认当机台发生换人,新人作业等,领班、巡检必须加强巡检次数,明确告之产品的注意事项并确保员工全部理解,过程中反复检查新手作业熟练程度,发生异常要及时纠正,必要时候换熟练员工作业,保证品质的稳定性;4.2.4 停机后产品的检验和确认生产过程中,由于特殊原因等造成机台异常作业而重新开机生产,此时,机台的工作处于不稳定状态,巡检员要按首件检验标准,逐项确认产品的外观、工程尺寸、性能强度和组件装配度等各项品质参数,并对照前期样品,确定产品合格后方可批量生产,并持续跟进直到机台运行、产品质量趋于稳定为止;4.2.5 过程调机后产品的检验和确认生产过程中,产品发生变异,车间领班或车间主管重新调机,当改变机台成型参数而原问题得到克服后,巡检员要重新确认其他检验项目的品质是否出现变异,各种性能是否达到要求,如通过提高温度来克服产品外观不良是否会影响塑胶的物性而使产品变脆等,避免发生新的不良问题造成批量品质事故发生;4.2.6 交班过程产品的检验和确认车间在交班过程中,由于人员发生变动、新换材料未确认已到换班时间、上班次巡检员忘了彻底交接或其他原因等给机台生产埋下质量隐患,对可能造成批量质量事故的风险,接班巡检员除严格执行检验外,必须确认上班次的巡检表、自检表,了解材料使用情况等,及时熟悉上班次的品质情况,采取措施,确保对影响过程能力的变化及时做出反应。
注塑车间质量控制流程一、引言注塑车间是创造企业中关键的生产环节之一,质量控制流程的严谨性对于产品质量的稳定和客户满意度至关重要。
本文将详细介绍注塑车间质量控制流程,包括原材料检验、注塑工艺控制、成品检验等环节,以确保产品质量的稳定和一致性。
二、原材料检验1. 原材料接收注塑车间在接收原材料时,应与供应商确认物料名称、规格、批次等信息,确保原材料与定单一致。
2. 外观检验对原材料外观进行检查,包括颜色、表面光洁度、异物等,确保原材料外观符合要求。
3. 尺寸检验对原材料进行尺寸检验,使用相应的测量工具进行测量,确保原材料尺寸符合要求。
4. 物理性能检验对原材料进行物理性能检验,如强度、硬度等,确保原材料的物理性能符合要求。
5. 化学成份检验对原材料进行化学成份检验,确保原材料的化学成份符合要求。
三、注塑工艺控制1. 注塑工艺参数设定根据产品要求和工艺文件,设定注塑工艺参数,包括注射速度、保压时间、熔胶温度等,确保注塑过程的稳定性。
2. 注塑设备检验对注塑设备进行定期检验和维护,确保设备运行正常,能够提供稳定的注塑工艺条件。
3. 注塑过程监控在注塑过程中,通过实时监控注塑设备的参数,如温度、压力等,及时调整工艺参数,确保产品质量的稳定性。
4. 注塑工艺记录对注塑过程进行记录,包括注塑工艺参数、设备运行情况、异常情况等,以便后续分析和改进。
四、成品检验1. 外观检验对注塑成品进行外观检验,包括颜色、表面光洁度、异物等,确保成品外观符合要求。
2. 尺寸检验对注塑成品进行尺寸检验,使用相应的测量工具进行测量,确保成品尺寸符合要求。
3. 功能性能检验对注塑成品进行功能性能检验,如承载能力、密封性能等,确保成品的功能性能符合要求。
4. 包装检验对注塑成品进行包装检验,确保包装符合要求,以防止在运输和存储过程中发生损坏。
五、异常处理与改进1. 异常处理当发现原材料、注塑工艺或者成品存在异常时,即将住手生产,并进行原因分析和处理,以防止不合格品进入市场。
上海金秋塑料制品有限公司注塑车间质量控制流程1、目的为了确保对注塑产品质量有影响的各工序按规范作业,以保证这些检验处于受控状态。
保证产品的制造过程满足入库要求。
2、范围适用于注塑车间产品生产过程中的质量控制。
3、职责3.1.巡检员负责按订单要求或相应的工艺文件进行注塑过程的产品质量控制. 3.2抽检负责对当班的注塑产品入库前全面检查3.3检验中如有疑问及争执,须由上级协调处理。
4.1 首检、记录和标识:4.1.1注塑生产过程中,操作工必须做好自检记录,检验产品的外观,巡检员做好开机前产品的首件签字封样,并填写《首件检验报告》,生产过程中要按巡检员要求进行产品抽检工作,每次检验项目要完整,并同时对打包产品、作业台产品和机台随机产品三个环节进行验证,发现问题,及时纠正和协调处理。
4.1.2抽检员有权要求操作工对自检不合格的产品进行返工,并对返工产品进行记录、标识和复查,直至达到产品质量要求,否则不允许入库,对不合格的产品在交接班时要确保信息完全传达给下班次人员,以防不良品继续产生;4.1.3检验主管每天要将巡检报表收回并检查巡检记录的情况,对记录有不实或存在疑问则找相关质检员了解确认,如属工作粗心、失误、责任心不足则要求进行通报批评并,对多次未按检验工作指导执行人员将考虑换岗或其它处分;4.1.4各注塑工段完成品合格后,操作工应在产品外包上作好表示,才能转入下一道工序,注塑的成品、半成品、合格和不合格品等,应按规定的区域整齐放置,并按标识和可追溯性管理原则进行标识,检验员有权对过程进行控制和协调,对标识不规范有权要求员工整改或停机整顿。
4.2过程再确认:4.2.1 换料和换模后产品的检验和确认巡检过程中机台有换料、换模时,质检要按首件检验标准,逐项确认产品的外观、工程尺寸、性能强度和组件装配度等各项品质参数,调查和了解所用物料的批次是否发生变化,便于记录和预防不良的发生;4.2.2 修模后产品的检验和确认当模具发生异常维修结束上机试样时,质检要按首件检验标准,逐项确认产品的外观、工程尺寸、性能强度和组件装配度等各项品质参数,并对照前期样品,确认无误后方可投入批量生产,若模具属重大维修事项则由工艺组依照以上项目检查合格后方可批量生产,必要的时候还需进行长时间的验证跟踪;4.2.3 新人作业后产品的检验和确认当机台发生换人,新人作业等,领班、巡检必须加强巡检次数,明确告之产品的注意事项并确保员工全部理解,过程中反复检查新手作业熟练程度,发生异常要及时纠正,必要时候换熟练员工作业,保证品质的稳定性;4.2.4 停机后产品的检验和确认生产过程中,由于特殊原因等造成机台异常作业而重新开机生产,此时,机台的工作处于不稳定状态,巡检员要按首件检验标准,逐项确认产品的外观、工程尺寸、性能强度和组件装配度等各项品质参数,并对照前期样品,确定产品合格后方可批量生产,并持续跟进直到机台运行、产品质量趋于稳定为止;4.2.5 过程调机后产品的检验和确认生产过程中,产品发生变异,车间领班或车间主管重新调机,当改变机台成型参数而原问题得到克服后,巡检员要重新确认其他检验项目的品质是否出现变异,各种性能是否达到要求,如通过提高温度来克服产品外观不良是否会影响塑胶的物性而使产品变脆等,避免发生新的不良问题造成批量品质事故发生;4.2.6 交班过程产品的检验和确认车间在交班过程中,由于人员发生变动、新换材料未确认已到换班时间、上班次巡检员忘了彻底交接或其他原因等给机台生产埋下质量隐患,对可能造成批量质量事故的风险,接班巡检员除严格执行检验外,必须确认上班次的巡检表、自检表,了解材料使用情况等,及时熟悉上班次的品质情况,采取措施,确保对影响过程能力的变化及时做出反应。
上海金秋塑料制品有限公司
注塑车间质量控制流程
1、目的
为了确保对注塑产品质量有影响的各工序按规范作业,以保证这些检验处于受控状态。
保证产品的制造过程满足入库要求。
2、范围
适用于注塑车间产品生产过程中的质量控制。
3、职责
3.1.巡检员负责按订单要求或相应的工艺文件进行注塑过程的产品质量控制. 3.2抽检负责对当班的注塑产品入库前全面检查
3.3检验中如有疑问及争执,须由上级协调处理。
4.1 首检、记录和标识:
4.1.1注塑生产过程中,操作工必须做好自检记录,检验产品的外观,巡检员做好开机前产品的首件签字封样,并填写《首件检验报告》,生产过程中要按巡检员要求进行产品抽检工作,每次检验项目要完整,并同时对打包产品、作业台产品和机台随机产品三个环节进行验证,发现问题,及时纠正和协调处理。
4.1.2抽检员有权要求操作工对自检不合格的产品进行返工,并对返工产品进行记录、标识和复查,直至达到产品质量要求,否则不允许入库,对不合格的产品在交接班时要确保信息完全传达给下班次人员,以防不良品继续产生;
4.1.3检验主管每天要将巡检报表收回并检查巡检记录的情况,对记录有不实或存在疑问则找相关质检员了解确认,如属工作粗心、失误、责任心不足则要求进行通报批评并,对多次未按检验工作指导执行人员将考虑换岗或其它处分;
4.1.4各注塑工段完成品合格后,操作工应在产品外包上作好表示,才能转入下一道工序,注塑的成品、半成品、合格和不合格品等,应按规定的区域整齐放置,并按标识和可追溯性管理原则进行标识,检验员有权对过程进行控制和协调,对标识不规范有权要求员工整改或停机整顿。
4.2 过程再确认:
4.2.1 换料和换模后产品的检验和确认
巡检过程中机台有换料、换模时,质检要按首件检验标准,逐项确认产品的外观、工程尺寸、性能强度和组件装配度等各项品质参数,调查和了解所用物料的批次是否发生变化,便于记录和预防不良的发生;
4.2.2 修模后产品的检验和确认
当模具发生异常维修结束上机试样时,质检要按首件检验标准,逐项确认产品的外观、工程尺寸、性能强度和组件装配度等各项品质参数,并对照前期样品,确认无误后方可投入批量生产,若模具属重大维修事项则由工艺组依照以上项目检查合格后方可批量生产,必要的时候还需进行长时间的验证跟踪;
4.2.3 新人作业后产品的检验和确认
当机台发生换人,新人作业等,领班、巡检必须加强巡检次数,明确告之产品的注意事项并确保员工全部理解,过程中反复检查新手作业熟练程度,发生异常要及时纠正,必要时候换熟练员工作业,保证品质的稳定性;
4.2.4 停机后产品的检验和确认
生产过程中,由于特殊原因等造成机台异常作业而重新开机生产,此时,机台的工作处于不稳定状态,巡检员要按首件检验标准,逐项确认产品的外观、工程尺寸、性能强度和组件装配度等各项品质参数,并对照前期样品,确定产品合格后方可批量生产,并持续跟进直到机台运行、产品质量趋于稳定为止;
4.2.5 过程调机后产品的检验和确认
生产过程中,产品发生变异,车间领班或车间主管重新调机,当改变机台成型参数而原问题得到克服后,巡检员要重新确认其他检验项目的品质是否出现变异,各种性能是否达到要求,如通过提高温度来克服产品外观不良是否会影响塑胶的物性而使产品变脆等,避免发生新的不良问题造成批量品质事故发生;
4.2.6 交班过程产品的检验和确认
车间在交班过程中,由于人员发生变动、新换材料未确认已到换班时间、上班次巡检员忘了彻底交接或其他原因等给机台生产埋下质量隐患,对可能造成批量质量事故的风险,接班巡检员除严格执行检验外,必须确认上班次的巡检表、自检表,了解材料使用情况等,及时熟悉上班次的品质情况,采取措施,确保对影响过程能力的变化及时做出反应。
4.3 不良品处理流程:
4.3.1 让步放行
当生产急需而模具存在问题,工艺无法修正或过程控制疏忽造成批量问题产品发生时,严格执行放行评审流程,通过评估可以让步放行时,由车间经
理让步放行申请,经品质确认、上级审核后交相关领导批准后让步放行,相关主管落实责任并进行扣罚处理,未办理审批手续的待处理品质检不得放行,仓管不得入仓或转序;
4.3.2 返工重验
当过程控制疏忽或员工未按检验要求进行产品加工,造成批量不良需要加工处理时,由车间依照《注塑车间管理规定》安排员工在正常工作时间外进行产品返工,返工结束经过抽检员重验合格后方可开单入库或转序;
4.3.3 不良及报废处理
对产品的放行执行评审流程的有关规定,通过评审无法回用时,需执行报废或回收碎料处理,由生产车间申请,经相关领导签字确认,领导批准后方可报废或碎掉,重大不良事故必须请示总经理裁决处理。
4.4过程的改进:
4.4.1发现问题应及时纠正,进行分析、找出改进的方法,并按纠正和预防措施控制程序实施控制,联络车间处理,对未改善的机台、模具有权实行停机整改,直到问题解决后方可生产;
4.4.2 不良品的处理都必须落实责任,实施扣罚,并通过调查报告实施纠正预防措施,责令相关部门、人员改善,经品质部验证合格后方视为结案,过程的跟进和反馈由品质部负责安排落实,其他部门必须配合执行;
4.4.3 注塑过程的改进涉及到修改工艺文件或质量管理文件时应按照文件和资料管理程序的要求,针对发生的异常和过程发生失控的原因,探讨检验规范和作业指导书中的不足和漏箭项目,逐步完善过程控制文件,提高过程控制能力。
2014年12月20日。