脉冲输出控制步进电机接线
- 格式:pptx
- 大小:87.20 KB
- 文档页数:9
接线图适配驱动器电机型号 适配驱动器57HS04 DM422C/DM432C/DM556/DM856/M752/M542/M860/M880A/ MA550/MA860/H850/ND556/ND882/M415B/M32557HS0657HS0957HSM0957HS13DM556/DM856/M752/M542/M860/M880A/MA550/MA860/H850/ND556/ND88257HS22步进电机是一种专门用于位置和速度精确控制的特种电机。
步进电机的最大特点是其“数字性”,对于控制器发过来的每一个脉冲信号,步进电机在其驱动器的推动下运转一个固定角度(简称一步),如下图所示。
如接收到一串脉冲步进电机将连续运转一段相应距离。
同时可通过控制脉冲频率,直接对电机转速进行控制。
由于步进电机工作原理易学易用,成本低(相对于伺服)、电机和驱动器不易损坏,非常适合于微电脑和单片机控制,因此近年来在各行各业的控制设备中获得了越来越广泛的应用。
步进电机的种类和特点步进电机在构造上有三种主要类型:反应式(Variable Reluctance ,VR)、永磁式(PermanentMagnet,PM)和混合式(Hybrid Stepping,HS)。
* 反应式定子上有绕组、转子由软磁材料组成。
结构简单、成本低、步距角小,可达°、但动态性能差、效率低、发热大,可靠性难保证。
* 永磁式永磁式步进电机的转子用永磁材料制成,转子的极数与定子的极数相同。
其特点是动态性能好、输出力矩大,但这种电机精度差,步矩角大(一般为°或15°)。
* 混合式混合式步进电机综合了反应式和永磁式的优点,其定子上有多相绕组、转子上采用永磁材料,转子和定子上均有多个小齿以提高步矩精度。
其特点是输出力矩大、动态性能好,步距角小,但结构复杂、成本相对较高。
按定子上绕组来分,共有二相、三相和五相等系列。
最受欢迎的是两相混合式步进电机,约占97%以上的市场份额,其原因是性价比高,配上细分驱动器后效果良好。
用PLC控制步进电机的相关指令下面介绍的指令只适用于FX1S、FX1N系列的晶体管输出PLC,如高训的FX1N-60MT。
这些指令主要是针对用PLC直接联动伺服放大器,目的是可以不借助其他扩展设备(例如1GM模块)来进行简单的点位控制,使用这些指令时最好配合三菱的伺服放大器(如MR-J2)。
然而,我们也可以用这些指令来控制步进电机的运行,如高训810室的实验台架。
下面我们来了解相关指令的用法:1、脉冲输出指令PLSY(FNC57)PLSY指令用于产生指定数量的脉冲。
助记法为HZ、数目Y出来。
指令执行如下:2、带加减速的脉冲输出指令PLSR(FNC59)3、回原点ZRN(FNC156)--------重点撑握ZRN指令用于校准机械原点。
助记法为高速、减速至原点。
指令执行如下:4、增量驱动DRVI(FNC158)--------重点撑握DRVI为单速增量驱动方式脉冲输出指令。
这个指令与脉冲输出指令类似但又有区别,只是根据数据脉冲的正负多了个转向输出。
本指令执行如下:5、绝对位置驱动指令DRVA(FNC159)本指令与DRVI增量驱动形式与数值上基本一样,唯一不同之处在于[S1.]:在增量驱动中,[S1.]指定的是距离,也就是想要发送的脉冲数;而在绝对位置驱动指令中,[S1.]定义的是目标位置与原点间的距离,即目标的绝对位置。
下面以高训810室的设备为例,说明步进电机的驱动方法:在用步进电机之前,请学员考虑一下几个相关的问题:1、何谓步进电机的步距角?何为整步、半步?何谓步进电机的细分数?2、用步进电机拖动丝杆移动一定的距离,其脉冲数是如何估算的?3、在步进顺控中运用点位指令应注意什么?(切断电源的先后问题!)步进电机测试程序与接线如下:1、按下启动按钮,丝杆回原点,5秒钟后向中间移动,2秒后回到原点。
注:高训810步进电机正数为后退,Y2亮,负数为向前,Y2不亮。
向前方为向(3#带侧)运动为,向后为向(1#带侧)运动。
...步进电机驱动器控制信号接口说明驱动器是把计算机控制系统提供的弱电信号放大为步进电机能够接受的强电流信号,控制系统提供给驱动器的信号主要有以下三路: 1.步进脉冲信号CP:这是最重要的一路信号,因为步进电机驱动器的原理就是要把控制系统发出的脉冲信号转化为步进电机的角位移,或者说:驱动器每接受一个脉冲信号CP,就驱动步进电机旋转一步距角, CP的频率和步进电机的转速成正比, CP的脉冲个数决定了步进电机旋转的角度。
这样,控制系统通过脉冲信号CP就可以达到电机调速和定位的目的。
2.方向电平信号DIR:此信号决定电机的旋转方向。
比如说,此信号为高电平时电机为顺时针旋转,此信号为低电平时电机则为反方向逆时针旋转。
此种换向方式,我们称之为单脉冲方式。
另外,还有一种双脉冲换向方式:驱动器接受两路脉冲信号(标注为CW和CCW),当其中一路(如CW)有脉冲信号时,电机正向运行,当另一路(如CCW)有脉冲信号时,电机反向运行。
用户使用何种方式,由拨位开关设定。
3.使能信号EN:此信号在不连接时默认为有效状态,这时驱动器正常工作。
当此信号回路导通时,驱动器停止工作,这时电机处于无力矩状态(等同于本公司SH系列驱动器的FREE信号),此信号为选用信号。
为了使控制系统和驱动器能够正常的通信,避免相互干扰,我们在驱动器内部采用光耦器件对输入信号进行隔离,三路信号的内部接口电路相同,常用的连接方式为①共阳方式:把CP+、DIR+和EN+接在一起作为共阳端接外部系统的+5V,脉冲信号接入CP-端,方向信号接入DIR-端,使能信号接入EN-端;②共阴方式:把CP-、DIR-和EN-接在一起作为共阴端接外部系统的GND,脉冲信号接入CP+端,方向信号接入DIR+端,使能信号接入EN+端;③差动方式:直接连接。
驱动器输入信号内部接口示意图如果驱动器输入信号为电压信号,要求:3.6V≤高电平≤5.5V; -5.5V≤低电平≤0.3V,最常用的为TTL电平。
驱动器是把计算机控制系统提供的弱电信号放大为步进电机能够接受的强电流信号,控制系统提供给驱动器的信号主要有以下三路:1.步进脉冲信号CP:这是最重要的一路信号,因为步进电机驱动器的原理就是要把控制系统发出的脉冲信号转化为步进电机的角位移,或者说:驱动器每接受一个脉冲信号CP,就驱动步进电机旋转一步距角,CP的频率和步进电机的转速成正比,CP的脉冲个数决定了步进电机旋转的角度。
这样,控制系统通过脉冲信号CP就可以达到电机调速和定位的目的。
2.方向电平信号DIR:此信号决定电机的旋转方向。
比如说,此信号为高电平时电机为顺时针旋转,此信号为低电平时电机则为反方向逆时针旋转。
此种换向方式,我们称之为单脉冲方式。
另外,还有一种双脉冲换向方式:驱动器接受两路脉冲信号(标注为CW和CCW),当其中一路(如CW)有脉冲信号时,电机正向运行,当另一路(如CCW)有脉冲信号时,电机反向运行。
用户使用何种方式,由拨位开关设定。
3.使能信号EN:此信号在不连接时默认为有效状态,这时驱动器正常工作。
当此信号回路导通时,驱动器停止工作,这时电机处于无力矩状态(等同于本公司SH系列驱动器的FREE信号),此信号为选用信号。
为了使控制系统和驱动器能够正常的通信,避免相互干扰,我们在驱动器内部采用光耦器件对输入信号进行隔离,三路信号的内部接口电路相同,常用的连接方式为①共阳方式:把CP+、DIR+和EN+接在一起作为共阳端接外部系统的+5V,脉冲信号接入CP-端,方向信号接入DIR-端,使能信号接入EN-端;②共阴方式:把CP-、DIR-和EN-接在一起作为共阴端接外部系统的GND,脉冲信号接入CP+端,方向信号接入DIR+端,使能信号接入EN+端;③差动方式:直接连接。
驱动器输入信号内部接口示意图如果驱动器输入信号为电压信号,要求:3.6V≤高电平≤5.5V;-5.5V≤低电平≤0.3V,最常用的为TTL电平。
如果驱动器输入信号为电流信号,要求:7mA≤高电流≤18mA;-18mA≤低电流≤0.2mA。
2相四线,四相五线,四相六线步进电机接线及驱动方法分类:单片机2010-07-18 09:24 5085人阅读评论(9) 收藏举报步进电机原理按照常理来说,步进电机接线要根据线的颜色来区分接线。
但是不同公司生产的步进电机,线的颜色不一样。
特别是国外的步进电机。
那么,步进电机接线应该用万用表打表。
步进电机内部构造如下图:通过上图可知,A,~A是联通的,B和~B是联通。
那么,A和~A是一组a,B和~B是一组b。
不管是两相四相,四相五线,四相六线步进电机。
内部构造都是如此。
至于究竟是四线,五线,还是六线。
就要看A和~A之间,B和B~之间有没有公共端com抽线。
如果a组和b组各自有一个com端,则该步进电机六线,如果a和b组的公共端连在一起,则是5线的。
所以,要弄清步进电机如何接线,只需把a组和b组分开。
用万用表打。
四线:由于四线没有com公共抽线,所以,a和b组是绝对绝缘的,不连通的。
所以,用万用表测,不连通的是一组。
五线:由于五线中,a和b组的公共端是连接在一起的。
用万用表测,当发现有一根线和其他几根线的电阻是相当的,那么,这根线就是公共com端。
对于驱动五线步进电机,公共com端不连接也是可以驱动步进电机的。
六线:a和b组的公共抽线com端是不连通的。
同样,用万用表测电阻,发现其中一根线和其他两根线阻止是一样的,那么这根线是com端,另2根线就属于一组。
对于驱动四相六线步进电机,两根公共com端不接先也可以驱动该步进电机的。
步进电机相关概念相数:产生不同对极N、S磁场的激磁线圈对数。
常用m表示。
拍数:完成一个磁场周期性变化所需脉冲数或导电状态用n表示,或指电机转过一个齿距角所需脉冲数,以四相电机为例,有四相四拍运行方式即AB-BC-CD-DA-AB,四相八拍运行方式即A-AB-B-BC-C-CD-D-DA-A.步距角:对应一个脉冲信号,电机转子转过的角位移用θ表示。
θ=360度(转子齿数J*运行拍数),以常规二、四相,转子齿为50齿电机为例。
PLC高速脉冲输出控制步进电机1. 背景介绍步进电机是一种常见的电动机类型,它具有精准的位置控制和高速运动的特点。
在很多工业自动化应用中,步进电机常常需要与PLC(可编程逻辑控制器)配合使用,以实现精准的位置控制和高速脉冲输出。
本文档将介绍如何通过PLC实现高速脉冲输出控制步进电机的方法和步骤。
2. 所需材料在开始之前,我们需要准备以下材料:•PLC控制器•步进电机驱动器•步进电机•连接线•电源请确保以上材料齐全并符合各自的规格要求。
3. PLC高速脉冲输出控制步进电机的步骤步骤一:连接电源和PLC控制器首先,将电源连接到PLC控制器上。
确保电源的电压和PLC控制器的额定电压匹配。
然后将PLC控制器的电源线连接到电源上,并确保连接牢固。
步骤二:连接步进电机驱动器和PLC控制器将步进电机驱动器的电源线连接到电源上,并确保连接牢固。
然后,将步进电机驱动器的控制线连接到PLC控制器上,确保连接正确。
步骤三:连接步进电机和步进电机驱动器将步进电机的线束连接到步进电机驱动器上,确保连接正确。
根据步进电机的规格要求,选择正确的接线方法。
步骤四:PLC编程在PLC编程软件中进行编程,以实现高速脉冲输出控制步进电机。
以下是一个简单的PLC编程示例:BEGINVARmotor_output: BOOL := FALSE; -- 步进电机控制信号pulse_delay: TIME := T#10MS; -- 脉冲延迟时间,控制步进电机的速度END_VAR-- 主程序WHILE TRUE DO-- 输出一个脉冲信号控制步进电机运动motor_output := NOT motor_output;DELAY pulse_delay; -- 延迟一段时间,控制步进电机的速度END_WHILE;END;以上的PLC程序实现了一个简单的高速脉冲输出控制步进电机的功能。
在主程序中,通过循环不断地输出一个脉冲信号来控制步进电机的运动,同时通过调整延迟时间来控制步进电机的速度。
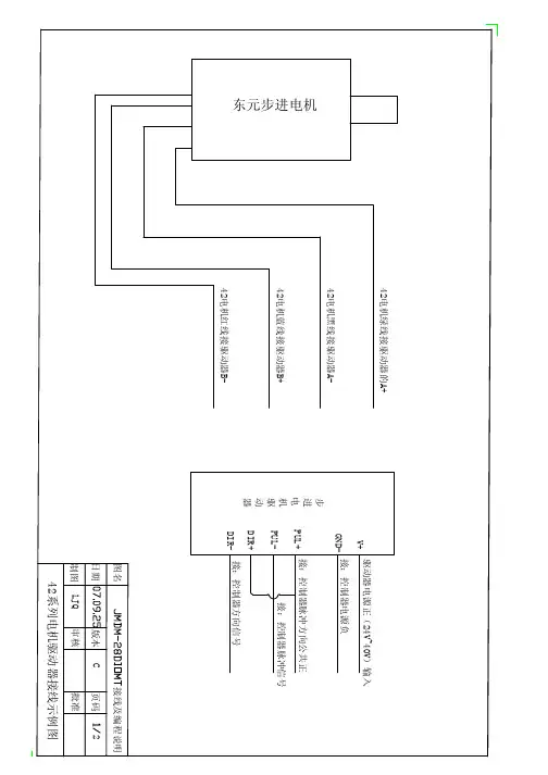
接线及编程说明
版本
审核42系列电机驱动器接线示例图
图名日期制图
LJQ C 批准
页码2
42电机绿线接驱动器的A+
42电机黑线接驱动器A-
42电机蓝线接驱动器B+
42电机红线接驱动器B-
东元步进电机
接:控制器脉冲方向公共正
PUL-
DIR+DIR-
PUL+
接:控制器脉冲信号
接:控制器方向信号
驱动器电源正(24V~40V )输入
GND-V+
接:控制器电源负
步进电机驱动器
串口控制步进电机及输入输出点接线说明
版本审核
图名日期制图LJQ C 批准
页码221234 56789101112131415161718
192021222324252627282930 拔码开关
串口用于程序下载
电源指示灯
电源指示灯
313233343536
2
1
21
指示灯
启动按钮停止按钮手动向左手动向右步进电机脉冲负步进电机方向负交流交流
交流交流
脉冲方向信号公共正
输出信号三输出信号四输出信号五输出信号六输出信号七输出信号八输出信号九输出信号十输出信号十一输出信号十二
输入五输入六输入七输入八输入九输入十输入十一输入十二输入十三输入十四输入十五输入十六。
∙o接线图适配驱动器电机型号 适配驱动器57HS04 DM422C/DM432C/DM556/DM856/M752/M542/M860/M880A/MA550/MA860/H850/ND556/ND882/M415B/M325 57HS06 57HS0957HSM0957HS13 DM556/DM856/M752/M542/M860/M880A/MA550/MA860/H850/ND556/ND882 57HS22步进电机是一种专门用于位置和速度精确控制的特种电机。
步进电机的最大特点是其“数字性”,对于控制器发过来的每一个脉冲信号,步进电机在其驱动器的推动下运转一个固定角度(简称一步),如下图所示。
如接收到一串脉冲步进电机将连续运转一段相应距离。
同时可通过控制脉冲频率,直接对电机转速进行控制。
由于步进电机工作原理易学易用,成本低(相对于伺服)、电机和驱动器不易损坏,非常适合于微电脑和单片机控制,因此近年来在各行各业的控制设备中获得了越来越广泛的应用。
∙步进电机的种类和特点步进电机在构造上有三种主要类型:反应式(Variable Reluctance ,VR)、永磁式(Permanent Magnet,PM)和混合式(Hybrid Stepping,HS)。
* 反应式定子上有绕组、转子由软磁材料组成。
结构简单、成本低、步距角小,可达1.2°、但动态性能差、效率低、发热大,可靠性难保证。
* 永磁式永磁式步进电机的转子用永磁材料制成,转子的极数与定子的极数相同。
其特点是动态性能好、输出力矩大,但这种电机精度差,步矩角大(一般为7.5°或15°)。
* 混合式混合式步进电机综合了反应式和永磁式的优点,其定子上有多相绕组、转子上采用永磁材料,转子和定子上均有多个小齿以提高步矩精度。
其特点是输出力矩大、动态性能好,步距角小,但结构复杂、成本相对较高。
按定子上绕组来分,共有二相、三相和五相等系列。
海为一路脉冲控制两台步进电机
发布人:厦门海为科技有限公司
一、引言
海为S系列PLC有一路的高速脉冲输出,一般情况下只能控制一台步进电机进行工作。
但是为了充分利用资源节约成本,可以利用正转/反转输出脉冲的模式再增加两个输出端来控制两台步进电机进行工作。
正转脉冲和反转脉冲分别接的是两台步进电机的脉冲输入端口,而两台步进电机的方向则通过其它输出端口进行控制。
这样就实现了通过一路正转/反转脉冲输出来控制两台步进电机的功能。
l 适用条件:两台步进电机(脉冲+方向)分时工作(不可同时工作)
二、硬件连接示意图及配置
1、PLC与步进电机的硬件连接图如下所示。
2、在PLC硬件配置中,脉冲输出通道号的输出模式必须改成“2-正转/反转脉冲”
三、PLC程序示例
下面是根据上述思路,对两台步进电机进行简单的正反转控制示例
步进电机1正反转:
PauF端:输出频率,PauN端:脉冲输出的个数(必须为正,表示控制电机1)
Y2是控制步进电机1的正反转,Y2失电时,步进电机1正转;Y2得电时,步进电机1反转。
步进电机2正反转:
PauF端:输出频率,PauN端:脉冲输出的个数(必须为负,表示控制电机2)
Y3是控制步进电机1的正反转,Y3失电时,步进电机2正转;Y3得电时,步进电机2反转。
四、总结
通过一路的高速脉冲输出达到可以控制两台步进电机进行分时工作的目的。
不足之处在于不能控制两台步进电机同时进行工作。
接线图适配驱动器电机型号 适配驱动器57HS04 DM422C/DM432C/DM556/DM856/M752/M542/M860/M880A/MA550/MA860/H850/ND556/ND882/M415B/M32557HS0657HS0957HSM0957HS13DM556/DM856/M752/M542/M860/M880A/MA550/MA860/H850/ND556/ND88257HS22步进电机是一种专门用于位置和速度精确控制的特种电机;步进电机的最大特点是其“数字性”,对于控制器发过来的每一个脉冲信号,步进电机在其驱动器的推动下运转一个固定角度简称一步,如下图所示;如接收到一串脉冲步进电机将连续运转一段相应距离;同时可通过控制脉冲频率,直接对电机转速进行控制;由于步进电机工作原理易学易用,成本低相对于伺服、电机和驱动器不易损坏,非常适合于微电脑和单片机控制,因此近年来在各行各业的控制设备中获得了越来越广泛的应用;步进电机的种类和特点步进电机在构造上有三种主要类型:反应式Variable Reluctance,VR 、永磁式Permanent Magnet,PM 和混合式Hybrid Stepping,HS;反应式定子上有绕组、转子由软磁材料组成;结构简单、成本低、步距角小,可达°、但动态性能差、效率低、发热大,可靠性难保证;永磁式永磁式步进电机的转子用永磁材料制成,转子的极数与定子的极数相同;其特点是动态性能好、输出力矩大,但这种电机精度差,步矩角大一般为°或15°;混合式混合式步进电机综合了反应式和永磁式的优点,其定子上有多相绕组、转子上采用永磁材料,转子和定子上均有多个小齿以提高步矩精度;其特点是输出力矩大、动态性能好,步距角小,但结构复杂、成本相对较高;按定子上绕组来分,共有二相、三相和五相等系列;最受欢迎的是两相混合式步进电机,约占97%以上的市场份额,其原因是性价比高,配上细分驱动器后效果良好;该种电机的基本步距角为°/步,配上半步驱动器后,步距角减少为°,配上细分驱动器后其步距角可细分达256倍°/微步;由于摩擦力和制造精度等原因,实际控制精度略低;同一步进电机可配不同细分的驱动器以改变精度和效果;雷赛步进电机系列雷赛两相、三相混合式步进电机,采用优质冷轧钢片和耐高温永磁体制造,产品规格涵盖35-13 0范围;具有温升低、可靠性高的特点,由于其具有良好的内部阻尼特性,因而运行平稳,无明显震荡区;可满足不同行业、不同环境下的使用需求;雷赛采用专利技术研发的三相步进电机驱动系统,更好地解决了传统步进电机低速爬行、有共振区、噪音大、高速扭矩小、起动频率低和驱动器可靠性差等缺点,具有交流伺服电机的某些运行特性,其运行效果可与进口产品相媲美;两相步进电机命名规则<>上例表示机座号为57mm,两相混合式,步距角为度,扭矩,设计序号01,单边出轴的电机;三相步进电机命名规则<>上例表示机座号为57mm,三相混合式,步距角为度,扭矩,设计序号01,单边出轴的电机;两相步进电机选型列表相数 外型 型号静扭矩NM 步距角o 引线数相电流电阻Ω电感m H长度Lmm转子惯量重量kg适配驱动器 串联 并联二相 3535HS014352812M415B/DM320/M32539 39HS024 15 16 34 20M415B/DM320/M32542 42HS024 21 40 57DM320/DM422C/DM432C/DM556/DM856/ND556/ M415B/M32542HS038 48 8257 57HS068 55 145DM422C/DM432C/DM556/DM856/M752/M542/M860/M880A/MA550/MA860/H850/ND556/ND882/M415B/M32557HS098 54 26057HS138 76 46057HS228 76 4808686HS35 8 65 800DM556/DM856/M752/86HS38 8 71 1200M860/M880A/MA550/MA860/H850/MA860H/ND882/ND1182/ND2282/M535/MD227886HS458 140086HS858 118 2800110 110HS1212 4 15 99 5500MA860H/ND1182/ND2282/MD2278110HS2020 4 150 11000MA860H/ND1182/ND2282/MD2278130 130HS2727 4 227 35000 13 ND2282/MD2278 130HS4545 4 283 48400 19 ND2282/MD2278三相步进电机选型列表相外型号静扭步距引相电流电阻电感mH长度Lm转子惯量重量kg 适配驱动器数型矩NM 角o 线数串联并联Ωm三相57573S05 6 50 1103DM683/3ND583/3ND883 573S09 6 56 3003DM683/3ND583/3ND883 573S15 6 76 4803DM683/3ND583/3ND883 86863S22 6 71 11003DM683/3ND583/3ND883/3ND1183/3ND2283863S42 6 103 2320863S68H6 33 135 3300怎样选择步进电机和驱动器判断需多大力矩:静扭矩是选择步进电机的主要参数之一;负载大时,需采用大力矩电机;力矩指标大时,电机外形也大;判断电机运转速度:转速要求高时,应选相电流较大、电感较小的电机,以增加功率输入;且在选择驱动器时采用较高供电电压;选择电机的安装规格:如57,86,110等,主要与力矩要求有关; 确定定位精度和振动方面的要求情况:判断是否需细分,需多少细分;根据电机的电流、细分和供电电压选择驱动器;。
步进驱动器接线图
步进驱动器
步进电机驱动器是一种将电脉冲转化为角位移的执行机构。
当步进驱动器接收到一个脉冲信号,它就驱动步进电机按设定的方向转动一个固定的角度(称为“步距角”),它的旋转是以固定的角度一步一步运行的。
可以通过控制脉冲个数来控制角位移量,从而达到准确定位的目的;同时可以通过控制脉冲频率来控制电机转动的速度和加速度,从而达到调速和定位的目的。
步进驱动器接线图
1、共阳极接法,共阴检接法和差分方式接法。
步进电机原理按照常理来说,步进电机接线要根据线的颜色来区分接线。
但是不同公司生产的步进电机,线的颜色不一样。
特别是国外的步进电机。
那么,步进电机接线应该用万用表打表。
步进电机内部构造如下图:通过上图可知,A,~A是联通的,B和~B是联通。
那么,A和~A是一组a,B和~B是一组b。
不管是两相四相,四相五线,四相六线步进电机。
内部构造都是如此。
至于究竟是四线,五线,还是六线。
就要看A和~A之间,B和B~之间有没有公共端com抽线。
如果a组和b组各自有一个com端,则该步进电机六线,如果a和b组的公共端连在一起,则是5线的。
所以,要弄清步进电机如何接线,只需把a组和b组分开。
用万用表打。
四线:由于四线没有com公共抽线,所以,a和b组是绝对绝缘的,不连通的。
所以,用万用表测,不连通的是一组。
五线:由于五线中,a和b组的公共端是连接在一起的。
用万用表测,当发现有一根线和其他几根线的电阻是相当的,那么,这根线就是公共com端。
对于驱动五线步进电机,公共com端不连接也是可以驱动步进电机的。
六线:a和b组的公共抽线com端是不连通的。
同样,用万用表测电阻,发现其中一根线和其他两根线阻止是一样的,那么这根线是com端,另2根线就属于一组。
对于驱动四相六线步进电机,两根公共com端不接先也可以驱动该步进电机的。
步进电机相关概念:相数:产生不同对极N、S磁场的激磁线圈对数。
常用m表示。
拍数:完成一个磁场周期性变化所需脉冲数或导电状态用n表示,或指电机转过一个齿距角所需脉冲数,以四相电机为例,有四相四拍运行方式即AB-BC-CD-DA-AB,四相八拍运行方式即A-AB-B-BC-C-CD-D-DA-A.步距角:对应一个脉冲信号,电机转子转过的角位移用θ表示。
θ=360度(转子齿数J*运行拍数),以常规二、四相,转子齿为50齿电机为例。
四拍运行时步距角为θ=360度/(50*4)=1.8度(俗称整步),八拍运行时步距角为θ=360度/(50*8)=0.9度(俗称半步)。
步进驱动器:(DX-DM285A,50V驱动,AC-15V-60V,DC-20V-80V):
细分选择:【8细分】SW5=1、SW6=1、SW7=0、SW8=0
等于1600步一圈,即1600个脉冲一圈
半流选择:【半流】SW4=1
电流选择:【3.5A】SW1=1、SW2=1、SW3=0
步进电机接线:是【共阳极输入】还是【共阴极输入】
阳极输入:cp+接VCC即接高电平,cp-输入低电平时有效。
阴极输入:cp-接GND即接地,cp+输入高电平时有效。
检测步进电机的输入、输出:
【电机输入】:CP-脉冲,用示波器看TIG控制盒是否有脉冲发到驱动器的CP端口,如果没有检测到,再考虑将TIG与CP连接线都脱掉,直接用示波器查看
TIG控制盒是否有脉冲发出。
DIR-方向,要么高电平要么低电平,去除干扰可以选悬空。
RST-使能,允许/禁止,去除干扰可以先悬空(即允许),如果悬空电机能动起来,证明电机是好的,问题出在了使能信号上,再往上查看看使能是
谁给出的。
注意:如果上述单独测试CP的脉冲信号过来了,电机还是不转,就检测是不是电机或驱动器坏了。
【电机输出】:AC1、AC2 接50V交流电
A+、A- :万用表测试它们之间是否是通路(断电情况下),如果是通路,则表示从电机到驱动器接线是正确的。
B+、B- :万用表测试它们之间是否是通路(断电情况下),如果是通路,则表示从电机到驱动器接线是正确的。
如果电机运行方向不正确,【电机A 相A+、A-互调】或【电机B相B+、B- 互调】,可更换电机运转方向。