场地污染评估、调查、与修复技术路线
- 格式:pdf
- 大小:375.39 KB
- 文档页数:12
场地污染修复、调查、与评估中国科学院广州化学研究所分析测试中心卿工--189-3394-63431.调查评估要点(一)调查范围调查范围原则上为疑似污染地块的边界范围内。
可根据实际情况扩大到地块边界以外:如地块边界附近土壤可能受到本地块污染的,需确定地块地下水污染范围的,地块周边存在环境敏感目标的(如学校、居民区等)等情形。
(二)布点要求布点是土壤环境调查的关键环节。
布点不当可能发现不了污染,造成误判。
布点数量应当综合考虑代表性和经济可行性原则。
鉴于具体地块的差异性,布点的位置和数量应当主要基于专业的判断。
原则上:初步调查阶段,地块面积≤5000m2,土壤采样点位数不少于3个;地块面积>5000m2,土壤采样点位数不少于6个,并可根据实际情况酌情增加。
详细调查阶段,对于根据污染识别和初步调查筛选的涉嫌污染的区域,土壤采样点位数每400m2不少于1个,其他区域每1600m2不少于1个。
地下水采样点位数每6400m2不少于1个。
有以下情形的,可根据实际情况加密布点,如污染历史复杂或信息缺失严重的,水文地质条件复杂的等。
(三)土壤污染物的检测项目漏检污染项目可能发现不了污染,造成误判。
土壤中污染物的检测项目原则上应当根据保守原则确定。
疑似污染地块内可能存在的污染物及其在环境中转化或降解产物均应当考虑纳入检测范畴。
(四)水文地质和土壤理化性质调查水文地质条件关系污染物在土壤和地下水中的迁移、转化和分布。
需要调查:地块土层结构及分布、地下水位、地下水垂向水力梯度、地下水水平流速及流向等。
土壤的具体理化性质是风险评估的重要参数。
需要调查:土壤有机质含量、容重、含水率、土壤孔隙率、渗透系数等。
(五)实验室检测原始数据管理检测数据的真实性、可靠性是调查评估的基础。
参与土壤环境调查评估的实验室,应当保存所有样品检测的原始数据(包括电子数据)以备检查,原则上至少保存20年。
(六)风险评估要点1.建立污染地块概念模型概念模型的内容包括污染来源、潜在受体以及暴露途径(即污染到达受体的途径)。
场地调查风险评估与修复工作流程!
1.数据收集与分析:
在开始场地调查和评估前,需要收集相关数据,包括场地的历史数据、地质地貌和气象条件等信息,以便综合分析和评估风险。
2.现场勘查与调查:
组织专业的团队进行现场勘查和调查工作,包括对土壤、水源、空气、植被等进行采样和测试,分析各种潜在的污染源和环境问题。
3.风险评估:
基于收集的数据和调查结果,进行风险评估,包括对可能存在的物理、化学、生物等因素进行分析和评估,确定各种潜在的风险及其可能对项目
造成的影响。
4.风险分类与等级:
将评估出的风险进行分类和等级划分,区分出高、中、低等级的风险,并确定每个风险等级的修复和改进措施。
5.修复与改进计划:
根据风险等级,制定相应的修复和改进计划,包括修复的时间、方式、方法等,确保项目的成功实施和顺利进行。
6.执行修复计划:
实施修复计划,并监督和检查实施过程,确保按照计划进行修复和改
进工作,及时解决问题。
7.监测与评估:
在完成修复和改进工作后,进行监测和评估,检查修复效果和改进的成果,并对项目进行验证和确认。
8.持续管理与修复:
项目完成后,需要进行持续的管理和修复工作,定期进行场地检查、巡视和维护,确保项目的可持续发展和良好运营。
以上是场地调查、风险评估与修复工作流程的主要步骤,不同项目可能会有细微差异,但整体工作流程相似。
通过这个工作流程,可以全面了解场地的状况和潜在的风险,并采取相应的措施进行修复和改进,确保项目的安全可行性,为项目的成功实施奠定基础。
工业企业场地污染调查与修复污染场地对生态环境、食品安全和人体健康构成了严重的威胁,对工业企业场地污染展开调查和修复十分必要。
本文结合某工业企业遗留场地实例,对该场地污染的调查评估以及相应修复方案展开了详细的介绍。
标签:工业企业;场地污染;调查;修复随着我国工业化进程的不断推进以及城市建设的快速发展,导致许多工业企业搬迁、关停,这些企业腾出的场地将被用作城市建设开发。
但是,许多工业企业场地污染严重,若不妥善处理,将严重威胁到居民和环境的健康。
因此,对工业企业场地污染调查与修复展开探讨具有十分重要的意义。
1.样品采集与评估方法1.1调查场地概况本文研究场地为某工业企业搬迁遗留场地,占地面积2500m2,主要从事纺织粘合剂生产。
该场地的平面布局和样点布置如图1所示,主要构筑物包括生产车间、原料仓库、成品仓库、污水处理设施和空桶堆场,现已拆除,未来场地土地利用类型将调整为商业和居住用地。
1.2场地环境污染初步分析1.2.1场地污染识别和关注区域根据现场踏勘,生产车间地面硬化破损严重,防渗措施较差,原料仓库、成品仓库和空桶堆场地面硬化年久失修,有明显破损裂纹,物料跑冒滴漏,可能造成土壤和地下水污染。
地埋式污水管网和处理装置使用多年,其下层土壤和地下水极易受到污染,是关注的重点。
1.2.2场地污染物识别本研究场地主要从事粘合剂生产,使用化工原料主要是苯、甲苯、1,2-二氯乙烷、三氯甲烷等,因此重点关注的污染物主要为苯、甲苯、1,2-二氯乙烷、三氯甲烷和总石油烃。
1.2.3地层结构和水文试验本研究场地土层自上而下依次为杂填土(0~1.2m)、黏土(1.2~5.7m)、粉质黏土(5.7~7.0m),粉砂土(7.0~10.1m),土壤颗粒以粉粒(0.075~0.005)为主,形状从松散到硬塑,密度较大,天然含水率为22.8%~23.6%。
浅层承压层地下水位埋深在-7.0m左右,流向大致呈东南向西北方向,土壤渗透系数5.221m/d,导水系数43.334m2/d,有机质含量0.256%。
污染场地修复总体思路
完整的污染场地修复过程可分为场地调查、风险评估、场地修复三大部分。
场地环境调查的主要目的是通过资料收集、现场踏勘和人员访谈、现场监测确定污染物种类、程度和范围,初步判断场地的污染情况。
污染场地风险评估主要是在地环境调查结果的基础上确定场地
污染是否存在潜在健康风险及健康风险的大小和分布,通过风险评估,如果确定存在健康风险,污染场地应该进行修复。
场地修复包括修复可行性研究、修复工程的初步设计和详细设计、工程实施、施工监理和后评估等过程。
作为确定场地污染状况的有力手段场地环境监测工作贯穿污染场地修复的全过程。
污染场地修复可行性研究包括确定预修复目标、技术预评估、筛选评价修复技术、集成修复技术、确定修复技术的工艺参数、制定修复监测计划、估算污染土壤体积,分析经济-效益、评价修复工程的
环境影响、制定安全防护计划、安排修复进度和编制可行性研究报告等内容。
修复工程的初步设计和详细设计、工程实施、施工监理和后评估属于工程分析、工程施工和工程后评估的内容。
场地调查、风险评估与修复工作流程场地污染往往是“看不见的污染”,一旦污染,其修复既费时间又耗费大量资金。
土壤污染防治攻坚战的战斗核心依然是污染修复。
我国土壤修复的难点在于开发符合我国国情的调查和修复技术体系,重点在于场地调查的全面性、风险评估的准确性、修复技术的可靠性。
一、场地调查场地调查是场地修复成功的基础,不合适的概念模型是导致修复失败的主要原因。
在场地调查中,较准确地确定污染源、污染扩散途径、污染物分布和受体关系,才能制定更经济有效的修复方案。
现阶段我国场地污染调查阶段投入的人力和资金往往十分不足,存在较为严重的重修复轻调查现象。
场地调查,分为初步调查和详细调查两个阶段。
实施步骤一般包括资料搜集、现场踏勘、人员访谈、初步采样分析等。
搜集场地有关文件、历史档案、照片等资料,有助于了解场地污染的历史情况;现场踏勘目的在于核实已搜集到的资料,了解污染现状,包括周边敏感点等;人员访问是为了进一步考证已有资料。
而后,制定采样计划并现场采样,分析整理监测结果,最后形成初步调查报告和详细调查报告。
如果缺乏细致的场地调查数据,复杂场地的修复效果可能收效甚微。
目前美国场地调查先进技术包括概念模型、土壤采样统计学、地下水采样及监测井优化、三元现场决策法、基于决策的场地调查、高精度技术、环境法医学、场地修复地质学、水文学和环境生物分子诊断等。
传统的调查方式是透过有限的钻孔取样或MIP来推测可能的分布情况,通过点和点之间的结果的关联来推估污染分布的范围、深度等信息;地球物理探勘方法是透过非破坏性的方式,对地底下的填埋物和地层构造做量测,除了不须钻孔的特点之外,还能透过大范围的量测得到连续性的剖面数据。
这些传统的探矿方法用于场地环境调查可以实现:(1)查明工作区地下管线平面位置、走向、埋深等基本情况;(2)结合高密度电阻率法,探地雷达法及感应电磁法可以有效的初步查清土壤污染羽,垂直分布范围及深度等信息,确定可能的高浓度污染物区域;(3)通过高密度电阻率法结果能准确分辨出地表附近地层结构以及潜水面的位置;(4)利用微地震和大地电阻法可以探测深层污染的分布,如石油开发对地下水环境的影响等。
土壤修复工程程序及修复技术概述土壤污染常见修复技术国内现阶段常见修复技术主要包括工程修复技术、物理-化学修复技术、生物修复技术和联合修复技术等.1、土壤的工程修复技术主要包括排土、换土、去表土、客土和深耕翻土等措施。
2、物理-化学修复技术主要包括:热处理技术、土壤固化—稳定化技术、淋洗技术、氧化还原技术、电动力学修复技术和土壤性能改良技术等。
3、生物修复技术包括植物修复、微生物修复、生物联合修复等技术.4、联合修复技术主要包括微生物/动物-植物联合修复技术、化学/物化-生物联合修复技术、物理—化学联合修复技术等.土壤修复工程流程污染场地修复的工作内容包括污染土壤评估、修复技术选择与方案制定、施工管理与运行、后续监测与修复效果评价四个部分。
1、污染土地评估主要包括污染场地资料收集与调查、现场踏勘、布点与采样、样品检测与分析和风险评估。
2、修复技术选择与方案制定.3、施工管理与运行主要包括详细修复方案制定、修复工程设计与施工、修复工程运行与维护和污染土壤清理。
4、后续监测与修复效果评价。
后附土壤修复工程流程及修复方法概述目录1 第一阶段污染土地评估 .。
.。
...。
.。
..。
.......。
..。
.。
.。
.。
.。
...。
.。
.。
.。
..。
.。
.。
..。
.. 21.1污染场地资料收集与调查 .。
...。
..。
...。
..。
.。
....。
.。
.。
..。
.。
.。
..。
.。
.。
.。
.。
.。
..。
.。
.。
.。
21。
2现场踏勘。
..。
..。
.。
.。
.。
..。
..。
..。
.。
...。
.。
.。
.。
..。
.。
.。
..。
.。
.。
.。
..。
.....。
..。
..。
.。
......。
31。
3 布点与采样。
.。
.。
.。
..。
.。
.。
..。
..。
.。
.。
..。
.。
.。
.。
..。
.。
.。
.。
.。
.。
.。
.。
.....。
..。
.。
..。
.。
41.4 样品检测与分析 ..。
.。
..。
.。
.。
.。
.。
.。
.。
.。
...。
.。
..。
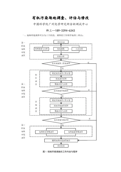
场地污染调查方案篇一:焦化厂场地环境调查与风险评估工作流程焦化厂场地环境调查工作流程1. 技术路线通过对焦化厂特定的行业进行资料收集、现场踏勘、人员访谈等污染识别,现场布点、采样分析,确定焦化场地土壤是否受到污染,污染程度及范围,是否需要进行风险评估等,工作顺序为场地环境调查与风险评估。
场地环境调查根据《场地环境调查技术导则》与《污染场地风险评估技术导则》,场地环境调查可分为三个阶段,其中第一、二阶段为定性评估阶段,第三阶段为定量评估阶段。
第一阶段场地环境调查是以资料收集、现场踏勘和人员访谈为主的污染识别阶段,原则上不进行现场采样分析。
若第一阶段调查确认场地内及周围区域当前和历史上均无可能的污染源,则认为场地的环境状况可以接受,调查活动可以结束。
第二阶段场地环境是否污染确认阶段是以采样分析为主的污染证实阶段,若第一阶段场地环境调查表明场地内或周围区域存在可能的污染源,或者由于资料缺失等原因造成无法排除场地内外存在污染源时,作为潜在污染场地进行第二阶段场地环境调查,确定污染物种类、污染程度和空间分布。
该阶段通常可以分为初步采样分析和详细采样分析,每一步均包括制定工作计划、现场采样、数据评估和结果分析等步骤。
根据初步采样分析结果,如污染物浓度均未超过国家和地方等相关标准及背景点浓度,并且经过不确定分析确认不需要进一步调查后,第二阶段场地环境调查工作可以结束;否则认为可能存在环境风险,需要进行详细调查,在初步采样分析的基础上,进一步采样和分析,确认场地污染程度和范围。
若场地需要进行风险评估或土壤修复时,则需要进行第三阶段场地环境调查。
本阶段以补充采样和测试为主,获得满足风险评估所需要的参数,提出详细的污染程度评估及污染范围界定,并提出治理目标与推荐治理方案。
本阶段调查工作可以单独进行,也可以在第二阶段调查过程中同时展开。
第一阶段场地环境调查第二阶段场地环境调查第三阶段场地环境调查图1 场地环境调查的工作内容与程序风险评估污染场地风险评估工作内容包括危害识别、暴露评估、毒性评估、风险表征,以及土壤和地下水风险控制值的计算。
场地环境调查及修复备案流程广西诺世泰环保科技有限公司二〇一九年三月场地环境调查及修复备案流程一、场地环境调查、污染场地风险评估及污染场地治理修复(一)场地环境调查和污染场地风险评估场地土地使用权人等相关责任人委托专业单位对场地进行环境调查和风险评估。
调查评估工作开始前,调查评估单位制定调查评估方案。
调查评估工作完成后,调查评估单位编制场地环境调查报告和污染场地风险评估报告,若场地存在不可接受的污染风险,则需对场地进行风险管控或修复。
(二)污染场地治理修复1.污染场地治理修复工程实施修复工程实施前,场地土地使用权人等相关责任人应当委托专业单位编制污染场地修复技术方案。
场地土地使用权人等相关责任人应当委托专业单位对污染场地实施修复。
修复工程开工前,实施单位应当编制污染场地修复实施方案。
修复工程竣工后,实施单位应当编制污染场地修复工程竣工报告。
2.污染场地治理修复工程环境监理场地土地使用权人等相关责任人应当委托专业单位对污染场地修复工程进行环境监理。
修复工程开工前,监理单位应当编制污染场地修复工程环境监理方案。
修复工程竣工后,监理单位应当编制污染场地修复工程环境监理报告。
修- 2 -复工程需要分项或分阶段实施的,应当在每个分项或分阶段工程完工后,编制分项或分阶段污染场地修复工程环境监理报告。
工程全部完工后,编制污染场地修复工程总体环境监理报告。
3.污染场地治理修复工程验收场地土地使用权人等相关责任人应当委托第三方专业单位对修复工程的修复效果进行验收。
参与修复工作的技术方案编制、工程实施、工程环境监理等单位不能作为工程验收单位。
修复工程开工前,验收单位应当编制污染场地修复工程验收方案。
修复工程验收完成后,验收单位应当编制污染场地修复工程验收报告。
修复工程需要分项或分阶段实施的,应当在每个分项或分阶段工程验收完成后,编制分项或分阶段污染场地修复工程验收报告。
工程验收全部完成后,编制污染场地修复工程总体验收报告。
XXX污染场地环境修复技术方案编制单位:XXX公司二〇一六年十月项目名称:XXX污染场地环境修复技术方案委托单位:XXX公司编制单位:XXX公司项目负责人:参与人员:目录第一章总论 (1)1.1 项目背景 (1)1.2 编制依据 (1)1.2.1 法律法规及相关政策 (1)1.2.2 技术导则及规范 (2)1.2.3 相关技术资料 (3)1.3 编制目的 (3)1.4 编制原则 (3)1.5 编制内容 (4)1.6 编制范围 (5)1.7 技术路线 (5)第二章场地自然概况 (7)2.1 场地地理位置 (7)2.2 自然环境概况 (8)2.2.1 区域自然环境概况 (8)2.2.2 场地自然环境状况 (9)2.3 场地所在区域社会环境概况 (17)2.4 场地所在区域的敏感目标 (18)2.5 场地使用历史和场地现状 (19)2.5.1 场地历史使用情况 (19)2.5.2 场地现状 (21)2.6 场地未来规划 (22)2.7 场地地下水利用规划 (22)2.8 场地环评报告及其批复情况 (23)第三章前期调查总结 (24)3.1 土壤情况介绍 (24)3.1.1 土壤采样情况介绍 (24)3.1.2 土壤污染特征 (24)3.1.3 场地土壤风险状况 (24)3.1.4 关注污染物及修复目标 (25)3.1.5 场地土壤修复范围 (26)3.1.6 场地土壤修复工程量 (29)3.2 地下水情况介绍 (30)3.2.1 地下水采样情况介绍 (30)3.2.2 地下水污染特征 (30)3.2.3 场地地下水风险状况 (31)3.2.4 关注污染物及修复目标值 (31)3.2.5 场地地下水修复范围 (32)3.2.6 场地地下水修复工程量 (33)第四章筛选与评估场地修复技术 (34)4.1 修复相关技术条件分析 (34)4.1.1场地用地规划 (34)4.1.2场地开发建设计划 (35)4.1.3场地污染特征 (35)4.1.4场地土层分析及岩性 (37)4.1.5场地修复施工条件 (37)4.2场地土壤常用修复技术 (38)4.2.1 苯系物及氯代有机物污染土壤常用修复技术简介 (38)4.2.2 石油烃类污染土壤常用修复技术简介 (45)4.3 场地地下水常用修复技术 (45)4.3.1 抽出处理技术 (45)4.3.2 渗透性反应墙技术 (47)4.3.3 化学氧化技术 (48)4.3.4 监控式自然衰减技术 (49)4.3.5 原位阻隔技术 (50)4.4 场地土壤及地下水修复技术筛选 (51)4.4.1 苯系物及氯代有机物污染土壤修复技术筛选 (51)4.4.2 石油烃类污染土壤修复技术筛选 (54)4.4.3 场地地下水修复技术筛选 (56)4.4.4 修复策略确定 (58)4.4.5修复技术筛选小结 (59)4.5 修复技术可行性评估 (59)4.5.1 土壤修复技术可行性评估 (59)4.5.2 地下水修复技术可行性评估 (83)4.6 修复可行性技术确定 (86)第五章形成修复备选方案与方案比选 (87)5.1 形成潜在可行性的修复备选方案 (87)5.2 备选方案一 (87)5.2.1 技术路线 (87)5.2.2 工程设计 (88)5.2.3处置后土壤再利用建议 (108)5.2.4 工作量估算 (108)5.2.5 成本与周期估算 (109)5.3备选方案二 (111)5.3.1 技术路线 (111)5.3.2水泥厂的介绍 (113)5.3.3 工程设计 (116)5.3.4 污染地下水抽出处置 (123)5.3.5 基坑侧壁及坑底验收 (126)5.3.6 工作量估算 (129)5.3.7 成本与周期估算 (130)5.4 方案比选 (131)5.4.1 比选方法指标 (131)5.4.2 比选指标比较 (133)5.4.3 比选结果与方案选择 (135)第六章修复工程环境管理计划 (136)6.1场地环境敏感点及其环境保护要求 (136)6.2 环境影响分析 (137)6.2.1 大气环境影响 (137)6.2.2 水环境影响 (137)6.2.3 噪声环境影响 (137)6.2.4 固体废弃物环境影响 (137)6.2.5 地下水环境影响 (137)6.3 环境保护措施和二次污染防范 (138)6.3.1 土壤二次污染的防治 (138)6.3.2 针对挥发性有机物大气污染的防治 (138)6.3.3 地表水污染的防治 (142)6.3.4 地下水污染防治 (143)6.3.5 噪声污染防治 (144)6.3.6 固体废物的污染防治 (144)6.4 环境影响监测 (144)6.4.1 大气污染监测 (145)6.4.2 废水回用监测 (148)6.4.2 地下水监测 (149)6.4.3 噪声监测 (152)6.5 环境应急预案 (153)6.5.1 总则 (153)6.5.2 适用范围 (153)6.5.3 应急组织机构、人员和职责 (153)6.5.4 应急流程 (154)6.5.5 危险事故分析 (154)6.5.6 污染事故应急预案 (155)6.5.7 修复处置现场重大污染事故应急预案 (155)6.6.8 人员中毒事故应急预案 (156)6.6.9 劳动保护和个人防护 (156)6.6.10 消防应急预案 (163)6.6.11 应急装备 (164)6.7 雨季(台风)施工措施 (164)第七章环境监理与工程验收 (166)7.1 环境监理 (166)7.1.1 工作程序 (166)7.1.2 工作内容 (168)7.1.3 工作要点 (168)7.1.4 工作方法 (169)7.1.5 工作制度 (170)7.1.6 能力要求 (171)7.2 施工场地环境监控 (172)7.3 治理过程环保监理 (174)7.4 项目后期环境监测与评估 (174)7.5 项目验收 (175)7.5.1 验收内容 (175)7.5.2 验收程序 (176)7.5.3 验收时间段和范围 (176)7.5.4 验收项目和标准 (177)7.5.5 采样点布设 (178)7.5.6地下水长期监测................................... 错误!未定义书签。
场地环境调查、风险评估与土壤修复简介与工作流程-其他范文场地环境调查、风险评估与土壤修复简介与工作流程一、工作内容简介(1)场地环境调查场地环境调查指采用系统的调查方法,确定场地是否被污染及污染程度和范围的过程。
《中华人民共和国土壤污染防治法》第五十九条规定:对土壤污染状况普查、详查和监测、现场检查表明有土壤污染风险的建设用地地块,地方人民政府生态环境主管部门应当要求土地使用权人按照规定进行土壤污染状况调查。
用途变更为住宅、公共管理与公共服务用地的,变更前应当按照规定进行土壤污染状况调查。
场地环境调查分三个阶段第一阶段:以资料收集、现场踏勘和人员访谈为主的污染识别阶段,原则上不进行现场采样分析。
若第一阶段调查确认场地内及周围区域当前和历史上均无可能的污染源,则认为场地的环境状况可接受,调查活动可结束。
第二阶段:是以采样和分析为主的污染证实阶段,若第一阶段场地环境调查表明场地内或周围区域存在可能的污染源,如化工厂、农药厂、冶炼厂、加油站、化学品储罐、固体废物处理等可能产生有毒有害物质的设施或活动; 以及由于资料缺失等原因造成无法排除场地内外存在污染源时,作为潜在污染场地进行第二阶段场地环境调查,确定污染物种类、浓度(程度)和空间分布。
根据初步采样分析结果,如果污染物浓度均未超过国家和地方等相关标准以及清洁对照点浓度(有土壤环境背景的无机物),并且经过不确定性分析确认不需要进一步调查后,第二阶段场地环境调查工作可以结束,否则认为可能存在环境风险,须进行详细调查。
标准中没有涉及到的污染物,可根据专业知识和经验综合判断。
详细采样分析是在初步采样分析的基础上,进一步采样和分析,确定场地污染程度和范围。
第三阶段:若需要进行风险评估或污染修复时,则要进行第三阶段场地环境调查。
第三阶段以补充采样和测试为主,获得满足风险评估及土壤和地下水修复所需的参数。
本阶段的调查工作可单独进行,也可在第二阶段调查过程中同时开展。
污染场地环境调查技术与修复对策我国的环境问题已经成为威胁社会经济持续发展的重要问题。
同时对人们身心健康所造成的影响也是不可忽视的。
其中的空气污染与水环境污染均会对人体健康造成较大威胁。
部分区域土壤环境的污染现象也较为严重,这不仅会对农畜业的发展带来制约影响,也会在一定程度上危害人们的身体健康。
在开展环保工作时,针对污染场地的土壤进行管理与修复也是环保工作的重点内容。
文章介绍了污染场地环境调查现场采样技术,探讨了污染场地土壤环境管理修复对策。
标签:污染场地;环境调查;修复对策引言环境监测的数据是否真实有效,与后续研究工作的质量有着最直接的关系。
在污染场地环境调查工作中,现场采样是一个非常重要的环节,如果现场采样技术能够得到规范化的实施,将会给后续工作提供很大的便利。
在过去的环境监测工作中,人们往往忽视了这一重要环节,因此,对现场采样技术进行研究具有非常重要的意义。
1.污染场地环境调查现场采样技术1.1定位探测为确保采样工作的顺利进行,在开展采样工作之前,需要对场地内的土壤环境、地下水环境进行了解及定位勘测。
根据需采样的样品的区别,定位探测工作分布两部分:一是对当地土壤环境的勘测,确定采样地点的地理位置及地面标高,探测了解采样地地下障碍物,避开地下井道、排污道、电缆等;二是对场地地下水环境进行探测,确定地下水水位及是否存在其他油性液体等。
在定位探测方面,国内外使用的仪器及技术相差不大,土壤环境勘测主要使用全球定位仪GPS、卷尺、金属探测仪、雷达等;地下水环境探测主要使用水位尺及油水洁面仪。
1.2土壤样品采集国内外土壤样品采集主要区别在于钻孔设备的使用上,国外土壤采集設备相对比较先进。
钻孔设备根据分为两大类:人力驱动式手动取土钻及机械动力采样器。
随着技术的发展,传统钻机逐渐被淘汰,目前使用比较广泛的是直推式钻机,比较先进的一款设备产自美国,土壤钻孔效率可达100m/d,根据土壤环境甚至能达到更高。
1.3地下水水样采集我国地下水水样采集技术及设备与国外相差非常大,国外的水样采集技术经过了长期深入研究,已经研制出了取样质量可靠,且使用轻便灵活的采样设备,而我国的采样设备还停留在比较原始的阶段。
工业企业污染场地调查和修复管理技术指南Industrial Enterprise Site Assessment and Remediation Management GuideIn today's world, it has become increasingly important for industrial enterprises to address the environmental impact of their operations. One area that requires particular attention is the management of contaminated sites resulting from industrial pollution. This guide aims to provide techniques and strategies for conducting site assessments and implementing effective remediation measures.如今,在当今世界,工业企业越来越需要关注其经营活动对环境所造成的影响。
其中一个需要特别关注的领域是管理由工业污染引起的污染场地。
本指南旨在提供针对这些场地进行评估和实施有效修复措施的技术和策略。
Site Assessment场地评估The first step in managing contaminated sites is to conduct a comprehensive site assessment. The purpose of this assessment is to determine the extent and nature of contamination present at the site. It involves collecting samples from soil, water, and air, as well as analyzing historical records and conducting interviews with key personnel.管理污染场地的第一步是进行全面的场地评估。
分析污染场地土壤修复与管理方案近年来,随着工业化的快速发展,土壤污染已经成为了一个严重的环境问题。
污染场地的土壤修复与管理成为了一个迫切需要解决的问题。
污染场地土壤修复与管理方案是指对受到污染的土地进行修复,以恢复其原有的生态功能,并对修复后的土地进行科学管理,以保证其长期的健康发展。
本文将就污染场地土壤修复与管理方案进行分析和讨论。
一、污染场地土壤修复方案1. 调查和评估首先需要进行污染场地的调查和评估。
了解污染源、土壤污染程度、受影响的范围以及潜在危害等信息。
通过调查和评估,可以确定修复的优先次序和目标,从而为后续的修复工作提供依据。
2. 污染物清除针对污染场地中的污染物进行清除,包括物理、化学和生物方法。
物理方法主要包括土壤挖掘、热解吸附等;化学方法则主要包括化学还原、氧化、酸碱中和等;生物方法则主要包括植物修复、微生物修复等。
通过清除污染物,可以降低土壤污染程度,为后续的修复工作铺平道路。
3. 土壤修复土壤修复是指通过一系列的技术手段,恢复土壤的物理、化学和生物功能,使其达到一定的环境质量标准。
常用的修复技术包括生物植被修复、土壤改良、微生物修复等。
通过这些技术手段,可以改善土壤的结构、提高土壤的肥力,并有助于减少有害物质的迁移。
4. 治理措施在进行土壤修复的还需要采取一些治理措施,包括污染物防治、土地利用规划、生态保护等。
通过这些措施,可以避免土壤再次受到污染,保护修复后的土壤。
1. 监测与评估针对修复后的土地,需要建立完善的监测系统,定期对土壤的质量进行监测和评估。
通过监测和评估,可以及时发现问题,及时采取措施,避免土壤再次受到污染。
2. 环境规划制定科学合理的环境规划,对修复后的土地进行合理利用和规划。
合理的土地利用规划可以使土地达到最佳的经济、社会和环境效益。
3. 生态修复在土地管理中注重生态修复,通过植被恢复、生物多样性保护等手段,使修复后的土地逐渐恢复生态功能,为人类提供清洁的生态环境。