工程签证流程图教学内容
- 格式:doc
- 大小:17.00 KB
- 文档页数:2
工程签证管理流程编制日期审核日期批准日期修订记录1、流程概况2、工作程序3.1工程签证产生的原因包括以下几种:1)因设计变更引起的返工工程。
2)在施工过程中,由于施工条件变化、地下状况(土质、地下水、构筑物及管线等)变化;合同补充及合同规定需实测工程量的工作项目;红线外施工道路的修补(红线内的施工道路修补宜在合同内包干)等。
3)配合策划和销售要求;或因赶工措施导致的工程量增减。
4)由甲方提出或因工程管理失误引起的工程量增减。
5)政府要求以及其他原因。
3.2工程签证提出1)各方提出的工程签证需求都由施工单位统一向监理单位提报《签证单》,监理单位与项目公司工程技术部沟通确认后,由项目公司工程技术部组织项目公司成本部到现场对工程量增减情况进行调查,对签证价格、工程量做出初步估算。
2)特别提示:技术核定单、工作联系单等,只作为技术认定的证据,不作为经济责任认定的依据,所有涉及工程量增减,经济责任认定的,施工单位必须于施工前报送《签证单》,否则不予认定。
技术核定单可以用技术签证替代。
3.3工程签证的审核、审批1)工程签证审核审批权限划分2)对于施工单位提出的技术签证,需在《签证单》上明确此变更不影响造价。
监理公司对签证内容进行初审;初审后,项目公司工程技术部审批《签证单》。
审批通过后,施工单位按照签证内容进行施工。
3)对于施工单位提出的经济签证,项目公司工程技术部、项目公司成本部收到《签证单》后,填写《签证审批单》,对工程签证情况进行审核并签署意见后,交项目公司负责人审核。
按上表所示报相关部门领导审核/审批。
如影响其他专业施工则与相关专业工程师、造价师共同确认。
4)项目公司工程技术部、项目公司成本部在办理施工单位提交的签证时,要特别关注不合理签证,如发现不合理签证,须做好记录,说明不予签证的原因。
不合理签证包括:a)该签证已经办理,又重复签证的。
b)属于合同中已约定无需再办理的签证。
c)属于施工单位工作失误造成的工程签证(如施工单位前期进度耽误造成后期赶工费用增加;施工单位因质量问题造成的工程返工,费用增加等)。
1目的1.1加强现场变更签证管理,规工作指引,有效地控制成本,提高变更签证审批效率。
在施工过程中,对超出合同围或超出施工图纸外的工程量或工作量增减进行记录、确认、审核,形成书面记录,为办理补充预算、工程付款、工程结算提供依据。
2术语和定义2.1现场签证:是指按承发包合同约定,对施工管理中发生的零星事件的确认,一般由承发包双方代表就施工过程中涉与合同价款之外的责任事件所作的签认证明。
在这里特指除设计变更与工期延期、停工窝工索赔(非施工方原因)引起的经济签证外,所有与施工现场有关的工程经济签证。
2.2现场签证结算:凡是以《签证申请单》或《工程指令单》进行的结算均属于现场签证结算。
2.3重大施工方案:是指具有危险性较大的方案。
包括但不限于:1)挖深度>5M的土方开挖工程以与基坑支护和降水工程;2)模板支撑高度≥8M或跨度>18M或施工总荷载>15KN/M2的高大模板工程;3)起重吊装工程、脚手架工程、拆除爆破工程、幕墙安装工程;4)30M以上高空作业。
3适用围3.1适用于公司所有工程项目的现场签证发起、审批、施工后现场确认的管理。
4关键活动描述4.1现场签证和类型4.1.1现场签证的主要类型:1)因设计变更导致已施工的部位需要拆除(需注明设计变更编号)。
2)现场需要:由于施工条件变化、地下状况(土质、地下水、构筑物与管线等)变化;合同补充与合同规定需实测工程量的工作项目;红线外施工道路的修补(红线的施工道路修补宜在合同中包干)等。
3)材料设备品牌变更。
4)营销需要:配合策划和销售要求或赶工措施导致的工程量增减。
5)甲方要求:由公司提出,或因工程管理失误引起的工程量增减。
6)施工合同外的零星工程的确认。
7)其它:政府要求以与其它原因。
4.2现场签证的成本管理原则4.2.1一单一算一编号一对应原则:即一个现场签证单对应编制一份预算一个编号,且对应一个工程合同。
如果容简单,也可以一份预算对应多个签证单,但该预算书容应根据不同签证容分别列项。
工程变更签证管理办法及流程第一章设计变更管理规定第一条目的1.1为了加强设计变更管理,规范工作流程,有效地控制成本,确保工程质量和工程进度,特制定本流程。
1.2 通过对设计变更申报资料进行审查、审批,确保设计变更的及时性、合理性和经济性,消除设计变更对工程成本和进度带来的消极影响。
第二条设计变更是对设计内容进行完善、修改及优化,一般需要设计单位的签字、盖章, 或者发包单位的有关职能部门〔规划设计部代签。
设计变更共分为三类:〔一一般设计变更:不改变设计原则,不影响使用功能,不影响工程的质量和安全,不影响美观,变更发生费用在5000元〔含人民币以下的;〔二较大设计变更:变更发生费用在5000元以上,100000元〔含以下的;〔三重大设计变更:对原方案、原系统、主要结构布置、主要尺寸、坐标、主要标高、主要设备及主要使用功能改变及变更发生费用在100000元以上的。
第三条设计变更的体现形式分为四类:〔一由设计单位提出的设计变更;〔二由建设单位、监理单位提出的设计变更;〔三由施工单位提出的设计变更;〔四由客户提出的变更申请。
第三条对上述提出的工程设计变更,提出部门备齐相关原始资料,工程部〔森林湖工程部、新都汇工程部、规划设计部和成本控制部应认真审查,确定是否进行变更。
第四条设计变更应将工程变更内容描述清楚。
如:工程名称、变更原因、变更时间、变更部位、图纸比例、图示尺寸、规格型号、材料材质等,应达到根据变更单可准确计算工程量。
第五条设计变更单由规划设计部按楼号分专业依发生先后顺序进行编号。
〔如怡丰森林湖项目18号楼建筑第一次变更,变更页数为1页,编号应为YF-SLH-18-JZ-1-1 ,并与后附的设计院出具的变更单内容对照。
第六条设计变更的控制1.设计变更控制原则:1.1 符合国家规范:设计变更应是对原设计中不满足国家规范、法规的部分进行变更,使之满足国家相关规范、法规;1.2 保证使用功能:设计变更应是对原设计中不合理的部分进行变更,变更后应比原设计更合理、更满足使用功能;1.3 降低建造成本:在不影响使用功能、满足国家规范的前提下,变更方案应更加节约成本;1.4 保证建造工期:在不影响使用功能、满足国家规范的前提下,变更方案应更缩短施工周期;2.变更内容:2.1 原设计中不符合国家规范、法规的内容;2.2 原设计中某些施工工艺做法现场难以实现、改进后更加合理的内容;2.3 原设计中某些功能要求不能达到或违背销售承诺而需要进行改进的内容;2.4 原设计中存在的遗漏、缺陷等内容;2.5 由于某种需要公司提出的对原设计的更改内容;2.6 客户提出的变更;3.相关部门职责:3.1 工程部:办理工程部、监理公司和施工单位提出的设计变更申请手续;对设计变更的施工工艺进行把控;负责变更的实施;3.2 市场营销部:办理客户提出的设计变更的申请手续;跟踪变更的落实情况;3.3 规划设计部:办理设计单位提出的设计变更的前期手续;〔包括协调设计院协助出具变更方案办理根据施工图审查和消防审查意见进行的变更;办理由于规划、功能、立面调整等重大技术方案调整的变更;3.3.4 受理工程部和市场营销部提出的设计变更申请手续;3.3.5 办理正式变更手续并下发工程部或市场营销部;3.4 成本控制部:对拟发生的设计变更进行经济分析;估算变更成本;3.4.2 变更实施后,核算变更实际发生额是否在估算范围内;3.4.3 跟踪、调整工程动态成本并每月向公司汇报;3.5 总经济师:3.5.1 审核变更技术和经济的合理性;3.5.2 审批较大设计变更;3.5.3 审核重大设计变更;3.6 工程总工;审核变更技术的合理性;3.6.2 审批较大设计变更;3.6.3 审核重大设计变更;3.7.总经理:3.7.1 审核变更技术和经济的合理性;3.7.2�审批重大设计变更;4.相关流程:4.1工程部、规划设计部、市场营销部在遇到需要对设计进行调整和补充,即要发生设计变更时,要求在0.5天内填写办理《设计变更审批、通知单》并提交下一受理部门,确定该变更费用承担单位,出具变更初步方案〔物业公司出具现状描述及最终效果描述和可能情况下的技术方案,市场营销部出具现状描述及结果描述,其它要求由工程部、规划设计部帮助完善,〔如附有变更图纸请作为本审批单附件一并提交。
浅谈工程签证现场签证是由业主代表、监理工程师、施工单位负责人共同签署的,用于正式施工活动中某些特殊情况的一种书面手续。
它不包含在施工合同和图纸中,也不象设计变更文件有一定的程序和正式手续.它的特点是临时发生,具体内容不同,没有规律性,是施工阶段投资控制的重点,也是影响工程投资的关键因素之一。
一、现场签证的主要内容包括以下几个方面的内容:1、现场经济签证包括:(1)零星用工.施工现场发生的与主体工程施工无关的用工,如定额费用以外的搬运、拆除用工等。
(2)零星工程。
(3)临时设施增补项目。
(4)隐蔽工程签证。
(5)窝工,非施工单位原因停工造成的人员、机械经济损失.如停水、停电,业主材料不足或不及时,设计图纸修改等。
(6)议价材料价格认价单。
结算资料汇编规定允许计取议价价差的材料,需要在施工前确定材料价格。
(7)其它需要签证的费用。
2、工期签证包括:停水、停电签证;非施工单位原因停工造成的工期拖延.二、现在签证的重要作用工程结算主要依据有:施工合同、招投标文件、图纸、设计变更、现场签证、定额以及阶段资料汇编等法规性文件,而现场签证以书面的形式记录了施工现场发生的特殊费用,直接关系到业主和施工单位的切身利益,是工程结算的重要依据。
现场签证是记录现场发生情况的第一手资料。
通过对现场签证的分析、审核,可作为索赔事件的处理提供依据,并依据正确的计算索赔费用。
1/ 6工程签证目前存在的问题:凡是从事过工程造价及施工管理的工程师都有这样的体会,现场签证的处理是工程施工中最容易引起争议的部分。
我们接触的工程签证,或多或少存在问题,产生问题的原因一方面由于建筑市场的不规范,另一方面是参加建设的各方(包括业主、监理、施工单位)不够重视.总的来说有以下几个方面的问题:1、应当签证的未签证,如零星工程,零星用工等,发生的时候应当及时办理.很多业主在施工中随意性较大,施工中长改变一些部位,既无设计变更,也不办现场签证,待结算时发生补签困难,引起纠纷。
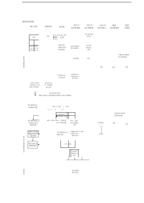
现场签证流程施工单位监理单位项目部一线公司成本管理部一线公司设计管理部一线公司有权审批人集团集团成本管理部决策层批审及出提的证签析分总汇及理管施实的证算结的证签收提出签证写【现场正需求填厉签证工盘签收发出【丄作联系单】受理并填写【现场签证申请审批单】审核并根据需要去现场确认成本测算同意甲方审批的【现场签证工作联系单】并组织施工核实执行结果,督促整改直至完成分发【现场签证工作联系单】在【现场签证工作联系单】上签署成本意见核实签证执行结果(隐蔽工程签证必须在隐蔽前完成验收手续和工程量确认填写【现场签证工程量确认单】填写【现场签证价格确认单】及预算明细表设计变更引起的签证设计变更流程进行审批结束审批审核J、、* 审核Jf 审核' —4、确认分发【现场签证■工程量确认单】审核,并填写审核_彳【现场签证价格审批单】分发【现场签证价格确认单】'核价,与施工单位沟通确认价格审核审批耳【权责手册】报集团审核审批审批按【权责手册】报集团审核审批审核在【现场签证价格确认单】上签* 一署成本意见对账,复核动态成本管理作业指引合同结算管理作业指引审批施工单位预算员要做好现场签证,应注意着重注意收集和保留下面的书面文件:1、变更设计洽商记录表/变更通知书;一般由甲方或设计方发出。
2、工作联系单;多由甲方发出,也可以由施工方发出,但必须有甲方认可的回函。
3、工程签证单;对施工单位来说,做好工程签证单是最重要的,它是施工阶段投资控制的重点,也是影响工程投资的关键因素之一。
它往往包括下面几项内容:1)工程现场签证单;主要阐述签证如生的原因(设计变更引起、停水停电引起、非施工单位原因停工造成的工期拖延和窝工费等),总之非施工方原因引起的签证才有效;事件;经过;注意工程现场签证描述事件经过中要与工程量计算书相呼应,签证单能反映计算工程量的应尽可能反应,反应不了时要附图支持工程量计算书。
2)工程量计算书;根据工作联系单的内容计算工程量,工作联系单描述不能支持计算工程量时,一般要附图(能够支持计算工程量的图)。
工程签证流程签证内容及签证的技巧1.申请:首先,确定目标国家的工程签证类型和要求。
不同国家对工程签证的要求会有一定差异。
例如,加拿大的工程签证主要是围绕技术工人和经验丰富的工程师,而澳大利亚的工程签证主要是面向高度专业化的工程师。
2.准备材料:准备所需的文件和证明材料。
这通常包括学历证明、工作经验证明、职业评估机构认可证书、语言能力证明以及其他相关证明文件。
根据目标国家的具体要求,确保所有材料完整且准确。
3.递交申请:将所需材料递交给目标国家的移民局或签证机构。
根据不同国家的规定,可以在线提交申请或邮寄纸质申请。
确保按时递交申请,并保留好申请的副本以备参考。
4.面试:根据移民局的要求,可能需要参加面试。
面试内容可能包括工程知识、相关工作经验、语言能力等方面。
在面试前进行充分准备,以提高通过面试的机会。
5.审批:申请递交后,签证申请将进入审批阶段。
移民局或签证机构会对申请材料进行审核,并进行背景调查。
此阶段可能需要一定的等待时间,需要耐心等待审批结果。
6.签发签证:如果签证申请通过审批,签证机构将签发工程签证。
此时,需要按照签证机构的指示完成签证手续,包括支付签证费用、提供护照等。
确保按时提交所需的材料,以避免签证被取消。
签证的技巧:1.提前准备:工程签证可能需要准备的材料较多,建议提前准备,并确保所有文件完整和准确。
此外,了解签证申请时间和流程,以便提前计划。
2.获得专业资格:在申请工程签证前,建议获得相应的专业资格或认证。
通过获得认证,可以提高申请人在签证评估中的竞争力。
3.改进语言能力:语言能力在工程签证申请中非常重要。
建议提前开始学习和提高英语或目标国家的官方语言能力。
参加语言考试并获得合格的结果可以增加签证成功的机会。
5.提供可靠的工作经验:工作经验是工程签证申请中重要的参考因素之一、提供可靠的工作经验证明,例如就职证明、项目经验介绍等,能够增加签证申请的可信度。
6.遵守签证规定:一旦工程签证获得批准,务必遵守签证的规定和要求。
.1目的1.1加强现场变更签证管理,规工作指引,有效地控制成本,提高变更签证审批效率。
在施工过程中,对超出合同围或超出施工图纸外的工程量或工作量增减进行记录、确认、审核,形成书面记录,为办理补充预算、工程付款、工程结算提供依据。
2术语和定义2.1现场签证:是指按承发包合同约定,对施工管理中发生的零星事件的确认,一般由承发包双方代表就施工过程中涉及合同价款之外的责任事件所作的签认证明。
在这里特指除设计变更及工期延期、停工窝工索赔(非施工方原因)引起的经济签证外,所有与施工现场有关的工程经济签证。
2.2现场签证结算:凡是以《签证申请单》或《工程指令单》进行的结算均属于现场签证结算。
2.3重大施工方案:是指具有危险性较大的方案。
包括但不限于:1)挖深度>5M的土方开挖工程以及基坑支护和降水工程;2)模板支撑高度≥8M或跨度>18M或施工总荷载>15KN/M2的高大模板工程;3)起重吊装工程、脚手架工程、拆除爆破工程、幕墙安装工程;4)30M以上高空作业。
3适用围3.1适用于公司所有工程项目的现场签证发起、审批、施工后现场确认的管理。
4关键活动描述4.1现场签证和类型4.1.1现场签证的主要类型:1)因设计变更导致已施工的部位需要拆除(需注明设计变更编号)。
2)现场需要:由于施工条件变化、地下状况(土质、地下水、构筑物及管线等)变化;合同补充及合同规定需实测工程量的工作项目;红线外施工道路的修补(红线的施工道路修补宜在合同中包干)等。
3)材料设备品牌变更。
4)营销需要:配合策划和销售要求或赶工措施导致的工程量增减。
5)甲方要求:由公司提出,或因工程管理失误引起的工程量增减。
6)施工合同外的零星工程的确认。
7)其它:政府要求以及其它原因。
4.2现场签证的成本管理原则4.2.1一单一算一编号一对应原则:即一个现场签证单对应编制一份预算一个编号,且对应一个工程合同。
如果容简单,也可以一份预算对应多个签证单,但该预算书容应根据不同签证容分别列项。
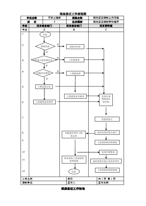
编号:JFDC-GC-OP02版号:A/0页码:第1页共 11 页工程现场签证管理流程编制日期审核日期批准日期修订记录日期修订状态修改内容修改人审核人批准人工程现场签证管理流程签证审核签证执行签证统计分析工程现场签证管理流程编号:JFDC-GC-OP02版号:A/0 页码:第 2 页 共 11 页工程现场签证管理流程施工单位监理单位工程部成本合约部项目公司管理层总部工程管理 中心成本线总部管理层支持性文件提出现场签 证申请审核按权限审 核审批审核权限审核 审批审核权限审核 审批现场签证记录单现场签证审批表按签证内容 执行督导执行情况核实结果登记并下发签 证通知相关施 工和监理单位过程 Y 复核监督完成情况权限审核审批复核审批现场签证记录单现场签证审批表监理、施工单位需分别 提交,内容包括已审 批、未审批签证每月提交签 证汇总审核签证月度封 存签证统计分 析报备月度签证汇总表现场签证审批表工程竣工结算 管理作业指引页码:第3页共 11 页1目的1.1加强现场变更签证管理,规范工作指引,有效地控制成本,提高变更签证审批效率。
在施工过程中,对超出合同范围或超出施工图纸外的工程量或工作量增减进行记录、确认、审核,形成书面记录,为办理补充预算、工程付款、工程结算提供依据。
2术语和定义2.1现场签证:是指按承发包合同约定,对施工管理中发生的零星事件的确认,一般由承发包双方代表就施工过程中涉及合同价款之外的责任事件所作的签认证明。
在这里特指除设计变更及工期延期、停工窝工索赔(非施工方原因)引起的经济签证外,所有与施工现场有关的工程经济签证。
2.2现场签证结算:凡是以《签证申请单》或《工程指令单》进行的结算均属于现场签证结算。
2.3重大施工方案:是指具有危险性较大的方案。
包括但不限于:1) 挖深度>5M 的土方开挖工程以及基坑支护和降水工程;2) 模板支撑高度≥8M或跨度>18M 或施工总荷载>15KN/M2 的高大模板工程;3) 起重吊装工程、脚手架工程、拆除爆破工程、幕墙安装工程;4) 30M 以上高空作业。