工程现场签证流程
- 格式:docx
- 大小:16.78 KB
- 文档页数:10
现场签证流程及注意事项一、定义变更变更:是指对设计内容进行修改、完善、优化的确认,主要有以下几种类型:一)、最终由设计单位出具的变更1、建设单位提出的变更(1)、由于设计单位的施工图出现错、漏、碰、缺等情况,或者由于建设单位改变建设标准、结构功能、使用功能、增减工程内容,而导致的变更;(医院窗帘等)(2)、应业主的要求,对某些功能或做法变动导致的变更;(绿墙)(3)、其它变更,如为节约成本的材料替换或工艺、工法的变动而导致的变更;(大厅干挂主墙面由实墙改为钢结构,地下室吊顶)2、施工单位提出、但须经建设单位认可的变更(1)、施工单位发现的设计图纸的错误而导致的变更;(2)、由于施工单位采用新工艺、新材料或其他技术措施等,而导致工艺、工法的变动、材料代换或其他需要变更的事项;(游泳馆照明)二、)最终施工公司出具的变更1、施工单位自行提出,但依据相关法规不需要通过设计单位而发生的变更;2、施工单位提出的其它不需设计确认但要经过甲方认可的变更项目。
(举例:医院石材结晶)现场签证一)、现场签证:是指施工现场发生的、无法根据图纸计算工程量或无法根据合同报价书和相关定额确定综合单价、但实际不得不跟施工单位立即确认价格或计价原则的事件总称。
现场签证主要包括以下几种类型:(1)、因变更导致已施工的部位需要拆除的(需注明变更单编号);(小学的石材校牌)(2)、施工过程中出现的未包含在合同中的各种技术措施处理;(3)、在施工过程中,由于施工条件、地下状况(土质、地下水、构筑物及管线等)变化,可以直接由建设单位依据工程经验出具的变更事项;(4)、建设单位在施工合同之外,委托承包单位施工的与合同有关联的零星工程;(5)、根据现场实际情况需实测实量工程量的项目。
二、现场签证2.1 现场签证程序1、需要提出现场签证事项时,项目工程部经理(由工程部经理负责)应填写《现场签证审批表》,填写时应注意以下问题:(1)、必须认真说明签证工程的施工时间、工作内容、发生原因、该签证所涉及的各种规格型号材料的工程量、各工种的工日数、各种规格型号机械台班数量以及签证所发生的各责任单位和责任承担比例等,必要时要附相应的图纸(图示)。
建筑工程现场签证单完整版(doc格式)范本一(正式严谨风格):建筑工程现场签证单完整版一、签证单概述1.1 目的:本签证单用于记录建筑工程现场的签证事项,保障工程进展的规范性与合法性。
1.2 适用范围:适用于所有建筑工程现场签证事项的记录与管理。
1.3 定义:1.3.1 签证:指建筑工程施工过程中,因设计文件调整、工程变更等原因,需经相关方面审批和授权同意的事项。
1.3.2 签证单:指记录、审批和备案建筑工程现场签证事项的文件。
二、签证申请流程2.1 签证申请人填写签证申请单,包括但不限于以下内容:(1)签证名称(2)签证理由(3)签证内容描述(4)签证影响分析(5)签证施工措施(6)签证审批要求等2.2 签证申请人将签证申请单提交给相关方面进行审批。
2.3 相关方面对签证申请进行审核,包括但不限于:(1)签证合规性审核(2)签证影响评估(3)签证安全性评估(4)签证资源调配分析等2.4 相关方面根据审批结果进行签证审批,包括但不限于:(1)签证批准(2)签证驳回(3)签证调整等三、签证执行流程3.1 签证批准后,签证申请人按照签证内容进行施工,同时需确保施工过程中符合签证要求。
3.2 在签证施工过程中,签证申请人需定期向相关方面汇报签证进展情况,并提交签证完成报告。
3.3 相关方面进行签证施工现场审核,确保签证执行符合签证要求。
3.4 完成签证后,签证申请人应及时整理签证相关资料,并进行归档备案。
四、附件4.1 签证申请单4.2 签证审批单4.3 签证施工报告4.4 签证备案文件等五、法律名词及注释5.1 建筑工程施工管理条例:指我国建筑工程施工领域的相关法律法规,用于规范建筑施工活动。
5.2 签证合规性审核:指对签证申请内容进行审核,包括签证的合法性和合规性,以符合相关法律法规的要求。
5.3 签证影响评估:指对签证的施工影响进行评估,包括对工期、质量、安全等方面的影响进行评估分析。
5.4 签证资源调配分析:指对签证申请涉及的资源调配进行分析,确保施工能够满足签证的要求。
浅谈⼯程现场签证程序及流程现场签证办理程序及流程 效益最⼤化永远是企业的追求。
在激烈的市场竞争中,企业应“低中标、勤签证、⾼索赔”,有效的办理⼯程签证是施⼯企业赢利的有效途径。
⼀、⼯程签证的适⽤范围⼯程签证是按照施⼯承包合同的约定,由建设、监理、施⼯单位等就施⼯过程中涉及合同价款之外的相关事件所作的签认证明。
⼯程签证单可视为补充协议,如增加额外⼯作、额外费⽤⽀出的补偿、⼯程变更、材料替换或代⽤等,具有与协议书同等的优先解释权;承包⼈应发包⼈要求完成合同以外的零星⼯作或⾮承包⼈责任事件发⽣时,承包⼈应按合同约定及时向发包⼈提出现场签证。
⼯程签证适⽤如下范围:1、适⽤于施⼯合同范围以外零星⼯程的确认;2、在⼯程施⼯过程中发⽣变更后需要现场确认的⼯程量;3、⾮施⼯单位原因导致的⼈⼯、设备窝⼯及有关损失;4、符合施⼯合同规定的⾮施⼯单位原因引起的⼯程量或费⽤增减;5、确认修改施⼯⽅案引起的⼯程量或费⽤增减;6、⼯程变更导致的⼯程施⼯措施费增减等。
⼆、依据标准合同⽂本需要办理签证的种类及对应的合同条款1.⼯期签证:11、12、13、142.质量签证:15条3.隐蔽、试运⾏签证:16、17、18条4.发包⼈(监理⼈)责任签证:8、24、25、26、27条5.合同价款的调整(包括停⽔、停电)签证:23、25条6.材料验收签证(包括质量、数量、规格、品牌):27、28条7.变更签证:29、30、31条8.竣⼯(包括⼯程、资料验收、结算)签证:32、33、36条9.违约签证:35条10.不可抗⼒签证:39条11.现场不利条件签证:43条12.其它签证:包括补充条款、专利技术、特殊⼯艺、合同解除等。
三、办理⼯程签证的程序⼯程签证由承包⼈的项⽬经理根据相关变更事项向项⽬监理部提出。
同时提交“⼯程变更签证单”及“设计变更通知单”或“设计修改图”或“设计变更技术洽商记录”,返⼯重做的应有现场实体照⽚。
(⼀)、建设⼯程合同⽰范⽂本专⽤条款对⼯程变更的规定:1、施⼯中发包⼈需对原⼯程设计变更,应提前14天以书⾯形式向承包⼈发出变更通知。
工程变更和现场签证审批流程下载温馨提示:该文档是我店铺精心编制而成,希望大家下载以后,能够帮助大家解决实际的问题。
文档下载后可定制随意修改,请根据实际需要进行相应的调整和使用,谢谢!并且,本店铺为大家提供各种各样类型的实用资料,如教育随笔、日记赏析、句子摘抄、古诗大全、经典美文、话题作文、工作总结、词语解析、文案摘录、其他资料等等,如想了解不同资料格式和写法,敬请关注!Download tips: This document is carefully compiled by theeditor. I hope that after you download them,they can help yousolve practical problems. The document can be customized andmodified after downloading,please adjust and use it according toactual needs, thank you!In addition, our shop provides you with various types ofpractical materials,such as educational essays, diaryappreciation,sentence excerpts,ancient poems,classic articles,topic composition,work summary,word parsing,copy excerpts,other materials and so on,want to know different data formats andwriting methods,please pay attention!工程变更和现场签证审批流程一、准备工作阶段在进行工程变更和现场签证审批之前,需要做好充分的准备工作。
挖土挖到石头签证的流程和注意事项下载温馨提示:该文档是我店铺精心编制而成,希望大家下载以后,能够帮助大家解决实际的问题。
文档下载后可定制随意修改,请根据实际需要进行相应的调整和使用,谢谢!并且,本店铺为大家提供各种各样类型的实用资料,如教育随笔、日记赏析、句子摘抄、古诗大全、经典美文、话题作文、工作总结、词语解析、文案摘录、其他资料等等,如想了解不同资料格式和写法,敬请关注!Download tips: This document is carefully compiled by theeditor.I hope that after you download them,they can help yousolve practical problems. The document can be customized andmodified after downloading,please adjust and use it according toactual needs, thank you!In addition, our shop provides you with various types ofpractical materials,such as educational essays, diaryappreciation,sentence excerpts,ancient poems,classic articles,topic composition,work summary,word parsing,copy excerpts,other materials and so on,want to know different data formats andwriting methods,please pay attention!挖土工程中的石头遭遇:签证流程与注意事项详解在建筑工程中,土方开挖是一项常见的初期工作,然而在挖掘过程中,有时会遇到未预见的地质条件,如遇到大块岩石。
工程项目和业主办理签证和索赔的流程哇塞,朋友们!今天咱就来讲讲工程项目和业主办理签证和索赔的流程,这可太重要啦!
比如说,你正在负责一个工程项目,就像盖一座大楼。
这中间要是出现了一些计划外的情况,那不就得找业主去协商解决嘛!这时候,签证和索赔就派上用场了。
办理签证呢,就好比是给项目开个小小的“绿灯”。
比如说,施工现场突然发现地质状况和原来预想的不一样,那你就得赶紧收集好相关证据,像地质报告啦、现场照片啦,这可都是你的“宝贝”!然后去找业主,说:“哎呀,您看,这情况不一样啊,咱得给它确认一下呀!”这不就是签证嘛。
再来说索赔,那就有点像维护自己的“小钱包”啦!假如因为业主的原因导致工程延误了,那你的成本不就增加了嘛,这时候你就得理直气壮地跟业主说:“您看,您这边耽误事儿了,我这损失可老大了,您得赔我呀!”这不就是索赔嘛。
咱办理签证和索赔,一定要记得证据充分、条理清晰,别稀里糊涂的。
就像你去打仗,得把武器准备好呀!和业主沟通的时候,要心平气和但又坚
定有力,别怕业主不高兴,你这可是在维护自己的权益呀!别到时候自己吃哑巴亏,那多亏呀!
然后,整理好资料,按照规定的流程一步步走。
这里可不能马虎,一步错可能就步步错啦!就像走路一样,得一步一个脚印,踏踏实实地往前走。
在这个过程中,和业主的沟通协调非常重要哦!你得让业主明白你的处境和需求,同时也要理解业主的立场。
这可不是一个人的事儿,是大家一起努力的事儿!大家说是不是?
总之呢,工程项目和业主办理签证和索赔的流程看似复杂,但只要咱用心去做,就一定能做好。
咱不能让自己的辛苦白费,该争取的权益一定要争取到手!。
施工现场签证流程一、目的:为规现场签证的工作程序和审批流程,确保现场签证的有效性、合理性,满足工程的质量、成本和进度等要求,对合同和施工图外的工程成本进行有效控制。
二、适用围:适用于本公司项目建设全过程的现场签证。
三、现场签证操作要求(一)、根据市场、设计、现场进度、政府配套专业局要求等进行设计变更、调整或增加,向建设单位工程部发出工作确认单、设计变更要求,或工程根据现场情况进行设计变更或调整而向施工方发出工作指令,同时应抄送工程监理。
所有设计变更均必须根据公司设计变更流程执行。
(二)、施工单位根据建设单位工程部的指令或现场需要,填写《现场签证单》详细说明原因并附建设单位工程部指令单、图纸、施工方案、必须明确完成日期及对工期的影响,以及工程量计算估价书。
(三)、签证资料交工程监理审核后,由建设单位工程部依据合同、技术资料、现场实际情况判断是否属于签证围,若属于签证围则由建设单位工程部组织监理单位、施工单位人员到现场测算并签证预计发生的工程量,由施工方根据新测算的工程量重新估价后,作为结算资料备案。
(四)、预算员审核估价后报送建设单位工程部总工程师,由建设单位工程部门总工程师判断是否应给予签证,签证金额大于 1万元的应与公司总经理沟通,会签。
(五)、完成审批后,《现场签证审批单》原件及签证的相关资料的复印件保留在资料档案员处,并下发执行。
(六)、建设单位工程部主办人将审批完的《现场签证单》下发到施工单位后实施,实施过程中建设单位工程部应有监理及现场工程师根据签证容及签账实施方案监督跟进签证执行情况,若发现偏差应及时要求施工方调整。
(七)、实施后由施工单位附上工程量计算书、相关的图纸、设计变更及剖面图等资料(对土方签证、因设计变更引起的返工签证及其它隐蔽工程签证须附上现场照片)报现场监理工程师及总监审批后再报我方建设单位工程部。
(八)、建设单位工程部必须在施工单位完成签证工作容后三个工作日组织建设单位工程部、监理单位、施工单位相关人员在现场进行工程量的复核,并要求施工单位和监理单位在《现场签证单》上签字确认后报送建设单位工程部,建设单位工程部须在三个工作日审核完成。
工程现场签证的结算工作流程一、签证的发起1.1工程现场发生额外工作或变更需求时,施工方负责人或相关项目经理向设计方提出签证申请。
1.2签证申请中应包含变更内容、变更原因、影响范围、造价影响等详细说明,并附上相关图纸、资料等。
二、签证的审批2.1设计方收到签证申请后,组织相关技术人员进行初步评估,并与施工方进行沟通,了解变更需求的具体情况。
2.2初步评估结果符合相关规范和技术要求的签证申请,设计方组织相关人员进行签证审批,包括技术、造价、合同等方面的审查。
2.3审批人员根据签证申请的内容,评估变更对工程造价、进度、质量等方面的影响,并提出审批结果和意见。
2.4设计方根据审批结果,与施工方协商达成一致意见,并确定签证的具体变更内容、额外费用、影响范围等相关事项。
三、签证结算3.1签证结算包括签证费用的计算、核对签证费用依据、对比签证前后变更费用的差异等。
3.2根据签证变更内容,设计方和施工方对签证工程的费用进行计算,包括新增材料、劳动费用、机械使用费用、管理费用等。
3.3设计方和施工方交流签证费用的计算细节和依据,进行双方确认,确保计算结果准确无误。
3.4双方对签证费用进行核对和审查,验证签证费用依据的真实性和合理性。
四、签证支付4.1设计方和施工方根据签证结算结果,确定签证费用的支付方式和时间节点。
4.2合同中约定的支付方式可能有部分预付款、进度款、完工款等,根据实际情况进行支付。
4.3设计方和施工方共同确认签证费用的支付金额,并办理相关支付手续。
4.4设计方按约定的支付方式和时间节点,进行签证费用的支付。
以上是工程现场签证的结算工作流程。
这个流程涵盖了签证的发起、审批、结算和支付等关键环节,确保变更需求的合理性、费用的准确性以及双方的权益得到保障。
实施这个工作流程可以帮助各方更好地管理、控制和结算签证工程。
工程现场签证流程工程现场签证是指在施工过程中,由于设计变更、施工调整或其他原因导致需要对原有施工图纸、工程方案等进行修改的情况下,需要进行签证手续的流程。
签证的目的是为了保证施工过程中的安全性、合规性和质量,同时也是对工程变更进行合理管理的重要环节。
下面将详细介绍工程现场签证的流程。
1. 提出签证申请。
当发现需要对原有施工图纸、工程方案等进行修改时,施工单位需要及时提出签证申请。
申请材料包括变更原因、变更内容、变更影响分析、变更后的图纸、方案等相关资料。
申请材料需要详细描述变更的必要性和合理性,以及对原工程的影响分析,为后续的审批提供充分的依据。
2. 签证评审。
施工单位提出签证申请后,相关部门将对申请材料进行评审。
评审内容主要包括变更的合理性、安全性、对原工程的影响分析等。
评审过程中,可能需要组织专家进行现场勘察、技术论证等工作,以确保签证的合理性和安全性。
3. 签证审批。
经过评审通过后,签证申请将提交至相关主管部门进行审批。
审批过程中,主管部门将对签证申请进行综合评估,包括法律法规的合规性、工程质量的保障、安全生产的要求等。
审批通过后,将颁发签证文件,施工单位可按照签证文件要求进行相应的变更施工。
4. 变更施工。
获得签证文件后,施工单位需要按照签证文件的要求对原有施工图纸、工程方案等进行修改,同时组织施工人员进行相应的变更施工。
在变更施工的过程中,需要严格按照签证文件的要求进行操作,确保变更施工的安全性和质量。
5. 签证备案。
变更施工完成后,施工单位需要将签证文件、变更后的施工图纸、工程方案等相关资料进行备案。
备案内容主要包括签证文件的执行情况、变更后的施工图纸、工程方案等资料的归档管理。
签证备案是对签证工作的总结和归档,也是对变更施工的管理和监督。
总结。
工程现场签证是施工过程中的重要环节,对保障工程质量、安全生产具有重要意义。
施工单位在进行签证申请时,需要充分论证变更的合理性和必要性,同时严格按照签证文件的要求进行变更施工,确保施工过程的安全性和质量。
施工单位预算员要做好现场签证,应注意着重注意收集和保留下面的书面文件:1、变更设计洽商记录表/变更通知书;一般由甲方或设计方发出。
2、工作联系单;多由甲方发出,也可以由施工方发出,但必须有甲方认可的回函。
3、工程签证单;对施工单位来说,做好工程签证单是最重要的,它是施工阶段投资控制的重点,也是影响工程投资的关键因素之一。
它往往包括下面几项内容:1)工程现场签证单;主要阐述签证如生的原因(设计变更引起、停水停电引起、非施工单位原因停工造成的工期拖延和窝工费等),总之非施工方原因引起的签证才有效;事件;经过;注意工程现场签证描述事件经过中要与工程量计算书相呼应,签证单能反映计算工程量的应尽可能反应,反应不了时要附图支持工程量计算书。
2)工程量计算书;根据工作联系单的内容计算工程量,工作联系单描述不能支持计算工程量时,一般要附图(能够支持计算工程量的图)。
另外有条件的话,及时拍照,保留证据,以防日久甲方赖账。
3)预算书;跟具合同内容的相关规定计价。
浅谈工程签证现场签证是由业主代表、监理工程师、施工单位负责人共同签署的,用于正式施工活动中某些特殊情况的一种书面手续。
它不包含在施工合同和图纸中,也不象设计变更文件有一定的程序和正式手续。
它的特点是临时发生,具体内容不同,没有规律性,是施工阶段投资控制的重点,也是影响工程投资的关键因素之一。
一、现场签证的主要内容包括以下几个方面的内容:1、现场经济签证包括:(1)零星用工。
施工现场发生的与主体工程施工无关的用工,如定额费用以外的搬运、拆除用工等。
(2)零星工程。
(3)临时设施增补项目。
(4)隐蔽工程签证。
(5)窝工,非施工单位原因停工造成的人员、机械经济损失。
如停水、停电,业主材料不足或不及时,设计图纸修改等。
(6)议价材料价格认价单。
结算资料汇编规定允许计取议价价差的材料,需要在施工前确定材料价格。
(7)其它需要签证的费用。
2、工期签证包括:停水、停电签证;非施工单位原因停工造成的工期拖延。
水利工程签证的流程
水利工程签证的流程主要包括以下几个步骤:
记录现场情况:在施工现场,工作人员应当认真记录每一次的施工情况,包括施工前的准备、施工过程以及施工结果。
这有助于保证签证的有效性。
提交签证申请:一旦发现有需要签证的情况,工作人员应当及时向相关部门提交签证申请。
申请中应包括签证的原因、时间、地点、涉及人员等信息。
审核签证申请:相关部门在收到申请后,会进行严格的审核。
他们会核实申请中的信息,确保情况属实,并判断是否需要给予签证。
发放签证:如果申请通过审核,相关部门会发放相应的签证。
签证通常会注明签证的原因、时间、地点等信息,并盖有相关部门的印章。
存档备案:签证发放后,应当将其存入档案,以备日后查验。
同时,相关部门还会对签证进行定期的检查和核实,以确保其有效性。
注意事项:在进行水利工程签证时,需要注意一些细节问题。
例如,要确保记录的现场情况真实可靠;申请签证时应当尽可能详细地描述情况;提交申请前应核对相关信息,避免出现错误或遗漏;在等待审核期间,不要擅自修改签证申请;如果审核未通过,应当了解原因并积极改进。
以上是水利工程签证的基本流程。
在实际操作中,可能还需要注意一些其他的细节问题。
总的来说,为了确保签证的准确性和有效性,工作人员应当认真记录、及时申请、配合审核、妥善存档。
同时,还要不断提高自身的专业素养和责任心,以更好地完成水利工程签证工作。
工程签证流程步骤嘿,朋友们!咱今儿来聊聊工程签证流程步骤这档子事儿。
你说这工程签证啊,就好比是给工程盖个特别的章,可重要啦!咱先说第一步,那就是得把情况搞清楚啊!好比你要去一个陌生地方,总得先知道咋走不是?你得清楚为啥要办这个签证,是工程有啥变化啦,还是有啥特殊要求冒出来啦。
就像你做饭,得先知道要做啥菜,才能准备食材呀,对吧?然后呢,准备好相关的资料。
这就跟战士上战场得带好武器一样。
啥设计变更啦、现场照片啦、会议纪要啦,都得整得明明白白的。
可别小瞧这些资料,它们就是你的证据,能证明你这签证办得有理有据。
接着,就得填那个申请表啦!这就好比是给工程签证这个事儿穿上一件合适的衣服。
把该填的都填好,别马马虎虎的。
你想想,要是衣服穿得歪七扭八的,那多难看呀!填好表之后,就得提交审核啦。
这审核的人就像是个严格的老师,得认真看你的作业有没有做错。
要是有问题,那可就得打回来重新弄咯。
所以啊,咱自己得先检查好,别到时候被打回脸上挂不住呀。
审核通过了,嘿,这可还没完呢!还得有人签字确认。
这签字可重要了,就跟盖个大印似的。
这可不是随便谁都能签的,得是有权力的人呢。
等都签好字了,那这签证就算是办成啦!就好比是你终于爬上了山顶,那种成就感,哇,别提多棒啦!你说这工程签证流程步骤是不是挺有意思的?就像走一条路,每一步都得走稳了,不然就容易摔跟头。
咱搞工程的可不能马虎,一个小细节没弄好,可能就会出大问题呢。
咱得重视这个工程签证流程步骤,把它当成一件大事来对待。
只有这样,咱的工程才能顺顺利利的,咱也能放心不是?你想想,如果签证没办好,工程出了问题,那得多闹心呀!所以啊,大家都得认真对待,别不当回事儿。
这就是我给大家讲的工程签证流程步骤,大家可得记住咯!可别到时候手忙脚乱的。
加油吧,朋友们!让我们一起把工程做得漂漂亮亮的!。
一、工程签证的流程1. 现场实物确认:首先需要对施工现场的实物进行确认,包括施工内容、材料、设备等。
这一步骤是为了确保签证内容与实际情况相符,避免出现误差。
2. 填写签证申请表:在确认现场实物后,需要填写工程签证申请表。
申请表应包括以下内容:签证原因、签证内容、工程量、单价、总价等。
填写申请表时,应确保内容真实、准确、完整。
3. 报送审批:将填好的签证申请表报送至相关部门进行审批。
在报送前,应确保申请表内容齐全、符合规范。
审批部门可能会对申请表进行核对、审查,确保其符合要求。
4. 跟踪审批过程:在报送审批后,应及时跟踪审批过程,了解审批进度。
如有需要,可以与审批部门沟通,补充相关资料或说明情况。
5. 取回签证单:当审批通过后,可以取回签证单。
签证单应包括以下内容:签证原因、签证内容、工程量、单价、总价、审批意见等。
确保签证单内容与实际情况一致,并妥善保存。
6. 现场实施:最后,根据签证单的内容进行现场实施。
施工过程中,应确保施工质量和安全。
同时,对施工内容进行记录,以便日后核对和结算。
1. 及时办理:工程签证应当及时办理,避免因拖延导致无法追溯或核实。
在施工过程中,如发现需要办理签证的情况,应及时与相关部门沟通并报送申请。
2. 真实准确:填写签证申请表时,应确保内容真实准确。
如有虚假或夸大其词的情况,将会影响签证的审批和日后的结算。
同时,对于施工内容和现场实物的描述,应尽可能详细、具体。
3. 依据充分:在填写签证申请表时,应提供充分的依据。
这些依据可以包括施工图纸、合同条款、现场照片等。
这些资料可以帮助审批部门更好地理解签证原因和内容,提高审批效率。
4. 完整规范:申请表应填写完整规范,严格按照要求填写各项内容。
如有漏填或填写不规范的情况,可能会导致审批部门无法准确理解申请内容,影响审批进度和通过率。
5. 沟通顺畅:在办理工程签证的过程中,应保持与相关部门和审批部门的良好沟通。
如有疑问或需要补充资料的情况,应及时与相关部门沟通解决。
工程现场签证流程
首先,工程现场签证流程的第一步是签证申请。
在工程进展过程中,如果需要对原有设计进行修改或者增加新的施工内容,就需要进行签证申请。
申请时需要提交相关的设计变更或者新增内容,并由相关负责人进行审批。
第二步是签证评审。
一旦收到签证申请,就需要进行评审。
评审的目的是确保签证内容的合理性和可行性,需要考虑对原有工程的影响以及施工方案的合理性。
评审通过后,签证内容得以确认。
第三步是签证批准。
经过评审后,签证内容需要进行批准。
批准的程序需要由相关负责人进行确认,并签署相关文件,以确保签证内容的合法性和有效性。
第四步是签证执行。
一旦签证内容得到批准,就需要进行签证的执行。
执行过程中需要严格按照签证内容进行施工,并及时记录相关变更和执行情况。
第五步是签证归档。
在签证执行完毕后,需要将签证内容进行归档保存。
这样可以方便日后的工程验收和资料查阅,确保工程的
合规性和可追溯性。
总的来说,工程现场签证流程是一个非常重要的环节,它需要经过申请、评审、批准、执行和归档等多个步骤。
只有严格按照流程进行操作,才能确保工程的合规性和质量。
希望大家能够重视工程现场签证流程,确保工程的顺利进行。
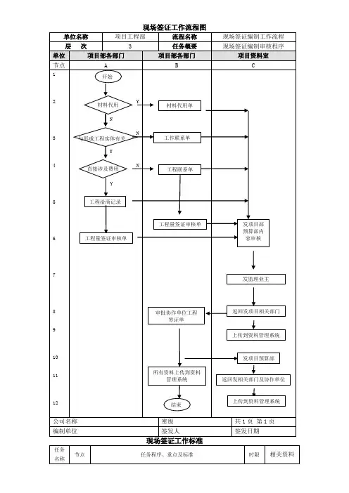
工程现场签证流程
一、现场签证的概念
现场签证是指对施工管理中发生的零星事件的确认。
例如:地下障碍的清除迁移、销售通道的搭建、临时用工、各种非正常情况下技术措施处理、施工过程中出现的奖励和索赔问题、发包单位委托承包单位施工的零星工程(在施工合同之外)以及因设计变更导致已施工的部位需要拆除等。
特急签证是指必须立即执行而且延缓实施会造成更大损失的签证。
二、施工现场各岗位关于工程现场签证的职责
1.项目部专业工程师
1.1.负责填写现场签证单的工程量内容,并监督承包商的执行情况;
1.2.负责给签证单编号,并下发承包商和监理公司;
1.3.负责签证量的审核。
1.作为现场签证的主办人,负责跟踪签证的审批过程。
2.现场成本管理员
2.1.负责初步审核签证工程造价金额;
2.2.负责签证后工程造价的审核。
3.项目部经理
3.1.负责审核签证;
4.工程总监
1.负责签证技术方面的审核。
5.成本管理部
5.1.负责签证的审核;
6.成本分管副总
6.1.负责5000元以下签证单的审批;
6.2.负责5000元及以上签证的审核。
7.总经理
7.1.负责5000元及以上的签证的审批。
三、工程施工现场签证工作程序
1.现场签证的主要类型
1.1.因设计变更导致已施工的部位需要拆除;
1.2.施工过程中出现的未包含在合同中的各种技术措施处理;
1.3.在施工过程中,由于施工条件变化、地下状况(土质、地下水、构筑物及管线等)变化,导致工程量增减,材料代换或其他变更事项;
1.4.发包单位在施工合同之外,委托承包单位施工的1万元以内的零星工程;
1.5合同规定需实测工程量的工作项目;
1.6.红线外施工道路的修补(红线内的施工道路修补宜在合同中包干)。
2.现场签证办理的原则
2.1.一单一算原则:一个现场签证单应编制一份预算,且对应一个工程合同。
如果签证内容简单,也可以一份预算对应多个签证单,但是该预算书内应根据不同签证单的内容分别列项。
2.2.完工确认原则:当现场签证完工后,项目部工程师和监理单位工程师必须在完工后5日内签字确认,如属隐蔽工程,必须在其覆盖之前签字确认。
2.3.权力限制原则:公司对现场签证管理实行严格的权限规定,不在权限范围之内的签字一律无效。
2.4.正常签证的办理原则是“先估价后施工”,签证审批流程必须在7天内完成。
2.5特急签证办理原则是“边洽边干”,但必须在开工后7日内办妥全部手续。
3.现场签证的提出
3.1.根据引起现场签证的主体不同,可以将现场签证分两种情况:
由甲方相关指令(如设计变更单、工作联系单等)引起现场签证
除此之外施工单位根据现场施工条件主动提出的现场签证。
3.2.当甲方确定发出相关指令会导致现场签证发生时,首先判断可能要发生的现场签证的性质是属于正常签证,还是属于特急签证(详见3.2术语和定义)。
如果属于正常签证,则按照“先估价,后施工”的原则执行,要求签证的审批在7内完成;
如果属于特急签证,为确保不因执行时间延缓导致更大损失,则按照“边估价,边实施”的原则,由甲方发出相关指令,要求施工单位立即执行,同时要求必须在开工后7日内办妥全部审批手续。
3.3.施工单位接到甲方指令后,根据甲方相关指令要求,提出办理现场签证的需求,由甲方,监理,施工单位现场实测实量,并附简图和当时照片,施工完成后照片及验收记录,填写《现场签证单》报监理单位审核。
对于特急签证,需立即执行相关指令进行施工,同时提出办理现场签证的需求,填写《现场签证单》报监理单位审核。
3.4.除甲方指令引起签证发生之外,施工单位在日常施工过程中,也可以根据施工需要,提出现场签证需求。
同样要求施工单位提出办理现场签证的需求,填写《现场签证单》报监理单位审核。
3.5.施工单位填写《现场签证单》时,要求附上初步预算或工程量清单。
如属实测实量的,需先确定单价,预估工程量;
如原合同中有单价约定的,按原单价计算;
如无合同或无单价约定的,则需事先确定,包括材料设备的认质认价;
如果是由设计变更引起的现场签证,且在设计变更审批过程中已经对签证费用进行过计算确定的,施工单位不需重新计算。
4.现场签证的审批
4.1.监理工程师接到施工单位现场签证申请的当日内到现场对工程变化情况进行调查,审核现场签证内容,并签署意见。
4.2.项目部专业工程师核实签证原因、事项及工程量,并签署意见。
4.3.现场成本管理员对签证预算进行审核。
如果是由设计变更引起的现场签证,且在设计变更审批过程中已经对签证费用进行过计算确定的,现场成本管理员对其中的签证费用进行核算;n
对于其它情况引起的现场签证,现场成本管理员需进行审核。
n
4.4.成本管理员审核完成之后,填报《现场签证审批单》,根据签证的审批权限,对签证进行审批。
5. 签证单的发放
5.1. 审批通过后,签证单汇总到成本管理部,盖章后,存档一份,其余下发项目部,由项目部负责签证单的编号及发放;
6.现场签证的实施管理
6.1.施工单位按经审批通过的《现场签证单》内容组织实施,监理公司、项目部监督实施情况,并核实执行结果,对未按规定时间和任务完成的,督促整改,直至完成。
6.2.项目部专业工程师负责工程量的复核,现场成本管理员负责造价的复核。
6.3.现场签证施工结束后,项目部专业工程师组织完成签证实施情况的核实工作,与监理、施工单位、现场成本管理员共同在《现场签证单》中签字确认。
6.4.如需要实测实量的,则由项目现场工程师、现场成本管理员、监理、施工单位到场测量,并在《现场签证单》上签字确认。
6.5.隐蔽工程签证必须在隐蔽前完成验收手续和工作量确认。
7.现场签证的结算
7.1.成本管理部对已完工的项目按《工程预结算编制及审核作业指引》进行结算。
7.2.施工单位根据确认的签证内容,编制竣工结算,竣工结算需“一单一价”。
7天之内完成结算,否则不予办理。
7.3.施工单位每月25日前汇总上月20日至本月20日经项目部审核确认的现场签证结算,结算编制需“一单一价”,并附《项目年月现场签证汇总表》,报送现场成本管理员、项目部经理审核,成本管理部审批。
8.现场签证的汇总分析
8.1.现场成本管理员每月对现场工程签证情况进行汇总分析,形成《签证汇总表》。
8.2.现场成本管理员负责对完工的《现场签证签单》进行归档保存。
9.其他管理要求
9.1.《现场签证签单》字迹端正、语意清楚明了,必要时附上示意图,标明各种尺寸。
9.2.签证单必须连续编号;所附资料有甲方指令单,现场实测实量记录,施工前照片,施工后照片。
9.3.隐蔽工程签证必须在隐蔽前完成验收手续,工作量确认;
9.4.签证必须由甲、乙、监理三方签字后才有效;
9.签证单需列出附带预算或各工作量计算稿,并画出草图;
9.6.签证原件一式五份,乙方两份,监理一份,甲方两份(项目部一份,成本管理部一份)。
9.7.项目部在办理承包商报送的现场签证时,要特别关注不合理签证,如发现不合理签证,须做好记录,说明不予签证的原因,并完成正常的审批程序,存档备案。
9.8.不合理签证包括但不限于以下几种情况:
a)该签证已经办理,又出现的重复签证;
b)该签证的工作内容已经包括在合同中的,无需再办理的签证;
c)属于施工单位工作失误造成的工程签证,如,施工单位前期进度耽误造成后期赶工费用增加;施工单位因质量问题造成的工程返工,费用增加等;
d)签证所列的工程量内容从预算角度不应该单独列项,其已经包含在其他工程预算子目中。