布线信息点统计表
- 格式:xlsx
- 大小:11.68 KB
- 文档页数:1
实验一综合布线系统信息点规划设计和点数统计表(工作区计划)。
【实验目的】1)学会工作区上的每上的信息点的统计和规划并置表。
2)按照GB50311国家标准规定,工作区是一个独立的需要设置终端设备的区域。
工作区应由配线(水平)布线系统的信息插座延伸到终端设备处的连接电缆组成。
一个工作区的服务面积可按5~10平方米估算3)实验时间6课时【实验环境】具有office2003(excel)的计算机,一座模拟建筑物.【实验重点及难点】重点:信息点统计和制表。
难点:信息点的规划。
【实验指导】信息点数量和位置的规划设计非常重要,直接决定项目投资规模。
一般使用Excel工作表或Word表格,主要设计和统计建筑物的数据、语音、控制设备等信息点数量。
按不同的应用环境调整大小。
1.工作区内线槽的敷设要合理、美观;2.信息插座设计在距离地面30厘米以上;3.信息插座与设备的距离保持在5米范围内;4.网卡接口类型要与线缆接口类型保持一致;5. 信息模块、信息插座、面板的数量要准确。
工作区设计时,具体操作可按以下三步进行:第一根据楼层平面图计算每层楼布线面积;第二估算信息引出插座数量;第三确定信息引出插座的类型。
【实验内容】工作区子系统设计的步骤一般为:1、与用户进行充分的技术交流和了解建筑物用途,2、认真阅读建筑物设计图纸,3、进行初步规划和设计,4、进行概算和预算。
一般工作流程如下:需求分析→技术交流→阅读建筑物图纸→初步设计方案→概算→方案确认→正式设计→预算需求分析是综合布线系统设计的首项重要工作,对后续工作的顺利开展是非常重要的,也直接影响最终工程造价。
需求分析主要掌握用户的当前用途和未来扩展需要,目的是把设计对象归类,按照写字楼、宾馆、综合办公室、生产车间、会议室、商场、等类别进行归类,为后续设计确定方向和重点。
需求分析首先从整栋建筑物的用途开始进行,然后按照楼层进行分析,最后再到楼层的各个工作区或者房间,逐步明确和确认每层和每个工作区的用途和功能,分析这个工作区的需求,规划工作区的信息点数量和位置。
综合布线工程信息点数量统计表编制一、制作点数统计表首先在表格第一行填写文件名称,第二行填写房间或区域编号,第三行填写数据点TO 和语音点TP。
一般数据点在左栏,语音点在右栏,其余行对应楼层,注意每个楼层按照两行,其中一行为数据点,一行为语音点,同时填写楼层号.楼层号一般按照第一行为顶层,最后一行为一层。
然后编制列,第一列为楼层编号,其余为房间编号。
二、填写数据和语音信息点数量按照西元教学模型,把每个房间的数据点和语音点数量填写到表格中。
填写时逐层逐房间进行,从楼层的第一个房间开始,逐间分析应用需求和划分工作区,确认信息点数量。
在每个工作区,首先确定数据信息点数量,然后考虑语音信息点数量,同时还要考虑其它智能化和控制设备的需要。
表格中对于不需要设置信息点的位置不能空白,而是填写0。
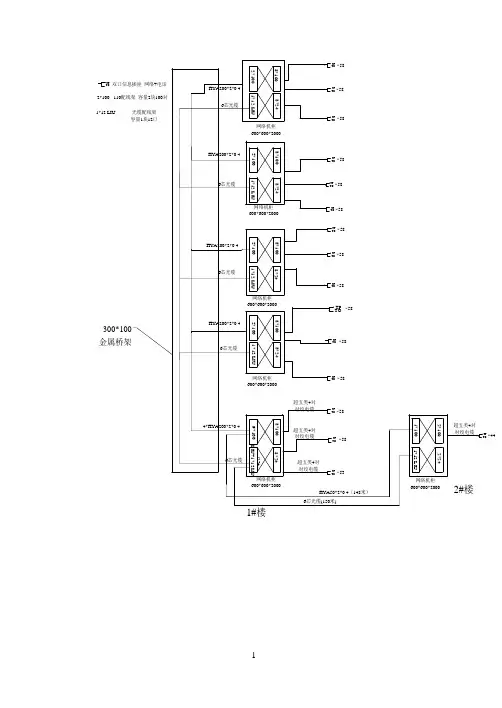
设计综合布线工程系统图编制信息点端口对应表综合布线工程信息点端口对应表应该在进场施工前完成,并且打印带到现场,方便现场施工编号。
端口对应表是综合布线施工必需的技术文件,主要规定房间编号,信息点编号,配线架编号,端口编号,机柜编号等,主要用于系统管理、施工方便和后续日常维护。
端口对应表编制要求如下:1.表格设计合理一般使用A4幅面竖向排版的文件,要求表格打印后,表格宽度和文字大小合理,编号清楚,特别是编号数字不能太大或者太小,一般使用小四或者五号字。
2.编号正确信息点端口编号一般由数字+字母串组成,编号中必须包含工作区位置、端口位置、配线架编号、配线架端口编号、机柜编号等信息,能够直观反映信息点与配线架端口的对应关系。
3.文件名称正确端口对应表可以按照建筑物编制,也可以按照楼层编制,或者按照FD配线机柜编制,无论采取哪种编制方法,都要在文件名称中直接体现端口的区域,能够直接反映该文件内容。
4.签字和日期正确作为工程技术文件,编写、审核、审定、批准等人员签字非常重要,如果没有签字就无法确认该文件的有效性,也没有人对文件负责,更没有人敢使用。
1.UTP:不带隔离的非屏蔽双绞线
2.UTP-:带一字隔离的非屏蔽双绞线
3.UTP+:带十字隔离的非屏蔽双绞线
4.F/UTP:铝箔总屏蔽双绞线,不带隔离
5.F+/UTP:双层铝箔总屏蔽双绞线,不带隔离
6.F/UTP-:铝箔总屏蔽双绞线,带一字隔离
7.F/UTP+:铝箔总屏蔽双绞线,带十字隔离
8.F2/UTP+:双层铝箔总屏蔽双绞线,带十字隔离
9.SF/UTP:丝网铝箔总屏蔽双绞线,不带隔离
10.SF/UTP-:丝网铝箔总屏蔽双绞线,带一字隔离
11.SF/UTP+:丝网铝箔总屏蔽双绞线,带十字隔离
12.U/FTP:铝箔线对屏蔽双绞线
13.F/FTP:铝箔总屏蔽/铝箔线对屏蔽双绞线
14.S/FTP:丝网总屏蔽/铝箔线对屏蔽双绞线
*截面利用率指管内空间与双绞线总截面积之比
*25%、30%是指在GB 50312-2007标准中规定的截面利用率上下限 *16/1.2~50/2.5等等指金属管的标称直径/壁厚
*表中数字指此类管中可以穿过的双绞线根数。