【流程管理】业务流程图范本(doc 104页)
- 格式:doc
- 大小:1.93 MB
- 文档页数:141
公司各项业务流程图行政人事管理流程入职流程在入职前,行政管理中心会通过发《聘用通知》或电话通知新员工报到时间和所需资料等准备工作。
新员工报到时需填写员工履历表并办理入职手续,包括录入打卡指纹、发放基本办公用品、安排住宿,并带领新员工参观办公区域和用餐区域。
同时,行政管理中心会向各部门介绍新员工,并安排入职前的培训和研究,包括公司制度、员工手册和岗位职责。
最后,新员工将到所在部门上岗,并安排工作交接。
离职流程员工在离职前需提交辞职申请。
试用期内员工需提前一周向部门主管申请离职,正式员工则需提前一个月向部门主管申请离职。
离职审批顺序为部门主管审批、部门经理审批、行政管理中心主任审批和总经理批准。
员工级的辞职审批可由人力行政主管审批完毕后即可,而主管级及以上的辞职审批须经总经理批准完毕后方可离职。
审批完毕后,员工将离职申请表交至行政管理中心,按人力行政主管核准离职日期之后开始领取离职单进行交接。
交接时需按离职表上所涉及的相关部门负责人依次进行交接签字,生效后把离职单交回人事行政部门。
最后,行政管理中心将办理离职移交手续并结算薪资。
请假流程员工需申领《请假单》并经过部门主管、部门经理、人力行政主管和总经理的审批。
请假时间超过三天以上者到假时必须销假以便人力部行政部门核销。
请假时间超过3天以上请假人员需经总经理批准后方可生效,3天以下主管可直接审批。
交《请假单》至行政管理中心,留存联个人或部门留存,以备核算考勤。
出差流程员工需提出出差申请,并经过部门总监或总经理的审批。
行政管理中心会预领出差费并安排交通工具。
在出差过程中,员工需完成其他事务安排,并回公司报到。
出差结束后,员工需完成出差汇报和总结,并移交相关资料。
差旅费审核由财务总监完成,最后员工需办理报销结单。
专项档案管理流程行政管理中心负责收集、整理和分类相关部门的专项档案。
主管领导审核后,行政管理中心会进行编号、装订归档和整理,并交由总经理审批档案鉴定。
(BPM业务流程管理)业务流程操作流程图·风险控制部业务流程图:·风险控制业务流程操作细则:1、基本对接:业务经理在去企业调查之前与风险控制部基本对接,包括贷款企业名称,贷款金额,贷款期限,担保费率,企业从属行业性质。
2、搜集信息:风险控制部基本了解企业情况之后搜集企业基本信息与从属行业相关信息。
3、风控专员对接:通过业务部尽职调查,风险控制部根据企业所处行业及经营状况、借款人实际情况的不同,秉承务实高效,抓大放小且实质重于形式的原则,对企业的贷款用途及信用状况,经营管理能力、经营理念、发展趋势及近期财务指标主项核证(应收、应付主要客户往来记录,其他应付项目落实、成本分布明细等)进行详细对接。
4、审核及完善资料:通过对借款人的贷前,贷中审核内容主要有:◆借款方的实际贷款用途;◆借款方的基本信息(包括其基础资料,充分了解借款方的偿还能力及信誉程度);◆抵押物的基本情况,质押物的基本情况;◆第三方保证情况等相关的资料的核证5、风险控制部论证风险:风险控制部贯穿整个贷款业务操作的全过程,组织内审、授信、法务,秉承齐抓共管,协调一致,从企业内部管理上把握贷款担保风险,其主要风险论证包括:◆担保申请人的基本资料A、法人1、营业执照、税务登记证、组织机构代码证、工商信息查询单;2、公司简介、验资报告、公司章程;3、法人代表身份证、法人代表证明书和授权委托书;4、申请担保的董事(股东)会决议及董事(股东)会成员签字样本;5、借款用途有关的证明材料(购销合同、合作协议等);6、内审部审核近二年财务审计报告、近三个月财务报表(资产负债表、损益表、现金流量表)、银行对账单和近三个月的税单及水电费清单;7、贷款卡及银行信贷登记咨询系统信息单,与报表不符应详细说明;8、内审部审验存货明细、固定资产明细、应收账款明细及账龄分析表、或有负债情况表等;9、反担保人\物\企业的有关资料;10、其他有关资料。
业务流程图
1. 采购员将入库单交给检验员,检验员将不合格的入库单退回采购员,合格的入库单交保
管员并计入库存台账,统计员根据库存台账制定月报表交主管部门审阅。
2.
采购员从仓库收到缺货通知单以后,查阅订货合同单,假设已定货,向供货单位发出催货请求,否那么,填写订货单交供货单位。
供货单位发出货物后,立即向采购员发出取货通知。
3. 车间填写领料单给仓库要求领料,库长根据用料方案审批领料单,未批准的退回车间,
已批准的领料单送到仓库保管员处,由他查阅库存帐。
假设账上有货那么通知车间前来领料,否那么将缺货通知采购人员。
4.图书馆借书流程图
学生通过图书管理系统进展查询所借图书所在位置及有无库存
借书时出示借阅证,图书管理人员判断借书数是否满额及是否有逾期未还图书,两种情况都没有那么准予借阅,通过信息系统更改数据库信息。
5.图书馆还书流程图。
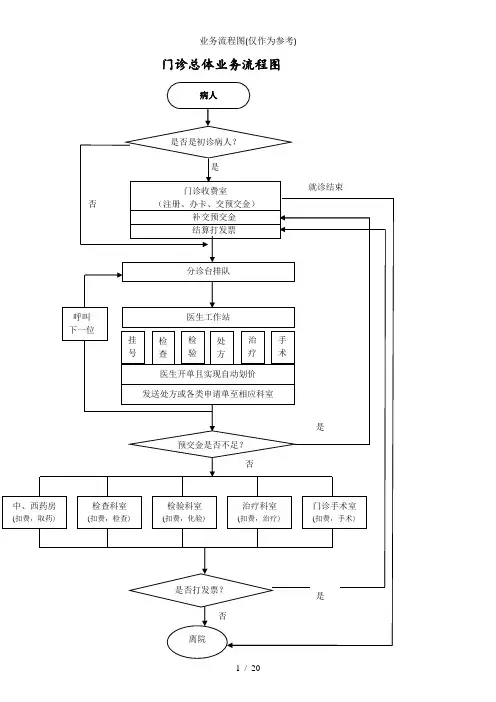
门诊总体业务流程图
门诊收费处相关流程图病人注册流程图
就诊卡管理流程图
开单退费流程图开单扣费流程图
门诊费用结算流程图
门诊发票操作流程图门诊费用减免流程图
门诊医生
病人挂号流程图
门诊诊病流程图
退费流程图
门诊配药相关流程配药流程图
退药操作流程图
医技系统
申请单执行流程图
开单退费流程图
门诊检验流程
住院总体业务流程图
住院收费
收款员结帐流程图
重新 结帐
住院发票操作流程图
住院医生
退费流程图 查原因重开各类医嘱
护理
病人管理流程图
开单扣费流程图
开单退费流程图
住院摆药流程图
退药操作流程图
手术管理流程图
麻醉管理流程图
开单退费流程图
医技系统
申请单执行流程图
开单退费流程图
住院检验流程
药剂业务流程
药库管理系统流程图:
药品出入库业务流程图:
汇款操作流程图:
采购入库或作废
采购业务流程图:
盘点业务操作流程图:
调价业务流程图
药房管理系统流程图
盘点业务操作流程图:。
管理业务流程图管理业务流程图是一种将业务流程可视化展示的工具,可以帮助管理者更好地理解和分析企业的运营流程,以便能够采取有效的措施进行管理。
下面是一个针对某企业的管理业务流程图的示例:首先,该企业的管理业务流程图包括四个主要步骤:计划、组织、实施和控制。
在计划阶段,企业的管理者需要确定目标和策略,为企业的发展制定详细的计划。
首先,需要确定企业的长期和短期目标,并分析内外部环境的影响因素。
其次,需要制定相应的市场营销策略,包括市场细分、目标市场选择、市场定位和市场营销策略。
然后,需要进行财务规划,包括预算和资金筹集计划。
最后,需要制定人力资源计划,包括招聘、培训和绩效评估等。
在组织阶段,企业需要根据计划制定相应的组织结构和人员安排。
首先,需要确定企业的组织结构,包括职能和权责的划分。
然后,需要进行岗位设置和人员配备,确保每个岗位都有合适的人员进行工作。
接下来,需要制定工作流程和分工,确保各项工作能够有序进行。
此外,还需要进行团队建设和培训,提高员工的工作能力和士气。
在实施阶段,企业需要按照计划进行具体的业务操作。
首先,需要落实市场营销策略,包括产品推广、渠道建设和客户关系管理等。
然后,需要进行生产经营管理,包括原材料采购、生产制造和质量控制等。
同时,还需要进行供应链管理和客户服务管理,确保产品能够及时地送达客户,并提供良好的售后服务。
在控制阶段,企业需要对业务进行监控和评估,以便及时采取措施进行调整。
首先,需要进行业绩评估,包括财务和非财务指标的分析。
然后,需要进行风险管理,识别和评估潜在的风险,并制定相应的防范措施。
此外,还需要进行绩效评估和改进,包括员工的绩效考核和流程的改进。
总之,管理业务流程图可以帮助企业更好地理解和分析企业的运营流程,并采取相应的措施进行管理。
通过对每个步骤进行详细的规划、组织、实施和控制,企业可以提高运营效率和绩效,增强竞争力。
厂Z 片业务部工作流程图一、11推广① 参加与本公司业务相关的国际、国内的大型植保机械展会,增强产品竞争性。
② 完善网站页面,建立属于自己的植保机械网站进行网络推广,并在各大网站投注设置关 键搜索,建立产品信息顺畅传递渠道,增加潜在客户对本公司的关注度。
③ 参加政府等有关机构举办的现场演示会。
④ 在各业务员的回访客户期间,大力宣传公司的产品,提高本公司产品的覆盖率。
以下为①、③的流程图:工具、配件揪糧.祁展、撤庸、苗喘 StJIiiW硝汇九片t?丙k• ------------------------------ 10 _________________ J以下为业务员回访流程图:(提前申请)④回访时发生的公出、出差行为依相关规定管理。
8.1回访目的:①调查市场、研究市场。
②了解竞争对手。
③客户保养(电话保养、书面致意、登门拜访、联谊活动、其他):A、强化感情联系,建立核心客户。
B推动业务量。
C、结清货款。
④开发新客户。
⑤新产品推广。
⑥提高本公司产品的覆盖率。
11.2推广的原则:①推广过程中,各类人员要以身作则,维护公司的形象。
②业务部内部要相互辅助协作,为业务推广的成功贡献出属于自己的一份力量。
、4.关于接单、订单受理办法订单情报处理流程图4.3经销商订货下单:①经销商订货得以电话通知方式或当面通知。
②各业务部门接受订货时,应先调查有无该项库存,如有库存即予填具《销货申请单》并注明允许的信用额度及应收款项清形,一式两联,一联送主管签核,一联送财务部存查。
③各营业单位主管签核《销货申请单》时,应依据价格表及信用额度与应收款项情形,审核该销货价格及该订单是否超出授信额度。
④非授权价格范围内的受订或超信额及无经销合同者的受订,应呈上一级权责主管核准。
⑤若客户以现金或支付票据订货时,应于《销货申请单》的备注栏内,注明现金交易。
⑥上述的《销货申请单》,其有关客户信用额度的资料,各营业单位负责的会计或助理人员应详实签注。
购销存业务管理流程为了加强商品的进销存管理,规进销存流程,实现账账相符,账物相符的管理目标,使员工在工作中有章可循,便于操作,现对产品的购进、销售、及仓储等方面做出规定要求,请遵照执行。
一、购销存业务流程图13254796810二、各业务流程1、采购由保管员根据企业库存和销售情况填写《采购单》(须注明采购商品名称、型号、数量等。
一式二联,第一联留存,第二联交由采购员采购),经销售主管确认、审核后,报总经理批准。
采购员按照签字齐全的《采购单》进行采购。
并应先了解市场行情、选择供应商、确定价格、签订采购合同。
然后根据采购合同到会计处办理付款手续。
采购销售保管库存(审核、记账)会计存货(复核、记账)应收应付会计总账(审核、记账)由采购员根据采购合同所需金额填写《付款申请》,经销售主管审核,报总经理批准后,交由财务人员付款。
采购员采购回货物后须及时在仓库保管处办理入库手续。
2、入库货到后,采购员凭购进发票或货物清单上的标识、质量、规格、型号、商品名称、数量等会同保管员、送货人共同验收核对。
对少于货物清单数量的商品按实际数量收货;对多出货物清单数量的商品不予收货。
验收完毕后,开具货物《入库单》(一式三联,第一联留存,第二联附货物清单交财务结算并记账,第三联交给采购员月底对账),并及时登记保管明细账。
3、出库由开票员开具《出库单》(或《销售单》等。
一式四联,第一联存根,第二联出纳收款,第三联保管员发货依据,第四联客户),并由出纳员收款,收款后加盖现金收讫章(或转账收讫)和出纳个人私章。
保管员应按照收款后的《出库单》的明细发货,并及时登记明细账。
4、收款及付款(1)、收款收货款时出纳员应先根据开票员开具的《出库单》(《销售单》或《销售发票》等)内容进行复核,核对数量、单价以及金额是否正确,无误后再予以收款。
除货款以外的收入由会计开具《收款收据》(一式三联。
第一联存根联由开票员留存;第二联记账联由出纳收款后加盖现金收讫章及出纳员印章后,于每天工作日结束前上交会计;第三联客户联。
第二部分业务流程图第一章安全管理科业务流程图1、安全检查业务流程图2、规程、措施审批业务流程图有问题3、安全例会会议流程图对纪要内容督促落实,并对落实情况进行考核并汇报分管领导第二章调度室业务流程图1、上级通知、通报、传真、指令等业务文件处理流程图2、清水营煤矿采煤、进尺管理流程图3、调度通知、通报、纪要业务处理流程图4、调度日报业务流程图5、调度月报业务流程图6、《清水营煤矿调度简报》业务流程图7、调度工作总结、报告、汇报材料等业务流程图9、重大生产影响业务流程图10、有害气体监控业务流程图11、重大生产影响汇报业务流程图12、重大事故抢险业务流程图13、雨季“三防”业务流程图14、调度员下井业务流程图15、调度信息登陆业务流程图16、重要汇报、请示、报告业务流程图17、生产协调会议流程图18、文明生产检查管理流程图19、物料下放管理流程图20、产量、进尺管理流程图第三章生产技术科业务流程1、规程措施管理流程图2、设计管理流程图3、矿井水情水害定期排查流程图4、地质编录与原始资料收集流程图5、测量放线流程图6、生产接续管理流程图7、开(复)停工管理流程图8、井下施焊作业流程图第四章机电动力科业务流程图2、设备计划招标业务流程图3、设备结算业务流程图4、停电(水)/送电(水)工作流程图5、双增双节工作流程图6、节能减排工作流程图第五章办公室业务流程图1、办公用品管理流程图2、业务招待流程图3、业务招待费结算、报销流程图4、来宾住宿安排流程图备注:在矿区外发生的业务招待费由矿长签字后交由办公室报销5、车辆使用流程图6、车辆维修流程图7、收文流程图8、发文流程图9、对外信息资料报送流程图10、基建工程内业资料移交流程图11、会议组织流程图12、信访接待流程图第六章组宣科业务流程图1、党委党员大会(代表大会)工作流程图2、党委中心组政治理论学习流程图3、政工例会工作流程图4、党委民主生活会工作流程图5、入党宣誓仪式工作流程图6、党支部民主生活会工作流程图。
业务流程图模板
在使用业务流程图模板时,首先需要明确整个业务流程的目标和范围。
这包括确定业务流程的起点和终点,以及需要涉及的各个环节和步骤。
在明确了业务流程的范围后,我们就可以开始使用业务流程图模板来创建业务流程图了。
业务流程图模板通常包括了各种符号和图形元素,比如开始/结束符号、流程符号、决策符号等。
这些符号和图形元素可以帮助我们清晰地描述业务流程中的各个环节和步骤,同时也能够体现出它们之间的关联和顺序。
在使用业务流程图模板时,我们需要根据实际情况选择合适的符号和图形元素,并将它们组合在一起,构建出一个完整的业务流程图。
除了符号和图形元素之外,业务流程图模板还通常包括了一些文本框和注释框。
这些文本框和注释框可以用来描述业务流程中的具体步骤和环节,同时也可以用来添加一些额外的说明和解释。
在使用业务流程图模板时,我们需要充分利用这些文本框和注释框,将业务流程图中的各个环节和步骤描述清晰、准确。
在创建业务流程图的过程中,我们还需要注意一些细节问题。
比如,需要保持业务流程图的整体美观和清晰,尽量避免拥挤和混
乱的情况。
同时,也需要确保业务流程图中的各个符号和图形元素
之间的连线和关联是准确和清晰的,避免出现歧义和误解。
总的来说,使用业务流程图模板来创建和展示业务流程图是非
常有益的。
它可以帮助我们清晰地描述业务流程中的各个环节和步骤,同时也能够体现出它们之间的关联和顺序。
因此,在实际的工
作中,我们可以充分利用业务流程图模板,来规范流程、提高效率、降低成本,从而更好地完成各项工作任务。
K 3整整整整整整 整整整整整FA S T01 整整整整整Level 1整整整整整整整整整 体整 整流程成本核算QC 检验销售订单MRP 计划单物料需求计划生产投料单销售出库单产品入库单财务记账销售发货通知单采购订单外购入库单生产任务单财务记账QC 检验采购申请单领料单销售发票销售收款采购发票检查财务处理产品销售销售订单+市场预测执行MPS&MRP 运算整整整整1整整整整整整整 整整整整整整2整整整整整整整 整整整整整整3整整整整整整 整整整整整整4整整整整整整整整/整整整整整整整 整整整整整整整整5整整整整整整 整整整整整整整整6整整整整整整整整整 :整整整1整整整整整整整整整整整整整整整整整整整整整整整.2整整整整整,整整整整整整整整整整整整整整整整整整整整整整整整整整整整整整整整整整3整整整整整整整整整整整整整整整整整/整整整整整整整整整整整整整整整整整整整整整整4整整整整整整整/整整整整整整整整整整整整整整整整整整整整整整整整整整整整整整整5整整整整整整整整整整整整整整整整整整整整整整整整整整整整整整整整整整整整整整整整整整整整整整整6整整整整整整整整整整整整整整整整整整整整整整整整整整整整整整整整整整整整整整整整整整整整整整整整整整整整整整整整整整整整整整整整 整整整整整X S 01 整整整整整Level 2整整整整整整整整整售 整 整流程整整整整整整整整整1整整整整整整整整整整整整整整整整整整整整整整整整整整整整整整整整整整整2整整整整整整整整整整整整整整整整整整整整整整整整整整整整整整整整整整整整整整4整整整整整整整整整整整整整整整整整整整整整整整整整1整整整整整 整整整整整整整整整整 整整整 整整整整整4整整整整整 整整整整整整整整整 整整整整 整整整整整整整整5整整整整整整 整整整整整整整整整 整整整整整 整整整整整整整整整6整整整整整 整整整整整整整整整 整整整整 整整整整整整整整7整整整整整 整整整整整整整整整 整整整整 整整整整整整整整整8整整整整 整整整 整整整 整整整9整整整整整 整整整整整整整 整整整整 整整整整整整整整整整整整整整整整整整整整整整整整整管理报表1、销售毛利润表 8、销售订单执行情况明细/汇总表2、产品销售增长分析3、销售区域分析4、业务员业绩分析5、年度/月度产品销售分析6、销售收入统计表7、销售出库明细/汇总表整整整客户新增流程工程部备注财务部销售部操作说明1、销售部发起客户新增需求。
图2.1 生产系统总体业务流程图1.1生产系统总体业务流程见图2.1 生产系统总体业务流程图1.2生产系统总体流程描述1.3订单处理流程1.3.1订单处理总体流程1.3.1.1订单处理总体流程描述1.3.1.2订单处理总体流程图31.3.1.3订单处理业务总体流程操作步骤说明41.3.1.4订单处理业务相关报表、单据1.3.2新产品/特殊规格处理流程1.3.2.1新产品/特殊规格处理流程描述1.3.2.2新产品/特殊规格处理流程图1.3.2.3新产品/特殊规格处理流程操作步骤说明1.3.2.4新产品/特殊规格处理流程相关报表、单据1.3.3大订单处理流程1.3.3.1大订单处理流程描述1.3.3.2大订单处理流程图1.3.3.3大订单处理业务流程操作步骤说明1.3.3.4大订单处理业务相关报表、单据1.3.4紧急订单处理流程1.3.4.1紧急订单处理流程描述1.3.4.2紧急订单处理流程图1.3.4.3紧急订单处理流程操作步骤说明1.3.4.4紧急订单处理业务相关报表、单据1.3.5插单流程1.3.5.1插单基本流程1.3.5.1.1插单基本流程描述1.3.5.1.2插单基本流程图1.3.5.1.3插单业务基本流程操作步骤说明1.3.5.1.4插单业务基本流程相关报表、单据1.3.5.2插单申请流程1.3.5.2.1插单申请流程描述1.3.51.3.5.2.3插单申请流程操作步骤说明1.3.5.2.4插单申请业务相关报表、单据1.3.5.3插单审批流程1.3.5.3.1插单审批流程描述1.3.5.3.2插单审批流程图1.3.5.3.3插单审批流程操作步骤说明1.3.5.3.4插单审批业务相关报表、单据1.3.6订单汇总排序流程1.3.6.1订单汇总排序流程描述1.3.6.2订单汇总排序流程图1.3.6.3订单汇总排序流程操作步骤说明1.3.6.4订单汇总排序流程相关报表、单据1.4备货计划日分解流程。