ZYJ7道岔检修作业指导书
- 格式:doc
- 大小:92.50 KB
- 文档页数:11
ZYJ7道岔检修作业指导书1、工具材料仪表:个人工具、设备钥匙、手锤、350/400活口扳手、梅花扳手、4mm/2mm、盒尺、刮腻子铲、大改锥、镊子、钢丝刷子、油壶、毛刷、鹿皮、开口销、1.6Mm小邦线、液压油、破布、调整垫片、油压表、MF14表、绝缘在线测试仪2、安全风险此案关键项点:1、道岔密帖不良、4MM锁闭2、道岔机械暗伤裂纹、磨耗超限、3、道岔防护罩固定不良4、机内进水进潮接点调整不当5、液压道岔渗油漏油油管防护不良6、表示缺口变化7、安装装置绝缘不良8、液压道岔非正常挤脱9、尖轨爬行超标钢轨肥边过大岔区结合部工务作业无电务人员监护10、违章使用手摇把违章处理道岔故障3、控制措施:1、检修时看密贴,工务病害及时整,4MM保良好2、道岔清扫要彻底不良配件要更换3、防护罩固定良好破损时及时更换4、机内要清扫,盘根要良好,雨雪天气要晾晒,接点调整要符合要求。
5、摩卡部位要防护,漏油渗油及时找,油位要适当,压力要正好6、表示缺口及时调,卡尺要准确。
7、装置绝缘定期测发现不良要处理8、道岔病害是关键重点道岔加密检9、联系要及时巡检要仔细岔区结合部工务作业要订空10、使用手摇把要命令,严禁制度不能碰实验彻底交付用,首趟列车要订空4、作业标准:1、带齐工具材料仪表2、标准化着装上道3、道岔安装水平方正,尖轨爬行不超限,连接安装装置的轨枕安装方正,尺度正确,道岔正常转换过程中各部件无摩卡,动作平稳,灵活无别劲卡组现象4、安装装置,外所装置,转辙机无锈蚀,无旧伤裂纹。
各杆件销旷不大于10Mm5、道岔各活动部位清洁油润无锈蚀各部螺栓齐全紧固各开口销齐全撇开角度合适6、尖轨与基本轨,心轨与翼轨应达到静态宏观密贴道岔锁闭时允许尖轨尖端与第一牵引点处有不大于0.5MM间隙其余各处有不大于1MM间隙7、尖轨第一牵引点、第二牵引点处锁闭杆与基本轨心轨第一牵引点处锁闭杆与翼轨达到4MM不能锁闭且不得接通道岔表示8、道岔各处绝缘良好,无破损,阻值大于20欧要更换9、油管槽钢安装防护良好,油管无伤痕压扁现象10、尖轨开程与机内表示斥离缺口符合要求11、道岔各杆件调整量应大于10MM转辙机外壳边缘与基本轨直线距离偏差不大于5MM12、外锁闭杆限位块与锁闭框间隙为0-3MM13、机盖要严密,机内零件齐全,各衬套与机械滑动部位油润作用良好,所有油路密封件齐全无渗漏14、遮断器通断灵活接触良好打入深度合适15、溢流阀动作灵活邮箱内油位达标16、自动开闭器动静接点通断灵活接触良好安装牢固17扳动试验无异常转换过程无卡阻惯性轮作用良好18、锁闭杆与锁闭住检查住与表示杆动作正常无摩卡19、各接点组接触断开良好开关滚轮灵活无卡组可靠接通常开常闭接点20、道岔正常转换过程不大于8.5S21、道岔正常转换压力小于等于9.35MP溢流压力为10-11MP不大于12.5MP22、定反位密贴检查:主机密帖缺口:2加减1.5MM斥离缺口:18加减3MM副机密帖缺口:4加减1.5MM斥离缺口:8加减3MM23、机内配线整齐连接牢固电气端子紧固无松动24、挤脱器外观良好开口销、铅封齐全良好。
ZYJ7液压道岔检修作业程序及质量标准●日常养护一、箱盒外部检查1、箱盒无破损,蛇管、加锁装置良好。
2、基础倾斜不超过10mm,箱盒底距地面不少于150mm,排水良好。
3、各部螺栓油润、紧固、满帽。
4、硬面整洁无杂物。
二、转辙机外部检查1、防护罩及各部无缺损,加锁装置良好。
2、设备名称及定位标志清晰正确。
各部螺栓油润、紧固、满帽。
3、缺口标记无变化。
三、安装装置检查1、安装装置的紧固件、开口销、连接销、表示杆和锁闭杆螺母,齐全、不松动,防松措施良好,开口销角度应大于600,两臂劈开角度应基本一致。
2、基础托板应安装牢固,连接轨枕的的托板与两基本轨轨顶面的延长线平行,托板两端及两托板的高低偏差应不大于5mm,固定螺栓紧固,无旧伤裂纹,钢轨内无石渣及杂物。
3、各种杆件销孔旷动量应不大于1mm,摩擦面应油润。
4、安装装置各部绝缘完整、良好。
道岔设备周围1m范围无杂草、杂物。
四、外锁闭装置检查1、钩式外锁闭锁钩与锁闭杆接触的摩擦面及运动范围内无沙石、异物等,运动灵活,无卡阻。
2、钩式外锁闭表示拉杆的接头与尖端铁的连接应紧固、不松动。
3、钩式外锁闭锁钩、锁闭杆及锁闭铁应保持清洁、油润、无锈蚀。
根据季节变换,道岔定期使用冬用机油、夏用机油。
锁钩横向轴串效果良好,能自动调节锁钩转角。
4、尖轨及心轨的锁闭量符合要求:尖轨、心轨第一牵引点锁闭量均为≥35mm,第二、三牵引点锁闭量均为≥20mm;锁闭量定位、反位应均匀,其误差不大于2mm。
五、道岔状况检查1、设备无外界干扰和异状,尖轨和基本轨间无异物,槽钢内无杂物。
2、道岔密贴状态良好,尖轨、基本轨飞边不得影响道岔密贴。
3、道岔安装方正:(1)锁闭杆、表示杆与直股基本轨相垂直,各杆的两端间与直股基本轨或中心线垂直偏差均不大于10mm。
(2)电转机机壳纵侧面的两端与直股基本轨或中心线垂直距离的偏差不大于5mm。
(3)各种道岔拉杆,其水平方向的两端高低偏差或中心线垂直偏差不大于5mm(以两基本轨工作面为基准)。
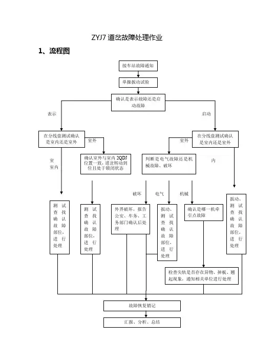
ZYJ7道岔故障处理作业1、流程图2、作业指导书2.1 接到故障通知2.1.1 接到故障通知后,迅速赶赴运转室,确认设备故障情况,并按要求办理登记停用手续。
2.1.2 向车间调度和段调度汇报故障发生情况。
2.1.3 相关故障处理人员进行故障处理准备,初步判断故障范围,明确是否需上道处理故障。
2.1.4 确需上道处理故障,立即准备所需器材、工具、材料、仪表(包括劳动防护器具、通信工具、故障处理专用工具、MF14型万用表等),穿着防护服、绝缘鞋。
2.2 登记联系、防护2.2.1 驻站联络员及时办理登记停用手续。
2.2.2 确需上道处理故障,驻站联络员立即办理登记要点手续,立即向电务段调度汇报并申请电务段上道命令,命令号下达后立即向故障处理人员传达相关命令。
2.2.3 处理故障人员接到室内联络员作业命令号后,人员方可上道处理故障。
2.2.4 驻站联络员在联系过程中严格执行现场作业各项卡控制度,做好列车运行预告和防护工作,保持与室外人员联系畅通,确保室外人员人身安全。
4.2.5 室外人员到达现场,通报自己所在位置及人员姓名,对故障设备的地点、名称双方核对确认。
2.3 处理故障2.3.1 接到故障通知后,及时赶赴运转室,确认道岔故障情况和影响范围,按照故障处理程序及时上报车间调度、段调度。
2.3.2 通过微机监测设备回放故障发生时的基本情况,包括站场信息变化、道岔分表示、道岔功率曲线、道岔启动电流曲线和电压曲线。
2.3.2.1 站场信息变化调看内容:确认道岔故障属于扳动后断表示还是未扳动断表示,岔区是否有车辆运行和各种报警(含外电网波动、I路II路电源切换、外电网瞬间断电等信息)。
2.3.2.2 道岔分表示回放:确认该组道岔中每台转辙机的分表示情况正常与否,只能以道岔发生故障后的第一次现象为准,确认属于哪台转辙机故障。
2.3.2.3 道岔功率曲线、道岔启动电流曲线和电压曲线调看内容:在确认出故障的转辙机后,通过调看三种曲线,其中功率曲线以故障发生的第一次记录曲线为准,动作电流曲线可以确认出到道岔的扳动次数和三相电流的完整。
ZYJ7外锁道岔检修作业程序及标准检修作业程序、内容与要求1.登记由室内值班人员,按有关规定在“运统-46”中登记签认。
2.现场联系2.1现场作业人员与室内值班人员联系,相互呼叫试好电话,讲清作业地点,道岔号码及工作内容。
2.2扳动道岔现场核对道岔号码正确无误。
2.3联系用语要简单明了,相互复诵。
2.4影响使用时,必须要点,经车站值班员同意并签认执行。
3.道岔安装装置检查3.1基础托板应安装牢固,与钢轨轨面平行,不下垂,上翘时,最大不超过20mm,固定螺栓紧固,无旧伤裂纹,钢轨内无石碴及杂物。
3.2各部螺栓紧固,防松措施可靠。
3.3各种杆件平顺,不与其它无关部件相碰。
3.4各部绝缘状态良好。
3.5道岔设备周围1m范围内无杂草杂物。
4.外锁闭装置检修4.1外锁闭装置道岔各牵引点动程和锁闭量符合表1要求,锁闭量定、反位两侧应均等,其不均等偏差应不大于2mm..4.2尖轨、可动心轨爬行量不超过25mm.4.3道岔在定位和反位时,尖轨轨头刨切部分应与基本轨密贴,牵引点处缝隙不大于0.5mm,其余部分缝隙不大于1.0mm,尖轨尖端至第一牵引点区段缝隙不得大于0.2mm,可动心轨轨头刨切部分应与两翼轨密贴,第一牵引点处缝隙不大于0.5mm,其余部分缝隙不大于1.0mm。
锁闭杆与钢枕侧边缘的间距为85mm-95mm.。
4.4各连接杆调整接头转动灵活,丝扣余量不小于10mm,防松铁线(或卡箍)完整紧固有效,销孔磨耗间隙不大于1mm。
4.5基础弯板、各种垫板及各种拉杆腐蚀深度不得大于2mm。
4.6锁闭杆、锁闭钩、锁闭铁、锁闭框的滑动面不得出现大于1mm深度的腐蚀斑点。
4.7各部螺栓齐全紧固,外锁闭部件无旧伤裂纹及严重锈蚀,开口销齐全完好,各部绝缘完整无破损。
4.8各活动部位清扫注油良好,防尘罩齐全,作用良好。
4.9道岔在转换过程中,锁钩应动作平稳,在锁闭处锁钩准确到位且锁钩用检查锤检查,以锁钩能微量摆动为宜。
4.10外锁锁闭杆限位块与锁闭框间隙应不大于3mm。
设 备ZYJ7+SH6(尖轨)编号维修周期3个月作业条件修 程集中检修作业人员作业工具作业材料安全风险防控措施备 注流 程作业程序图示说明1.核对作业位置,确定检修对象2.对检修道岔外观在巡检过程中发现的问题进行校核1.打开转辙机机盖,扳动道岔时各部动作灵活稳定,无异声无异状ZYJ7+SH6(尖轨)道岔检修作业作业人员到达现场ZYJ7+SH6(尖轨)道岔检修作业工具:联络工具、ZYJ7型电液转辙机专用工具、润滑油壶、套筒(6mm、8十字螺丝刀(75mm、250mm)、尖嘴钳、长嘴钳、克丝钳、扁油刷仪表:万用表、油压表TR-1润滑油、机油、液压油、棉纱、白布、开口销、调整片1.机械锁闭失效(按照装置、外锁闭装置断裂,挤切销非正常折断,调整不当2.表示错误(违章作业人为给出假表示,联锁试验不彻底)可能导致列车冲突、脱轨;3.作业过程中人员、工具、仪表、器具侵限,危及作业人员和行车安全1.按照检修周期认真检查和检修,利用集中监测进行分析;2.严格落实电务各项安全作业制度;3.严格执行“三不动,三不离,三不放过”制度2.检查油位,测试油压、动作电压测试3.板动试验来回操动道岔,用2/4/6mm、10mm试验各牵引点密贴情况,根据需要调整4.开程检查5.观察定反位道岔缺口,根据需要调整,6.安装装置绝缘检查测试、填写检修卡1.断开安全接点2.机体安装牢固、完整,无异状、无裂纹,机内防水、防尘良好、无漏油、无锈蚀、机内清洁道岔一级测试、调整,填写卡片3.检查各部件无裂纹,各种开口销是否完好,开口角度符合要求;内部螺丝紧固、螺母齐全、无松动,配线整齐无损伤及混线可能,焊点焊接良好,原理图保存良好4.检查油泵电机组、联轴器、惯性轮转辙机内部检修5.检查自动开闭器接点组6.检查启动片、滚轮状态7.转换锁闭检查(包括:油缸、推板、动作杆、锁闭铁)8.检查挤脱器9.机机内注油1.箱盒内部清洁,防尘防潮设施良好,名牌齐全、正确,字迹清楚2.配线及电缆芯线不磨卡、不破皮,端子不松动,线头无断股、毛刺,焊头牢固,双螺母垫片套管齐全3.器材类型正确不超期,无过热现象;电缆配线图、原理图保存完好,字迹正确清晰、图实相符,无涂改1.检查密贴调整螺丝、缺口、活塞杆堵盖螺丝紧固情况2.调看道岔动作曲线,复查缺口有无变化;检查本次检修发现的无法当场解决的问题,缺点纳入问题库上报3.加锁良好,防尘罩固定良好后进行道岔位置核对,销记电缆盒(箱)内部检修复查、销记修作业指导书1、必须在天窗点内进行;2、携带工具、小材料齐全,并检查状态良好;3、工长(或组长)签发作业单;4、手持终端检查良好,电量充足3人mm、8mm、10mm)、一字螺丝刀(75mm、250mm)、扁油刷整不当)可能导致列车脱轨;能导致列车冲突、脱轨;和行车安全修作业指导书质量标准,风险提示1.ZYJ7+SH6型转辙机动作压力不大于10MPa,溢流压力不大于14MPa,建议一般调整12.5MPa;2.油箱内油位应在油标上、下限之间,如果油箱内油位低于油标尺下限,应注入YH-10号航空液压油3.在电机端子上搬动道岔测得额定电压380V1.4mm搬动试验不能锁闭,2mm应锁闭2.进行30s(13s)保护试验,30s(13s)保护试验应能自动切断电源;断向保护试验:断相后应能自动切断电源3.调整道岔密贴顺序:先调第二牵引点,再调第一牵引点(先后在前);ZYJ7+SH6型转辙机主机密贴缺口为2±0.5mm;副机密贴缺口为4±1.5mm轨面与安装装置绝缘电压为0V,绝缘良好断开距离应不小于2mm,非经人工恢复不得接通电路1.机内进水重点排查:锁堵、机盖密封胶条处;机盖密封胶条处,表示杆与动作杆进出口处及各轴套连接处2.机内漏油重点排查:油缸、油泵、溢流阀、油管接头处1.联轴器检查:电机、油泵间联轴器配合良好,转动时无卡组、无别劲、无过大噪声、用手可轴向拨动联轴器2.油路系统检查:油缸、动作杆动作平稳,无颤抖;油路系统各接头部分无泄露,油缸的动密封良好,活塞杆两端油膜不成滴3.惯性轮检查:惯性轮就是为防止上述现象设置的。
ZYJ型道岔(内锁闭)检修作业指导书1.目的规范额济纳运营维管段普速铁路ZYJ型道岔(内锁闭)检修程序,提高作业人员标准化作业水平。
2.范围适用于额济纳运营维管段普速铁路ZYJ型道岔(内锁闭)检修作业。
3.劳动组织4.工器具准备小工具2套钢丝刷及毛刷(毛刷1、2、35.检修方法5.2 作业方法5.2.1 机械部分检查5.2.1.1 转辙机及箱盒外部检查1)目测项目:①箱盒、防护罩及转辙机各部无破损、清洁,如不清洁需使用过棉纱清扫。
②设备标识清晰正确,蛇管、油管、加锁装置良好。
③各部螺栓油润、满帽,如不油润需使用油壶油饰。
④硬化面整洁无杂物,排水良好。
⑤油管、蛇管不悬空,两端无脱落。
⑥表示杆缺口达标,内外缺口表示一致,主机缺口为2±0.5mm ,副机缺口为4±1.5mm 。
2)使用工具检查项目:①使用卷尺测量基础倾斜度不超过10mm ,使用卷尺测量箱盒底部距地面不少于150mm 。
表示杆缺口达标。
②使用300mm 扳手检查箱盒固定螺栓是否紧固。
③使用300mm 扳手检查转辙机固定螺栓是否紧固。
④使用图纸核对设备标识是否正确。
⑤使用油壶对注油点注油。
5.2.1.2 转辙机及箱盒内部检查 1)目测项目:①机件及箱盒内部完整、无裂纹、无异状。
②机内及箱盒内防水、防尘良好,无锈蚀,无漏油现象。
③配线良好、整洁、无破皮及混线可能。
④开闭器正常,胶木座无裂纹,开口销齐全。
⑤接点接触良好,接点片无氧化,动接点在静接点片内接触深度不小于4mm ,用手扳动动接点,其摆动量不大于2mm ,动接点打入静接点时,与静接点座应保持3mm 以上间隙。
⑥油箱内油位应在油标上、下限之间,如不足需加注YH-10#航空油。
胶木座开闭器动接点油标上限油标下限⑦动作板与滚轮间及锁闭柱(检查柱)保持油润。
滚轮及锁闭保持油润⑧油路系统各接头部分无漏泄。
⑨配线图、原理图、I级测试卡片保存齐全完整。
2)使用工具检查项目:①使用道岔专用工具扳手检查转辙机内机件无松动。
ZYJ7型道岔维修、故障处理指导书呼和电务段技术科2007.9一、概述1、目前我段液压道岔上道种类(1)ZYJ7型交流380V(主机)SH6型(副机);(2)ZY7型直流220V(主机)SH6型(副机);2、外锁闭装置种类(1)主机外锁闭安装装置都为动作杆与锁闭杆分别与尖轨连接;(2)副机一种为外锁闭安装装置动作杆与表示杆在同一尖轨连接铁上安装,第二种(新型)动作杆与表示杆分别与尖轨连接。
3、工务尖轨种类(1)工务尖轨用ZD6型双机牵引尖轨;(2)工务尖轨用与ZY7型配套尖轨;(3) ZD6型双机牵引尖轨与ZY7型配套尖轨的区别:ZY7型配套尖轨的总长度比ZD6型双机牵引尖轨长一些,但主、副机两牵引点的距离短68cm,则ZY7型配套尖轨较好一些。
二、ZY7型电液转辙机的结构道岔的第一牵引点为ZY7型电液转辙机主机,此机有一套动力系统,SH6型转换锁闭器为副机,此机内设有动力系统是靠主机油管连接传输动力。
1、ZY7型电液转辙机主机结构主要由动力机构、转换锁闭机构、表示锁闭机构组成。
(1)动力结构:作用:将电能转变为液压能。
组成:电机、联轴器、油泵、油管、单向阀、滤芯、溢流阀及油箱。
(2)转换锁闭机构:作用:转换并锁闭尖轨在密贴位置,且能承受100KN的轴向力,同时将斥离轨锁在规定位置(到基本轨160±5mm的位置)。
组成:油缸、推板、动作杆、锁块、销轴、加强板及锁闭铁等。
(3)表示锁闭机构:作用:正确反映尖轨、斥离轨状态,并将其锁在规定位置,且能承受30KN的轴向锁闭力。
组成:接点组,锁闭杆等零部件。
(4)手动安全接点(遮断器):作用:手摇电机扳动道岔,切断电机启动电源,才能插入手摇把,非经人工恢复不能接通电路(断启动电源,但不断道岔表示)。
2、SH6型转换锁闭结构主要由转换锁闭机构,挤脱和表示机构组成。
(1)、转换锁闭机构同ZYJ7主机转换锁闭机构。
(2)挤脱机构:作用:定力固定锁闭铁,挤岔时传递给表示机构动程的功能;(3)表示机构:作用:正确反映尖轨状态,有挤岔状态(断表示功能)。
ZYJ7道岔标准化作业程序1.班前会1.1.工长(作业负责人)布置任务:安排作业人员分工及作业地点、登记内容、卡控措施及安全预想。
1.2.驻站联络员:“作业内容已登记,计划XX时XX分给点。
”1.3.作业人员:清点工具材料。
(工具:联络工具、手摇把、专用钥匙、手锤、试验锤、克丝钳、尖嘴钳、鹰嘴钳、扁口钳、梅花扳手、300mm扳手、250mm扳手、4mm套筒、5mm套筒、6mm套筒、150mm螺丝刀、300mm螺丝刀、腻刀、钢丝刷、毛刷、油壶、钢卷尺。
仪表:万用表、油压表。
材料:棉纱、YH-10液压油、小铁线、开口销、密贴调整片、各种常用螺丝、螺帽)作业人员清点工具、材料后向工长(作业负责人)报告:“工具、材料、仪表齐全。
”防护员:“防护用品齐全。
”[防护服、防护证卡、口笛(哨子)、对讲机]1.4.工长(作业负责人):“各作业组按分工开始工作。
”1.5.防护员:“XX信号楼,XX作业组通讯试验。
”驻站联络员:“通讯试验良好。
”防护员:“XX信号楼,XX作业组X人,XXX防护,准备进入站内。
”驻站联络员:“允许作业组进入站内,注意安全。
”(作业组开始赶赴现场,列队行进,防护员排第一,其他人员随后,穿越线路时先联系后通过)。
2.作业人员到达现场防护员:“XX信号楼,XX作业组到达XX号道岔。
”作业人员:“XX信号楼,XX#道岔扳动确认道岔位置。
”(扳动一个来回)驻站联络员:“XX#道岔扳动,注意安全。
”作业人员:“XX信号楼,XX#道岔确认正确,开始作业。
”3.道岔外部动态检修3.1.设备无外界干扰和异状,设备名称及定位标志清晰正确。
3.2.硬面整洁无杂物;箱盒无破损,蛇管、加锁装置良好。
3.3.基础倾斜度不超过10mm,箱盒底距地面不少于150mm,排水良好。
3.4.槽钢内无杂物;各部螺栓紧固、满帽,防松装置、开口销齐全;附有绝缘的杆件绝缘完整作用良好。
3.5.定位密贴良好,尖轨基本轨间无异物,无肥边,滑床板油润无污无吊板限位铁与钢轨间隙为1-3mm符合标准;反位密贴良好尖轨基本轨间无异物,无肥边,滑床板油润无污无吊板;限位铁与钢轨间隙为1-3mm符合标准;尖轨、心轨爬行不超过20mm。
道岔修理作业指导书目录(一)更换道岔护轮轨螺栓 (1)(二)尖轨离缝整修 (5)(三)更换木岔枕 (7)(四)调整限位器 (10)(五)锰钢岔心焊补 (13)(六)合金钢叉心焊补 (16)(七)更换道岔辙叉 (20)(八)更换道岔基本轨 (26)(九)更换尖轨 (30)(一)更换道岔护轮轨螺栓1.作业条件1.1天窗点内必须在天窗点内更换护轮轨螺栓作业。
1.2天窗点外工作量调查、配件螺栓复紧。
严禁利用运行速度160km/h及以上列车与前趟列车间隔进行点外作业。
线路限速60km/h及以下区段,点外可以进行不影响线路结构稳定的准备工作。
1.3作业时间单线不得少于90分钟,双线不得少于120分钟。
2.人员要求2.1岗位要求作业负责人职务不低于班长,操作人员必须经段培训合格。
2.2人员配置防护人员2~4人,作业人员不少于5人。
3.作业料具扳手、撬棍、道钉锤、垛子、T型套筒扳手、钢丝刷、长效油脂、油刷、道尺、钢尺、信号旗(灯)、通讯设备(对讲机)、移动停车信号牌(灯)。
4.配合要求车务、电务(视作业范围确定)5.安全风险构成5.1.1轨道电路区段的道岔改道,支距尺和起道钉撬棍无绝缘装置,造成红光带,导致行车事故。
5.1.2在转辙和活动心轨部分改道、调整间隔尺寸等未通知电务人员到场配合,造成作业后道岔故障,导致行车事故。
5.1.3在电气集中联锁的道岔上进行作业,作业工具须有绝缘装置,防止联电。
5.1.4来车时,机具侵限被列车碰撞。
5.2从业人员伤害风险5.2.1道钉锤使用前应检查安装是否牢固,锤头不能有肥边,打锤前方不准站人。
5.2.2在转辙和心轨部分作业,手脚不能伸入其活动范围。
如要作业,一定要与车站联系,确定时间,放入安全木,防止挤伤手脚。
5.2.3拆装配件时,注意勿压伤手指。
6.防护要求6.1站内正线及正线道岔作业设置“三位一体”防护:驻站联络1人、工地防护1人、两端防护2人。
6.2站内其他线路作业设置“两位一体”防护:驻站联络1人、工地防护1人。
ZYJ7电液道岔检修作业标准一、准备工作1、到达联系2、核对位置3、执行电务作业联系标准化用语二、外部检修1、箱盒外观、基础、引线管检查(1)箱盒外观完好,无锈蚀,无破损,安装牢固,加锁良好;(2)基础或支持物安设稳固,无破损裂纹,倾斜限度不超过10mm;(3)引线管安装牢固,无脱落,不老化。
2、转辙机、SH6转换锁闭器外部检查(1)无破损裂纹,无锈蚀,标识清楚,加锁良好;(2)安装方正、稳固,外壳所属线路侧面的两端与基本轨或中心线垂直距离的偏差不大于5mm;(3)防护罩无破损,固定良好,开启灵活不卡组,与杆件不触碰、无磨卡。
3、油管路检查(1)油路无渗漏,油管接头连接良好,防护罩安装牢固、无破损;(2)油管无破损,外露部分及与槽钢进出口处防护措施良好,转角处弯曲半径不小于150mm,进出口端余量充足,列车通过时震动不受力,防护管槽基础稳固、固定良好。
油管外层橡胶无较大龟裂。
4、检查外部固定螺栓及开口销各部螺丝紧固,螺杆应伸出螺母外,最少与螺母平,防松措施良好,开口销齐全、标准,劈开角度大于60度,两臂劈开角度应基本一致。
5、检查尖轨、心轨密贴、道岔病害情况(1)密贴状况良好,无肥边;(2)尖轨、心轨底部与滑床板密贴,滑床板无断裂,无影响道岔转换的滑痕,清洁油润;(3)尖轨、心轨、基本轨的爬行、窜动量不超过20mm;(4)尖轨、心轨无影响道岔转换、密贴的硬弯和反弹,尖轨不弓背;(5)尖轨、心轨顶铁与轨腰的间隙不大于1.5mm;(6)道岔外部无干扰、无异状。
6、杆件检查(1)各牵引点的锁闭杆、表示杆两端与基本轨或中心线的垂直偏差不大于10mm;(2)锁闭杆、表示杆水平方向两端高低偏差不大于5mm;(3)各杆件螺纹部分的内、外调整余量应不小于10mm,防松措施良好;(4)带有弯度的杆件,其弯角不大于30°,弯高不大于100mm;(5)表示杆销孔旷量应不大于0.5mm,其余部位的销孔旷量应不大于1mm;(6)各杆件无破损裂纹,无变形;无影响机械强度的整体、局部锈蚀或磨耗,减少量不超过1/10;绝缘完整、无破损。
ZYJ7提速道岔道岔检修作业指导书1 检修准备1.1 预测预判。
通过信号集中监测、缺口监测等手段,对被检道岔进行调阅分析(图一),针对可能存在的问题,提出检修要求。
图一1.2 派班会。
明确检修作业负责人、室内外防护员、作业时间、地点、检修要求和安全预判及安全讲话。
1.3工具及仪表准备。
联络工具、照明灯、手摇把、手锤、扳手、克丝钳、尖嘴钳、长嘴钳、套筒扳手、螺丝刀、刮刀、直钢尺(钢卷尺)、密贴检查片、塞尺、水平尺(高铁维护)道岔钥匙、开箱钥匙、安全木、防护员防护用具、万用表等、油压表等。
1.4材料准备:机油、棉纱、1.0mm和1.6mm防松铁丝、各种规格开口销、各种调整插片、接点擦拭麂皮(白市布),不同规格的螺丝若干等。
2 道岔检修作业流程做到一看、二扳、三测、四检、五验。
2.1 一看:看六项内容确认道岔一致性后,看:一转辙机是否方正;二各类杆件是否平直、与工务枕木平行;三各类螺丝紧固、防松扎线、开口销齐全;四各类箱盒、机壳标识齐全、无损伤裂纹、引线无脱落;五外部是否有影响设备正常使用的杂物(如石碴、辊轮、工务防跳器、顶铁是否脱落、废弃物等);六是油箱油位是否正常。
2.2二扳:观察扳动过程观察道岔扳动过程中四项内容:一是解锁、转换和锁闭过程是否动作顺畅,有无杆件别卡;二是转辙机有无渗漏油;三是惰性轮作用是否正常,油缸有无反弹。
四是电机、油泵有无异响。
2.3三测:测量五项标准一是道岔各转辙点开程及定反位偏差是否符合标准(图二):(图二左为尖一,右为其他各牵引点测量方法)图二二是各点锁闭量是否符合标准(图三):图三三是用塞尺检查密贴间隙(图四):图四四是不同厚度的试验板(铁)检查道岔密贴(图五):图五五是完成相关特性测试(图六):图六2.4 四检:检修10项内容⒈箱盒、转辙机、密检器内部检查。
⒉扳动道岔检查转换过程的状态。
⒊道岔锁闭框、销轴、密贴、开程、锁闭量、表示缺口等按序、按需调整。
⒋杆件、轨距杆绝缘检查。
一、适用范围1.1、线路、曲线、道岔因列车运行、施工或气候影响等原因发生的轨道几何尺寸、结构等病害进行的静态检查;1.2、动态添乘不良处所的静态复核。
二、作业流程2.1、工具准备:电子道尺、弦线、塞尺、1m钢直尺、150mm直钢尺。
上道前应对当天使用的工机具进行检查,确保性能良好,上之能用,不能影响作业进度。
2.2、人员安排:工区工长在班前点名时,明确人员分工、职责。
主要包括检查负责人:负责检查线路几何尺寸、高低、方向、道岔转辙器及可动心辙叉情况;检查记录人:负责将现场检查数据填写在道岔检查记录本上;检查配合人员:负责调查焊缝平顺情况、轨枕空吊板、扣件调查等工作;现场防护员:负责防护工作。
2.3、进入工作门:工区工长根据作业地点,在车站登记申请领取最近防护栅栏工作门的钥匙,在得到封锁调度命令后,对人员、工具清点确认无误,进入工作门。
2.4、检查内容:⑴道岔轨道几何尺寸;道岔静态几何尺寸容许偏差管理值注:①支距偏差为实际支距与计算支距之差。
②导曲线下股高于上股限值,作业验收为0mm,计划维修为2mm,临时补修为3mm。
③特殊道岔的轨距及其它结构允许偏差按设计图办理。
⑵道岔支距以及道岔基本轨的矢度变化情况(用电子道尺、FAKOP弦线、塞尺测量);⑶扣件密贴情况(塞尺测量);扣件扭力矩(扭力矩扳手测量);检查人:⑷转辙器检查:⑸可动心辙叉检查:2.5检查记录:记录在专用的检查记录本上。
2.6、出工作门:作业完毕下道前,检查负责人对人员、机工具及材料进行清点,确认下道人员、机工具及材料数量无误,施工现场无遗留物品后撤离现场,撤出防护栅栏后,锁闭工作门。
通知驻站联络员申请销点,按规定在施工封锁开通确认表签认。
三、作业方法3.1、单开道岔检查道岔的手工检查方法分精细检查和重点检查。
精细检查时要求每根岔枕检查,重点检查是按要求位置检查。
这里介绍的是重点检查内容。
1.轨距、水平检查位置基本原则:先直后曲,顺时针行走。
ZYJ7道岔检修作业指导书
1.目的:通过信号工的检修,对ZYJ7道岔的电气和机械性能按作业标准进行检查后,确保在一定的时间周期内,ZYJ7道岔各项性能符合符合行车安全的要求。
2.适用范围:车站与区间信号工岗位。
3.作业内容:
3.1检查道岔密贴和肥边情况,各部件无破损,尖轨、基本轨、心轨、翼轨竖切部分无肥边,尖轨无离隙、翘头、拱背。
3.2检查安装装置有无损伤。
3.3检查表示杆是否变形(错位/张口),缺口有无变化。
3.4检查设备有无外界干扰,检查加锁装置是否良好。
3.5检查箱盒是否有破损、漏水,防尘罩安装良好。
3.6检查基础无破损,粉饰良好。
3.7检查外部螺栓是否松动,开口销是否齐全、标准;引入管安装良好。
3.8基础面、设备外部清扫、注油。
3.9滑床板清扫、涂油。
3.10扳动试验。
3.11安装装置及各连接杆绝缘检查。
3.12表示杆及转辙机动作杆与锁闭杆、连接杆油润良好,无锈蚀。
3.13转辙机动作杆与锁闭杆、连接杆在一条直线上,锁闭杆与锁框不别劲。
3.14锁钩锁闭良好,不别劲。
锁钩、锁钩连接轴、锁闭杆及锁闭铁应保持清洁、油润,无锈蚀,锁钩与锁钩连接轴横向滑动良好,机外各部注油、润滑。
4.作业材料、工具:
5.检修作业程序:。