叠前时间偏移与叠前深度偏移
- 格式:doc
- 大小:3.77 MB
- 文档页数:16
叠前时间偏移与叠前深度偏移1、叠前偏移从实现方法上可分为叠前时间偏移和叠前深度偏移。
从理论上讲,叠前时间偏移只能解决共反射点叠加的问题,不能解决成像点与地下绕射点位置不重合的问题,因此叠前时间偏移主要应用于地下横向速度变化不太复杂的地区。
当速度存在剧烈的横向变化、速度分界面不是水平层状时,只有叠前深度偏移能够实现共反射点的叠加和绕射点的归位,叠前深度偏移是一种真正的全三维叠前成像技术,但它的成像效果必须依赖于准确的速度-深度模型,而模型的迭代和修改是一个非常复杂和费时的过程,周期长,花费也相当昂贵。
1.1 叠前时间偏移叠前时间偏移是复杂构造成像和速度分析的重要手段,它可以有效地克服常规NMO、DMO和叠后偏移的缺点,实现真正的共反射点叠加。
叠前时间偏移产生的共反射点(CRP)道集,消除了不同倾角和位置的反射带来的影响,不仅可以用来优化速度分析,而且也是进行AVO地震反演的前提。
Kirchhoff叠前时间偏移方法的基础是计算地下散射点的时距曲面。
根据Kirchhoff绕射积分理论,时距曲面上的所有样点相加就得到该绕射点的偏移结果。
具体的实现过程就是沿非零炮检距的绕射曲线旅行时轨迹对振幅求和,速度场决定求和路径的曲率,对每个共炮检距剖面单独成像,然后将所有结果叠加起来形成偏移剖面。
1.2 叠前深度偏移实际上,叠前时间偏移可认为是一种能适应各种倾斜地层的广义NMO叠加,其目的是使各种绕射能量聚焦,而不是把绕射能量归位到其相应的绕射点上去,它基于的速度模型是均匀的,或者仅允许有垂直变化,因此,叠前时间偏移仅能实现真正的共反射点叠加,当地下地层倾角较大,或者上覆地层横向速度变化剧烈,速度分界面不是水平层状的条件下,叠前时间偏移并不能解决成像点与地下绕射点位置不重合的问题。
为了校正这种现象,我们可以在时间剖面的基础上,再做一次校正,使成像点与绕射点位置重合,这就是做叠后深度偏移的目的,但叠后深度偏移有缺点,主要是无法避免NMO校正叠加所产生的畸变,而且在实现过程中缺少模型叠代修正的手段,因此叠后深度偏移一般作为叠前深度偏移流程的一部分,用于深度域模型层位的解释。
1、偏移技术分类【叠前/后偏移】可根据不同的标准对目前的地震偏移成像技术进行简单分类:按照所依据的理论基础,可以分为射、线类偏移成像和波动方程类偏移成像;根据输入数据类型,可以分为叠前偏移和叠后偏移;根据实现的时空域,可以分为时间偏移和深度偏移;按照维数,可以分为二维偏移以及三维偏移等;1.1叠前偏移使CSP道集记录或COF道集记录中的反射波归位,绕射波收敛。
●叠前偏移有椭圆切线法【手工方法,不适用】、Rockwell偏移叠加法【波前模糊法的拓展,计算量也很大】和Paturet-Tariel偏移叠加法【为了进行偏移,我们应当把的曲线上的地震能量(即采样点振幅)送到零炮检距绕射双曲线的顶点M上去叠加。
这样, 把各个相同炮检距的剖面偏移后叠加在一起即得偏移叠加剖面】等1.2叠后偏移基于水平叠加剖面,采用爆炸反射面的概念实现倾斜反射层归位和绕射波收敛。
●叠后偏移有波前模糊法、绕射曲线叠加法【两种方法原理简单,都是基于惠更斯原理提出的,前者将一个道上的波场值送到各个道上去叠加—输出道法,后者把各个道上的相应值取来在一道上叠加—输入道法,但是计算量很大】2、偏移成像特点●具有地震勘探本身的特征●计算机使其研究由地震波运动学特征过度到地震波动力学特征●提高地震空间分辨率和保真度●偏移成像是使反射界面最佳成像的一种技术●处理反射波,使之成为反映地下界面位置和反射系数值的反射界面的像3、偏移成像原理图偏移过程定量分析【Chun and Jacewitz ,1981】2(tan )/4t dx v t θ=221/2{1[1(tan )/4]}t dt t v θ=--221/2tan tan /[1(tan )/4]t t t v θθθ=-3.1 偏移前后的图例4、偏移方法分类5、实际中应用的一些偏移算法5.1 Kirchhoff 积分法【波场外推】适用条件:只满足均匀介质的情况。
[]111'1111(,,,)'4S R u u u x y z t u dS vR n t n R R n π⎧⎫-∂⎡∂⎤∂⎡∂⎤⎡⎤⎛⎫⎡⎤'''⎡⎤=-+⎨⎬ ⎪⎢⎥⎢⎥⎣⎦⎢⎥⎢⎥∂∂∂∂⎣⎦⎝⎭⎣⎦⎣⎦⎣⎦⎩⎭⎰⎰式中的[[u]]不再是推迟场,而是超前场。
《地震资料数字处理》复习地震资料数字处理围绕以下三方面工作:1、提高信噪比;2、提高分辨率;3、提高保真度。
一、提高信噪比的处理1、原理利用噪声和信号在时间、空间、频率和其他变换域中的分布差异,设计滤波因子,将噪声进行压制。
2、处理顺序提高信噪比包含消除噪声和增强信号两部分内容。
消除噪声一般在叠前的各种道集上进行,主要针对规则干扰如多次波和面波等,增强信号一般在叠后剖面上进行,主要针对随机噪声。
3、随机噪声是指没有固定的频率、时间、方向的振幅扰动和震动,其成因大致是来自环境因素、次生因素和仪器因素,其中次生干扰的强度与激发能量有关。
随机噪声在记录上表现为杂乱无章的波形或脉冲,在频率上分布宽而不定,在空间上没有确定的视速度。
随机噪声的随机性与道间距有关,如果道间距减小到一定程度,许多随机噪声表现出道间的相干性,当道距大于随机噪声的相干半径才表现出随机性。
4、一维滤波器(伪门、Gibbs现象)频率滤波器是根据信号和噪声在频率分布上的差异而设计时域或频域一维滤波算子。
它压制通放带以外的频率成分,保留通放带以内的频率成分。
Gibbs现象是由于频率域的不连续或截断误差引起的,通放带和压制带之间设置过渡带可克服此现象,设计滤波器就是控制过度带的形状和宽度。
5、二维滤波器二维滤波是根据有效信号和相干噪声在视速度分布上的差异,来压制噪声或增强信号。
通常用来压制低视速度相干噪声,在f-k平面上占据低频高波数区域。
二维滤波比较容易产生蚯蚓化现象,而且混波相现象明显,在空间采样条件不满足或陡倾角的情况下受到空间假频的影响,一般常用于压制一些规则干扰,如面波和多次波等。
6、频率-波数域二维滤波实现步骤:(1)把时间和空间窗口里的数据变换到f-k域;(2)在f-k域,通过外科切除,按径向扇形划分压制区C(乘振幅置零)、过渡区S(乘振幅置0至1变化)、通放区P (乘振幅置1) ;(3)从f-k域反变换到t-x域。
8、数字滤波有两个特殊性质:(1)数字滤波由于时域离散化会带来伪门现象,(2)由于频域截断会造成吉卜斯现象。
处理三大基本手段之一偏移论文摘要地震偏移技术是现代地震勘探数据处理的三大技术之一,它是在过去古典技术上发展起来的,其它两大技术都是从其它相关学科引进地震中来的。
所以偏移技术具有地震勘探本身的特征。
但是地震偏移方法本身由于使用计算机而引起了许多革命性的变化。
这就使得它从研究简单的探测目标的几何图形进而发展成研究反射界面空间的波场特征,振幅变化和反射率等。
实践证明对于解释工作者,正确理解时间剖面的偏移现象和有关的偏移归位的一些原理、概念等问题对地震资料的解释是十分重要的。
下面简要介绍有关时间剖面的偏移现象,偏移迭加原理,偏移叠加、叠加偏移、叠前偏移、二维偏移和三维偏移基本概念论。
正文第一层、时间剖面的偏移现象一、经过动校正的时间剖面虽然能直观地反映地下界面,但不能完全真实地反映地下的构造形态。
由于时间剖面得到的是来自三维空间地震反射层的法线反射时间,而不是一个射线平面上来的。
反射波到达每个测点的时间减一个相应的时差△t(正常时差),变为该点的垂直时间t,这个、这个时间位于测点的正下方;因而记录点的位置与界面反射点的真实位置是有差别的。
二、当界面水平时,对水平界面的原始记录经过动校正后,把波形画在爆炸点与接受点之间的一半位置,即共中心点位置的正下方,反射同相轴所反映的界面段位置与真实界面的空间位置是基本相符的。
三、当界面倾斜时,实际上反射点并不在接收点的正下方。
如图1--1所示,仍然按水平界面时的情况进行动校正和共中心点显示,水平位置在BE的倾斜界面段(图1-1 a),在对应的水平迭加剖面上,同相轴水平位置却在AD处(图1-1 b),向下倾方向偏移。
反射界面倾角越大,这种偏移现象越严重。
(a) (b)图1—1 倾斜界面同相轴向下倾方向偏移(a)界面段的水平位置是BE (b)水平叠加剖面上同相轴的水平位置是AD图1-2 水平迭加剖面与时间偏移剖面的比较(a)深度剖面;(b)水平迭加剖面四、图1-2说明了偏移现象的严重性。
第二章叠前时间偏移地震波成像在油气勘探中占据重要位置。
它的作用是使反射波或绕射波返回到产生它们的地下位置,从而得到地下地质构造的精确成像。
从二十世纪60年代偏移过程由计算机实现以来,已从常规偏移即叠后时间偏移发展到了目前的叠前深度偏移。
偏移方法的研究和应用是受油气勘探的实际需求驱动的,同时它又受到人们对偏移成像的认识程度和计算机处理能力的制约。
常规偏移(即叠后时间偏移)在以往的油气勘探过程中起到了重要作用,但随着勘探难度的提高,在构造较为复杂或/和强横向变速的地区,基于常规偏移的处理方法再也难见成效。
究其原因,一方面是由于常规处理是先叠加后偏移,水平叠加过程受水平层状介质假设制约,在复杂地质构造条件下,这种叠加过程很难实现同相叠加,这样会对波场产生破坏,所以用这种失真了的叠后数据去进行偏移处理难以取得好的成像效果就很自然了。
为了克服非同相叠加给后续偏移带来的麻烦,人们提出使用叠前偏移,即先偏移处理使波场归位,再把同一地下点的偏移波场相叠加。
这样,在横向速度中等变化的较为复杂构造成像中叠前时间偏移可以弥补常规偏移的不足。
另一方面是由于时间偏移是建立在均匀介质或水平层状介质的速度模型的基础上的,当速度存在横向变化,或速度分界面不是水平层状的情况下,常规偏移不能满足Snell定律,因此不能进行正确的反射波的偏移成像。
为了解决这个问题,出现了深度偏移。
这样,在强横向变速的一般构造成像中,叠后深度偏移可以弥补常规偏移的不足;而在强横向变速的复杂构造成像中,叠前深度偏移可以弥补常规偏移的不足。
迄今为止,人们已对叠前时间偏移进行了20多年的研究工作,而对叠前深度偏移也进行了十几年的研究和探索工作。
本章重点讨论叠前时间偏移。
叠前深度偏移将在第四章和第五章讨论。
近年来,随着叠前时间偏移方法和技术的不断成熟和与之配套技术的不断完善以及计算机性能的不断提高,实现叠前时间偏移已成为现实。
目前,国内外有多家地球物理处理公司和计算中心已进行叠前时间偏移处理,部分公司还把叠前时间偏移作为常规处理软件加入到常规处理流程中,使之成为常规处理的一个重要内容。
叠前时间偏移与叠前深度偏移摘要:偏移使倾斜反射归位到它们真正的地下界面位置,并使绕射波收敛,即可以提高空间分辨率。
按所处理的地震资料是否做过水平叠加划分为叠后偏移和叠前偏移两大类。
这里主要讨论叠前偏移。
偏移方法分为时间域和深度域两类,时间偏移技术是基于横向速度变化弱的水平层状介质模型产生的,而深度偏移技术是基于横向变速的真实地质深度模型发展而来的。
这里主要介绍克希霍夫积分法叠前时间偏移、有限差分法叠前时间偏移、Fourier变换法叠前时间偏移三种叠前时间偏移方法。
在叠前深度偏移上面,主要根据其技术的发展历史,现状,及未来趋势进行叙述,并进行了不同偏移技术的成像对比。
关键字:叠前时间偏移叠前深度偏移克希霍夫积分法正文:一、引言偏移使倾斜反射归位到它们真正的地下界面位置,并使绕射波收敛,即可以提高空间分辨率。
按所处理的地震资料是否做过水平叠加划分为叠后偏移和叠前偏移两大类。
偏移方法分为时间域和深度域两类。
时间偏移技术是基于横向速度变化弱的水平层状介质模型产生的,而深度偏移技术是基于横向变速的真实地质深度模型发展而来的。
从当前技术发展的状况看,目前国内应用的叠前偏移技术基本上可以概括为以下两类。
一种是基于波动方程积分解的克希霍夫积分法叠前偏移。
这种技术,在20世纪90年代以前就在研究,目前,随着多年来持续不断地改进和完善,已经成为一种高效实用的叠前偏移方法,它具有高角度成像、无频散、占用资源少和实现效率高的特点,能适应不均匀的空间采样和起伏地表,比较适合复杂构造的成像。
目前国际上有多种较为成熟的积分法叠前成像软件,是当前实际生产中使用的主要叠前深度偏移方法。
一种是基于波动方程微分解的波动方程叠前偏移。
这种技术目前在国内的应用还处于试验阶段。
叠前时间偏移与叠后时间偏移和叠前深度偏移一样,都是基于三大数学工具,即克希霍夫积分、有限差分和Fourier变换。
二、叠前时间偏移技术叠前时间偏移的可行性分为下面三个方面:①实现这种技术所需的软硬件成本合理。
浅谈地球物理勘探技术中的三维地震勘探技术摘要:基于煤矿采区三维地震解释成果与实际揭露地质现象仍然存在一定差距的实际情况,通过分析煤田三维地震数据采集、资料处理及地质解释过程,提出一些实际工作中的注意事项,为煤田三维地震勘探工程中的相关技术人员提供参考资料。
关键词:地球物理;勘探技术;地震勘探;技术分析随着浅层煤炭资源的开采完成,煤矿开采深度在不断地加深,地质条件也越来越复杂。
随着煤矿安全、高效生产的需要,采区三维勘探技术成为详细查明小断层、陷落柱、采空区、煤厚变化等地质资料的有效手段。
三维地震勘探具备成本低、分辨率高等特点,能够为煤矿的安全、高效生产提供有利支持。
1三维地震勘探原理三维地震勘探是指:在三维空间中,采用炸药或震源车等方式进行激发,产生振动波(弹性波),通过研究地震波在地层中的传播规律,以查明地质构造,确定油气、矿石、水、地热资源等矿藏赋存位置的一种技术方法。
2煤田三维地震勘探技术主要步骤2.1野外地震数据采集煤田勘探工作,大部分是在野外进行,在野外进行工作时,我们通常是利用地震勘探数据采集器进行数据采集,采集的目的层一般为煤系地层。
煤田勘探过程中需确保数据采集的准确性,这样才能够保障下一步工作的顺利进行,这对于安全生产及经济收益的提高,都具有巨大的现实意义。
野外勘测地震数据采集需要工作人员采集数据的同时,对于各个钻孔位置、深度及炸药量都要进行周密计划和管理。
将炸药放在预先计划好的位置上,同时对各个位置进行记录,在炸药被引爆之后,会产生非常强大的地震波,利用地震波的反射来获取地质结构资料。
2.2数据勘探作业处理煤矿勘探原本就是一项复杂又难度较高的工作,三维地震勘探技术在煤田勘探的应用过程中,也必然会面临很多综合性问题,这就使得数据的获取及处理难度更大。
地震勘探工作具有一定的特殊性,它的每一个步骤的工作既需要具有一定独立性,又要能够与其它各个环节相互联系和配合,彼此之间是相互协作,相辅相成的关系。
叠前深度偏移技术一、技术原理及主要技术内容叠前深度偏移技术已由克希霍夫积分法发展到波动方程法,同时还发展了其它的偏移方法,如:高斯束(Beam)偏移、相移屏偏移技术、转换波叠前深度偏移、各向异性叠前深度偏移等,现把上述各种方法分述如下:(1)克希霍夫积分法叠前深度偏移:该偏移方法一般由两部分组成:一部分是旅行时计算,另外一部分是克希霍夫积分处理。
偏移的精度主要取决于旅行时的精度。
旅行时计算建立在费马原理的基础上,即地下两点间的一切可能路径中实际路径对应于最小旅行时间。
它遵循倒转射线追踪机制,大多数情况下使用对应于体波而不是首波的射线,这样减少了偏移成像的畸变,且输出轨迹是灵活的。
新方法主要改进了原方法中单波至、不保幅的缺点,现在是计算多波至旅行时,并且具有振幅与相位保持特性,最具代表性的方法是由以色列PARADIGM公司发展的共反射角克希霍夫积分法,其原理与方法是:由成像点到地面采用照明式射线追踪;在每个射线均计算旅行时、观测位置、相位旋转因子、慢度;在特定倾角每对射线均是潜在反射;求和某成像点同一层的所有反射形成共反射成像道集;所有到达时的振幅与相位都是保持的。
高斯射线束(Gaussian Beam)偏移方法有别于常规的克希霍夫积分法深度偏移方法,目前只有Chevron公司使用它,它分多组射线束进行研究,采用Gaussian法振幅衰减与相位抛物线近似等。
具体讲它是将震源和接受点波场局部分解成“束”,并利用精确的射线追踪将这些束返回地下。
一个地面位置能发出几个束,不同的束对应不同的初始传播方向,每个束独立于其他束传播,且受单个射线管引导。
射线管可以重叠,所以能量能在成像位置、震源位置及接受点位置间以多个路径传播,因此高斯射线束偏移可处理多路径。
该种方法部分解决了常规克希霍夫积分法精度不高的问题。
(2)波动方程法叠前深度偏移:该种方法研究多波至,易振幅与相位保持,精度高,但费机时,主要方法有有限差分法(FD)与相移校正法(PSPC),它们均基于单程波动方程、平方根算子向下延拓,并使用多个参考速度。
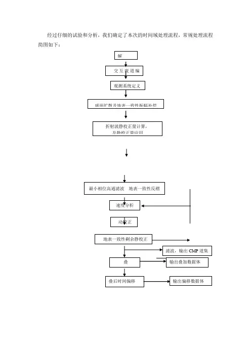
经过仔细的试验和分析,我们确定了本次的时间域处理流程,常规处理流程简图如下:1 、深度偏移处理主要技术措施1.1、相干反演相干反演是用来建立初始速度―深度模型的常用手段。
其主要思路是:用射线追踪产生的旅行时曲线,沿该曲线的时间窗口计算叠加道的相干值,用不同的层速度进行相同的处理,取最大相干值对应的层速度为期望的速度。
输入的是未叠加的数据(如共中心点道集或共炮点道集),输出的是初始速度模型。
该模型通常是基于附近的井信息和叠加剖面的解释。
反演是一层一层进行,在迭代中完成。
该方法依赖于:①介质模型的解释;②射线追踪算法;③目标函数的选择;④找最大目标函数方法。
1.2、层析成像初始模型(速度模型和深度模型)往往是粗糙的,要得到精确的深度域结果,就要综合利用各种技术方法不断调整、优化层速度模型,直至每一个共偏移距的成像结果一致为止,使之与地下地质情况最佳吻合。
层析成像技术,是速度模型优化的主要手段,在地震学和地震勘探的研究工作中,人们引进了医学上的CT 技术(Computerized Tomography),就是利用X射线检查人体内部的技术。
在医学上X射线是直线路径,而地震波在地球内部传播是沿着弯曲的路径。
层析成像模型修改也是反复迭带进行的。
1.3 、射线偏移对地下倾斜界面,在地表记录的地震资料经处理获得的剖面,在横向和垂向位置以及倾角都与真实情况有差异,只有经过层位偏移后才能恢复到真实位置。
将时间域零炮检距剖面上层位转化为深度域层位,称之为射线偏移。
输入的是零炮检距剖面上解释的时间层位(通常在叠加剖面上解释)和层速度。
输出的是深度域层位。
1.4 共反射角Kirchhoff叠前深度偏移Paradigm的具有专利技术的从目标成像点向地面进行射线追踪的共反射角偏移。
广泛用于目标区的偏移成像。
1.5 波动方程叠前深度偏移Paradigm的二维F-X波动方程叠前深度偏移有利于复杂速度场及复杂构造和陡倾角成像。
2 、深度偏移处理的关键步骤2.1、时间域构造模型建立层位解释应遵循以下几个原则:1、第一层的深度应大于能接收到该层反射的最大偏移距,即该层的“临界”偏移距。
地震勘探中的叠前深度偏移算法地震勘探是一种重要的地球物理探测方法。
通过利用地震波的反射、折射和传播特性,可以了解地下结构和地质情况,为石油、天然气等能源资源的探测和开发提供依据。
在地震勘探中,叠前深度偏移算法是一种重要的数据处理技术,可以提高地震成像质量,提高勘探地震数据的分辨率和准确性。
一、叠前深度偏移算法的基本原理叠前深度偏移算法是一种用于地震数据处理的数学算法,其基本思想是在时间域将地震数据转换为深度域,然后采用折射面模型或者波阵面模型来对地下结构进行成像。
其基本原理可以简单描述如下:1. 叠前深度偏移算法首先对地震数据进行逆时偏移(NMO处理),将时间域的地震数据转换为零偏移距时刻对应的地震数据。
2. 然后,将逆时深度层剖面上的地震数据集合在一起,形成叠前深度域数据。
3. 叠前深度偏移算法的关键是调整不同深度层的地震数据时差,以消除波形的走时差异,实现不同深度维度的波形匹配,进而实现相关波形叠加成像。
4. 此后,根据地震波在不同速度介质中的折射、反射特性,利用Kirchhoff积分公式计算深度域内的各点反射能量,最终形成地下结构的深度成像结果。
二、叠前深度偏移算法的应用叠前深度偏移算法在地震数据处理中广泛应用,可以大大提高地下结构成像质量和解析度。
其应用领域主要包括以下几个方面:1. 沉积物地质研究。
地震勘探可以对深层地质结构进行探测和解析,对于沉积物地质研究具有重要作用。
叠前深度偏移算法可以提高地震数据的分辨率和准确性,更好地揭示岩相、层序等信息。
2. 石油勘探与开发。
地震勘探是石油勘探和开发的核心技术之一,其质量和准确性对于石油勘探和开发的成功具有决定性作用。
叠前深度偏移算法可以提高地震成像质量,更好地勘探目标层位和构造特征。
3. 工程地质勘察。
叠前深度偏移算法可以应用于工程地质勘察中,对于建设工程和地质灾害防治具有重要意义。
其可以准确获取地下结构信息,对于建设工程场地的选址和设计提供重要依据。
叠前时间偏移与叠前深度偏移1、叠前偏移从实现方法上可分为叠前时间偏移和叠前深度偏移。
从理论上讲,叠前时间偏移只能解决共反射点叠加的问题,不能解决成像点与地下绕射点位置不重合的问题,因此叠前时间偏移主要应用于地下横向速度变化不太复杂的地区。
当速度存在剧烈的横向变化、速度分界面不是水平层状时,只有叠前深度偏移能够实现共反射点的叠加和绕射点的归位,叠前深度偏移是一种真正的全三维叠前成像技术,但它的成像效果必须依赖于准确的速度-深度模型,而模型的迭代和修改是一个非常复杂和费时的过程,周期长,花费也相当昂贵。
1.1 叠前时间偏移叠前时间偏移是复杂构造成像和速度分析的重要手段,它可以有效地克服常规NMO、DMO和叠后偏移的缺点,实现真正的共反射点叠加。
叠前时间偏移产生的共反射点(CRP)道集,消除了不同倾角和位置的反射带来的影响,不仅可以用来优化速度分析,而且也是进行AVO地震反演的前提。
Kirchhoff叠前时间偏移方法的基础是计算地下散射点的时距曲面。
根据Kirchhoff绕射积分理论,时距曲面上的所有样点相加就得到该绕射点的偏移结果。
具体的实现过程就是沿非零炮检距的绕射曲线旅行时轨迹对振幅求和,速度场决定求和路径的曲率,对每个共炮检距剖面单独成像,然后将所有结果叠加起来形成偏移剖面。
1.2 叠前深度偏移实际上,叠前时间偏移可认为是一种能适应各种倾斜地层的广义NMO叠加,其目的是使各种绕射能量聚焦,而不是把绕射能量归位到其相应的绕射点上去,它基于的速度模型是均匀的,或者仅允许有垂直变化,因此,叠前时间偏移仅能实现真正的共反射点叠加,当地下地层倾角较大,或者上覆地层横向速度变化剧烈,速度分界面不是水平层状的条件下,叠前时间偏移并不能解决成像点与地下绕射点位置不重合的问题。
为了校正这种现象,我们可以在时间剖面的基础上,再做一次校正,使成像点与绕射点位置重合,这就是做叠后深度偏移的目的,但叠后深度偏移有缺点,主要是无法避免NMO校正叠加所产生的畸变,而且在实现过程中缺少模型叠代修正的手段,因此叠后深度偏移一般作为叠前深度偏移流程的一部分,用于深度域模型层位的解释。
偏移方法可以根据不同的分类标准进行划分。
按照数据的维数,偏移方法可以分为二维偏移和三维偏移;根据偏移与叠加的先后顺序,偏移方法可分为叠后偏移和叠前偏移;按在时间域还是深度域实现偏移可分为时间偏移和深度偏移。
此外,基于射线理论的叠后偏移包括经典的偏移方法和早期的计算机偏移方法,如圆弧切线法、线段移动法等;而叠前偏移主要包括椭圆切线法和交会法等。
目前常用的叠前深度偏移方法有射线类偏移和波动方程类偏移两大类,其中射线类方法主要包括Kirchhoff偏移、高斯束偏移以及控制束偏移等;波动方程类方法主要包括单程波偏移和逆时偏移。
地震成像技术的发展现状存在问题及发展趋势(杜炳毅地球探测与信息技术S1*******)随着地震勘探难度的逐渐的增加和油气藏复杂性的增加,油气勘探开发对地震勘探精度的要求越来越高。
为了实现高精度的地震资料在油气勘探中的应用,近年来地震方法和技术重点发展了两个方向:一是地震成像技术,二是开发地震技术。
地震成像技术发展现状地震成像是现代地震勘探数据处理中的重要组成部分,分为叠加成像和偏移成像。
随着油气勘探难度的增加,地震成像技术得到了迅速的发展,并且成为高精度地震勘探数据处理的关键技术。
地震偏移成像可以分为地震叠后偏移方法和地震叠前偏移方法。
叠后偏移是在共中心点叠加数据上进行零炮检距偏移,主要有叠后时间偏移和叠后深度偏移,叠后时间偏移主要包括射线偏移和波动方程偏移。
而叠后深度偏移可以有效的结果构造不太复杂,横向速度变化比较大的地质体的地震成像问题,并且能够提高地震成像的计算效率,常用的叠后深度偏移有Kirchhoff积分法,分步傅里叶法,有限差分法以及逆时偏(RTM)法。
叠前偏移是把共炮点道集记录或者共偏移距道集记录中的反射波归位到产生他的反射界面上,并使绕射波收敛到产生它的的绕射点上。
也分为叠前时间偏移和叠前深度偏移。
叠前时间偏移是基于绕射叠加或者Claerbout发射波成像原则,是一种成像射线,能够解决叠后时间偏移存在的问题,叠前时间偏移的方法主要有Kirchhoff积分法叠前时间偏移,波动方程法叠前时间偏移(包括平面波分解法叠前时间偏移和F-K域法叠前时间偏移);叠前深度偏移方法可以分为两类:第一类是基于射线理论的叠前深度偏移方法,另一类是基于波动方程理论的叠前深度偏移方法。
射线法叠前深度偏移方法主要有Kirchhoff积分法叠前深度偏移,高斯波束叠前深度偏移;波动方程叠前深度偏移主要有F-X域有限差分叠前深度偏移,SSF法波动方程叠前深度偏移,Fourier有限差分(FFD)法波动方程叠前深度偏移,广义屏近似波动方程叠前深度偏移,基于双平方根方程的波动方程的叠前深度偏移,基于波动方程的真振幅偏移,逆时叠前深度偏移。
叠前时间偏移参数叠前时间偏移是地震勘探中一个重要的地球物理处理方法,它是通过在时间上对地震数据进行移位,来矫正地震记录中的时间差异,以更准确地确定地下结构。
本文将介绍叠前时间偏移的基本概念、方法、流程和应用。
一、叠前时间偏移的基本概念1. 概念叠前时间偏移是指在地震勘探中,通过对地震记录进行时间上的移位,将反射波到达时刻对齐,以获得更真实的地下结构信息的处理方法。
2. 时间偏移量叠前时间偏移量指的是在进行叠前时间偏移处理时,将每一道地震记录移位的时间量,通常以毫秒(ms)为单位表示。
3. 叠前和叠后叠前是指在进行地震勘探时,对地震数据进行处理前的状态;叠后是指完成处理后的状态。
叠前时间偏移处理是在叠前状态下进行的,其目的是将地震数据从叠前状态转换为叠后状态。
4. 基本原理地震勘探中,地震记录由源点放射的能量经过地下介质反射、折射和散射而产生。
这些能量到达地表需要经过不同的路径和时间,因此在地震记录中会存在时间差异。
为了得到真实的地下构造,需要将这些时间差异的影响去除。
叠前时间偏移就是通过移位地震记录,将反射波到达时刻对齐,消除时间差异,使得地震记录更加准确。
叠前时间偏移的方法包括常规叠前时间偏移和倾斜叠前时间偏移两种。
常规叠前时间偏移是指在进行时间误差校正时,所采用的传统方法。
它是基于反射面为水平面的假设进行的,采用匹配滤波算法进行处理,处理流程如下:(1)计算每一道地震记录的叠加道:将多道地震记录进行叠加,得到一幅总记录。
(2)设计一个参考地震波:选择参考地震波,通过分析反射系数和波波形的相似性,来确定最佳参考地震波。
(3)进行匹配滤波:将参考地震波与每一道地震记录进行卷积,得到一系列相互对齐的地震记录。
(4)进行叠前时间偏移:将卷积后的地震记录向前或向后移动一定的时间,使得反射波到达时刻对齐,产生像素强度最大的所需时间,即为叠前时间偏移量。
倾斜叠前时间偏移是指在进行时间误差校正时,考虑到地表和反射面之间的倾斜角度,综合考虑地震速度和深度变化等因素的基础上,采取倾斜校正算法进行处理。
叠前时间偏移与叠前深度偏移摘要:偏移使倾斜反射归位到它们真正的地下界面位置,并使绕射波收敛,即可以提高空间分辨率。
按所处理的地震资料是否做过水平叠加划分为叠后偏移和叠前偏移两大类。
这里主要讨论叠前偏移。
偏移方法分为时间域和深度域两类,时间偏移技术是基于横向速度变化弱的水平层状介质模型产生的,而深度偏移技术是基于横向变速的真实地质深度模型发展而来的。
这里主要介绍克希霍夫积分法叠前时间偏移、有限差分法叠前时间偏移、Fourier变换法叠前时间偏移三种叠前时间偏移方法。
在叠前深度偏移上面,主要根据其技术的发展历史,现状,及未来趋势进行叙述,并进行了不同偏移技术的成像对比。
关键字:叠前时间偏移叠前深度偏移克希霍夫积分法正文:一、引言偏移使倾斜反射归位到它们真正的地下界面位置,并使绕射波收敛,即可以提高空间分辨率。
按所处理的地震资料是否做过水平叠加划分为叠后偏移和叠前偏移两大类。
偏移方法分为时间域和深度域两类。
时间偏移技术是基于横向速度变化弱的水平层状介质模型产生的,而深度偏移技术是基于横向变速的真实地质深度模型发展而来的。
从当前技术发展的状况看,目前国内应用的叠前偏移技术基本上可以概括为以下两类。
一种是基于波动方程积分解的克希霍夫积分法叠前偏移。
这种技术,在20世纪90年代以前就在研究,目前,随着多年来持续不断地改进和完善,已经成为一种高效实用的叠前偏移方法,它具有高角度成像、无频散、占用资源少和实现效率高的特点,能适应不均匀的空间采样和起伏地表,比较适合复杂构造的成像。
目前国际上有多种较为成熟的积分法叠前成像软件,是当前实际生产中使用的主要叠前深度偏移方法。
一种是基于波动方程微分解的波动方程叠前偏移。
这种技术目前在国内的应用还处于试验阶段。
叠前时间偏移与叠后时间偏移和叠前深度偏移一样,都是基于三大数学工具,即克希霍夫积分、有限差分和Fourier变换。
二、叠前时间偏移技术叠前时间偏移的可行性分为下面三个方面:①实现这种技术所需的软硬件成本合理。
②对偏移速度场无过高的要求。
③配套技术比较成熟和完善。
下面简述三种时间偏移方法:1克希霍夫积分法叠前时间偏移该方法一般在共炮点道集上进行,对二维和三维叠前偏移做法是一致的。
(1)该方法的步骤是将共炮点i 己录从接收点上向地下外推。
外 推时要先确定本道集可能产生反射波的地下空间范围,这个范围可以根据倾角、记录长度和道集的水平范围进行估算。
这个过程实际上是—个估算偏移孔径的反过程。
对向地下延拓的空问范围做一些模拟估算是必要的。
外推时使用一般Kirchhoff 积分表达式:1)、dxdy t v R t y x u v R t y x u R v Rv t z y x U A ⎥⎥⎥⎥⎦⎤⎢⎢⎢⎢⎣⎡∂+∂++-=⎰⎰),0,,(),0,,(cos 21),,,(0000θπ[]2/122020)()(//cos z y y x x z R z +-+-==θ.式中R 为从地下(x ,Y ,z)点到地面点( X 。
,Y 。
, Z 。
=0 )的距离。
这样求出的结果,等于从地面某个炮点激发,在地下(x ,Y ,z)点上接收的反射波记录。
在这个记录上有(x ,Y ,z)点产生的反射波 和z 深度以下的界面产生的反射波。
我们应当做的是把(x ,Y ,z)点处的反射波放到该点上。
但是,在该点的记录还有很多其它深度点上的反射波。
因此,如何从这个点用积分公式延拓汁算出地震道u(x ,Y ,z ,t),并从中取出用于在该点成像的波场值,这就是下一步的工作。
(2)计算从炮点0到地下R(x ,z)点的地震波入射射线的走时d t 。
这可以用均方根速度rms v 去除炮点至地下R 点的距离近似求出。
或者用射线追踪法求取,就更准确。
用求出的下行波的走时d t 到u(x ,Y ,z ,t)的延拓记录的d t 时刻取出波场值作为该点的成像值。
(3)将所有的深度点上的延拓波场都如第二步那样提取成像值,组成偏移剖面就完成了—个炮集的Kirchhoff 积分法偏移。
(4)将所有的炮道集记录都做过上述三步处理后进行按地面点相重合的记录相叠加的原则进行叠加,即完成了叠前时问偏移。
2 有限差分法叠前时间偏移在三维情况下,反射点轨迹变为—个旋转椭球面,该椭球是绕炮检距方向由二维条件下的椭圆旋转而成。
如果取炮检距方向为X 方向,则椭球面的方程为:2)、 m mt v z y x t v h 222222224)/411(=+++通过波动方程的频散关系或波动方程的象征方程以及Fourier 变 换,可以得到对应的三维波动方程:3)、 mm t u v z u y u x u t v h 2222222222224)41(∂∂=∂∂+∂∂+∂∂+ 如果炮检距方向与观测纵测线的方向成一定的口角度时需要进行 坐标变换。
新坐标系下的方程为:4)、 mt u v z u y x u C y u B x u A 22222222224111∂∂=∂∂+∂∂∂+∂∂+∂∂用有限差分法解(4)式有一定的难度,但它是可解的。
因此对三维面积观测的数据体用该方法进行叠前时问偏移在理论上是可实现的,目前尚未使用。
虽然各个方向的共炮检距道集也可以用(3)式进行偏移而且容易实现。
但是由于要在不同的 方向上抽取新的共炮检距道集,并要重新采样,同时剖面长度会长短不等,因此对处理效率会有影响。
f 3)式虽然容易求解,但在炮检距方向有转角 ≠0时,首先要将数据沿 方向和垂直 方向进行内插重排,这样内插重排后的三维数据体的水平切片将是某种菱形,造成纵横测线长短不一, 给处理带来不便。
如果仍按原坐标进行三维叠前偏移处理则必须用(4)式进行偏移。
3 Fourier 变换法叠前时间偏移频率-波数(f-k)域叠前偏移是实现叠前时间偏移的一种有效方法。
Li(1991)用一组常速实现了叠前偏移。
用横向不变的速度偏移常炮检距数据可以在Fourier 域进行,与Kirchhoff 偏移相比,它具有成像速度快,能处理陡倾角且不会产生算子假频(是一宽带算子)的特点。
另外,该算子考虑了由于通过层状介质而发生折射弯曲所造成的相位和振幅变化。
另外,F-K 偏移算子可以分解为NMO+DMO+ZOM ,在常速偏移下,分解正确。
若速度随深度变化,这种分解对NMO+DMO 部分只是近似值。
二维情况下,F-K 域叠前时间偏移的向下延拓波场为:5)、),,,(),,,()ex p(),,,(ωωωz k k S z k k D h ik m ik dk dk z h m P h m h m h m h m ∧∧⎰⎰+=对层状v(z)介质,传播算子),,,(ωz k k S h m 由下式给出:6)、 )],,,(exp[),,,(ωφωz k k i z k k S h m jj h m ∑=,其中, 7)、])()([2),,,(2222h m j h m j h m j k k k k k k zj z k k +-+--=ωφ ∑=jj z zjj v k ω2= j v 是层速度。
7式是常速频散关系的一种扩展形式。
4 结语三类叠前时间偏移方法分为有限差分法,克希霍夫积分法和频率-波数域法。
它们是各自独立发展起来的并在不断地进行自我完善。
多数情况下有限差分法波动方程偏移是求解近似波动方程的一种近似数值解法。
一般来说,网格剖分越细,精度越高,但这势必会增加计算量。
和其它两种偏移方法相比,有限差分法简单,理论和实际应用都较成熟;由于采用递推算法,在形式上能处理速度的纵、横向变化。
缺点是受反射界面倾角的限制;此外还要求等间隔剖分网格。
克希霍夫积分法偏移建立在物理地震学的基础之上,该方法能适应任意倾斜角度的反射界面;对剖分网格要求较灵活。
缺点是费时;难以处理横向速度变化;偏移噪声大, “划弧”现象严重;确定偏移参数较困难。
频率-波数域偏移求解波动方程是在频率-波数(F-K)域中进行。
频率-波数域偏移方法兼具有限差分法和克希霍夫积分法二者的优点:计算效率高,耗时少;无倾角限制,无频散现象;精度高,计算稳定性好。
缺点是速度横向变化时,会使反射界面畸变;对偏移速度误差较敏感。
5流程图1是叠前时间偏移处理流程。
图2是某区三维叠前时问偏移与叠后时问偏移处理效果对比。
从网2中可以看出,叠前时间偏移剖面信噪比显著提高,主要构造部位断层成像更清晰,位置更准确(图2a)。
三、叠前深度偏移技术反褶积、叠加与偏移是地震勘探数据处理的三大主要技术。
叠前深度偏移技术的研究一直是近1O多年来全球油气地球物理勘探领域的热点。
偏移的作用是使绕射波收敛、地下界面的地震反射波归位到正确的空间位置,最终得到真实反映地下界面形态的地震图像。
与时间偏移相比,叠前深度偏移的理论体系更加完善和先进,也是目前国际上公认的解决复杂构造成像的有效途径。
由于深度偏移对速度模型精度的依赖度高且运算量大(约为时间偏移的2倍),因此这项技术的应用受到影响。
近年来,随着计算机技术和偏移方法的不断改进,深度偏移技术逐步得到推广应用,在我国东部深层和西部山前复杂构造的勘探中见到了明显效果。
1 我国叠前深度偏移技术应用现状1.1 叠前深度偏移技术发展回顾偏移方法分为时间域和深度域两类。
时间偏移技术是基于横向速度变化弱的水平层状介质模型产生的,而深度偏移技术是基于横向变速的真实地质深度模型发展而来的。
因此时间偏移不能解决速度横向变化引起的非双曲线时差问题,当横向速度变化大、超出常规时间偏移所能适应的尺度时,偏移的成像精度大为降低(这一现象由Hubral于1977年首次发现)。
这个问题立即引起国际勘探地球物理学界的关注,并开始对非均匀介质偏移方法的研究。
波动理论的引入促进了深度偏移技术的发展。
2O世纪7O年代,Claerbout首次把波动方程引入到地震波场偏移成像中,Schneider 提出了基于波动方程积分解的克希霍夫积分法偏移,Gazdag和Stoh分别提出波动方程频率一波数域偏移方法,应用的都是简化形式的抛物线波动方程,即单程方程和爆炸反射面模型。
2O世纪8O年代出现了全波动方程偏移、逆时偏移成像等算法,但由于当时计算机效率低,对速度模型要求苛刻等原因,未能得到广泛应用。
到了9O年代,菲利普斯石油公司首先于1993年宣布使用叠前深度偏移技术在墨西哥湾盐下勘探获得成功,拉开了克希霍夫积分法叠前深度偏移技术成功应用的序幕,将叠前偏移技术的发展推向一次新的发展高潮。
进入21世纪,PC机群技术得到快速发展(速度达每秒万亿次以上),偏移算法不断完善,使叠前深度偏移技术规模化应用成为可能,这预示着又一次新的发展高潮即将到来。
1.2 国内叠前深度偏移技术应用特点国内叠前深度偏移技术的探索应用始于1995年胜利油田的古潜山勘探,到现在已有十余年的发展历程。