科目二五项标准尺寸图 (2)
- 格式:doc
- 大小:344.00 KB
- 文档页数:5
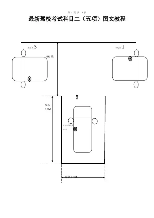
(一)倒车入库1、考试车辆运行路线图形尺寸:(普桑宽度170.6厘M,长度447.3厘M,轴距254.8厘M)W --库宽:取值车宽(不含倒车镜,下同)加0.6m;W=170.6+60=230.6厘ML --车位长:取值车长加0.7m;L =447.3+70=517.3厘MS --车道宽:取值车长的1.5倍;S =447.3*1.5=670.95厘Mh --车库距控制线距离:取值车长的1.5倍。
h =447.3*1.5=670.95厘M2、操作要求考试过程中,车辆进退途中不得停车。
从道路一端控制线(车身压控制线)倒入车库停车,再前进出库向另一端驶过控制线后倒入车库停车,最后前进驶出车库。
(二)坡道定点停车和起步1、图:...... 控制线;──停车桩杆线,线宽取值0.3m;i --坡度,取值10%;l --坡长,取值(含竖曲线全长):大型车大于等于30m,小型车大于等于20m,摩托车大于等于8m;R --竖曲线半径,取值大于30m;S1、S2 --停车控制线到停车桩杆线中心距离,取值0.65m。
15+50=65cm2、操作要求控制车辆准确停车,平稳起步,车辆不得后溜。
起步时间不得超过30s。
(三)侧方停车1、考试车辆运行路线考试车辆运行路线见图6。
图形尺寸:19.6m(两边控制线长)L --车位长,大型客车为1.5倍车长减1m,小型车辆为1.5倍车长加1m,其他车辆为1.5倍车长;L=447.3*1.5+100=770.95厘MW --车位宽,车宽加0.8m;W=170.6+80=250.6厘Mw --车道宽,1.5倍车宽加0.8m。
w=170.6*1.5+80=335.9厘M2、操作要求车辆在库前方靠右停稳后,一次倒车入库,中途不得停车,车轮不轧碰车道边线、库位边线。
(四)曲线行驶1、曲线行驶工程图形设计:半径:大型货车、大型客车、牵引车等取值12m,中型客车、低速载货汽车取值9.5m,小型汽车取值7.5m;路宽:大型货车、大型客车取值4m,牵引车取值7m,中型客车、低速载货汽车取值3.7m,小型汽车取值3.5m;弧长:八分之三个圆周。
科目二考场平面图(C1)
科二场地尺寸详细图(C1)
1)倒车入库
库宽(W):230.6厘米【车宽(不含后视镜,取170.6cm)+0.6米】
库长(L):517.3厘米【车长(取447.3cm)+0.7米】
车道宽(S):670.95厘米(取值车长的1.5倍)
车库距控制线距离(h):670.95厘米【取值车长的1.5倍】
2)侧方停车
两边控制线长:19.6m
车位长(L): 770.95厘米(1.5倍车长加1m)
车位宽(W): 250.6厘米(车宽加0.8m)
车道宽(w):335.9厘米(1.5倍车宽加0.8m)
3)坡道定点停车与起步
坡度10度,坡长30米
【坡度(i),取值10%,坡长(l)】
竖曲线半径(R),取值大于30m
S1、S2 ——停车控制线到停车桩杆线中心距离【取值0.65m】
4)直角转弯
路长(L):大于 670.95厘米【大于等于1.5倍车长】,内长445厘米,外长800厘米
路宽(W): 354.8厘米【车辆轴距加1米】
5)曲线行驶
半径:取值7.5m
路宽:取值3.5m
弧长:八分之三个圆周(外弧长:17.66m,内弧长:9.42m)。
(一)倒车入库1、考试车辆运行路线图形尺寸:(普桑宽度170.6厘米,长度447.3厘米,轴距254.8厘米)W --库宽:取值车宽(不含倒车镜,下同)加0.6m;W=170.6+60=230.6厘米L --车位长:取值车长加0.7m;L =447.3+70=517.3厘米S --车道宽:取值车长的1.5倍;S =447.3*1.5=670.95厘米h --车库距控制线距离:取值车长的1.5倍。
h =447.3*1.5=670.95厘米2、操作要求考试过程中,车辆进退途中不得停车。
从道路一端控制线(车身压控制线)倒入车库停车,再前进出库向另一端驶过控制线后倒入车库停车,最后前进驶出车库。
(二)坡道定点停车和起步1、图:...... 控制线;──停车桩杆线,线宽取值0.3m;i --坡度,取值10%;l --坡长,取值(含竖曲线全长):大型车大于等于30m,小型车大于等于20m,摩托车大于等于8m;R --竖曲线半径,取值大于30m;S1、S2 --停车控制线到停车桩杆线中心距离,取值0.65m。
15+50=65cm2、操作要求控制车辆准确停车,平稳起步,车辆不得后溜。
起步时间不得超过30s。
(三)侧方停车1、考试车辆运行路线考试车辆运行路线见图6。
图形尺寸:19.6m(两边控制线长)L --车位长,大型客车为1.5倍车长减1m,小型车辆为1.5倍车长加1m,其他车辆为1.5倍车长;L=447.3*1.5+100=770.95厘米W --车位宽,车宽加0.8m;W=170.6+80=250.6厘米w --车道宽,1.5倍车宽加0.8m。
w=170.6*1.5+80=335.9厘米2、操作要求车辆在库前方靠右停稳后,一次倒车入库,中途不得停车,车轮不轧碰车道边线、库位边线。
(四)曲线行驶1、曲线行驶项目图形设计:半径:大型货车、大型客车、牵引车等取值12m,中型客车、低速载货汽车取值9.5m,小型汽车取值7.5m;路宽:大型货车、大型客车取值4m,牵引车取值7m,中型客车、低速载货汽车取值3.7m,小型汽车取值3.5m;弧长:八分之三个圆周。
(一)倒车入库1、考试车辆运行路线Si倒车入库车辆运行图JF如图形尺寸:(普桑宽度170.6厘米,长度447.3厘米,轴距254.8厘米)W --库宽:取值车宽(不含倒车镜,下同)加0.6m ; W=170.6+60=230.6厘米L --车位长:取值车长加0.7m ;L =447.3+70=517.3厘米S --车道宽:取值车长的 1.5倍;S =447.3*1.5=670.95厘米h --车库距控制线距离:取值车长的 1.5倍。
h =447.3*1.5=670.95厘米2、操作要求考试过程中,车辆进退途中不得停车。
从道路一端控制线(车身压控制线)倒入车库停车,再前进出库向另一端驶过控制线后倒入车库停车,最后前进驶出车库。
(二)坡道定点停车和起步1、图:定点停车位」控制线;——停车桩杆线,线宽取值0.3m;i --坡度,取值10%;I --坡长,取值(含竖曲线全长):大型车大于等于30m,小型车大于等于20m,摩托车大于等于8m;R -竖曲线半径,取值大于30m;S1、S2 --停车控制线到停车桩杆线中心距离,取值0.65m。
15+50=65cm2、操作要求控制车辆准确停车,平稳起步,车辆不得后溜。
起步时间不得超过30s<(三)侧方停车1、考试车辆运行路线考试车辆运行路线见图6。
图形尺寸:19.6m (两边控制线长)L --车位长,大型客车为1.5倍车长减1m,小型车辆为1.5倍车长加1m,其他车辆为1.5倍车长;L=447.3*1.5+100=770.95厘米W --车位宽,车宽加0.8m;W=170.6+80=250.6厘米w --车道宽,1.5 倍车宽加0.8m。
w=170.6*1.5+80=335.9厘米2、操作要求车辆在库前方靠右停稳后,一次倒车入库,中途不得停车,车轮不轧碰车道边线、库位边线。
(四)曲线行驶1、曲线行驶项目图形设计:半径:大型货车、大型客车、牵引车等取值12m,中型客车、低速载货汽车取值9.5m,小型汽车取值7.5m;路宽:大型货车、大型客车取值4m,牵引车取值7m,中型客车、低速载货汽车取值3.7m,小型汽车取值3.5m;弧长:八分之三个圆周。
最新驾校考试科目二(五项)图文教程上车先调整座位,调整后视镜,系好安全带。
继续后移,中间不能停车,,至最右边线露出后,右打死,新驾考科目二扣分标准及技巧一、科目二考试顺序:上坡起步定点停车、侧方位停车、曲线行驶、直角转弯、倒车入库。
二、解析:小心,这些地方容易扣分综合评判未系安全带:扣100分未关好车门:扣100分未开转向灯:起步、转向、变更车道、超车、停车前未使用转向灯或使用少于3秒,扣10分(使用转向灯少于3秒,经常成为学员扣分的原因。
) 熄火一次:扣10分三、五项考试标准及技巧:(一)定点停车与坡道起步1.考试标准没有定点停车,扣100分;车辆停止后,汽车前保险杠未到控制线,扣100分停车后后溜大于30厘米,扣100分;停车后后溜小于30厘米,扣10分(原规定扣20分)起步未开左转向灯,扣10分车辆行驶中压道路边缘实线,扣100分车辆停止后,前保险杠未到停车线,扣10分(原规定是扣20分);停车时右前轮距边缘线30厘米以上,扣10分(原规定是扣20分)起步时间超30秒,扣100分(新增扣分项目,学员落马最多的考试项目。
)2.场地要求:陡坡的坡度必须大于等于10度,考C1驾照的陡坡长度要大于等于20米。
在考试过程中,学员在陡坡停车后,必须在30秒内起步,否则就算失败。
3.操作技巧:1.听到“上坡定点停车”指令后,(立刻打右转向灯),方向向场地右侧靠;(起步时如果有坡度时,为防止溜坡,要用半坡起步法起步)。
2.即将到达路边时,方向向左回小半圈,再迅速向右回正,使车右侧与路边保持平行,并距离在30CM内(保持左雨刷中部连接部件(黑色方块)在白色线与黄色线之间,不能压黄色线;最好压白色虚线走.或用左筋对准标志线走);起步后,可完全放开离合(或用离合控制,车速快一点,不易熄火)进行上坡(上坡过程中,如果车出现明显抖动,可踩一点离合,可保持不熄火)。
3.快到达停车点时,踩离合,降慢车速,当向右看到停车标记时,踩脚刹,踩离合停车(或从左侧反光镜下沿看到定位桩杆线边缘即停车),拉手刹、(关转向灯),摘空挡,抬离合(一定要抬离合后再起步)。
汽车驾驶员科目二考试项目和操作要求一、桩考(一)大型客车、城市公交车、中型客车、大型货车、小型汽车、小型自动挡汽车、残疾人专用小型自动挡载客汽车、低速载货汽车准驾车型目的:查核灵活车驾驶人控制车辆达成侧方移位、倒车入库和正确判断车身空间地点的能力。
1、图形设计图例:○ 桩杆;──边线;行进线;┄ → 倒尺寸:(1)桩长:二倍车长;前驱动车,加50 厘米;(2 )桩宽:大型客车、城市公交车、大型货车、中型客车为车宽加 70 厘米;小型汽车、小型自动挡汽车、残疾人专用小型自动挡载客汽车、低速载货汽车为车宽加60 厘米;(3)路宽:车长的 1.5 倍;(4)起点:距甲库外边线 1.5 倍车长。
2、操作要求从起点倒入乙库停正,再经过二进二退移位到甲库停正,行进穿过乙库至路上,倒入甲库停正,行进返回起点。
(二)牵引车准驾车型目的:查核灵活车驾驶人控制牵引车行进、倒车和正确判断车轮行驶轨迹以及在有限地区正确停靠车辆的能力。
1、图形设计图例:○ 桩杆;──边线;行进线;┄→倒车线尺寸:( 1)甲、乙库长为整车长加 1 米,库宽为整车宽的 1.5倍;(2)甲库四角设桩杆,乙库在凑近甲库的一角设桩杆;甲、乙库之间相距 2 倍车长,分设在路中线的双侧。
2、操作要求从甲库向前驶入乙库停正,而后倒入甲库停正。
(三)三轮汽车准驾车型目的:查核灵活车驾驶人控制三轮汽车行进、倒车和正确判断车轮行驶轨迹的能力。
1、图形设计图例:桩杆;──边线;行进线;┄→倒车线尺寸:桩间距为车长加40厘米;桩与边线的距离为车宽加30厘米。
2、操作要求从起点绕桩行进驶出,再倒车绕桩反向驶回。
(四)一般三轮摩托车、一般二轮摩托车、轻巧摩托车准驾车型目的:查核灵活车驾驶人控制三轮摩托车、二轮摩托车、轻巧摩托车曲线行驶及转弯的能力。
1、图形设计图例:桩位;── 边线;行进线尺寸:(1)桩与边线的距离为车宽加 30 厘米;(2)桩间距:一般和轻巧二轮摩托车为车长加 50 厘米;正三轮摩托车为车长加 40 厘米;侧三轮摩托车为车长加 80厘米;( 3)停止线距最后一根桩杆 3 倍车长。
科目二小车考试项目尺寸及要求(一)倒车入库1、考试车辆运行路线图形尺寸:(普桑宽度170.6厘米,长度447.3厘米,轴距254.8厘米)W --库宽:取值车宽(不含倒车镜,下同)加0.6m;W=170.6+60=230.6厘米L --车位长:取值车长加0.7m;L =447.3+70=517.3厘米S --车道宽:取值车长的1.5倍;S =447.3*1.5=670.95厘米h --车库距控制线距离:取值车长的1.5倍。
h =447.3*1.5=670.95厘米2、操作要求考试过程中,车辆进退途中不得停车。
从道路一端控制线(车身压控制线)倒入车库停车,再前进出库向另一端驶过控制线后倒入车库停车,最后前进驶出车库。
(二)坡道定点停车和起步1、图:...... 控制线;──停车桩杆线,线宽取值0.3m;i --坡度,取值10%;l --坡长,取值(含竖曲线全长):大型车大于等于30m,小型车大于等于20m,摩托车大于等于8m;R --竖曲线半径,取值大于30m;S1、S2 --停车控制线到停车桩杆线中心距离,取值0.65m。
15+50=65cm2、操作要求控制车辆准确停车,平稳起步,车辆不得后溜。
起步时间不得超过30s。
(三)侧方停车1、考试车辆运行路线考试车辆运行路线见图6。
图形尺寸:19.6m(两边控制线长)L --车位长,大型客车为1.5倍车长减1m,小型车辆为1.5倍车长加1m,其他车辆为1.5倍车长;L=447.3*1.5+100=770.95厘米W --车位宽,车宽加0.8m;W=170.6+80=250.6厘米w --车道宽,1.5倍车宽加0.8m。
w=170.6*1.5+80=335.9厘米2、操作要求车辆在库前方靠右停稳后,一次倒车入库,中途不得停车,车轮不轧碰车道边线、库位边线。
(四)曲线行驶1、曲线行驶项目图形设计:半径:大型货车、大型客车、牵引车等取值12m,中型客车、低速载货汽车取值9.5m,小型汽车取值7.5m;路宽:大型货车、大型客车取值4m,牵引车取值7m,中型客车、低速载货汽车取值3.7m,小型汽车取值3.5m;弧长:八分之三个圆周。
最新驾校考试科目二(五项)图文教程上车先调整座位,调整后视镜,系好安全带。
右倒库1 轻抬离合使车后移,控制好车速,看左后视镜,当右起点感应线出现在左后视镜(如图)位置时把转向盘右打死。
2 把转向盘右打死,继续后移,中间不能停车,同时观察右后视镜,至最右边线露出后,保持车身与库角距离30CM(如图),(小于30CM回半圈方向盘调整,大于30CM继续右打死方向,车身正还是大于30CM,可能是看1点时方向盘打的慢,下次提前或加快打方向速度)。
继续后移,当右后视镜库边线与车身平行时(如图),方向盘回正,调正车身,倒库入底。
3 倒库入底时看左后视镜,当库前边线出在左后视镜(如图)位置时,停车,倒库完成。
4 出库,挂一档前行,当车前头盖刚看不到路边线时(如图在前盖下),把转向盘左打死,当车身正时,回正方向,前车轮过左起点感应线,停车。
左倒库5 轻抬离合使车后移,看左后视镜,当左起点感应线稍微过左后视镜,到(如图)位置时把转向盘左打死。
6 把转向盘左打死,继续后移,同时观察右左视镜,至最左边线露出后,保持车身与库角距离30CM(如图),(小于30CM回半圈方向盘调整,大于30CM继续左打死方向,车身正还是大于30CM,可能是看1点时方向盘打的慢,下次提前或加快打方向速度)。
继续后移,当左后视镜库边线与车身接近平行时方向盘回正,调正车身,倒库入底。
3 方向盘回正,倒库入底。
看左后视镜,当库前边线出在左后视镜位置时,停车,倒库完成。
4 出库,挂一档前行,当车前头盖看不到路边线时(如图在前盖下),把转向盘右打死,当车身正时,回正方向,前车轮过右起点感应线,停车。
新驾考科目二扣分标准及技巧一、科目二考试顺序:上坡起步定点停车、侧方位停车、曲线行驶、直角转弯、倒车入库。
二、解析:小心,这些地方容易扣分综合评判未系安全带:扣100分未关好车门:扣100分未开转向灯:起步、转向、变更车道、超车、停车前未使用转向灯或使用少于3秒,扣10分(使用转向灯少于3秒,经常成为学员扣分的原因。
(一)倒车入库1、考试车辆运行路线图形尺寸:(普桑宽度170.6厘米,长度447.3厘米,轴距254.8厘米)W --库宽:取值车宽(不含倒车镜,下同)加0.6m;W=170.6+60=230.6厘米L --车位长:取值车长加0.7m;L =447.3+70=517.3厘米S --车道宽:取值车长的1.5倍;S =447.3*1.5=670.95厘米h --车库距控制线距离:取值车长的1.5倍。
h =447.3*1.5=670.95厘米2、操作要求考试过程中,车辆进退途中不得停车。
从道路一端控制线(车身压控制线)倒入车库停车,再前进出库向另一端驶过控制线后倒入车库停车,最后前进驶出车库。
(二)坡道定点停车和起步1、图:...... 控制线;──停车桩杆线,线宽取值0.3m;i --坡度,取值10%;l --坡长,取值(含竖曲线全长):大型车大于等于30m,小型车大于等于20m,摩托车大于等于8m;R --竖曲线半径,取值大于30m;S1、S2 --停车控制线到停车桩杆线中心距离,取值0.65m。
15+50=65cm2、操作要求控制车辆准确停车,平稳起步,车辆不得后溜。
起步时间不得超过30s。
(三)侧方停车1、考试车辆运行路线考试车辆运行路线见图6。
图形尺寸:19.6m(两边控制线长)L --车位长,大型客车为1.5倍车长减1m,小型车辆为1.5倍车长加1m,其他车辆为1.5倍车长;L=447.3*1.5+100=770.95厘米W --车位宽,车宽加0.8m;W=170.6+80=250.6厘米w --车道宽,1.5倍车宽加0.8m。
w=170.6*1.5+80=335.9厘米2、操作要求车辆在库前方靠右停稳后,一次倒车入库,中途不得停车,车轮不轧碰车道边线、库位边线。
(四)曲线行驶1、曲线行驶项目图形设计:半径:大型货车、大型客车、牵引车等取值12m,中型客车、低速载货汽车取值9.5m,小型汽车取值7.5m;路宽:大型货车、大型客车取值4m,牵引车取值7m,中型客车、低速载货汽车取值3.7m,小型汽车取值3.5m;弧长:八分之三个圆周。
科目二小车考试项目尺寸及要求(一)倒车入库1、考试车辆运行路线图形尺寸:(普桑宽度170.6厘米,长度447.3厘米,轴距254.8厘米)W --库宽:取值车宽(不含倒车镜,下同)加0.6m;W=170.6+60=230.6厘米L --车位长:取值车长加0.7m;L =447.3+70=517.3厘米S --车道宽:取值车长的1.5倍;S =447.3*1.5=670.95厘米h --车库距控制线距离:取值车长的1.5倍。
h =447.3*1.5=670.95厘米2、操作要求考试过程中,车辆进退途中不得停车。
从道路一端控制线(车身压控制线)倒入车库停车,再前进出库向另一端驶过控制线后倒入车库停车,最后前进驶出车库。
(二)坡道定点停车和起步1、图:...... 控制线;── 停车桩杆线,线宽取值0.3m;i --坡度,取值10%;l --坡长,取值(含竖曲线全长):大型车大于等于30m,小型车大于等于20m,摩托车大于等于8m;R --竖曲线半径,取值大于30m;S1、S2 --停车控制线到停车桩杆线中心距离,取值0.65m。
15+50=65cm 2、操作要求控制车辆准确停车,平稳起步,车辆不得后溜。
起步时间不得超过30s。
(三)侧方停车1、考试车辆运行路线考试车辆运行路线见图6。
图形尺寸:19.6m(两边控制线长)L --车位长,大型客车为1.5倍车长减1m,小型车辆为1.5倍车长加1m,其他车辆为1.5倍车长;L=447.3*1.5+100=770.95厘米W --车位宽,车宽加0.8m;W=170.6+80=250.6厘米w --车道宽,1.5倍车宽加0.8m。
w=170.6*1.5+80=335.9厘米2、操作要求车辆在库前方靠右停稳后,一次倒车入库,中途不得停车,车轮不轧碰车道边线、库位边线。
(四)曲线行驶1、曲线行驶项目图形设计:半径:大型货车、大型客车、牵引车等取值12m,中型客车、低速载货汽车取值9.5m,小型汽车取值7.5m;路宽:大型货车、大型客车取值4m,牵引车取值7m,中型客车、低速载货汽车取值3.7m,小型汽车取值3.5m;弧长:八分之三个圆周。
科目二小车考试项目尺寸及要求(一)倒车入库1、考试车辆运行路线图形尺寸:(普桑宽度170.6厘米,长度447.3厘米,轴距254.8厘米)W --库宽:取值车宽(不含倒车镜,下同)加0.6m;W=170.6+60=230.6厘米L --车位长:取值车长加0.7m;L =447.3+70=517.3厘米S --车道宽:取值车长的1.5倍;S =447.3*1.5=670.95厘米h --车库距控制线距离:取值车长的1.5倍。
h =447.3*1.5=670.95厘米2、操作要求考试过程中,车辆进退途中不得停车。
从道路一端控制线(车身压控制线)倒入车库停车,再前进出库向另一端驶过控制线后倒入车库停车,最后前进驶出车库。
(二)坡道定点停车和起步1、图:...... 控制线;──停车桩杆线,线宽取值0.3m;i --坡度,取值10%;l --坡长,取值(含竖曲线全长):大型车大于等于30m,小型车大于等于20m,摩托车大于等于8m;R --竖曲线半径,取值大于30m;S1、S2 --停车控制线到停车桩杆线中心距离,取值0.65m。
15+50=65cm2、操作要求控制车辆准确停车,平稳起步,车辆不得后溜。
起步时间不得超过30s。
(三)侧方停车1、考试车辆运行路线考试车辆运行路线见图6。
图形尺寸:19.6m(两边控制线长)L --车位长,大型客车为1.5倍车长减1m,小型车辆为1.5倍车长加1m,其他车辆为1.5倍车长;L=447.3*1.5+100=770.95厘米W --车位宽,车宽加0.8m;W=170.6+80=250.6厘米w --车道宽,1.5倍车宽加0.8m。
w=170.6*1.5+80=335.9厘米2、操作要求车辆在库前方靠右停稳后,一次倒车入库,中途不得停车,车轮不轧碰车道边线、库位边线。
(四)曲线行驶1、曲线行驶项目图形设计:半径:大型货车、大型客车、牵引车等取值12m,中型客车、低速载货汽车取值9.5m,小型汽车取值7.5m;路宽:大型货车、大型客车取值4m,牵引车取值7m,中型客车、低速载货汽车取值3.7m,小型汽车取值3.5m;弧长:八分之三个圆周。