品管部工作流程图
- 格式:doc
- 大小:66.00 KB
- 文档页数:12
1、计划部按业务订单资料安排生产计划8、裁剪按照生产计划领料,安排生产。
2、采购部按计划部计划安排执行物料的采购。
并明确到料日期。
9、验片员100%对裁片进行检验。
并对每日验片情况做记录交主管确认。
3、仓库按采购部计划与通知收货,并将到料情况书面通知计划部。
10、裁剪要对需要印/绣花的裁片进行编号,以防止在印/绣花过程中裁片层次错乱。
4、计划部根据到料时间通知品管安排检验。
11、在印/绣花过程中品管部印绣花QC人员对印/绣花的品质进行跟踪检验,并开出检验报告。
5、品管部按计划部计划与物料实际入仓情况安排检验。
并开出物料检验报告,依据报告做出判定物料是否可以投入生产。
12、回厂的印/绣花片,验片员要100%进行检验,合格后交裁剪进行配包。
6、品管部判定合格的物料将通知生产投产,不合格的物料通知采购部并联合生产部协助采购部进行处理。
13、对检验出的不合格印 /绣花片裁剪配好色后,重新剪好裁片送印绣花厂。
14、裁剪车间须将此包同一层次的裁片全部取出保管,等补做裁片回厂后在发出。
20、中查检验合格的成衣,须车间主任核可15、印/绣花厂对须补做的裁片必须及时安排生产与及时送回公司裁剪车间。
21、尾部收发员收货数量、款式、尺码要记裁片层次错乱。
16、裁剪车间对印/绣花厂补做的印/绣花片及时还包补件。
22、尾部收货间衣物存放要按款、尺码、颜检验,并开出检验报告。
17、车缝车间领裁片后安排生产。
23、尾部主任按出货计划安排大烫进行整烫18、在车缝生产过程中品管部及时安排QC进行跟进品质情况,并对生产中不合格事项提出改善,并开出报告,追踪改善结果。
24、整烫好的衣物要整齐摆放。
绣花厂。
19、车缝生产好的待成品,中查进行100%检验,将检验出的不合格品退还车位返修。
并将严重问题上报车间主任与品管主管。
25、尾检按出货计划对整烫好的成衣进行检成衣,须车间主任核可后方可交入尾部。
26、尾检合格品尾部主任安排分码、打吊牌、验针、夹衣架、配套、按装箱单装箱。
品管圈模板流程图品管圈模板流程图是一种用于质量管理的工具,它可以帮助组织在项目中实施标准化流程,确保产品和服务的质量。
本文将介绍品管圈模板流程图的定义、作用及步骤,并结合实际案例进行说明。
一、品管圈模板流程图的定义品管圈模板流程图是一种图形化工具,用于展示和描述质量管理过程中涉及的各个环节和步骤。
它以流程图的形式展示,其中包含了输入、输出、流程控制、关键控制点等关键要素,帮助组织明确质量管理的目标和方法。
二、品管圈模板流程图的作用品管圈模板流程图具有以下几个作用:1. 明确流程:通过品管圈模板流程图,组织可以清晰地展示各个流程环节及其相互关系,使团队成员理解和掌握整个流程;2. 标准化流程:品管圈模板流程图可以确保流程的标准化实施,提高产品和服务的质量稳定性;3. 识别问题:通过观察品管圈模板流程图,组织可以识别出流程中存在的问题和瓶颈,进而进行改进和优化;4. 沟通协作:品管圈模板流程图可以作为团队沟通的工具,促进各部门之间的协作和合作。
三、品管圈模板流程图的步骤品管圈模板流程图的制作包括以下几个步骤:1. 确定流程范围:首先,需要明确品管圈模板流程图所涵盖的流程范围,确定流程的起止点。
2. 绘制流程图框架:在绘制品管圈模板流程图之前,需要先绘制一个流程图框架。
流程图框架中通常包括起始点、终止点以及中间的各个环节。
3. 添加流程环节:根据实际情况,逐步添加流程环节。
在每个环节中,需要明确该环节的输入、输出以及关键控制点。
4. 连接流程环节:在添加完所有流程环节后,需要根据实际流程的先后顺序,将各个环节连接起来。
此时,可以使用箭头来标识流程的方向。
5. 完善细节信息:在连接流程环节后,需要进一步完善细节信息。
这包括添加注释、说明关键控制点的具体要求、标注输入输出的具体内容等。
6. 优化与改进:绘制完成品管圈模板流程图后,组织可以对流程进行优化和改进。
通过识别不必要的环节和瓶颈,组织可以进一步提高流程效率和质量。
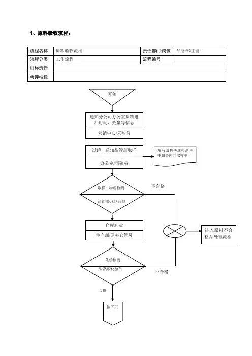
进料:收到仓库的送检通知单,准备验收;仓管员/检验员查看产品的检验报告:要求供应商提供产品检验报告;检验员判定:检查产品检验报告上的各指标是否符合要求;检验员合格:报告合格再抽样检验;不合格:通知品管主管;检验员品管主管知会仓库,退货:在送检通知单填写不合格;交予仓库,退货处理;检验员仓管员知会米购部:与米购部沟通该供应商提供该批次产品的问题;品管主管采购员抽检合格:抽检合格,填写送检单,交予仓库;检验员/仓管员入仓:仓库接到送检单,安排入仓;仓管员存档:所有文件检验记录存档检验员《送检通知单》《产品检验报告》《产品检验报告》《原材料内控标准》《送检通知单》《质量内部联络单》《供应商每批供应记录表》《送检通知书》《原材料检验报告》《每月原材料质量统计》质量管理部:进料工作流程图原料投产:原料投入生产; 生产部《原料投产单》巡检:生产过程中,现场QC对各个车间进行巡查,抽检检验合格:继续一道工序;检验不合格:通知主管,通知有关人员:品管主管和生产主管决定不合格半成品返工还是报废;报废:对有问题的成品进行销毁,并对该次事件提出合理的整改建议;整改意见:相关人员对该次事件进行原因分析,提出整改意见;成品:半成品经过合格工序生产完成;检验:对成品抽样检验各指标;入仓:检验合格产品在放行单上签字,入仓保存;存档:把各项检验记录,检查记录,整改意见书等保存起来。
现场QC现场QC品管主管品管主管/生产主管品管主管/生产主管生产部检验员检验员/仓管员检验员《车间清洗消毒记录》《车间品质控制检查记录》《生产过程杂物记录》《质量异常报告》《整改报告》《纠正预防措施》《理化指标检验原始记录》《微生物检验原始记录》《产品检验报告》《每月产品质量小结》《放行单》《入仓单》所有相关文件质量管理部:出货工作流程表出货:接到仓库部通知准备出货;检验:对照出货通知,核对产品名称,规格,标签;通知相关人员:检验不合格货品通知相关人员;重新发货:重新按要求发货;出货:产品检验报告交予物流部,出货;仓管员《出货通知单》存档:把相关文件存档以备查。
品管部组织结构图部门职责及分工:一、化验室:1、根据检验规程对所有的进厂原料、辅料、部分包装材料、成品、中间产品、生产用水等进行检验。
2、负责对所检的检品出具检验报告单,做到数据准确,记录完整,保存良好。
3、负责检验测试所用仪器、设备的选型、安装、调试、定期检定及维修与保养工作;负责玻璃仪器的定期校正工作,以保证检验数据的准确性。
4、责对检验方法的验证工作。
5、负责完成品管部交办的其他检测工作。
6、配合产品研发人员做产品小试工作。
二、品质检验:1、原料检验员岗位职责1)负责制定来进料检验标准,确实执行来进料检验。
2)负责进料质量异常的妥善处理。
3)负责对原料规格提出改善意见或建议。
4)负责原料供应商,协作厂商交货质量实绩的整理与评价。
5)负责原料库存品的抽验,及鉴定报废品。
2、产品检验员岗位职责1)检验员应熟悉产品工艺要求,了解产品的结构,性能等。
2)按照技术标准对受检产品进行质量检验工作。
3)严格批量产品的检验工作,检验员有权根据受检产品的质量要求就生产条件、使用材料、检验设备等问题向有关部门提出建设性意见。
4)检验员有权拒检某些严重违反技术要求,不负责任、粗制滥造的产品,以免不良产品的大批量出现。
5)向有关部门领导及生产工人提供质量方面的反馈数据;根据产品存在的问题,分析原因,提出预防和改进的意见供主管领导和有关部门领导参考。
6)按照工艺流程图,产品要求做好产品的检查工作,及时发现产品中出现的不良品,要求并监督制造方采取有效措施认真管理,防止不良产品、不合格产品混入合格产品。
7)完成上级领导指派的其他任务。
8)对检验结果负责。
三、体系建立1、品质制度的订立与实施;2、品质活动的执行与推动3、体系文件及记录的编写、修改、保存及质量体系的运行和贯彻实施;四、卫生检查及监督1、负责加工厂内的人员卫生、工艺卫生、环境卫生的管理和监控;2、负责厂区环境卫生的清洁与消毒工作的指导与监督检查;3、负责制程中关于卫生方面的验证工作;4、加工厂内有毒有害化学品的领用、保管、配制与发放;6、按时完成上级交办的其它事宜。
品管圈(QCC)活动成果报告书圈徽品管圈名称改善主题:活动单位:活动期间:一、上期活动追踪结果(一)品管圈活动名称:(二)主题选取原因:(三)目标设定值:目标准=现况值-改善值=现况值-(现况值×圈能力)(四)效果确认目标达标率=(改善后-改善前)/(目标值-改善前)×100% 进步率=(改善后-改善前)/改善前×100%(五)效果维持情形:(六)改进措施:二、圈的介绍(一)圈的组成圈名:圈成立日期:年月成员人数:人平均年龄:岁圈长:辅导员:所属单位:单位电话:圈员:主要工作:(以门诊药房为例:门诊病人药品调剂、门诊病人药物咨询、门诊药房药品储存与保管…)活动期间:年月至年月(二)圈名意义:◎与单位、部门的关系◎表达对于此活动的期盼◎文字的意思(分开、合并)(三)圈徽意义:◎与圈名间的关系◎图形形态的意义(整体、个别)◎图形颜色的意义(四)圈活动特点:三、主题选定(一)选题过程:主题评价题目上级政策可行性迫切性圈能力总分顺序选定◎评价说明分数上级政策可行性迫切性圈能力1 没听说过不可行半年后再说需多个单位配合3 偶尔告知可行明天再说需一个单位配合5 常常提醒高度可行分秒必争能自行解决注:以评价法进行主题评价,共人参与选题过程;票选分数:5分最高、3分普通、1分最低,第一顺位为本次活动主题。
(二)本期活动主题:(主题说明)(三)名词定义:(包括衡量指标)(四)选题理由:1.对医院而言:2.对患者而言:3.对科室而言:4.对个人而言:5.其他:四、活动计划拟订(一)WHAT WHEN WHO WHERE HOW 主题:日期负责人开会地点品管工具周数主席P 主题选定活动计划拟定现况把握目标设定解析对策拟定D 对策实施检讨C 效果确认A 标准化检讨与改进下期活动主题资料整理四、活动计划拟订(二)月份周次步骤年月年月年月年月年月年月年月负责人1周2周3周4周1周2周3周4周1周2周3周4周1周2周3周4周1周2周3周4周1周2周3周4周1周2周3周4周主题选定计划拟订现况把握目标设定解析对策拟订对策实施与检讨效果确认标准化检讨改进成果发表为计划线为实施线五、现况把握(一)与主题相关的工作流程图此次活动重点术后带留置胃管患者评估胃管情况并宣教每2小时回抽胃液执行既定营养供给方案是否需要胃肠减压术后六小时开始鼻饲YES按医嘱术后第一天开始从少量多餐开始NO根据患者胃纳情况,增加鼻饲次数,或改高营养饮食类别,或增加代餐食品报表24小时能量摄入是否满足患者营养需求YESNO判断患者有无腹泻腹胀情况NO(二)数据收集结果分析期间:年月日至月日收集对象:查检表的制定日期项目合并第页注:请以“正”字的方式记录不良率的次数数据结果的分析:查检项目数量所占比例(%)累计百分比(%)其他合并100(三)改善前柏拉图辅助班及夜班执行责任班评估患者相关知识掌握情况,术后第14天测量体重及评估愈合情状YES执行静脉营养辅助方案,并追加助消化吸收药物及时补充并评价(四)结论六、目标设定(一)目标值设定:XX (单位)可计算效率(金额)量化指标:如×件数,×件数/百人,×件数/千人,×件数/万人等。
质量部门工作流程图与说明书质量部进料、生产过程、出货、新产品研发、不合格品控制等工作流程图。
01进料工作流程进料:收到仓库的送检通知单,准备验收;查看产品的检验报告:要求供应商提供产品检验报告;判定:检查产品检验报告上的各指标是否符合要求;合格:报告合格再抽样检验;不合格:通知品管主管;知会仓库,退货:在送检通知单填写不合格;交予仓库,退货处理;知会采购部:与采购部沟通该供应商提供该批次产品的问题;抽检合格:抽检合格,填写送检单,交予仓库;入仓:仓库接到送检单,安排入仓;存档:所有文件检验记录存档02生产过程工作流程原料投产:原料投入生产;巡检:生产过程中,现场QC对各个车间进行巡查,抽检检验合格:继续一道工序;检验不合格:通知主管,通知有关人员:品管主管和生产主管决定不合格半成品返工还是报废;报废:对有问题的成品进行销毁,并对该次事件提出合理的整改建议;整改意见:相关人员对该次事件进行原因分析,提出整改意见;成品:半成品经过合格工序生产完成;检验:对成品抽样检验各指标;入仓:检验合格产品在放行单上签字,入仓保存;存档:把各项检验记录,检查记录,整改意见书等保存起来。
03出货工作流程出货:接到仓库部通知准备出货;检验:对照出货通知,核对产品名称,规格,标签;通知相关人员:检验不合格货品通知相关人员;重新发货:重新按要求发货;出货:产品检验报告交予物流部,出货;存档:把相关文件存档以备查。
04新产品研发工作流程开始:客户特别要求或者公司计划研制新产品;各项资料的准备:客户的要求,市场的口味要求,工艺流程图的制定等;试产前会议:试产前,召开内部会议,讨论资料的准备状况,试产需要注意事项;开始试产:跟踪试产生产现场,提出不良问题要点;新产品检验:检验产品的各指标,是否符合要求;分析:分析对于不合格原因,收集各人员关于新产品建议,提出改善对策;效果确认:根据改善对策重新试产,逐项确认效果;新产品调查:组织相关人员对新研制产品进行品尝调查;存档:保存各种记录文件。