司法网络公共拍卖业务流程图
- 格式:ppt
- 大小:633.00 KB
- 文档页数:6
司法拍卖流程以及规则司法拍卖分法院强制拍卖和法院委托清算管理⼈再进⾏程序上的破产企业拍卖两种。
司法拍卖是要按照严格的法律流程来执⾏的,很多想去竞拍的⼈对此不到了解。
那司法拍卖流程以及规则是怎么样的呢?拍卖程序需要的时间是怎样的?现在淮海拍卖⽹就为您说明⼀⼆。
⼀、司法拍卖流程以及规则1、评估价格评估价格是拍卖的前置程序。
在对被查封、扣押、冻结的被执⾏⼈的财产进⾏变现前,法院应当委托依法成⽴、具有相应资质的资产评估机构对其进⾏价格评估。
对评估结果,法院应当及时向执⾏双⽅当事⼈送达评估报告。
当事⼈对评估结果有异议的,可向法院请求复议,法院再要求评估机构进⾏复议。
2、作出强制拍卖的决定价格评估完成后,法院可组织执⾏双⽅当事⼈协商,按评估价格将被执⾏⼈财产抵债给申请执⾏⼈。
双⽅当事⼈对以物抵债不能达成⼀致的,法院应作出强制拍卖被执⾏⼈财产的决定。
如果被执⾏⼈要求⾃⼰⾃⾏变卖财产的,法院依照《执⾏条例》第48条的规定,可以准许,但应当监督其按照合理价格在指定的期限内进⾏,并有效控制变卖的价款。
在实际⼯作中,很少有被执⾏⼈要求⾃⼰变卖财产的情况,《执⾏条例》只拟定可以准许,但不是应当。
法院应根据被执⾏⼈财产状况,和被执⾏⼈的信誉程度,依职权做出决定。
如准许,被执⾏⼈⾃⾏变卖,应给其10⽇以内的时间,同时,法院在得款后,才能将查封财产予以解除查封,确保申请⼈的合法权益得以实现。
3、司法拍卖⽅式⽬前⼀般情形都采⽤⽹络司法拍卖形式进⾏拍卖,但⽹络司法拍卖不能够完全取代传统司法拍卖,并⾮所有的物质都可以上⽹拍卖,当涉及到⼀些法律关系⽐较复杂的拍卖标的,可能仍需要采取传统的拍卖⽅式。
⼆、拍卖程序需要的时间法院执⾏拍卖的程序最快六个⽉,最慢⼀年。
法院执⾏过程中,对房屋的拍卖没有确定的时间限制。
根据实践情况,⼀般可在六个⽉左右完成,案情复杂的需要⼀年左右的时间。
法院执⾏房屋时,需要有以下程序:1、查封涉案房屋,委托评估机构进⾏价值评估。
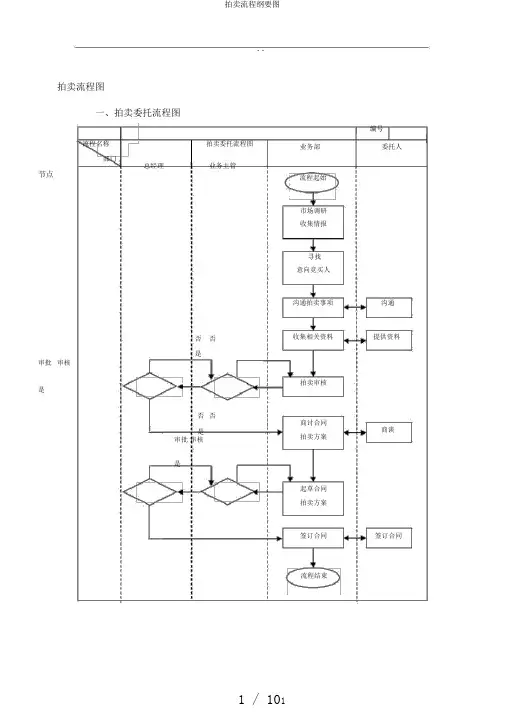
.. 拍卖流程图一、拍卖委托流程图流程名称拍卖委托流程图部门业务主管总经理节点否否是审批审核是否否是审批审核是编号业务部委托人流程起始市场调研收集情报寻找意向竞买人沟通拍卖事项沟通收集相关资料提供资料拍卖审核商讨合同商谈拍卖方案起草合同拍卖方案签订合同签订合同流程结束'.二、拍卖公告与展示与流程图流程名称公告与展示流程图部门业务主管总经理节点否否是审批审核是否否是审批审核是业务部流程起始选择媒体拟定公告发布公告拍卖备案拟定展示方案布展展示标的竞买咨询撤展流程结束..编号意向竞买人了解标的竞买咨询'.三、竞买人登记流程图流程名称竞买人登记流程图部门总经理业务主管财务部业务部节点否否是审批审核资格审核是同意申请核实保证金协助付款签订文件竞买登记发放号牌..编号意向竞买人流程起始提交申请交纳竞买保证金付款签订文件领取号牌流程结束'.四、拍卖实施流程图流程名称拍卖实施流程图部门总经理行政主管主节点否否是审批审核是..编号拍卖部竞买人〔买受人〕流程起始拟定拍卖会预案召开预备会布置会场拍卖会拍卖师竞价竞价未成交成交签订确认书签订确认书签订笔录签订笔录拍卖会结束流程结束'.五、买受人结算与交割流程图流程名称买受人结算与交割流程图部门财务主管财务部业务部总经理节点流程起始通知结算收到款项协助付款否否是审批审核核实款项是交割沟通标的交割流程结束..编号买受人筹集款项支付款项交割沟通标的交割'.六、委托人结算流程图..流程名称部门委托人结算流程图编号节点总经理否审批是财务主管财务部业务部流程起始资格审核填写结算单否否是财务审核主管签字确认审核财务结算支付款项协助付款反应信息流程结束委托人结算沟通收到款项核实款项'...七、档案管理流程图流程名称档案管理流程图编号部门总经理行政主管主行政部节点流程起始收集档案否否审批是鉴定档案审核是整理分类维护保管档案借用档案更新否否审批是档案销毁审核是流程结束'.。
司法拍卖流程范文司法拍卖是指法院根据法律规定,通过公开竞拍的方式将被执行人拥有的财产、权利等进行变现。
司法拍卖流程具体分为以下几个步骤:一、拍卖资产的确定和准备1.法院确定拍卖对象:根据当事人的申请或法院自行发现,确定需要执行拍卖的财产。
2.评估资产价值:法院根据需要,委托专业的评估机构对财产进行评估,确定其市场价值。
3.编制拍卖公告:法院将拍卖资产的信息、起拍价、拍卖时间、地点等编制成拍卖公告,并刊登在指定的媒体上,通知社会公众。
二、拍卖公告的公告和报名1.公示期间:法院规定公告的起止时间,一般为20天以上。
2.查阅资料:潜在买家可以通过法院指定的渠道或者在线查询等方式查阅相关的拍卖资料。
3.报名条件:潜在买家需要在指定时间内按照相关规定向法院提供报名登记,同时缴纳一定的报名保证金。
三、拍卖前的准备工作1.报名资格审查:法院会对报名人的资格进行审查,包括经济实力、法律行为记录等。
2.确定参与竞拍人:符合报名条件的人,法院将其确定为参与竞拍人,并为其颁发竞买号。
3.参观物品:法院会根据需要,安排参与竞拍人对财产进行现场参观,以满足其对所竞拍物品的了解。
四、竞拍阶段1.开拍公告:法院在拍卖前会发出开拍公告,通知参与竞拍人到达拍卖地点。
2.竞价方式:竞拍可以采用口头竞价和书面竞价相结合的方式进行。
竞拍人可以直接喊价或者书面提交竞价。
3.竞价规则:法院会制定竞价规则,如起拍价、加价幅度、出价次数限制等,以保证竞拍的公平和有序进行。
4.最高价确定:当竞价达到法院设定的底价或无人竞拍时,出价最高的竞买人将以最后的竞价成交。
五、拍卖结束后的程序1.拍卖成交:竞价结束后,法院将宣布拍卖成交,并确定最高出价人为拍卖获胜者。
2.付款和过户:拍卖获胜者需要在规定时间内将竞买金款项支付给法院,并办理相关过户手续。
3.不成交的处理:如果拍卖未达成最低成交价,法院会判定拍卖无效并结束拍卖。
此时,拍卖标的将往后延期或采取其他措施。
拍卖方案操作流程一、拍卖准备1.1确定拍卖目标:确定要拍卖的物品或服务,包括确定拍卖的起拍价和保留价。
1.2选择拍卖类型:根据拍卖目标确定是传统拍卖、网络拍卖还是密封竞标拍卖等。
1.3拍卖场地准备:选择合适的拍卖场地,并进行布置和装饰。
1.4制定拍卖宣传计划:选择合适的宣传渠道,并制定宣传方案。
二、资格审查和拍卖注册2.1资格审查:对有意参与拍卖的买家进行资格审查,确保其拥有参与拍卖的资格。
2.2拍卖注册:买家在拍卖开始前需要进行注册,填写相关个人信息并支付必要的注册费用。
三、开拍和竞拍过程3.1开拍仪式:宣布拍卖开始,并介绍拍卖物品或服务的相关信息。
3.2起拍价和加价幅度:确定拍卖物品或服务的起拍价和每次竞拍加价的幅度。
3.4监控竞拍:拍卖师或工作人员需要对竞拍过程进行严格的监控,确保竞拍的公平性。
3.5成交确认:当出现无人加价时,拍卖师会敲锤宣布竞拍结束,并确认成交价。
四、支付和交割4.1支付方式确认:确定买家支付拍卖物品或服务的方式,可使用现金、银行转账或在线支付等方式。
4.2付款时间:确定买家需要在何时支付款项。
4.3交割时间和方式:拍卖方需要确定交割物品或服务的时间和方式,确保买家能够顺利收到拍卖物品或服务。
五、结算和拍卖报告5.1结算:卖家收到买家的支付款项后,将买家的信息和拍卖物品或服务的信息进行匹配,确保款项和物品或服务的一致性。
5.2拍卖报告:拍卖方会对拍卖过程和拍卖成交结果进行总结和报告,包括拍卖的底价、起拍价、成交价等信息。
六、售后服务6.1退款和退货:如果买家出现对拍卖物品或服务有异议的情况,拍卖方需要提供退款和退货等售后服务。
6.2处理纠纷:如果对拍卖过程或结果有争议,拍卖方需要进行调解或仲裁,确保公正处理纠纷。
总结:拍卖方案的操作流程需要从拍卖准备、资格审查和拍卖注册、开拍和竞拍过程、支付和交割、结算和拍卖报告以及售后服务等环节进行操作。
每个环节都需要有明确的程序和规定,以确保拍卖的公平性和顺利进行。
司法拍卖的流程范文司法拍卖是一种通过司法机关对被执行人的财产进行拍卖的方式,以满足债权人的权益。
司法拍卖的过程在不同的国家和地区可能有所不同,下面是一个典型的司法拍卖流程的概述:第一步:诉讼前的准备1.债权人提起诉讼:当债务人无力履行债务时,债权人可以向法院提起诉讼,要求对债务人的财产进行拍卖。
2.法院受理案件:法院会对债权人的申请进行审查,如果符合法律的规定,法院会受理案件。
第二步:审理过程1.发布法院公告:法院会发布公告,公告内容包括被执行人的姓名、案号、拍卖的财产以及拍卖的时间和地点等信息,以便广泛告知利益相关方。
2.报名参与拍卖:拍卖参与人需要按照法院规定的时间和方式进行报名,提交相关资料,并缴纳一定的报名保证金。
3.拍卖评估:法院会组织相关的评估人员对拍卖财产进行评估,以确定其市场价值。
4.拍卖底价确定:法院会根据评估结果和相关法规,确定拍卖财产的底价。
在拍卖时,参与人必须出价高于底价方能参与竞拍。
5.拍卖方式:拍卖的方式可以是现场竞拍、书面竞价或者网上竞价等,在一些地区,还可以采用组合拍卖的方式,即多个财物合并拍卖。
6.拍卖宣告:在拍卖之前,法院会对参与人的资格进行审核,然后宣布拍卖开始,告知参与人竞拍的规则和注意事项。
第三步:拍卖进行1.竞价过程:参与人按照拍卖规则进行竞价,出价高者获得拍卖财产的所有权,但必须支付所出价格的一定比例作为竞价保证金。
2.竞价结束:当出现无人竞价或者竞价达到一定次数后,法院会宣布竞价结束,并确认最高出价者作为拍卖的竞得人。
3.缴纳竞价款:竞得人需要在一定期限内缴纳所出价格的一定比例作为竞拍款项,法院会出具相应的支付凭证。
4.废标处理:如果竞得人未按照规定时间内缴纳竞拍款项,法院会将其竞得资格废除,并宣布重新拍卖。
第四步:拍卖结束1.竞拍款分配:竞得人在缴纳竞拍款项后,法院会将款项分配给债权人,以满足其权益。
2.转移财产所有权:法院会办理相关手续,将拍卖财产的所有权从原被执行人转移给竞得人。
一文了解网络司法拍卖与网络司法变卖程序!近日,网络司法拍卖再成热点——在淘宝司法拍卖平台一部苹果7手机经过377次延时后以270550元成交,引发关注和热议。
无论事件基于何种原因发生,网络司法拍卖所具有的公开透明、便捷高效、成本低廉、广泛参与等诸多优势使得拍卖财产变现溢价率大幅提升已成共识。
下文对网络司法拍卖与变卖的基本程序予以简要介绍。
民事执行程序中,财产变现是实现债权人利益的关键环节。
为加大对被执行人财产的处置力度以及规范财产处置程序,法院在执行实践中确定了网络司法拍卖优先的基本原则,即对查封、扣押、冻结的财产进行变价处理时应当首先采取网络司法拍卖的方式,提高了财产处置效率、变价率和公开透明度,取得了较好的实践效果。
网络司法拍卖,是指人民法院依法通过互联网拍卖平台,以网络电子竞价方式公开处置财产的行为。
人民法院以拍卖方式处置财产的,应当采取网络司法拍卖方式,但法律、行政法规和司法解释规定必须通过其他途径处置,或者不宜采用网络拍卖方式处置的除外。
对于经过两次网络司法拍卖未果而流拍,且未能以物抵债的,应该继续采取网络司法变卖的方式相衔接继续处置财产。
近期,最高人民法院发布《最高人民法院关于认真做好网络司法拍卖与网络司法变卖衔接工作的通知》对规范网络司法变卖行为进一步予以规范。
另外,司法变卖虽然与拍卖紧密相联,但拍卖并非变卖的必经程序,对于不适于拍卖或者当事人双方同意不进行拍卖的,人民法院可以委托有关单位变卖或者自行变卖。
未经拍卖直接变卖财产,主要包括两种情形:(1)对查封、扣押、冻结的财产,当事人双方及有关权利人同意变卖的,可以变卖;(2)金银及其制品、当地市场有公开交易价格的动产、易腐烂变质的物品、季节性商品、保管困难或者保管费用过高的物品,人民法院可以决定变卖。
下面以表格的形式对网络司法拍卖以及变卖的基本内容予以重点阐释。
参考法律规范:《最高人民法院关于人民法院民事执行中拍卖、变卖财产的规定》《最高人民法院关于人民法院网络司法拍卖若干问题的规定》《最高人民法院关于认真做好网络司法拍卖与网络司法变卖衔接工作的通知》。
入住法院司法辅拍工作流程1️⃣ 初步阶段:案件受理与评估在司法辅拍工作流程的起始阶段,法院首先会对涉及拍卖的案件进行受理。
这包括接收来自执行法官或其他相关部门的拍卖申请,并对案件进行初步审查,确认其符合司法拍卖的法定条件。
随后,法院会委托专业的评估机构对拍卖标的物(如房产、车辆等)进行价值评估。
评估报告将作为后续拍卖定价的重要依据,确保拍卖过程的公正性和透明度。
2️⃣ 拍卖准备与公告发布完成评估后,法院将进入拍卖准备阶段。
这一阶段的主要任务包括确定拍卖方式(如网络拍卖、现场拍卖等)、拍卖时间、地点以及拍卖底价。
同时,法院还需制作拍卖公告,并在官方网站、报纸、社交媒体等渠道广泛发布,以吸引潜在买家参与竞拍。
公告内容通常包括拍卖标的物的详细信息、拍卖时间地点、竞拍须知、联系方式等,确保信息的全面性和易获取性。
3️⃣ 竞拍过程与成交确认拍卖当天,法院将组织竞拍活动。
对于网络拍卖,竞拍者需提前在指定平台注册并缴纳保证金;对于现场拍卖,竞拍者则需携带有效证件到场签到。
在拍卖过程中,竞拍者按照拍卖师的指示进行出价,直至拍卖师宣布最高出价者成交。
成交后,竞拍者需在规定时间内支付全款,并与法院签订成交确认书,确认拍卖结果的有效性。
此外,法院还会协助竞拍者办理标的物的过户、交付等后续手续,确保拍卖流程的顺利完成。
值得注意的是,在整个司法辅拍工作流程中,法院始终扮演着监督者和协调者的角色。
它不仅要确保拍卖过程的公正、公平、公开,还要妥善处理可能出现的争议和纠纷。
例如,当竞拍者对拍卖结果提出异议时,法院将依据相关法律法规进行审查,并作出相应处理。
此外,随着科技的发展,法院司法辅拍工作也在不断创新和优化。
例如,一些法院已经开始采用区块链技术来记录拍卖过程,以提高数据的透明度和不可篡改性。
同时,网络拍卖的普及也使得竞拍者可以跨越地域限制,更加便捷地参与司法拍卖活动。
综上所述,法院司法辅拍工作流程是一个复杂而精细的系统工程,它涉及案件受理、评估、拍卖准备、竞拍过程、成交确认等多个环节。
网上拍卖流程网上拍卖是一种便捷、高效的交易方式,越来越受到人们的青睐。
在网上拍卖平台上,你可以买到各种各样的商品,也可以将自己的物品进行拍卖。
下面,我们将介绍一下网上拍卖的一般流程。
首先,作为买家,你需要在网上拍卖平台上注册一个账号。
在注册过程中,你需要填写一些个人信息,并设置登录密码。
注册完成后,你就可以登录到平台上进行浏览和拍卖物品了。
接下来,你可以通过平台的搜索功能,找到你感兴趣的物品。
你可以根据关键词搜索,也可以浏览不同类别的物品。
当你找到心仪的物品后,可以点击进入物品详情页,查看物品的描述、图片和拍卖信息。
如果你对该物品感兴趣,并且愿意参与竞拍,你可以点击“竞拍”按钮,输入你愿意出价的价格。
在竞拍过程中,你可以随时查看当前的最高出价,也可以随时调整你的出价。
当拍卖时间结束时,最高出价者将获得该物品的所有权。
作为卖家,你需要先在平台上创建一个拍卖物品的信息。
在创建信息时,你需要上传物品的图片、填写详细的描述和设置拍卖的起始价。
在发布物品信息后,其他用户就可以看到你的物品,并开始竞拍。
在拍卖过程中,你可以随时查看当前的最高出价和出价者的信息。
如果你觉得当前的出价满意,你可以选择结束拍卖,将物品卖给最高出价者。
如果你觉得价格还不够理想,你也可以选择延长拍卖时间,让更多的用户参与竞拍。
当拍卖结束后,作为卖家,你需要与最高出价者联系,确认交易细节并完成交易。
在交易完成后,你需要在平台上确认交易完成,这样平台才会将交易款项转到你的账户上。
总的来说,网上拍卖流程包括注册账号、浏览物品、参与竞拍、创建拍卖信息、监控竞拍、确认交易等步骤。
通过网上拍卖,你可以买到自己喜欢的物品,也可以将自己的物品进行转让。
希望以上内容能够帮助你更好地了解网上拍卖的流程,愿你在网上拍卖中能够得到满意的交易体验。
司法网络拍卖工作流程Judicial network auctions are a crucial aspect of the legal system, allowing for the fair and efficient disposal of assets that have been confiscated or seized by the courts. 司法网络拍卖是法律系统中的重要组成部分,它允许法院对被没收或扣押的资产进行公平高效的处置。
These auctions are conducted online, allowing for a wider audience of potential bidders to participate. 这些拍卖是在网上进行的,这样可以让更多潜在竞标者参与其中。
The process involves multiple steps, including asset evaluation, auction listing, bidder registration, bidding, and ultimately the transfer of ownership. 这一过程涉及多个步骤,包括资产评估、拍卖清单、竞标者登记、竞标以及最终所有权的转移。
From the perspective of the judiciary, the network auction process allows for transparency and fairness in the disposal of seized assets. 从司法的角度来看,网络拍卖过程可以确保被扣押资产的处置公开透明和公平公正。
It provides a platform for the efficient and equitable distribution of these assets, ensuring that the proceeds are used to satisfy the relevant legal claims. 它为这些资产的高效公平分配提供了一个平台,确保拍卖所得用于满足相关的法律要求。
司法拍卖房屋的竞拍流程有哪些1.拍卖公告发布:在拍卖之前,法院会发布一份拍卖公告,公告中包括被拍卖房屋的基本信息,拍卖地点、时间,竞买人资格要求,竞拍方式和竞拍流程等信息。
拍卖公告通常会在法院网站、报纸、房地产交易所等渠道发布。
3.缴纳保证金:符合竞拍资格的申请人需要提前缴纳一定金额的保证金作为竞拍资格的证明。
保证金的缴纳方式可以是现金、银行汇款等。
保证金的金额根据被拍卖房屋的估价确定,一般为房屋估价的5%至10%。
4.竞拍登记:竞拍人需要在规定的时间内到法院进行竞拍登记,提交相关的证明文件和报名表。
在登记时,竞拍人还需要缴纳一定的登记费用。
5.竞拍方式确定:竞拍可以采取现场竞拍或者网络竞拍的方式进行。
一般情况下,法院会提供线下的竞拍场地,并安排相应的竞拍工作人员;同时,也会在法院网站设立在线竞拍平台,供竞拍人在网上进行竞拍。
6.现场竞拍:在现场竞拍时,竞拍人需要到达指定的竞拍场地,并出示竞拍登记号和有效证件进行身份验证。
竞拍开始前,法院工作人员会宣读拍卖规则,并确认竞拍人的身份和资格。
然后,竞拍人会以一定的价格进行竞价,竞价结束后,最高价的竞买人获得竞拍权。
7.网络竞拍:在网络竞拍时,竞拍人需要提前注册并登录竞拍平台进行竞拍。
竞拍人可以通过平台上的拍卖公告查看被拍卖房屋的基本信息,并了解竞价规则。
竞拍开始时,竞拍人可以根据自己的判断和策略进行出价,系统会实时显示当前拍卖价格。
竞价结束后,最高价的竞买人获得竞拍权。
8.成交确认:竞拍结束后,法院会根据最高竞价确定成交人,并在规定的时间内公布竞拍结果。
成交人需要在规定时间内缴纳剩余竞价款项,同时签订相关的成交确认书。
如果成交人逾期未缴纳款项,法院有权撤销成交,并将该房屋重新拍卖。
9.过户手续:成交确认书签订后,成交人需要办理房屋所有权的过户手续,即将房屋的所有权从原所有人转移到成交人名下。
过户手续包括办理土地使用权证和房屋产权证等手续,同时需要支付相关的过户税费。
1.1.1 执行实施类案件1.1.1.1首次执行案件在列表中点击要执行的案件的“案号”,如图所示。
进入该案件办理流程界面。
包括“案件办理”、“电子卷宗”、“网上流转”、“关联案件”、“流转节点”几个标签页,如图所示。
案件执行主要以流程图中各节点为主,每完成一个流程节点操作,该节点将会变成绿色,如有需要流程图以外的节点操作,可以再“快速办案”右边的“更多功能”点开查找。
执行通知在流程图中,点击“执行通知”节点,右侧编辑区将显示“执行通知”信息。
“执行依据文号”、“执行依据主文”、“执行依据生效日期”、“财产报告期限”默认获取收案时录入数据,主要是确认“财产初查结果”以及“初查日期”,生成执行需要的文书,以及对被执行人进行身份验证。
“执行文书”的“文书生成”需要在保存之后操作,如需要再次确认信息,可以点击“保存”按钮,进行后续更改,如录入无误也可以直接“保存并流转”,如图所示。
“执行通知”流转的下一个节点为“网络查控”。
注意,如果没有设置流程节点顺序的话,多数流程节点是选择性节点,也就是可做可不做。
所以,流转对话框中可以不用勾选,直接“完成并流转”,如图所示。
完成流转后,“执行通知”节点图片变为绿色。
后面各节点皆如此。
网络查控调用总对总查控接口,实现网络查控。
“网络查控”流转的下一个节点为“网络查控结果分析”,如图所示。
网络查控结果分析在流程图中,点击“网络查控结果分析”节点,右侧编辑区显示分析列表。
用户可以根据网络查控得出的“被执行人”、“财产名称”、“查明方式”、“查明日期”、“是否可执行”、“不可执行原因”等信息给出分析结果,如图所示。
用户还可以将该案件“移出可执行清单”,“是否可执行”默认为“否”,说明“不可执行原因”既可移出清单,如图所示。
如果该案件有历次网络查控结果分析,还可以通过点击“历次分析结果”按钮,查看以往分析信息,如图所示。
传统查控_调查相对于“网络查控”,传统查控主要是通过人工的“调查”、“传唤”、“搜查”、“悬赏执行”、“司法审计”的方式进行当事人的财产等查控操作。
公安机关涉案财物拍卖流程
一、司法拍卖流程如下:
1、拍卖委托书;
2、拍卖公告与展示;
3、拍卖的实施;
4、收取佣金。
二、司法拍卖规则如下:
1、牢记拍卖活动应当遵守有关法律、法规,遵循公开、公平、公正、诚实信用的原则。
2、不得以竞买人的身份,参与自己公司组织的拍卖活动,也不得委托他人代为竞买。
3、不准在自己公司组织的拍卖活动中拍卖自己的物品或者财产权利。
4、当委托人或买受人要求对其身份保密的,拍卖人及知情工作人员应当为其保密。
5、当委托人要求对其“标的”的保留价保密时,拍卖人及知情工作人员应当为其保密。
6、不得与竞买人在拍卖时联手串通,损害他人利益。
7、不得与委托人在拍卖时联手串通,损害他人利益。
8、不准将不得公开的经济信息有意或无意地泄露,严守机密、不可大意。
9、凡代为委托人公开处理的零散物品,不得压价卖给熟人(包括亲朋好友等)公司内部工作人员。