注射剂的制备工艺流程样本
- 格式:doc
- 大小:38.00 KB
- 文档页数:21
注射剂制备工艺流程注射剂制备工艺流程是指将药物原料制备成适合注射使用的药物剂型的具体工艺步骤。
注射剂是一种在医疗过程中通过注射的方式给予患者药物治疗的剂型,通常以液体形式存在。
以下是一个常见的注射剂制备工艺流程的示例:一、原料准备1.药物原料选择:根据药物治疗的需要选择合适的药物原料。
2.药物原料评估:对选定的药物原料进行质量评估,包括外观、理化性质、纯度等指标。
3.辅料准备:根据配方需求准备辅助材料,如溶剂、乳化剂等。
二、溶解或悬浮1.计量:按照配方要求准确称取药物原料和辅料。
2.溶解或悬浮:将药物原料和辅料加入合适的容器中,加入适量的溶剂,进行溶解或悬浮。
三、调整pH值1.pH测定:使用pH电极测定药物溶液的pH值。
2.pH调整:根据目标pH值,添加酸性或碱性物质进行pH调整。
四、过滤净化1.过滤:使用合适的过滤装置进行过滤,去除杂质和微生物。
2.过滤验证:对过滤后的溶液进行检验,如颜色、澄清度等。
五、灭菌1.灭菌方法选择:根据药物性质和工艺要求选择适当的灭菌方法,包括热灭菌、化学灭菌等。
2.灭菌操作:根据选择的灭菌方法进行灭菌操作,确保药物剂型的无菌性。
六、包装1.容器选择:选择适合的注射剂容器,如玻璃瓶、注射器等。
2.包装:将灭菌后的药物溶液装入容器,并封闭。
七、产品质量控制1.质量控制样品采集:根据规定采集样品,进行质量控制测试。
2.质量控制测试:对采集的样品进行质量控制测试,包括理化性质、微生物检测等。
八、产品放行和储存1.产品检验:对生产的注射剂产品进行检验,确保符合质量标准。
2.产品放行:符合质量标准的产品可以进行放行,并进行合适的储存。
以上是一个注射剂制备工艺流程的大致步骤,具体的工艺流程可能因制备的注射剂类型和药物特性的不同而有所变化。
在制备注射剂的过程中,需要严格按照质量管理体系和相关法规进行操作,确保产品的质量和安全性。
简述制备注射剂的工艺流程1. 原料准备:首先需要准备所需的原料,包括活性成分、辅料和溶剂等。
这些原料必须符合药典要求,并进行严格的质量控制。
2. 活性成分溶解:将活性成分与适当的溶剂混合,并加热搅拌,使其完全溶解。
这一步骤需要控制溶解温度和时间,以确保活性成分的溶解度和稳定性。
3. 辅料添加:将预先准备好的辅料逐步加入到活性成分溶液中。
辅料的选择和添加顺序需要根据具体药物的特性和工艺要求进行调整,以确保药物的稳定性和疗效。
4. 混合均匀:通过搅拌设备对溶液进行充分混合,以确保各成分均匀分布。
混合的速度和时间需要根据具体药物和工艺要求进行调整,以避免药物的分解和不均匀。
5. 过滤净化:将混合后的溶液进行过滤,去除其中的杂质和固体颗粒。
过滤的方法和滤器的选择需要根据溶液的性质和要求进行调整,以保证药物的纯度和质量。
6. 灭菌处理:经过过滤的溶液需要进行灭菌处理,以防止细菌和其他微生物的污染。
灭菌的方法可以是热灭菌、化学灭菌或辐射灭菌,具体选择需要根据药物的特性和工艺要求来确定。
7. 填充包装:经过灭菌处理的溶液需要进行填充和包装。
通常采用注射器或小瓶进行填充,然后进行密封和包装。
填充和包装的过程需要在无菌条件下进行,以确保药物的纯度和质量。
8. 质量控制:最后对制备好的注射剂进行质量控制,包括外观、pH 值、溶解度、含量和纯度等指标的检测。
只有通过严格的质量控制,才能保证注射剂的质量和疗效。
制备注射剂是一项精细而复杂的工艺,需要严格的操作和质量控制。
只有确保每个步骤和条件的准确性,才能制备出高质量的注射剂,为患者提供安全有效的治疗。
在制备过程中,还需注意环境清洁和人员的个人卫生,以避免外部污染对药物质量的影响。
通过科学的工艺流程和严格的质量控制,制备出的注射剂能够满足临床使用的要求,为患者带来健康和福祉。
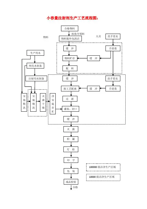
小容量注射剂生产工艺流程图:一、生产用物料包括原辅料、纯化水、注射用水、包装材料。
原辅料、包装材料(包括安瓿)应检验合格后使用。
纯化水为原水制得,清洗安瓿使用;注射用水为纯化水制得,清洗安瓿和配制使用,均应定时检查,制得后及时使用.二、纯化水、注射用水1、原水处理(纯化水的制备)原水处理方法有离子交换法、电渗析法及反渗透法。
离子交换法制得的去离子水可能存在热原、乳光等问题,主要供蒸馏法制备注射用水使用,也可用于洗瓶,但不得用来配制注射液。
2、注射用水的制备注射用水为蒸馏水或去离子水经蒸馏所得的水,又称重蒸馏水.其质量要求见《中国药典》,除氯化物、硫酸盐、钙盐、硝酸盐、亚硝酸盐、二氧化碳、易氧化物、不挥发物与重金属按蒸馏水检查应符合规定外,还规定pH应为5.0~7.0,氨含量不超过0。
00002%,热原检查应符合规定,应于制备后12h内使用。
三、人员操作人员应身体健康,每年体检一次,并建立健康档案.操作作人员按生产区域进行划分,严格遵守工作服穿戴制度,并不得将工作服穿出该区域.不得将头发、胡须外露,不得化妆,不得佩带饰物、手表,操作前后、接触污物后均应洗手并且消毒。
工作服应定期清洗,更换.四、领料按生产指令领取处方原料,核对物料品名,批号、规格、数量应相符,所领物料应有检验合格报告书.五、配料领取的原料核对品名、批号、数量、合格证,按生产处方配料,装入清洁容器转入下一工序。
称量时需由第二人复核。
六、安瓿清洗将安瓿轩洗瓶机内,依次用饮用水、纯化水、注射用水进行清洗,清洗后干燥灭菌,置相应区域,检验合格后及时使用。
七、配液按生产工艺进行配液八、过滤将配置完成的药液过滤,除去其中所含的杂质.九、灌封滤液经检查合格后进行灌装和封口,即灌封。
十、灭菌除采用无菌操作生产的注射剂外,注射液在灌封后须尽快进行灭菌,以保证产品的无菌。
(灭菌要求是杀灭微生物,以保证用药安全,同时避免药物的降解,以免影响药效。
)十一、检漏灭菌后的安瓿立即进行漏气检查.若安瓿未严密熔合,有毛细孔或微小裂缝存在,则药液易被微生物与污物污染或药物泄漏,污损包装,应检查剔除。
注射剂研发流程范文注射剂是指将药物溶解或悬浮于适宜的溶剂中,通过注射途径给药的制剂。
它具有优越的生物利用度和快速有效的作用,是临床急救、病情危重、不易经口给药或药物需要准确剂量的首选制剂。
注射剂的研发流程一般包括以下几个步骤:1.药物研究与筛选:根据疾病的需求,选择目标药物,并进行相关的研究和筛选工作,如药物的理化性质、药物分子的构建等。
2.剂型优选:根据药物的特性和应用领域,选择合适的注射剂剂型,如溶液、悬浮液、乳剂等,并确定最佳剂型的理性制备方法。
3.溶剂筛选:注射剂的溶剂对药物的溶解度、稳定性和活性等有着重要影响,因此需要对不同溶剂进行筛选和评估,选择最适合的溶剂。
4.药物稳定性研究:注射剂中的药物需要保持其稳定性,在不同的储存条件下进行稳定性研究,包括温度、湿度、光照等因素对药物稳定性的影响。
5.生物相容性评价:注射剂作为直接进入体内的药物制剂,其生物相容性对患者安全至关重要,需要进行生物相容性评价,包括细胞毒性、溶血性、过敏反应等。
6.配方设计和工艺优化:根据药物的特性和药物剂型的要求,进行配方设计和工艺优化,确保药物的均匀分布和稳定性。
7.制备工艺验证:通过批量生产样品,验证制备工艺的可行性和稳定性,确定合适的生产工艺参数。
8.药物分析方法建立:建立合适的分析方法,对注射剂进行质量控制,包括含量测定、纯度测试、溶解度测定等。
9.体外体内评价:进行体外和体内的评价,评估其药效学特性、药代动力学、药物释放特性等。
10.临床前研究和临床试验:在临床前进行药物的毒理学和药理学研究,确定合适的用药途径和药物剂量。
然后进行临床试验,评估药物的安全性和有效性。
11.上市申请和质量控制:根据药品注册的要求,准备相关的技术文档,并建立良好的质量控制体系。
总的来说,注射剂的研发流程包括药物研究与筛选、剂型优选、溶剂筛选、药物稳定性研究、生物相容性评价、配方设计和工艺优化、制备工艺验证、药物分析方法建立、体外体内评价、临床前研究和临床试验、上市申请和质量控制等环节,其中每个环节都需要仔细谨慎地进行工作,确保药物的安全性和有效性。
注射剂生产工艺流程设备选取下载温馨提示:该文档是我店铺精心编制而成,希望大家下载以后,能够帮助大家解决实际的问题。
文档下载后可定制随意修改,请根据实际需要进行相应的调整和使用,谢谢!并且,本店铺为大家提供各种各样类型的实用资料,如教育随笔、日记赏析、句子摘抄、古诗大全、经典美文、话题作文、工作总结、词语解析、文案摘录、其他资料等等,如想了解不同资料格式和写法,敬请关注!Download tips: This document is carefully compiled by theeditor. I hope that after you download them,they can help yousolve practical problems. The document can be customized andmodified after downloading,please adjust and use it according toactual needs, thank you!In addition, our shop provides you with various types ofpractical materials,such as educational essays, diaryappreciation,sentence excerpts,ancient poems,classic articles,topic composition,work summary,word parsing,copy excerpts,other materials and so on,want to know different data formats andwriting methods,please pay attention!一、前言注射剂是一种常用的药物剂型,因其可以直接进入血液循环,疗效迅速,作用可靠,所以在临床上得到了广泛的应用。
注射剂的制备工艺流程注射剂是一种常用的药物剂型,适用于静脉、肌肉或皮下注射给药。
制备注射剂需要严格控制药物的含量、稳定性和纯度,以确保其安全有效。
以下是注射剂的制备工艺流程。
一、原料准备1. 药物原料准备:根据处方或配方要求,按照正确的称量方法和设备,准确称取所需药物原料。
2. 辅料准备:根据配方要求,准确称取所需辅料,如溶剂、调节剂和增稠剂等。
二、溶液制备1. 溶解药物:将药物原料加入适当的溶剂中,并在适当的温度下搅拌溶解。
2. 透析或滤过:对于需要除去杂质或不溶性物质的溶液,进行透析或滤过处理。
3. 调整pH值:根据需要调整溶液的pH值,使用酸碱调节剂进行调整。
4. 筛选:使用合适的筛网对溶液进行筛选,以去除任何固体颗粒或杂质。
三、灭菌处理1. 灭菌方法选择:根据药物特性和工艺要求,选择合适的灭菌方法,如高温高压灭菌、过滤灭菌或辐射灭菌等。
2. 灭菌设备准备:准备好灭菌设备,并进行相关的验证和校准工作。
3. 灭菌操作:将制备好的注射剂装入合适的容器中,然后进行灭菌处理。
确保灭菌过程中温度、压力和时间等参数符合要求。
四、容器封闭1. 容器选择:根据药物性质和工艺要求,选择合适的容器,如玻璃瓶、塑料瓶或注射器等。
2. 封闭方法选择:根据容器类型和工艺要求,选择合适的封闭方法,如铝箔封口、胶塞封口或塑料盖封口等。
3. 封闭操作:使用合适的设备将容器进行密封,并进行相关的验证和校准。
五、产品包装1. 包装材料准备:准备好符合药物包装要求的包装材料,如纸盒、泡沫垫片或塑料薄膜等。
2. 包装操作:将封闭好的注射剂装入包装材料中,并进行适当的密封和标记操作。
3. 包装检查:对包装后的产品进行外观检查和质量检测,确保包装完好无损。
六、质量控制1. 药物含量测定:使用合适的方法和仪器,对制备好的注射剂进行药物含量测定,确保符合规定的标准。
2. pH值测定:使用合适的方法和仪器,对制备好的注射剂进行pH值测定,确保符合规定的范围。
注射剂生产工艺流程
注射剂的生产工艺流程包括以下几个步骤:
1. 原料准备
首先需要准备原料,包括药物原料、辅料、水等。
这些原料需要经过不同的处理和检验,以确保其质量符合标准要求。
2. 制备药液
将药物原料和辅料按照一定的比例混合,经过一系列的加热、搅拌、过滤等工艺步骤,制备成药液。
药液需要经过严格的检验,确保其质量符合标准要求。
3. 灭菌处理
由于注射剂需要直接注射进入人体,因此必须进行灭菌处理。
这一步可以采用高压蒸汽灭菌、热氧灭菌等方法进行。
4. 填充与封口
经过灭菌处理的药液,需要被填充进注射器或针筒中,并进行封口。
这一步需要
严格控制药液的容量和压力,以确保注射剂的质量和安全性。
5. 包装与贮存
填充好的注射剂需要进行包装和贮存。
包装可以采用瓶装、袋装等不同的形式,不同形式的包装需要进行不同的标签和说明书的制作。
贮存需要在符合一定条件的环境下进行,以确保注射剂的稳定性和有效性。
以上就是注射剂的生产工艺流程。
这个过程需要经过严格的控制和检验,以确保注射剂的质量和安全性。
注射剂的工艺流程
一、中药注射剂制备工艺流程
药材→提纯物(中间体)→配液→粗滤→精滤→灌装→封口→灭菌、检漏→灯检→印字包装→成品。
二、中药注射用提取物的要求
1、以有效成分制成的注射液纯度达90%以上;
2、以有效部位制备的注射液,含量不低于总固体量的70%,静脉用不低于85%;
3、以净药材制备的,所测成分不低于总固体量的20%,静脉不低于25%。
三、制备方法
①蒸馏法;②水醇法和醇水法;③萃取法;④酸碱沉淀法;医学|教育网⑤大孔树脂吸附法;⑥超滤法。
四、注射剂的灭菌和检漏
(1)灭菌:中药注射剂,大多采用流通蒸汽或煮沸灭菌(100℃,30-45分钟);容量较大的可酌情延长灭菌时间。
耐热的可115℃30分钟灭菌。
(2)检漏:应用灭菌检漏两用灭菌器
五、注射剂的质量要求
无菌、无热原、澄明度、渗透压、PH值,安全性、稳定性、降压物质。
(完整版)五中药注射剂的制备实验五中药注射剂的制备⼀、实验⽬的1.掌握中药注射剂的制备⼯艺过程及其操作注意事项。
2.熟悉中药注射剂常规质量要求及其检查⽅法。
⼆、实验提要1.中药注射剂的制备⼯艺流程为:原、辅料的准备→药料的提取、精制→配液→滤过→灌注→熔封→灭菌→质量检查→印字包装→成品。
2.中药注射剂处⽅组分可以是有效成分、有效部位或药材,由于历史的原因,⽬前仍以后者为多。
为确保和提⾼质量,注射剂的原、辅料必须符合《中国药典》或卫⽣部(药监局)药品标准中有关规定,现已开始逐步实施指纹图谱控制注射剂质量的⽅法。
3.⽔醇法是该类注射液提取纯化常⽤⽅法之⼀,根据有效成分既溶于⽔⼜溶于⼄醇的性质,采⽤⽔提取,⼄醇沉淀,以达到除去杂质,保留有效成分。
4.注射液配液⽅法有浓配法和稀配法两种。
经初滤、精滤、质检合格后,注射液应⽴即灌封。
对主药易氧化的注射液,配液和灌注时可通⼈惰性⽓体。
灌注时药液不能粘附在安瓿颈壁上,以免熔封时出现焦头,且应按《中国药典》规定增加附加量,以保证注射⽤量不少于标⽰量。
5.注射剂灌封后应⽴即灭菌。
常⽤灭菌⽅法有流通蒸汽灭菌、煮沸灭菌和热压灭菌法。
可根据灌装容量、成分稳定性等因素选择。
三、实验内容(⼀)注射剂的制备1.柴胡注射液【处⽅】柴胡1000g氯化钠9g聚⼭梨酯80 5m1注射⽤⽔适量共制成1000m1【制法】取处⽅量的1/2。
柴胡500g,洗净,粉碎成粗粉,⽤⽔蒸⽓蒸馏法蒸馏,收集馏液1000m1。
所得馏液重蒸馏,收集重蒸馏液475 ml。
加⼊氯化钠4.5g、聚⼭梨酯-80 2.5ml,搅拌溶解,⽤G4垂熔玻璃漏⽃滤过⾄澄明,灌封,100℃, 30分钟灭菌,即得。
本品为⽆⾊澄明液体。
【功能与主治】升阳散热,解郁疏肝。
⽤于普通感冒及流⾏性感冒。
【⽤法与⽤量】肌内注射,⼀次2~4m1,⼀⽇2-3次。
【质量要求】(1)定性鉴别取本品2m1加品红亚硫酸试液2滴,摇匀,5分钟后即显玫瑰红⾊。
注射剂制备工艺流程注射剂是一种常用的药物剂型,通常由药物溶液或悬浮液制备而成。
下面将详细介绍注射剂的制备工艺流程。
1.药物成分准备:首先,需要准备药物成分。
根据处方或临床需要,测量相应的药物或药物组合,并准备好所需的药物量。
2.溶剂选择:根据药物的特性和所需的剂量,选择合适的溶剂。
常用的溶剂包括生理盐水、葡萄糖溶液、脂肪乳、甘露醇等。
根据药物的理化性质,选择适合的溶剂以确保药物的稳定性和适宜的药物释放速率。
3.溶剂准备:准备所需的溶剂,并按照药物配方的要求进行定量称取。
确保溶剂质量符合要求,并考虑到药物和溶剂的相容性。
4.药物溶解:将药物加入溶剂中,使用适当的搅拌设备搅拌,使药物完全溶解。
在溶解过程中,需要控制温度、pH值和溶剂的速度,以确保药物的溶解度和稳定性。
5.溶液澄清和过滤:溶解完成后,使用过滤器或离心机等设备对溶液进行澄清和过滤。
这样可以去除悬浮颗粒、微生物和其他杂质,确保制备的注射剂质量符合要求。
6.灭菌:对澄清的注射剂进行灭菌处理是非常重要的步骤。
常用的灭菌方法包括高温灭菌(干燥热灭菌和湿热灭菌)和滤过灭菌。
确保注射剂的无菌性是保证药物安全和有效性的关键。
7.填充:经过灭菌处理后,将注射剂倒入适当的容器中,如玻璃瓶、塑料袋或注射器中。
填充过程需要保持无菌环境,并根据药物剂量和方便使用的要求进行适当的容器选择。
8.封口:填充完成后,对容器进行封口处理。
常见的封口方式包括铝塑封、热封、涂层等。
确保封口的牢固性和防止注射剂的外部污染。
9.外包装:将填充和封口好的注射剂包装到适当的外包装中,如纸盒、铝箔或塑料包装袋中。
外包装需要标明药物名称、规格、生产日期、有效期等相关信息,并确保注射剂的易于存储和使用。
10.检验:最后,对制备好的注射剂进行质量检验。
常规检查项目包括外观检查、PH值测定、溶解度检验、灭菌指标检测等。
确保注射剂的质量满足相关标准和法规要求。
以上便是注射剂制备的工艺流程。
这一流程需要严格控制各个环节,以确保注射剂的质量一致性和安全性。
注射剂的工艺流程注射剂的工艺流程:注射剂是一种常见的药物制剂形式,广泛应用于临床治疗。
它的制备过程非常精密和复杂,需要经过多个环节的处理和检验,以确保安全和有效性。
下面将介绍一般注射剂的工艺流程。
1. 原料准备:首先,需要准备药物活性成分、溶剂、辅料等各种原材料。
这些原材料通常要经过验证,确保其纯度和质量符合要求。
同时,需要准备好注射剂容器和密封装置。
2. 溶解和混合:药物活性成分和辅料根据一定的配方比例加入溶剂中,通过搅拌和加热来促使其充分溶解和混合。
这一步骤的目的是确保药物的均一性和稳定性。
3. 过滤:混合溶液经过微孔滤器或层析柱进行过滤,去除杂质和微生物。
过滤是非常重要的步骤,它可以保证注射剂的无菌性和安全性。
4. 灭菌:已过滤的溶液需要进行灭菌处理,常用的方法有高温高压灭菌和无菌过滤。
灭菌是为了杀死潜在的微生物,并防止注射剂在使用过程中引起感染。
5. 填充和包装: 灭菌的溶液通过自动化设备进行注射剂的填充,通常会根据药物的剂量和规格来进行精确的控制。
同时,需要确保注射剂的密封性能良好,以避免外界污染。
6. 外观检查和质量控制:填充完成后,注射剂需要经过严格的外观检查,包括外观、颜色和透明度等。
同时,还需要进行质量控制,如含量测定、pH值检测、无菌性测试等,以确保注射剂的质量符合规定标准。
7. 包装和贮存:通过薄膜、胶塞、铝膜和标签等进行包装,然后对注射剂进行封装和密封。
注射剂通常需要储存在阴凉干燥处,以保持其稳定性和有效性。
总之,注射剂的制备工艺流程十分严格和复杂,需要从原料准备、混合溶解、过滤、灭菌、填充包装以及质量控制等多个环节进行严格控制。
这些工艺流程的严格依从至关重要,可以确保注射剂的安全有效性,并为临床治疗提供坚实的保障。
注射剂生产工艺流程注射剂是一种重要的医药制剂形式,具有高浓度、高纯度和高生物效力等优点。
注射剂的生产工艺流程较为复杂,包括原料准备、配方设计、制备工艺、灭菌和包装等多个步骤。
本文将介绍一种常见的注射剂生产工艺流程。
一、原料准备1.药品原料准备:根据药物配方,准备所需的活性成分和辅助物质,保证其纯度和质量。
2.溶媒准备:根据注射剂类型和配方要求,准备合适的溶媒,如水、有机溶剂等。
二、配方设计根据药物特性和使用要求,设计合适的配方并确定各个成分的使用量。
需要考虑药物的溶解度、稳定性、pH值、渗透压等因素,确保药物的稳定性和生物利用度。
三、制备工艺1.药物溶解:将药物原料加入溶媒中,通过搅拌、加热等方式使药物溶解,得到均匀的溶液。
2.过滤净化:将药物溶液通过微孔滤膜进行过滤,去除杂质和微生物。
可以采用滤芯过滤系统或者无菌过滤器进行过滤操作。
3.调整pH值:根据药物的要求,通过添加酸碱调整药物溶液的pH值,以保证其稳定性和生物利用度。
4.灭菌:将药物溶液通过高温高压灭菌器进行灭菌处理,杀灭其中的微生物,并保持药物溶液的无菌状态。
5.制备容器消毒:将待灌装的注射器、瓶子等容器进行消毒处理,保证其表面的无菌状态。
6.注射剂制备:将灭菌的药物溶液注入容器中,并通过机械或人工的方式,在容器上进行注射头的安装和密封,最终得到注射剂制剂。
四、灭菌和包装1.灭菌:将注射剂制剂放入高温高压灭菌器中,进行灭菌处理。
常用的灭菌方法有湿热灭菌和乙烯氧化灭菌等。
2.填充和封口:将灭菌后的注射剂制剂通过自动化的生产线,进行自动或半自动的注射剂填充和封口,确保制剂的无菌状态。
3.外包装:将已灭菌和封口的注射剂制剂放入合适的外包装材料中,如包装袋、纸盒等,进行最终的包装封箱。
注射剂的生产工艺流程相对较为复杂,需要严格控制每个步骤的操作和条件,以保证最终的产品质量和疗效。
在生产过程中,需要进行质量控制和质量检测,如原料质量检测、制剂中间检测、最终产品检测等,确保每个环节的合规性和质量安全。
(精选)注射剂制备工艺注射剂是医疗上常用的一种药物剂型,经过注射可以快速地把药物直接输入到患者的循环系统中,具有快速、直接、高效等优点。
注射剂的制备工艺繁琐、复杂,需要注射剂生产厂家按照药典规范进行严格的控制,以达到药物的稳定性、安全性等要求。
一、原料准备1、药品原料选取注射剂的药品原料必须是高纯度、高活性、无细菌、无毒素的药品原料。
其原料必须符合药典规定和GMP规范,其中无菌原料必须满足密码规范。
2、溶媒和辅料准备制备注射剂的溶媒和辅料要求无菌,必须满足药典规定和GMP规范,具有良好的溶解性、稳定性和生物相容性。
二、药品原料预处理药品原料经过不同的预处理方式后,可以保证注射剂药品的质量和稳定性。
1、粉末原料处理粉末原料必须被精细地研磨,并根据要求进行筛分。
此外,应使用精密称重技术,精确地计量,减少误差。
2、溶解处理粉末原料溶解时,应按要求使用洁净的溶剂,以确保药品的无菌和纯度。
同时,应控制溶剂的pH值和温度,以避免药品的分解或降解。
三、制剂工艺选择1、溶解混合主要针对注射剂的粉针剂,通过将粉剂原料先溶解在溶媒中,然后将药物与辅料混合,制备成注射用的溶液或悬浊液。
2、填充在空气过滤器的作用下,将制好的药液装入滴定瓶中,然后盖上盖子,在高温高压灭菌后,挂在接货机上等待包装。
3、封装注射剂生产过程中,最后一步是封装。
这是为了避免药品再次受到污染和保证药品本身的质量和稳定性。
常用的注射剂封装包括玻璃瓶和塑料瓶。
四、注射剂质量控制1、质量控制的基本要求(1)生产过程的各个步骤必须按GMP规范操作;(2)生产环境必须符合无菌要求,在生产过程中应定期对厂房和设备进行检查和维护;(3)应建立药品质量控制系统,确保药品符合药典规范;(4)药品必须经过严格的质量检测后才能上市销售。
2、质量控制方法(1)外观注射剂质量的外在表现代表了注射剂内在质量的一部分。
通过样品外观检测,检验液体颜色、透明度、无菌瓶口和盖子的完整性等指标是否符合要求。
写出中药注射剂制备工艺流程下载温馨提示:该文档是我店铺精心编制而成,希望大家下载以后,能够帮助大家解决实际的问题。
文档下载后可定制随意修改,请根据实际需要进行相应的调整和使用,谢谢!并且,本店铺为大家提供各种各样类型的实用资料,如教育随笔、日记赏析、句子摘抄、古诗大全、经典美文、话题作文、工作总结、词语解析、文案摘录、其他资料等等,如想了解不同资料格式和写法,敬请关注!Download tips: This document is carefully compiled by theeditor. I hope that after you download them,they can help yousolve practical problems. The document can be customized andmodified after downloading,please adjust and use it according toactual needs, thank you!In addition, our shop provides you with various types ofpractical materials,such as educational essays, diaryappreciation,sentence excerpts,ancient poems,classic articles,topic composition,work summary,word parsing,copy excerpts,other materials and so on,want to know different data formats andwriting methods,please pay attention!中药注射剂是指将中药材提取物或有效成分通过现代制药工艺制备成注射剂型的中药产品。
注射剂工艺流程注射剂工艺流程是指根据药物的特性和制剂的要求,采用一系列的工艺步骤将药物转化为适合注射的制剂形式。
下面是一篇关于注射剂工艺流程的700字的文章。
一、原料准备注射剂的原料包括药物活性成分、辅料和溶剂。
其中,药物活性成分是注射剂的主要药理成分,辅料包括调节溶解速度和稳定性的成分,溶剂则是用于溶解药物和辅料的溶剂。
在原料准备阶段,需要按照制剂要求准备好各种原料,并进行质量检查和鉴定。
二、制备溶解液制备溶解液是将药物和辅料溶解在溶剂中,形成注射剂的基础。
制备溶解液的工艺步骤包括称量药物和辅料、配置溶剂、加热搅拌、过滤等。
在这个过程中,需要控制好各个原料的比例、溶剂的温度和搅拌速度,确保溶解液的质量和稳定性。
三、无菌处理由于注射剂是直接注入人体的药物剂型,因此无菌处理是非常重要的。
无菌处理主要包括终端灭菌和无菌灌装两个步骤。
终端灭菌是使用高温高压的方式对注射剂进行灭菌处理,确保注射剂中没有任何细菌或其他微生物的存在。
无菌灌装是将灭菌的溶解液灌装到注射器或药瓶中,确保制剂的无菌性。
四、检验制备完成的注射剂需要经过一系列的质量检验来确保其质量和安全性。
检验内容包括外观检查、含量测定、溶解度测定、菌落总数测定、细菌内毒素测定等多个指标。
只有通过了所有的检验,注射剂才能被放行销售和使用。
五、包装和贮存注射剂的包装和贮存也是至关重要的。
注射剂的包装材料通常是耐药物侵蚀和无毒的材料,如玻璃、聚乙烯等。
注射剂的包装要求具备良好的密封性和隔氧性,以保持注射剂的稳定性和无菌性。
贮存温度要根据药物的特性和稳定性进行合理的选择,通常为2-8摄氏度。
六、注射剂的使用注射剂的使用要按照医生的建议和药物说明书的指导进行。
在使用注射剂时,需要注意用药方式、剂量、注射部位和速度等问题。
同时,还需要注意药物的保存条件和有效期,避免使用过期的注射剂。
总结起来,注射剂工艺流程是一个复杂的过程,需要注意各个环节的细节和质量控制。
只有确保原料的质量、制备溶解液的稳定性、无菌处理的有效性、质量检验的准确性、包装和贮存的完好性,才能生产出优质的注射剂,为患者提供安全有效的治疗药物。
注射剂的制备工艺流程
1.配制
配液应在洁净区内进行。
配液方法一般有稀配法和浓配法两种, 根据产品的不同要求, 将原料加入溶剂中一次配成注射剂所规定的浓度, 或将全部原料加入部分溶剂中, 配成浓溶液, 加热滤过后再加溶剂至全量。
提高注射剂的澄明度和稳定性的措施:
( 1) 热处理冷藏, 即将配制的注射液加热至950℃以上30分钟后冷藏, 使杂质呈胶体分散状态的沉淀而除去。
( 2) 活性炭处理使用0.1%~1.0%的经150℃干燥活化3~4h 的针用活性炭与药液同煮至沸, 稍冷后过滤; 使用时应注意活性炭对有效成分的影响。
加入附加剂, 如抗氧剂、止痛剂和pH调节剂等。
2.滤过
( 1) 初滤常见的滤材有滤纸、绸布、纸浆、滤板等。
常见的滤器有布氏漏斗、砂滤棒、板框压滤机等。
( 2) 精滤常见滤器有垂熔玻璃滤器( 球、棒) 、微孔滤膜滤器及超滤器等。
其中, G3、 G4垂熔玻璃滤器一般用于加压或减压过滤, G6垂熔玻璃滤器可用于滤过除菌; 0.22μm以下的微孔滤膜可用于无菌过滤。
( 3) 常见的滤过方式有减压过滤及加压滤过。
3.灌封
灌封包括药液灌注和安瓿熔封, 这两步应在同一室中进行。
灌封有手工和机械两种灌封操作, 大生产常见自动安瓿灌封机。
( 1) 灌注①应做到剂量准确。
②灌装药液尽量不要使灌注针头与安瓿颈内壁碰撞, 以免爆裂或产生焦头。
③接触空气易变质的药物, 在灌装过程中, 应排除容器内空气, 可填充二氧化碳或氮等气体, 并立即用适宜的方法熔封或严封。
( 2) 熔封安瓿的熔封应严密, 无缝隙, 不漏气, 颈端应圆整光滑, 无尖头及小泡。
4.灭菌和检漏
( 1) 灭菌注射剂熔封或严封后, 一般应根据药物性质选用适宜的方法和条件及时灭菌, 以保证制成品无菌。
中药注射剂多采用流通蒸汽或煮沸灭菌( 100℃, 30~45分钟) , 容量较大的可酌情延长灭菌时间。
( 2) 检漏注射剂在灭菌时或灭菌后, 应采用减压法或其它适宜的方法进行容器检漏。
目的是将熔封不严的注射剂剔除。
5.印字与包装
注射剂经质量检查各项目合格后方可印字、包装。
每支注射液均应标明品名、规格、批号等。
包装既要避光又要防止破损, 常见纸盒。
中药注射剂原料的准备
配制原料的形式:
①以中药中提取的单体有效成分为原料
②以中药中提取的有效部位为原料
③中药中提取的总提取物为原料( 现状)
( 一) 中药材的预处理
药材原料必须确定品种与来源, 鉴定符合要求后, 预处理( 挑选、洗涤、切制、干燥、粉碎、灭菌) 。
( 二) 中药注射用原液的制备
1、要求: 最大限度地除去杂质, 保留有效成分。
2、提取与纯化路线选择依据:
( 1) 根据处方组成中药物所含成分的基本理化性质;
( 2) 结合中医药理论确定的功能主治与现代药理研究;
( 3) 处方的传统用法、剂量;
( 4) 制成注射剂后应用的部位与作用时间。
3、用途:
可供配制注射剂成品用的原液( 或相应的干燥品) 。
4、制备方法:
( 1) 蒸馏法:
本法提取挥发性成分。
如: 柴胡、野菊花、鱼腥草、艾叶、徐长卿、防风、细辛、大蒜、薄荷、荆芥等均宜用蒸馏法提取有效成分。
方法: 系指将药材粗粉或薄片放入蒸馏器内, 加水适量, 待充分吸水膨胀后, 加热蒸馏或通水蒸气蒸馏, 收集馏出液。
若药材
中有效成分为挥发油或其它挥发性成分, 则可存在于馏出液内。
为提高蒸馏效率和防止有效成分被热破坏, 也可采用减压蒸馏法。
影响蒸馏提取的主要因素: 浸泡时间、加水倍量、蒸馏时间。
注意: ①挥发油饱和水溶液澄明度较差时, 加少量精制滑石粉或硅藻土吸附滤过, 还可加适量增溶剂。
②蒸馏法制得的原液, 不含或少含电解质, 渗透压偏低, 直接配制需要加适量的氯化钠调整渗透压。
( 2) 水提醇沉法
本法适用于成分即溶于水又溶于醇, 利用在水中不溶或乙醇中不同溶解度的特性。
方法: 处方中药材加水煎煮, 提取出有效成分, 如: 生物碱盐、苷类、有机酸类、氨基酸、多糖类等; 同时也提出一些水溶性杂质, 如: 淀粉、蛋白质、粘液质、鞣质、色素、无机盐等。
若往水煎液中加入适量乙醇, 能够改变杂质溶解性能而将杂质部分或全部除去。
当乙醇浓度达到60%~70%时, 除鞣质、树脂等外, 其它杂质已基本上沉淀而除去。
如果分2~3次加入乙醇, 浓度又逐步提高, 最终达到75%~80%, 则除去杂质的效果更好。
药液醇沉时, 一般放置12~24小时或24小时以上, 若能低温冷藏则更有利于杂质的充分沉淀。
水煎液往往还含有一些水不溶性杂质, 醇沉也难以除去, 应在醇沉、滤过、回收乙醇后, 再加水混匀, 冷藏24小时, 又可
除去一些杂质。
如此醇、水交替处理, 杂质除得完全, 有利于提高注射液的澄明度。
注意: 鞣质、水溶性色素、树脂不能完全除去。
( 3) 醇提水沉法
本法适用于成分即溶于醇又溶于水。
方法: 将中药原料用一定浓度的乙醇用渗漉法、回流法提取, 即可提取出生物碱及其盐、苷类、挥发油及有机酸类等; 虽然多糖类、蛋白质、淀粉等无效成分不易溶出, 但树脂、油脂、色素等杂质却仍可提出。
为此, 醇提取液经回收乙醇后, 再加水处理, 并冷藏一定时间, 可使杂质沉淀而除去。
40%~50%的乙醇可提取强心苷、鞣质、蒽醌及其苷、苦味质等; 60%~70%乙醇可提取苷类; 更高浓度乙醇则可用于生物碱、挥发油、树脂和叶绿素的提取。
注意: ①鞣质、水溶性色素、树脂不能完全除去。
②脂溶性色素较多, 溶液颜色较深。
( 4) 双提法
蒸馏法与水醇法的结合。
如果处方内药材既需要挥发性成分, 又需要不挥发性成分时, 可采用”双提法”。
双提法是先将药材用蒸馏法提出挥发性成分, 再以水提醇沉法或其它方法提取不挥发性成分, 最后将两部分合并, 供配注射液用。
( 5) 超滤法
中药水煎液中有效成分的分子量多在1000以下, 而一般无效成分( 鞣质、蛋白质、树脂等) 分子量较大, 在常温和一定压力下( 外源氮气压或真空泵压) , 将中药提取液经过一种装有高分子多微孔膜的超滤器, 可达到去除杂质, 保留有效成分的目的。
常见的高分子膜有醋酸纤维膜( CA膜) 、聚砜膜( PS膜) 等。
一般选用截留蛋白质分子量为10000~30000的膜孔范围, 用于中药注射剂的制备。
本法的特点是:
①以水为溶剂, 保持传统的煎煮方法;
②操作条件温和, 不加热, 不用有机溶剂, 有利于保持原药材的生物活性和有效成分的稳定性;
③易于除去鞣质等杂质, 注射剂的澄明度和稳定性较好。
另外, 尚有透析法、离子交换法、有机溶剂萃取法、树脂吸附法、酸碱沉淀法、反渗透法、石硫法、离子交换法可供选用。
( 三) 除去注射剂原液中鞣质的方法:
1、鞣质性质:
鞣质多元酚的衍生物, 中药植物药材中广泛存在, 即溶解于水又溶解于醇, 有较强的还原性, 在酸、酶、强氧化剂存在或加热时, 可发生氧化、水解、缩合反应, 生成不溶性物质。
2、除鞣质目的:
①一般纯化方法不容易除尽, 经灭菌会产生沉淀, 影响澄明度,
制剂的稳定性差。
②鞣质与蛋白质形成不溶性鞣酸蛋白, 注射时刺激疼痛, 往往在注射部位结成硬块。
除去鞣质一般见下列几种方法。
3、除鞣质方法:
( 1) 明胶沉淀法与改良明胶沉淀法
明胶是一种蛋白质, 与鞣质在水溶液中能形成不溶性的鞣质蛋白, 因而可除鞣质, 该反应在pH4.0~5.0时最灵敏。
①明胶沉淀法: 在中药水煎浓缩液中, 加入2%~5%明胶溶液, 至不产生沉淀为止, 静置、滤过除去沉淀, 滤液浓缩后, 加乙醇, 使含量达75%以上, 以除去过量明胶。
②改良明胶沉淀法: 水煎液浓缩, 加入2%~5%明胶后稍经放置, 不须滤过即再加入乙醇至含酸量达70%~80%, 静置过夜, 滤过即得, 该法可降低明胶对中药中黄酮类成分和蒽醌类成分的吸附作用。
( 2) 醇溶液调pH值法( 碱性醇沉法)
将中药的水煎液浓缩加入乙醇, 使其含酸量达80%或更高, 冷处放置, 滤除沉淀后, 用40%氢氧化钠调至pH为8, 此时鞣质生成钠盐且不溶于乙醇而析出, 经放置, 即可滤过除去。
注意: 醇浓度与PH越高, 除鞣越多。
但有些酸性成分会被除掉。
醇溶液调PH不易超过8。
( 3) 聚酰胺除鞣质法
聚酰胺又称锦纶、尼龙、卡普隆, 是由酰胺聚合而成的高分。