注射剂制备工艺流程共40页
- 格式:ppt
- 大小:4.48 MB
- 文档页数:40
注射剂的生产工艺流程
《注射剂的生产工艺流程》
注射剂是一种能够快速、准确地给药的制剂形式,广泛应用于临床医学中。
注射剂的生产工艺流程包括以下几个基本步骤:
1.原料准备:注射剂的主要成分包括药物、溶剂、辅料等。
首先需要对原料进行检验,确保其符合药典标准,并进行称量、混合等前处理工作。
2.溶解与混合:将药物和溶剂按照配方比例加入反应容器中,
进行溶解和混合。
这一步需要控制好温度、pH值等参数,确
保药物能够充分溶解并与溶剂均匀混合。
3.过滤与灭菌:经过混合的溶液需要进行过滤和灭菌处理,以
去除杂质和微生物。
常用的过滤方法包括微孔过滤和灭菌过滤。
此外,灭菌操作也是非常关键的一步,通常采用热力灭菌或者化学灭菌的方式。
4.充填与封口:经过过滤和灭菌处理的液体药剂需要被充填到
注射器或瓶中,并进行封口。
这一步需要在洁净室中进行,确保环境无菌。
5.包装与贮存:注射剂经过充填封口之后,需要进行包装和贮存。
通常采用密封包装,以保护药品免受外界环境的污染。
同时,还需要对药品进行合适的贮存条件,确保其稳定性和安全性。
总的来说,注射剂的生产工艺流程需要严格遵循药品生产质量管理规范,确保药品的质量和安全性。
同时,注射剂的生产还需要在洁净、无菌的生产环境中进行,以保证药品的无菌性。
通过严格的工艺流程控制和质量管理,可以生产出高质量、安全有效的注射剂产品,满足临床用药的需求。
2.2注射剂生产工艺流程简介图1:注射剂生产流程图由图1,注射剂生产流程图可以看出:注射剂生产流程[4]主要包含以下工序:原料领料工序,要求领料人员进行原料品种、批号的复核。
原料经过拆外包工序,由一般区经传递窗消毒和灭菌后,传递至十万级暂存称量间存放。
称量工序,要求操作人员准确对衡器进行校验,进行称量时要求双人二次复核品种、批号和质量并做好标识。
配液工序要求操作人员应完全遵守并按照生产指令和生产工艺卡片执行配液的各项操作,依此保证生产出合格的中间品(半成品)。
半成品经取样交质保部检测,检测标准依据《兽药典》[5]半成品检验检测合格后,药液被送入灌装工序。
内包材领料工序,要求领料人员复核瓶子外观和规格。
经过拆外包后,由一般区经传递窗传至十万级洗瓶间,由洗瓶机进行洗瓶。
西林瓶经超声清洗后进行烘干灭菌工序,按照生产工艺要求和实际生产需要进行洗瓶,根据生产要求,合理控制洗瓶数量,待灭菌冷凉瓶后,由十万级经传递窗转移至万级灌装间进入灌封工序。
灌封工序为灌装和加塞操作,其主要要求是最大限度保证装量均匀度。
灌装加塞后由传送带送至十万级扎盖间,进行扎盖工序后,进行最终灭菌工序,按照每种产品的灭菌工艺要求灭菌。
灯检工序要求按生产操作规程进行灯检,应明确标识待灯检品的品种、批号,灯检后的合格与不合格品,杜绝混批事故出现。
灯检合格后,进行贴签。
贴 签 湿热灭菌 灯 检 包 装 装 箱 入 库拆外包 原 料 配 液 称 量 灌 封药液 西林瓶 拆外包 洗 瓶 烘干灭菌扎 盖库房领料 批生产指令外包装材料领料工序,其主要要求准确复核标签规格和批准文号。
依据生产指令进行打印标签和合格证,经复核无误后进行贴签。
贴签工序要求按统一整齐美观标准进行贴签。
包装后进行装箱,装箱要求产品按顺序摆放并放置合格证。
包装完毕后进行入库。
3.生产车间介绍3.1车间平面布局图2:注射剂车间平面布局图由图2,注射剂车间平面布局图可以看出:注射剂车间包含非洁净区的普通区和洁净区的十万级区和万级区[6]。
注射剂生产工艺流程注射剂是一种常见的药剂剂型,其制备工艺流程一般包括原料处理、溶解、过滤、清洁灭菌、灌装、密封和包装等主要环节。
下面将从这些环节详细介绍注射剂的生产工艺流程。
首先,原料处理是注射剂生产的关键环节。
原料需要进行称量、筛验、杂质检测等处理。
其中,在杂质检测中,需要对每批原料进行有效成分的含量测定,以确保原料的质量符合要求。
接下来,进行溶解。
根据药物的性质和溶解度,选择适当的溶剂,并根据配方计算好所需溶剂的量。
将药物和溶剂按一定比例加入溶解容器,并进行混合搅拌,直到所有的药物完全溶解。
然后,进行过滤。
将溶液通过过滤器进行过滤,去除其中的杂质和微粒,确保溶液的纯净度。
过滤器的选择需要根据药物的特性和需要去除的颗粒大小来确定。
紧接着,进行清洁灭菌。
注射剂作为一种需要直接进入人体的药物,其灭菌工艺流程非常重要。
常用的注射剂灭菌方法包括热灭菌、紫外线灭菌和过滤灭菌等。
通过对注射剂进行高温、高压的处理,或者利用紫外线杀菌或过滤器杀菌,以确保注射剂的无菌性。
然后,进行灌装。
将净化好的药液通过灌装机装入针筒或瓶中。
灌装时需要注意,避免空气污染和交叉污染,确保药液的纯净度。
接下来,进行密封。
针对不同注射剂的要求,可采用不同的密封方式。
常见的密封方式包括热封、冷封和胶帽封等。
通过有效的密封操作,可以防止药液的渗漏和外界的污染。
最后,进行包装。
对密封好的注射剂进行外包装,以保护产品的质量和完整性。
废液和废料要经过严格处理,确保安全环保。
总之,注射剂的生产工艺流程包括原料处理、溶解、过滤、清洁灭菌、灌装、密封和包装等主要环节。
在每个环节中,都需要严格控制各个参数,确保药物的质量和无菌性。
同时,注射剂生产过程中的设备、环境和人员都需要符合相关的要求,以确保产品的安全性和有效性。
注射剂制备工艺流程嘿,朋友们!今天咱来聊聊注射剂制备工艺流程这档子事儿。
你说这注射剂啊,就好比是给咱身体派去的一支精锐部队,要去打一场健康保卫战呢!那这支部队是怎么组建起来的呢?先得有好的“兵员”呀,也就是各种原料药。
这些原料药就像是一个个勇敢的战士,等着被召集起来呢。
然后呢,得给它们找个合适的“营地”,这就是配制车间啦。
在这儿,它们会被精心调配,就像将军排兵布阵一样,各种成分都要恰到好处。
接下来,就是“训练”环节啦!要经过一系列严格的过滤啊、灭菌啊之类的操作,把那些杂质啊、坏家伙们都给清理出去,让我们的“部队”变得精锐无比。
这过滤灭菌可不能马虎,就像给战士们磨亮武器一样重要呢。
然后呢,把这些经过训练的“精兵”装进合适的“装备”里,也就是安瓿瓶或者西林瓶这些容器。
这可讲究了,得严丝合缝的,不能让“敌人”有可乘之机啊。
再之后,就是给它们“授衔”啦,贴上标签,注明身份信息,这样到了战场上才能清楚明白自己的任务呀。
最后,就是包装啦,把它们整整齐齐地装好,就等着去为我们的健康战斗啦!你想想,要是哪个环节出了岔子,那这支部队还能有战斗力吗?那肯定不行啊!所以每个环节都得认认真真,不能有一丝马虎。
咱平时去医院打针,那一小瓶药水里面可包含了多少人的心血和努力啊!从原料药的挑选,到一步步的制备工艺,都是为了让我们能快点好起来呢。
这注射剂制备工艺流程啊,就像是一场精心编排的大戏,每一幕都精彩绝伦,不可或缺。
咱可得好好珍惜这些成果,也得感谢那些为我们的健康默默付出的人们。
可不是嘛,没有他们的努力,咱哪能这么快恢复健康呀!所以啊,大家以后看到注射剂,可别只觉得它就是一小瓶药水,要想想它背后的故事和努力呀!。
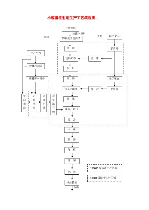
小容量注射剂生产工艺流程图:、生产用物料包括原辅料、纯化水、注射用水、包装材料。
原辅料、包装材料(包括安瓿)应检验合格后使用。
纯化水为原水制得,清洗安瓿使用;注射用水为纯化水制得,清洗安瓿和配制使用,均应定时检查,制得后及时使用。
二、纯化水、注射用水1、原水处理(纯化水的制备)原水处理方法有离子交换法、电渗析法及反渗透法。
离子交换法制得的去离子水可能存在热原、乳光等问题,主要供蒸馏法制备注射用水使用,也可用于洗瓶,但不得用来配制注射液。
2、注射用水的制备注射用水为蒸馏水或去离子水经蒸馏所得的水,又称重蒸馏水。
其质量要求见《中国药典》,除氯化物、硫酸盐、钙盐、硝酸盐、亚硝酸盐、二氧化碳、易氧化物、不挥发物与重金属按蒸馏水检查应符合规定外,还规定pH应为5.0〜7.0,氨含量不超过0.00002%,热原检查应符合规定,应于制备后12h内使用。
三、人员操作人员应身体健康,每年体检一次,并建立健康档案。
操作作人员按生产区域进行划分,严格遵守工作服穿戴制度,并不得将工作服穿出该区域。
不得将头发、胡须外露,不得化妆,不得佩带饰物、手表,操作前后、接触污物后均应洗手并且消毒。
工作服应定期清洗,更换。
四、领料按生产指令领取处方原料,核对物料品名,批号、规格、数量应相符,所领物料应有检验合格报告书。
五、配料领取的原料核对品名、批号、数量、合格证,按生产处方配料,装入清洁容器转入下一工序。
称量时需由第二人复核。
六、安瓿清洗将安瓿轩洗瓶机内,依次用饮用水、纯化水、注射用水进行清洗,清洗后干燥灭菌,置相应区域,检验合格后及时使用。
七、配液按生产工艺进行配液八、过滤将配置完成的药液过滤,除去其中所含的杂质。
九、灌封滤液经检查合格后进行灌装和封口,即灌封。
十、灭菌除采用无菌操作生产的注射剂外,注射液在灌封后须尽快进行灭菌,以保证产品的无菌。
(灭菌要求是杀灭微生物,以保证用药安全,同时避免药物的降解,以免影响药效。
)十一、检漏灭菌后的安瓿立即进行漏气检查。
物料 人员小容量注射剂生产工艺流程图:合格物料按指令领料物料脱外包清洁缓 冲洗手更衣手消毒生产用水物料贮存缓 冲纯化水制备注射用水制备 配 料 缓 冲洗手更衣安 瓿 粗 洗安 瓿 精 洗灭 菌 干 燥净 安 瓿 存 按工艺配液过 滤灌装、封口缓 冲手消毒贮缓 冲灭 菌检 漏 灯 检 印 字 100000 级洁净生产区域包 装 10000 级洁净生产区域成品检验合格一、生产用物料包括原辅料、纯化水、注射用水、包装材料。
原辅料、包装材料(包括安瓿)应检验合格后使用。
纯化水为原水制得,清洗安瓿使用;注射用水为纯化水制得,清洗安瓿和配制使用,均应定时检查,制得后及时使用。
二、纯化水、注射用水1、原水处理(纯化水的制备)原水处理方法有离子交换法、电渗析法及反渗透法。
离子交换法制得的去离子水可能存在热原、乳光等问题,主要供蒸馏法制备注射用水使用,也可用于洗瓶,但不得用来配制注射液。
2、注射用水的制备注射用水为蒸馏水或去离子水经蒸馏所得的水,又称重蒸馏水。
其质量要求见《中国药典》,除氯化物、硫酸盐、钙盐、硝酸盐、亚硝酸盐、二氧化碳、易氧化物、不挥发物与重金属按蒸馏水检查应符合规定外,还规定pH应为5.0~7.0,氨含量不超过0.00002%,热原检查应符合规定,应于制备后12h内使用。
三、人员操作人员应身体健康,每年体检一次,并建立健康档案。
操作作人员按生产区域进行划分,严格遵守工作服穿戴制度,并不得将工作服穿出该区域。
不得将头发、胡须外露,不得化妆,不得佩带饰物、手表,操作前后、接触污物后均应洗手并且消毒。
工作服应定期清洗,更换。
四、领料按生产指令领取处方原料,核对物料品名,批号、规格、数量应相符,所领物料应有检验合格报告书。
五、配料领取的原料核对品名、批号、数量、合格证,按生产处方配料,装入清洁容器转入下一工序。
称量时需由第二人复核。
六、安瓿清洗将安瓿轩洗瓶机内,依次用饮用水、纯化水、注射用水进行清洗,清洗后干燥灭菌,置相应区域,检验合格后及时使用。
试述注射剂制备的工艺流程下载温馨提示:该文档是我店铺精心编制而成,希望大家下载以后,能够帮助大家解决实际的问题。
文档下载后可定制随意修改,请根据实际需要进行相应的调整和使用,谢谢!并且,本店铺为大家提供各种各样类型的实用资料,如教育随笔、日记赏析、句子摘抄、古诗大全、经典美文、话题作文、工作总结、词语解析、文案摘录、其他资料等等,如想了解不同资料格式和写法,敬请关注!Download tips: This document is carefully compiled by theeditor. I hope that after you download them,they can help yousolve practical problems. The document can be customized andmodified after downloading,please adjust and use it according toactual needs, thank you!In addition, our shop provides you with various types ofpractical materials,such as educational essays, diaryappreciation,sentence excerpts,ancient poems,classic articles,topic composition,work summary,word parsing,copy excerpts,other materials and so on,want to know different data formats andwriting methods,please pay attention!注射剂是指药物或与适宜的辅料制成的供注入体内的无菌溶液或乳状液,通常分为溶液型注射剂、乳状液型注射剂和悬浮液型注射剂。
《中药制药技术》电子教材中药注射剂的制备一、中药注射剂制备的工艺流程中药注射剂的生产流程包括容器的处理;中药原药材的净选、提取、浓缩、收药;注射液的配制、滤过、灌封、灭菌、质检与印字包装等步骤。
中药注射剂生产工艺流程及环境区域布局见图1:B 级洁净区级洁净区图1 中药针剂生产工艺流程图二、注射剂的容器与处理注射剂所用的容器将直接与灌装药物接触,与注射剂成品的质量密切相关。
因此,在注射剂的生产过程中,应特别注意其容器的选择及其处理,以确保注射剂的质量。
(一)注射剂容器的种类及样式注射剂所用的容器一般是由硬质中性玻璃制成(如青霉素小瓶等),也有部分为塑料材质制成。
安瓿的式样目前使用最多的为有颈安瓿与曲颈安瓿,其容量体积一般为1mL、2mL、5mL、10mL、20mL等规格。
为了避免折断时所产生得一些玻璃碎屑、微粒等进入安瓿中污染药液,国家食品药品监督管理(CFDA)总局已强行规定一律采用曲颈易折安瓿(亦称易折安瓿)。
易折安瓿包括色环易折安瓿和点刻痕易折安瓿两种。
色环易折安瓿是将一种膨胀系数高于安瓿玻璃两倍的低熔点粉末熔固在安瓿颈部成为环状,冷却后由于两种玻璃的膨胀系数不同,在环状部位产生一圈永久应力,用力一折即可平整折断,不易产生玻璃碎屑。
点刻痕易折安瓿是在曲颈部位刻有一条细微的刻痕,在刻痕中心标有直径2mm的色点,折断时施力于刻痕中间的背面,折断后断面应平整。
目前市场上使用的安瓿一般为无色,有利于对药液的澄明度进行相关检查。
某些对光比较敏感的药物,需要避光贮存,此时可采用一些琥珀色的玻璃安瓿。
琥珀色安瓿中因含有氧化铁,有可能被浸取从而进入药液中,所以产品中所含成分如果包含能被铁离子催化的,则不宜采用琥珀色的玻璃容器。
(二)安瓿的质量要求与检查注射剂灌装于安瓿内,不仅需要在生产过程中经过高温的灭菌处理,而且还应适合不同环境条件下的长期贮存。
玻璃的材质将一定程度上影响注射剂的稳定性,如导致pH值改变、沉淀、变色、脱片等。
简述制备注射剂的工艺流程制备注射剂是一种注射剂剂型,它将药物以溶液或悬浮液的形式注入人体,以达到治疗或预防疾病的目的。
制备注射剂的工艺流程通常包括原料准备、溶解或悬浮、过滤和灭菌、装瓶和包装等多个步骤。
制备注射剂的工艺开始于原料准备阶段。
在这个阶段,需要准备药物活性成分、辅料和溶剂。
药物活性成分是注射剂的主要治疗成分,辅料可以改善药物的稳定性和相容性,溶剂则是用于溶解或悬浮药物和辅料的介质。
这些原料需要经过严格的筛选和分析,确保其质量符合药典标准。
接下来是溶解或悬浮步骤。
在这个步骤中,药物活性成分和辅料被溶解或悬浮于溶剂中。
溶解是指将固体药物活性成分和辅料溶解于溶剂中,使其形成溶液;而悬浮是指将固体药物活性成分和辅料分散于溶剂中,使其形成悬浮液。
溶解或悬浮过程需要根据药物的性质和要求进行温度控制、搅拌和pH调节等操作,以确保溶解或悬浮的均匀性和稳定性。
第三个步骤是过滤和灭菌。
在这个步骤中,溶解或悬浮液需要通过过滤器进行过滤,以去除杂质和微生物。
过滤的方法可以根据药物的性质和要求选择,常用的方法有微孔滤膜过滤、热滤和灭菌过滤等。
灭菌是为了确保制备注射剂的无菌性,常用的灭菌方法有高温高压灭菌、辐射灭菌和滤膜灭菌等。
然后是装瓶和包装步骤。
在这个步骤中,经过过滤和灭菌的溶解或悬浮液被装入注射用瓶中,并进行密封。
装瓶的过程需要在无菌条件下进行,以防止外界的污染。
装瓶后,还需要对注射剂进行标签贴附和包装,以方便使用和储存。
制备注射剂还需要进行质量控制。
质量控制是确保制备注射剂符合药典标准和质量要求的重要环节。
它包括对原料、中间产品和最终产品进行各项质量检验和测试,如外观检查、溶出度测定、pH测定、微生物检测等。
只有通过质量控制的检验,制备注射剂才能投放市场并使用于患者。
制备注射剂的工艺流程涉及到原料准备、溶解或悬浮、过滤和灭菌、装瓶和包装以及质量控制等多个步骤。
每个步骤都需要严格控制和操作,以确保制备注射剂的质量和安全性。