采购核价作业流程
- 格式:doc
- 大小:49.00 KB
- 文档页数:1
核价流程采购价格是否合理,在许多公司是一个敏感的课题,因而对采购员申报的的合同或订单,公司都另做了一个流程:价格审核,但如何对采购价格进行核价呢?最经常使用的是货比三家。
采购人员必须拿出三家以上的供应商的报价单。
采购人员或者选择了最低的供应商。
或者是有文件说明选择了性价比最高的产品。
许多组织都采用这种方式。
但值得关注的是,“货比三家”并不是唯一的和最好的方式。
货比三家并不能保证这三家供应商是市场上最低的,也不能保证这三家的产品报出的最低的。
所以,许多组织要求核价部门还要做验证,保证得到的价格最低。
方法是核价人员再到市场去询价,与采购人员的报价单做真正的核实。
这种方法提供了双保险,进一步保障了公司能够得到较低的价格。
但这里有一个悖论。
如果采购人员不能得到最低的价格,为何核价部门就能能够得到最低价格?如果核价部门能够得到最低价格的资源,为何不提前与采购部门共享?如果核价人员比采购更加有能力,为何核价人员不直接去询价。
管理的原则是“第一次就把事情做好”。
采购组织如果三番五次去报价,供应商也终究会识破目的,找到对策的。
再相当多的情况下,采购是定制产品,供应商报价是要做方案的,因而会有成本发生。
我们常常能提到销售的反应是“你们是不是真想要,如果不是,我就不报了”,或者随便报一个不靠谱的价。
货比三家是一把双刃剑。
所以除了货比三家,还有一些别的核价方法。
如果不是定制产品像标准件,特别是初级原材料。
都能够找到市场价的。
例如钢材,煤炭,有色金属,矿石,塑料及化工产品,粮食及畜产品,棉花及其他农产品,电子元器件,等等,都可以找到市场的报价。
只要比较市场价和采购价,结论就出来了。
当然,采购组织得到的价格不仅仅与采购人员的努力和能力有关,还与公司在市场中与供应商较量中得地位有关。
对于去曾经采购过的的产品和物料,可以使用“系统最低价”的方法。
即将过去的价格保存在系统中,拿这一次的价格和过去的价格相比较。
如果不比历史数据高,包括等于历史最低值,那么审核通过,如果不能达到这个标准,审核不通过,或者采购人员提交文件说明原因。
采购核价操作方法
采购核价是指对供应商提交的报价进行核实和比较,确认采购价格的合理性和准确性。
以下是采购核价的操作方法:
1. 收集报价信息:收集供应商提交的报价信息,包括采购产品或服务的价格、数量、质量要求等。
2. 制定核价标准:根据采购需求和公司的采购政策,确定核价标准,包括价格上限、质量要求等。
3. 核实报价信息:核实供应商提交的报价信息,比对报价与核价标准是否一致。
4. 询价比较与分析:将不同供应商的报价进行比较和分析,评估其价格的合理性和性价比。
5. 联系供应商核实:如有必要,与供应商联系核实其报价信息,了解具体价格构成和是否有折扣优惠等。
6. 考虑其他因素:除了价格,还应考虑供应商的信誉度、交货期、售后服务等因素,综合评估供应商的综合实力。
7. 编制核价报告:将核价结果整理成报告,明确采购建议和采购价格。
8. 审批和决策:将核价报告提交给相关部门和领导层审批,根据核价结果决策是否接受供应商的报价,或进行议价。
9. 与供应商谈判:如果核价结果不符合要求,可以与供应商进行谈判,争取更有利的价格和条件。
10. 确定最终采购价格:根据谈判结果和最终决策,确定最终的采购价格,并与供应商签订合同。
11. 定期监督与评估:在采购过程中,定期对供应商的价格和服务进行监督和评估,确保采购价格的合理性和供应商的履约能力。
以上是采购核价的一般操作方法,具体操作流程可能因公司的采购管理制度和实际情况而有所不同。
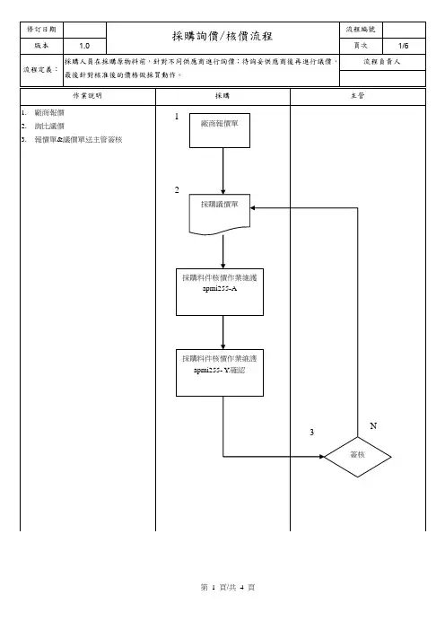
采购管理制度及流程采购作业内容是从收到”请购案件”开始进行分发采购案件,由釆购经办人员先核对请购内容,查阅”厂商资料”、”采购记录”及其他有关资料后,开始办理询价,于报价后,整理报价资料,拟订议价方式及各种有利条件,进行议价,办妥后,依核决权限,呈核订购。
一总则为加强釆购工作的管理,提高采购工作的效率,制定本制度。
所有的采购人员及相关人员均应以本制度为依据开展工作。
二采购部人员职责及管理制度1 •热爱本职工作,勤于学习新技术,了解新产品,注意市场信息的积累。
2.廉洁奉公,不徇私,不违法乱纪,勤俭节约,讲究职业道德。
3.负责公司生产所需材料的采购工作。
4.负责供应商的开发、管理及维护工作。
5.坚决执行各项采购工作制度及公司各项规章制度。
6.大项材料必须做招标工作,其他材料询价必须三家供应商以上参与。
7.积极了解材料的短缺、发货、验收等实际情况,早知道,早处理。
8.及时协助财务部对照欠款数额或者合同要求安排对供应商进行付款。
9.做到每周一小结,每月一总结,每年一审核。
10.完成领导交办的其他工作。
三釆购工作流程采购部作为一个职能部门,在项目的具体实施中担负了不可推卸的重要责任,采购工作的好坏,直接影响了工程的质量、工期、成本。
建立高效、实用、完善的采购工作流程是提高釆购效率,较低成本最有效的方法。
在项目实施的过程中,釆购部需要生产、财务、质检等各个部门的大力支持才能顺利的完成采购工作,每个部门之间的联系需要一个标准来规划,来提升工作效率,减少工作失误,为项目的顺利实施做出各自的贡献。
1 •在项目的初始运作阶段,采购部根据项目部、投标部的具体要求,配合进行投标的材料报价,以更好的达到在以后的生产中控制成本的目的,更要避免发生投标价低于实际采购价的情况出现。
2.项目正式运作后,采购部应该在第一时间开始进行所需材料的采购准备工作。
生产计划部门依据工程合同和对比库存后的实际需求,对采购部下达《材料申购单》(附表1)此单由申请人填写,生产或者项目负责人签字后生效,一试三份,一份申请人留存,一份发往釆购部,一份发往工厂或者生产基地。
服装核价的流程如下:
1.面辅料核价:包括供应商、辅料名称、地址、电话、颜色、部
位、规格、幅宽、用量、单价、金额、损耗、辅料不同计量单
位的转换、核算公式等。
2.裁床后整核价:包括裁床(验布、缩水、松布、拉布、裁剪、
查片、编号、写票、分扎)、查衫(车间中查、总查,包装部
尾查)、剪线(车间剪长线、包装前剪细线)、大烫、包装(分
码、打贴纸、贴纸、穿吊牌挂吊牌、折叠放拷贝纸、装胶袋、
捆包、装袋、打包)等。
3.特殊工艺核价:包括绣花、印花、复合、洗水、打揽、压褶等。
4.尾部及其它专项工序核价:包括烫图烫钻、打钉打扣、手缝串
珠、订扣、机打扣、机打铸件、专机开凤眼、扣眼钮门、打枣
(套结)等,羽绒服的充绒、棉衣的专机裥棉等的专线工序等。
5.加工费核价:一般指的是车间加工费,裁片从裁床搬到车间,
便开始计算工序,搬运工的费用,一般计算在管理费即利润里
面。
5.2若样品有多家或多次供应时,应该详细注明具体资料给到业务并且自己
也要做好相应记录。
5.3多次提供样品的产品,业务确认样品时应该告知采购是哪家供应商或是
具体那一次打的样品,以免弄错资料。
6.其他要求
6.1为了保证公司所采购的物料是相对优惠的,采购人员必须了解物料的市
场行情,经常询问供应商价格的波动情况。
6.2采购员可以通过其他供应商目前报价的走向来估计目前物料的市场行情。
6.3价格的走向可以从以下去判断,如了解同行中的价格,原材料市场的波动,具有相关连物价的波动情况等。
一、材料的询价核价流程材料的询价核价流程一、公司如因发展需要需储备材料(一)、技术部根据实际需要计算出所需储备材料的类型和数量(二)、设备部分:1、技术部将数据交财务部2、财务部对设备统一进行采购3、财务部将所采购的设备交工程部统一登记入库4、工程部经理定期将台帐交总经理(三)、材料部分:1、技术部将材料的类型和数量交工程部经理询价2、工程部经理填写 <采购材料审批表>3、工程部经理将填写的 <采购材料审批表>报分管领导核价4、将经过核价的<采购材料审批表>交总经理签字5、总经理签字同意后,<采购材料审批表>交工程部采购6、材料采购完毕后,由工程部统一登记入库7、工程部经理定期将材料台帐交总经理二、即将进场的工程项目(一)、技术部通过图纸,负责计算每项工程所需的材料和设备的数量和类型(二)、设备部分:1、技术部将数据交财务部2、财务部对设备统一进行采购3、财务部将所采购的设备交工程部统一登记后,由工程部经理安排时间将设备运往项目地点进行安装4、工程部经理定期将台帐交总经理(三)、材料部分:1、技术部将材料的类型和数量交工程部经理询价2、工程部经理填写 <采购材料审批表>3、工程部经理将填写的 <采购材料审批表>报分管领导核价4、将经过核价的<采购材料审批表>交总经理签字5、总经理签字同意后,<采购材料审批表>交工程部采购所需材料6、材料采购完毕后,由工程部统一登记,根据实际需要运往工地或入库。
7、工程部经理定期将材料台帐交总经理三、正在施工的项目1、正在施工的项目如需补充少量材料时2、项目施工员将材料类型、数量和价格逐级上报至总经理3、总经理权衡价格后,决定是否同意就近采购4、总经理如同意就近采购,施工员按实际所需就地采购5、施工员将所采购的材料的类型和数量交工程部统一登记6、工程部经理定期将材料台帐交总经理。
第一章总则第一条为规范公司产品核价工作,确保产品定价合理、科学,降低采购成本,提高公司经济效益,特制定本制度。
第二条本制度适用于公司所有产品的核价工作。
第三条产品核价应遵循公平、公正、公开的原则,确保核价过程的透明度和准确性。
第二章组织机构与职责第四条成立公司产品核价工作小组,负责组织、协调、监督和指导公司产品核价工作。
第五条核价工作小组组成如下:1. 组长:由公司总经理担任,负责全面领导核价工作。
2. 副组长:由财务总监和采购总监担任,负责协调相关部门和人员的工作。
3. 成员:由财务部、采购部、市场部、法务部等部门相关人员组成。
第六条各部门职责:1. 财务部:负责提供产品成本核算依据,参与核价决策。
2. 采购部:负责收集供应商报价,参与核价决策。
3. 市场部:负责提供市场行情,参与核价决策。
4. 法务部:负责提供法律法规咨询,参与核价决策。
第三章核价流程第七条产品核价流程如下:1. 采购部门提出采购需求,包括产品规格、数量、质量要求等。
2. 采购部门收集三家以上供应商的报价单,并进行初步筛选。
3. 市场部提供市场行情分析报告。
4. 财务部提供产品成本核算报告。
5. 核价工作小组召开会议,对产品价格进行核价。
6. 核价工作小组根据核价结果,确定最终采购价格。
7. 采购部门与供应商签订采购合同。
第四章核价方法第八条产品核价方法包括以下几种:1. 成本加成法:以产品成本为基础,加上一定的利润率确定产品价格。
2. 市场比较法:参考同类产品市场价格,结合公司产品特点确定产品价格。
3. 投资回报率法:根据公司投资回报率要求,确定产品价格。
第五章监督与考核第九条公司设立核价监督小组,负责对产品核价工作进行监督。
第十条核价工作小组对产品核价结果负责,如发现核价不合理,应及时纠正。
第十一条对违反本制度规定的行为,将依法依规追究相关人员责任。
第六章附则第十二条本制度由公司核价工作小组负责解释。
第十三条本制度自发布之日起施行。
采购核价管理制度一、总则为规范公司的采购核价管理工作,保障采购活动的合规合理,保护公司的利益,提高采购效率,特制定本制度。
二、适用范围本制度适用于公司所有的采购核价管理工作。
三、采购核价的定义采购核价是指在公司采购过程中,经由价格评估、成本分析、市场调研等方式,最终确定物品或服务的合理价格的过程。
四、采购核价的目的1.明确物品或服务的合理价格,保障采购活动的合规性和合理性。
2.提高采购活动的成本控制能力,节约公司的采购成本。
3.为公司的采购决策提供重要的数据支持。
五、采购核价的程序1.确认需求:采购部门确认物品或服务的需求,明确采购的具体内容和数量。
2.价格评估:采购部门根据市场价格、成本分析等相关信息,对物品或服务的价格进行评估。
3.供应商比较:采购部门对可能的供应商进行比较,以确定最合适的供应商。
4.核价准备:采购部门整理相关的采购核价报告,包括价格评估、供应商比较等信息。
5.核价审批:采购部门提交采购核价报告给相关主管领导进行审批。
6.核价执行:经过审批的采购核价报告,采购部门可进行正式的采购活动。
六、采购核价的责任部门及人员1.采购部门:负责具体的采购核价工作,包括价格评估、成本分析、供应商比较等。
2.管理部门:对采购核价的流程进行监督和审批。
3.财务部门:对采购活动的成本进行核算和跟踪。
七、采购核价的记录与归档采购部门应当对采购核价的相关文件和报告进行严格的记录和归档,包括价格评估报告、供应商比较表、核价报告等文件。
八、采购核价的监督与考核公司将定期对采购核价的执行情况进行检查和考核,对违规行为进行严肃处理。
九、采购核价的执行时间本制度自公布之日起正式执行。
十、采购核价制度的修改和解释公司对本制度拥有最终解释权,并可根据需要对本制度进行修改和补充。
十一、附则本制度自公布之日起正式执行,如有不符合实际情况而需修改的地方,由公司相关部门负责修订,并报主管领导批准生效。
以上就是本公司的采购核价管理制度,希望各位员工能够严格遵守执行,保证公司的采购活动合法、合理、高效。
食材类采购定价流程为了加强食材采购价格的控制,从采购的“询报价、评比价、审定价”等过程环节制定此操作流程,供相关人员参照执行。
食材采购定价为:报价、询价、比价、评审确定价。
一、供货商报价:(一)蔬菜类、冻品、肉类(每周定价)1、各供应商每周四提报下周执行价格2、与供应商单独在合同上有报价约定的,按合同执行。
(二)粮油干杂类(每月定价)1、各供应商每月28日前提报下月执行价格。
2、与供应商单独在合同上有报价约定的,按合同执行。
二、询价:(一)、针对价格变动快的食材物资进行定期例行性询价管理;(二)、财务提出询价的项目、品名和价格、质量焦点较大争议的厨师长和财务经理确认后方可进行;(三)、询价人员根据所提出的询价项目要求,进行严格调查询价,并留存书面询价记录;(四)、询价人员:采购员、厨师长、财务会计、其它监督人员(非必须);(五)、询价时间:蔬菜类、冻品、肉类实行每周询价,每周四针对下周执行价进行询价调研;粮油干杂类实行每月询价,每月28日针对下月执行价进行询价调研;(六)、询价地点:*****批发市场同类供应商任选三家*****零售市场、大型超市(可选、每月进行一次)*****网络询价《餐饮价格网》参考三、比价、核价(一)、比价:采购人员统一收集汇总报价单、市场调查单、历史价格表进行对比,做成表格并提出进货价格意见;(二)、核价人员:采购人员、成本会计、厨师长(三)、核价时间:1、蔬菜类、冻品、肉类每周五对下周执行价格进行核定;2、粮油干杂类每月29日对下月执行价格进行核定;(四)、核价流程1、采购人员汇总上期采购价、本期询价、本期报价等表格报送厨师长、财务部经理进行核价。
2、必要时召开专题会议,由评价人员和供货商代表参加,与供应商进行有争议的食材价格讨论,磋商,最后达成一致,形成最终的执行价;3、做好相关记录,核价人员签字确认;五、核价审批:(一)、采购人员将汇总最后执行价打印清单,并附上签字的核价资料,报厨师长、财务部审批,报总经理批准执行价格。
核价管理实施细则一、核价管理目标与原则核价管理的核心目标是确保采购价格的合理性、透明性和公平性,从而控制采购成本,维护公司利益。
我们遵循的原则包括公正性、科学性、效率性和保密性。
二、核价管理流程与责任核价管理流程包括供应商报价收集、核价评审、核价结果确认等步骤。
具体责任分工如下:采购部门:负责收集供应商报价,初步筛选合格的报价。
核价部门:负责对收集到的报价进行评审,确保报价的合理性。
相关部门:如财务、技术、质量等,协助核价部门完成评审工作。
三、核价评审会议组织核价评审会议由核价部门组织,参会人员包括采购、财务、技术、质量等相关部门人员。
会议旨在就供应商报价进行深入讨论,确保核价的准确性和公正性。
四、核价数据准确性与保密核价数据是核价工作的基础,必须确保其准确性。
同时,核价数据属于公司机密,参与核价工作的人员应严格遵守保密规定。
五、供应商报价核实与验证核价部门在收到供应商报价后,应对其进行核实与验证,确保报价的真实性和合理性。
核实与验证工作包括对比历史采购价格、市场调研等。
六、核价结果审批与监督核价结果经过评审会议讨论后,需提交公司领导审批。
审批通过的核价结果将作为采购的依据。
同时,核价工作应接受公司内部的监督,确保核价工作的合规性和公正性。
七、采购成本降低措施为了降低采购成本,我们将采取以下措施:定期开展市场调研,了解行业价格动态。
优化供应商选择,引入更具竞争力的供应商。
推广集中采购和长期合作协议,降低采购成本。
八、核价管理优化与改进为了不断提升核价管理水平,我们将定期对核价工作进行总结和评估,发现问题并及时改进。
同时,积极引入先进的核价管理方法和技术手段,提高核价工作的效率和准确性。
通过以上实施细则的制定和执行,我们将确保核价工作的规范化、制度化和高效化,为公司的持续稳健发展提供有力保障。
项目产品核价流程项目产品核价是指对产品进行价格核查和确认的过程。
在项目开发的过程中,产品核价是非常重要的一环,它直接关系到项目的成本和利润。
因此,一个完善的产品核价流程对于项目的顺利进行至关重要。
下面将介绍一个完整的项目产品核价流程,以便于大家更好地了解和掌握。
1. 制定核价流程。
首先,需要制定一个完整的核价流程。
核价流程应包括产品信息收集、成本核算、价格测算、利润分析等环节。
在制定流程的过程中,需要考虑到项目的特点和实际情况,确保流程的合理性和可行性。
2. 产品信息收集。
产品信息收集是产品核价流程的第一步。
在这一环节,需要收集产品的各项信息,包括产品的材料、工艺、生产成本等。
同时,还需要了解市场行情和竞争对手的价格情况,以便于进行价格测算和利润分析。
3. 成本核算。
成本核算是产品核价流程的核心环节。
在这一环节,需要对产品的各项成本进行核算,包括原材料成本、人工成本、制造费用、管理费用等。
同时,还需要考虑到产品的损耗率、质量控制成本等因素,确保成本核算的准确性和全面性。
4. 价格测算。
价格测算是产品核价流程的重要环节。
在这一环节,需要根据成本核算的结果,结合市场行情和竞争对手的价格情况,进行价格测算。
同时,还需要考虑到产品的附加值和市场需求,确保价格测算的合理性和竞争力。
5. 利润分析。
利润分析是产品核价流程的最后一步。
在这一环节,需要对价格测算的结果进行利润分析,确保项目的利润空间和盈利能力。
同时,还需要考虑到市场风险和销售策略,确保利润分析的可靠性和稳定性。
通过以上完整的产品核价流程,可以确保项目的成本和利润得到有效控制,为项目的顺利进行提供有力保障。
同时,还可以帮助企业更好地把握市场行情和竞争对手的动态,提高企业的市场竞争力和盈利能力。
因此,建议企业在项目开发的过程中,严格执行产品核价流程,确保项目的顺利进行和盈利能力的提升。
核价管理制度核价管理制度是企业内部采购和采购合同管理的重要环节,以确保企业在采购过程中合理、公正、透明地进行价格评估,并保障企业的经济利益不受到损失。
因此,建立一套完善的核价管理制度对于企业来说具有非常重要的意义。
本文将会介绍一个核价管理制度,包括其实施的流程、参与人员以及需要注意的事项等内容,以供相关企业参考。
一、制度实施的流程1、核价申请:在企业采购计划制定完成后,采购部门需要向核价委员会发起核价申请,提交相关采购计划和询价单等文件。
2、核价委员会的成立:核价委员会由企业内部设置,由具有相关采购或财务经验的人员组成。
委员会的主要职责是审核采购申请、制定核价标准,以及对申请进行核价、批准或驳回,并向相关部门发出核价结果通知书。
3、资料准备:检查采购计划、供应商信息、询价文件等所有相关资料的准备情况,确保是否完整且有必要的信息。
4、确定核价对象:针对采购计划和询价单,制定相应的采购清单,并确定需要进行核价的具体物品和服务。
5、制定核价标准:根据采购计划和预算,针对每一项采购物品及服务制定核价标准。
6、核价过程:根据询价文件和供应商回复的报价,进行核价并评定合理的价格,并筛选合适的供应商。
7、核价结果的发布:核价结果的发布及通知应该由核价委员会主管部门负责,将结果通知相关部门,并确定供应商的意见,并将结果文件归档。
二、参与人员1、核价委员会:由企业内部具有采购或财务经验的人员组成,主要负责审核采购申请、制定核价标准,对申请进行核价、批准或驳回,并向相关部门发出核价结果通知书。
2、采购部门:提出采购计划、询价单等相关资料;负责筛选合适的供应商,协商达成合同;并在收到核价结果通知书后,推进采购事项。
3、供应商:供应商应该根据企业采购计划和询价单提交报价,并对核价结果提出反馈意见。
三、需要注意的事项1、确保核价流程的透明度:本着诚信、公正态度处理核价问题。
在核价过程中,必须确保采购清单、标准及结果的透明度,公开公正的过程为企业的经济利益提供保障。
材料设备核价实施方案一、前言。
材料设备核价是工程项目管理中非常重要的一环,它直接关系到项目的成本控制和质量保障。
为了保证核价工作的准确性和有效性,制定一个科学合理的核价实施方案是至关重要的。
二、核价范围。
1. 材料核价范围,包括但不限于建筑材料、装饰材料、机械设备、电气设备等;2. 设备核价范围,包括但不限于机械设备、电气设备、仪器仪表等。
三、核价流程。
1. 收集资料,收集相关材料设备的价格信息和技术参数;2. 分析比较,对收集到的资料进行分析比较,确定合理的价格范围;3. 核实数据,核实所选定的材料设备的价格和质量,并与市场行情进行对比;4. 编制报告,编制核价报告,明确核价结果和依据;5. 审批确认,报告上级主管部门审批确认。
四、核价依据。
1. 相关法律法规,核价工作需符合国家相关法律法规的规定;2. 市场行情,参考市场行情,确定合理价格范围;3. 技术参数,结合实际需求,确定合适的材料设备技术参数;4. 质量要求,核价过程中需充分考虑材料设备的质量要求。
五、核价注意事项。
1. 数据真实性,核价过程中所使用的数据必须真实可靠;2. 信息保密,核价过程中涉及的敏感信息需严格保密,防止泄露;3. 专业人员,核价工作需由具有相关专业知识和经验的人员进行;4. 审批程序,核价报告需按照规定程序进行审批确认。
六、核价结果应用。
1. 价格谈判,根据核价结果与供应商进行价格谈判,争取合理价格;2. 采购决策,核价结果是制定采购决策的重要依据;3. 合同签订,核价结果需在合同签订过程中作为参考依据。
七、总结。
材料设备核价实施方案的制定,对于项目的成本控制和质量保障具有重要意义。
只有科学合理的核价流程和严格的核价依据,才能保证核价结果的准确性和有效性。
因此,各项目部门在进行核价工作时,需严格按照本方案的要求进行操作,确保核价工作的顺利进行。
供应链核价流程供应链核价流程是供应链管理中的重要环节之一,它是指对供应链中涉及的物料、零部件或产品进行定价的过程。
供应链核价的准确性和及时性对于企业的成本控制和供应链效率具有重要影响。
本文将介绍供应链核价流程的主要步骤和注意事项。
一、收集供应商报价供应链核价的第一步是收集供应商的报价。
企业可以通过发送询价单或与供应商进行直接沟通的方式,获取供应商对物料、零部件或产品的价格信息。
收集供应商报价时,应注意确保报价的准确性和完整性,避免遗漏重要信息。
二、评估供应商报价在收集到供应商的报价后,企业需要对报价进行评估。
评估供应商报价的主要目的是确定报价的可行性和合理性。
评估供应商报价时,可以比较不同供应商的报价,考虑其质量、交货时间、售后服务等因素,并结合市场行情和企业的需求,综合考虑选择合适的供应商。
三、分析成本结构供应链核价的关键是分析物料、零部件或产品的成本结构。
成本结构分析可以帮助企业了解各个成本项的占比和变动情况,从而确定合理的定价策略。
成本结构分析的主要内容包括直接材料成本、直接人工成本、制造费用、间接费用等。
通过对成本结构的分析,企业可以确定合理的成本价格,以确保供应链的可持续运营。
四、制定定价策略基于供应商报价和成本结构分析的结果,企业需要制定相应的定价策略。
定价策略的制定应考虑市场需求、竞争状况、产品特性等因素,并结合企业的盈利目标和风险偏好,确定合适的定价策略。
定价策略的制定应具有灵活性,以应对市场变化和竞争压力。
五、核价审批供应链核价的最后一步是核价审批。
核价审批是确保供应链核价流程的规范性和合规性的重要环节。
在核价审批过程中,企业需要对核价结果进行审核和确认,并确保核价的准确性和合理性。
核价审批的流程应明确,审批人员应具备相应的权威和专业知识,以确保核价结果的可靠性。
在供应链核价流程中,还有一些注意事项需要注意。
首先,企业应保持与供应商的良好沟通,及时获取最新的价格信息。
其次,企业应关注市场行情和竞争状况的变化,及时调整定价策略。