工贸冶金行业安全设施“三同时”流程图
- 格式:doc
- 大小:20.04 KB
- 文档页数:1
90号令详解|新三同时验收程序和工作流程图每一个热爱学习的圈内人都置顶了'职业卫生与职业医学'建设项目职业病防护设施“三同时”评审(验收)工作程序建设单位组织建设项目职业病危害预评价、职业病防护设施设计、职业病危害控制效果评价的评审和职业病防护设施验收,适用本程序。
一、准备阶段(一)在有关评价、设计已完成或职业病防护设施验收条件成熟的情况下,建设单位应当组织制定相关评审(验收)工作方案,明确主持评审(验收)相关负责人以及任务分工。
建设单位主要负责人应当主持评审(验收)工作,如因特殊情况无法参加的,由其书面授权指定有关负责人主持评审(验收)工作。
建设单位应提前邀请参与评审(验收)的人员,并根据不同阶段要求通知有关评价、设计、施工和监理单位参会。
建设单位应当在职业病防护设施验收前20日将验收方案(见附件3)向管辖该建设项目的安全生产监督管理部门进行书面报告。
(二)建设单位邀请参与评审(验收)的职业卫生专业技术人员主要是指以下三类人员:各级安全生产监督管理部门专家库的职业卫生专家;熟悉职业卫生法律、法规、技术标准和相关工艺、防护设施,从事职业卫生管理、有关工程、技术工作且具有中级及中级以上专业技术职称的人员;具有职业病危害检测与评价、职业健康监护等相关专业经验的注册安全工程师。
属于职业病危害严重的建设项目,其建设单位主要负责人或其指定的负责人应当组织外单位(即不属于本建设单位)的职业卫生专业技术人员参加评审(验收)工作。
建设单位应当由3名以上(总人数为单数)职业卫生专业技术人员组成评审(验收)组。
与建设项目建设单位、评价单位、设计单位、施工单位或者监理单位等相关单位存在直接利害关系的人员不能作为评审(验收)组成员。
建设单位组织职业病防护设施“三同时”与安全设施“三同时”一并评审(验收)时,评审(验收)组成员中职业卫生专业技术人员不得少于3人。
(三)按拟定时间、地点召开评审(验收)会议,参会人员在签到表上签字,建设单位负责人致辞,介绍参加会议人员以及评审(验收)工作的议程;(四)主持人宣布评审(验收)组成员,并推选出评审(验收)组组长。
建设项目安全设施“三同时”管理规定1、目的为规范公司在固定资产投资项目和设备引进、技术改造过程中的安全设施的设计、施工、投用阶段的管理,根据法律法规相关管理规定并结合公司实际,制定本管理规定。
2、适用范围本管理规定适用于公司以下建设项目管理:固定资产投资项目;新置生产、辅助设备及设备重大改造项目;生产工艺、原料变更、引进建设项目。
3、说明3.1“三同时”是指在建设项目中的安全设施必须符合国家、行业和地方规定的标准,必须与主体工程同时设计、同时施工、同时投入生产和使用。
3.2 建设工程项目组是对公司独立运行的建设工程项目组或公司临时成立的建设或技改工程项目组的统称。
4、相关文件4.1《浙江省建设项目安全设施监督管理办法》(浙江省人民政府令第259号)4.2《关于加强建设项目安全设施“三同时”工作的通知》(国家发展和改革委员会、原国家安全生产监督管理局发改投资[2003]1346号)4.3《浙江省冶金行业建设项目安全设施“三同时”暂行实施办法》(浙安监管矿[2008]11号)4.4《关于进一步做好冶金有色建材机械轻工纺织烟草商贸等行业建设项目安全设施“三同时”工作的通知》(国家安全生产监督管理总局安监总管四[2009]159号)5、职责分工5.1 安全组对建设项目安全设施“三同时”的执行情况进行监督管理。
5.2 安全组负责公司建设项目各阶段安全、消防设施和职业卫生防护设施“三同时”报审材料的预审和报审工作。
5.3 安全组负责组织委托建设项目安全预评价、验收评价及符合性检测工作。
5.4 项目组负责组织建设项目可行性研究时对安全方面进行论证;负责落实“三同时”实施中所需费用。
5.5 项目组负责组织并落实设计单位在编制建设项目可行性研究报告时将安全设施论证内容编入可行性研究报告的专门章(节);负责建设项目初步设计、施工图设计阶段安全设施的设计质量。
5.5 项目组负责组织对建设项目设计阶段安全“三同时”的设计变更及修改的确认、委托和审查。
新疆维吾尔自治区工贸等行业《建设项目安全设施“三同时”监督管理暂行办法》实施细则第一章总则第一条为加强工贸等行业建设项目安全管理,预防和减少生产安全事故,保障从业人员生命和财产安全,根据《中华人民共和国安全生产法》和《建设项目安全设施“三同时”监督管理暂行办法》(国家安全监管总局令第36号,以下简称36号令)等法律、行政法规和规定,制定本细则。
第二条经县级以上人民政府及其有关主管部门依法审批、核准或者备案的工贸等行业(包括冶金、有色、建材、机械、轻工、纺织、烟草、商贸及军工、公路、水运、轨道交通、电力等,下同)生产经营单位新建、改建、扩建工程项目(以下统称建设项目)安全设施的建设及其监督管理,适用本细则。
法律、行政法规及国务院、自治区人民政府对建设项目安全设施建设及其监督管理另有规定的,依照其规定。
第三条本细则所称的建设项目安全设施,是指生产经营单位在生产经营活动中用于预防生产安全事故的设备、设施、装置、构(建)筑物和其他技术措施的总称。
第四条生产经营单位是建设项目安全设施建设的责任主体。
建设项目安全设施必须与主体工程同时设计、同时施工、同时投入生产和使用(以下简称“三同时”)。
安全设施投资应当纳入建设项目概算。
第五条县级以上安全生产监督管理部门对本行政区域内的工贸等行业建设项目安全设施“三同时”实施综合监督管理。
自治区安全生产监督管理部门在规定的职责范围内承担国家、自治区及其有关主管部门审批、核准或者备案的建设项目的安全设施“三同时”的监督管理。
地州市安全生产监督管理部门在规定的职责范围内承担地州市及其有关主管部门审批、核准或者备案的建设项目的安全设施“三同时”的监督管理。
县级安全生产监督管理部门对本行政区域内投资额在3000万元以下的工贸等行业建设项目安全设施“三同时”的监督管理。
跨两个及两个以上行政区域的建设项目安全设施“三同时”由其共同的上一级人民政府安全生产监督管理部门实施监督管理。
上级安全生产监督管理部门根据工作需要,可以将其负责监督管理的建设项目安全设施“三同时”工作委托下级安全生产监督管理部门实施监督管理。
重庆市应急管理局关于印发《重庆市冶金等工贸行业建设项目安全设施“三同时”监督管理办法》的通知文章属性•【制定机关】•【公布日期】2020.07.21•【字号】渝应急发〔2020〕59号•【施行日期】2020.08.01•【效力等级】地方规范性文件•【时效性】现行有效•【主题分类】质量监督检验检疫综合规定正文重庆市应急管理局关于印发《重庆市冶金等工贸行业建设项目安全设施“三同时”监督管理办法》的通知重庆市冶金等工贸行业建设项目安全设施“三同时”监督管理办法第一章总则第一条为贯彻执行《建设项目安全设施“三同时”监督管理办法》(国家安全生产监督管理总局令第36号,第77号修订,以下简称原国家安监总局第36号令)、《冶金企业和有色金属企业安全生产规定》(国家安全生产监督管理总局令第91号)和《国务院关于第三批清理规范国务院部门行政审批中介服务事项的决定》(国发〔2017〕8号),进一步加强冶金等工贸行业建设项目安全设施“三同时”监督管理,确保建设项目的安全设施符合安全生产要求,根据《中华人民共和国安全生产法》《重庆市安全生产条例》等相关法律法规规定,结合我市实际,制定本办法。
第二条本市行政区域内,经县级以上人民政府及其有关主管部门依法审批、核准或者备案的冶金等工贸行业的新建、改建、扩建项目(以下简称建设项目)安全设施的建设及其监督管理适用本办法。
第三条生产经营单位是建设项目安全设施建设的责任主体。
建设项目安全设施必须与主体工程同时设计、同时施工、同时投入生产和使用。
安全设施投资应当纳入建设项目概算。
第四条具有依法审批、核准或者备案职责的县级以上人民政府及其有关主管部门,应当按照管理权限及时将依法审批、核准或者备案的生产经营单位新建、改建、扩建工程项目书面通报同级应急管理部门。
第五条具有依法审批、核准或者备案职责的县级以上人民政府及其有关主管部门,应将建设项目安全设施“三同时”纳入相应管理程序,对未进行安全设施“三同时”审查的建设项目,不予办理有关行政许可手续。
建设项目职业病防护设施三同时工作流程图背景随着社会经济的快速发展和建设项目的不断增多,建筑业在社会经济中的比重越来越大。
然而,建设项目所涉及的职业病防护问题也越来越引人关注。
职业病是指在职业过程中由于接触有毒物质、粉尘、辐射等因素引起的疾病,其发生对工人身体健康和生命构成极大威慑。
所以如何有效地防治职业病,保证建设项目的顺利进行,显得尤为重要。
主要工作流程在建设项目职业病防护设施建设中,应按照“三同时”要求进行工作:第一同时:设计、施工、运行时防护措施同时落实1.设计阶段:设计方应根据工程技术要求,进行职业病危害因素评价,并在设计阶段确定相应的职业病防护设施。
2.施工阶段:在施工阶段,建设单位应根据规划方案,按照设计要求制定职业病防护施工方案,并组织施工队伍进行施工。
3.运行阶段:建设完成后,运营单位应在操作规程中规定必要的职业病防护措施,并对职业病防护设施进行日常检查维护。
第二同时:施工前、施工中、施工后防护措施同时实施1.施工前:作业前,建设单位应分析作业活动中的职业病危害因素,制定安全措施,组织工人进行防护措施培训,并发放必要的个人防护用品。
2.施工中:施工现场应严格按照施工方案进行作业,并按照规定使用相应的职业病防护设施和个人防护用品,特别是在制造和清理尘埃、毒害等作业环节要多加注意。
3.施工后:施工完成后,建设单位应及时进行清理、拆卸施工场地,有毒的废弃物应正确处置,对污染的场地应进行治理,确保场地的环境卫生。
第三同时:检查、评价、纠正同时执行1.检查:建设单位应定期检查职业病防护设施的可行性,规范性、有效性,并制定相应的检查制度,加强职业病防护设施的管理。
2.评价:建设单位应对职业病防护设施进行定期评价,发现问题及时改进、提高职业病防护的质量和效果。
3.纠正:发现问题应及时提出纠正、改进意见,并落实到位。
结论三同时工作流程图能有效的指导建设项目职业病防护设施建设的全过程,使其实现可行性、规范性和有效性的要求,有效的保障了建设项目员工的身体健康和生命安全。
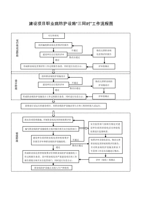
建设项目职业病防护设施“三同时”工作流程图建设项目职业病防护设施“三同时”评审(验收)工作程序建设单位组织建设项目职业病危害预评价、职业病防护设施设计、职业病危害控制效果评价的评审和职业病防护设施验收,适用本程序。
一、准备阶段(一)在有关评价、设计已完成或职业病防护设施验收条件成熟的情况下,建设单位应当组织制定相关评审(验收)工作方案,明确主持评审(验收)相关负责人以及任务分工。
建设单位主要负责人应当主持评审(验收)工作,如因特殊情况无法参加的,由其书面授权指定有关负责人主持评审(验收)工作。
建设单位应提前邀请参与评审(验收)的人员,并根据不同阶段要求通知有关评价、设计、施工和监理单位参会。
建设单位应当在职业病防护设施验收前20日将验收方案(见附件3)向管辖该建设项目的安全生产监督管理部门进行书面报告。
(二)建设单位邀请参与评审(验收)的职业卫生专业技术人员主要是指以下三类人员:各级安全生产监督管理部门专家库的职业卫生专家;熟悉职业卫生法律、法规、技术标准和相关工艺、防护设施,从事职业卫生管理、有关工程、技术工作且具有中级及中级以上专业技术职称的人员;具有职业病危害检测与评价、职业健康监护等相关专业经验的注册安全工程师。
属于职业病危害严重的建设项目,其建设单位主要负责人或其指定的负责人应当组织外单位(即不属于本建设单位)的职业卫生专业技术人员参加评审(验收)工作。
建设单位应当由3名以上(总人数为单数)职业卫生专业技术人员组成评审(验收)组。
与建设项目建设单位、评价单位、设计单位、施工单位或者监理单位等相关单位存在直接利害关系的人员不能作为评审(验收)组成员。
建设单位组织职业病防护设施“三同时”与安全设施“三同时”一并评审(验收)时,评审(验收)组成员中职业卫生专业技术人员不得少于3人。
(三)按拟定时间、地点召开评审(验收)会议,参会人员在签到表上签字,建设单位负责人致辞,介绍参加会议人员以及评审(验收)工作的议程;(四)主持人宣布评审(验收)组成员,并推选出评审(验收)组组长。
工程项目安全设施、职业病防护设施“三同时”管理标准1 定义1、1 “三同时”就是指建设项目中得安全设施与职业病防护设施必须符合国家、行业与地方规定得标准,必须与主体工程同时设计、同时施工、同时投入生产与使用。
1、2 建设项目就是指新建、改建、扩建项目与技术改造、技术引进项目。
1、3 危险化学品项目就是指新建、改建、扩建危险化学品生产、储存得建设项目以及伴有危险化学品产生得化工建设项目(包括危险化学品长输管道建设项目,不包含城镇燃气得输送及储存得建设项目)。
1、4 职业病危害得建设项目,就是指存在或者产生《职业病危害因素分类目录》所列职业病危害因素得建设项目。
1、5 安全设施,就是指企业(单位)在生产经营活动中将危险因素、有害因素控制在安全范围内以及预防、减少、消除危害所配备得装置(设备)与采取得措施。
1、6 安全设施得分类,安全设施分为预防事故设施、控制事故设施、减少与消除事故影响设施3类。
1、7 职业病防护设施,就是指消除或者降低工作场所得职业病危害因素得浓度或者强度,预防与减少职业病危害因素对劳动者健康得损害或者影响,保护劳动者健康得设备、设施、装置、构(建)筑物等得总称。
2 审批机构要求2、1 安全“三同时”审核、备案机构2、1、1危险化学品建设项目2、1、1、1国务院审批(核准、备案)得建设项目;跨省、自治区、直辖市得建设项目由国家安全生产监督管理总局安全评价、安全设施专篇审核与竣工验收。
2、1、1、2国务院投资主管部门(审批、备案)得建设项目;生产剧毒化学品得建设项目由省、自治区、直辖市安全生产监督管理部门安全评价、安全设施专篇与竣工验收。
2、1、1、3其她建设项目由设区得市级人民政府安全生产监督管理部门安全评价、安全设施专篇与竣工验收。
2、1、2 港口建设项目2、1、2、1由国务院投资主管部门核准得港口建设项目得安全评价报告由交通水运安全评审中心或国家安全生产监督管理总局安全科学技术研究中心组织评审,报送交通部、国家安全生产监督管理总局主管司局以及地方安全生产监督管理部门、港口行政管理部门与海事管理机构备案。
黔安监管四〔2012〕133号关于印发贵州省冶金等工贸企业建设项目安全生产条件和设施综合分析报告编制指南的通知各市(州),各县(市、特区)安全生产监督管理局:为贯彻执行《安全生产法》、《建设项目安全设施“三同时”监督管理暂行办法》(国家安全生产监督管理总局令第36号)、《中共贵州省委贵州省人民政府关于进一步加快县域经济的意见》(黔党发〔2012〕4号)以及《贵州省冶金等工贸企业建设项目安全设施“三同时”监督管理实施办法》(黔安监管四〔2011〕255号)的要求,规范和指导全省冶金、有色、建材、机械、轻工、纺织、烟草、商贸等企业新建、改建和扩建项目安全生产条件和设施综合分析报告的编制工作,省安监局编制了《贵州省冶金等工贸企业建设项目安全生产条件和设施综合分析报告编制指南》,现印发给你们,自公布之日起执行。
请各地及时将本通知转发至辖区内有关冶金、有色、建材、机械、轻工、纺织、烟草、商贸等行业(领域)企业,认真贯彻落实。
附件:贵州省冶金等工贸企业建设项目安全生产条件和设施综合分析报告编制指南二〇一二年六月十二日(联系人:周天翔,联系电话:************)主题词:安全生产建设项目安全设施通知贵州省安全生产监督管理局办公室2012年6月12日印发附件:贵州省冶金等工贸企业建设项目安全生产条件和设施综合分析报告编制指南一、适用范围本指南适用于本省行政区域内新建、改建、扩建冶金、有色、建材、机械、轻工、纺织、烟草、商贸等企业生产、储存装置和设施的建设项目(以下简称建设项目)安全生产条件和设施综合分析报告的编制。
二、术语和定义1、新建项目指拟依法设立的企业建设生产、储存装置(设施)和现有企业(单位)拟建与现有生产、储存活动不同的生产、储存装置(设施)的建设项目。
2、改建项目指企业对在役的生产、储存装置(设施),在原址或者易地更新技术、工艺和改变原设计的生产、储存建设项目。
3、扩建项目指企业(单位)拟建与现有产品品种相同且生产、储存装置(设施)相对独立的建设项目。
建设项目安全设施“三同时”管理制度第一章总则第一条为了加强建设项目安全管理,确保建设项目安全设施的建设和使用与工程施工、生产经营等活动的同时进行,维护建设人员和周围环境的安全,根据《建设工程安全生产管理条例》等相关法律法规的规定,制定本管理制度。
第二条本管理制度适用于所有建设项目,包括新建、改建、扩建、装修等不同类型的建设项目。
第三条本管理制度的目标是加强建设项目安全设施的建设和使用管理,确保建设项目在施工、生产经营等活动过程中的安全,并促进建设项目与周围环境的和谐发展。
第二章建设项目安全设施“三同时”管理原则第四条建设项目安全设施的建设和使用必须与工程施工、生产经营等活动的同时进行,达到“三同时”要求。
第五条建设项目安全设施的建设和使用必须符合国家、行业对于安全设施的相关规定,并根据具体项目的特点进行细化和补充。
第六条建设项目安全设施的建设和使用必须从项目初始阶段就进行计划和预算,并纳入项目管理体系。
第七条建设项目安全设施的建设和使用必须由专业的安全管理人员负责,并按照相关标准进行检测和验收。
第三章建设项目安全设施规划与设计要求第八条建设项目安全设施规划必须与项目总体规划相结合,确保在项目建设的整个过程中都能充分考虑安全设施的需要。
第九条建设项目安全设施设计必须符合国家、行业关于安全设施的相关规定,确保安全设施的有效性和合理性。
第十条建设项目安全设施设计必须考虑建设项目的特点和风险评估结果,采取合理、可行的安全措施,确保施工、生产经营等活动的安全。
第十一条建设项目安全设施设计必须考虑可持续性发展的原则,采用节能、环保的设备和技术,确保安全设施的可持续使用。
第四章建设项目安全设施施工与安装要求第十二条建设项目安全设施施工必须按照设计要求进行,并由具备相应资质的施工单位承担责任。
第十三条建设项目安全设施施工必须严格按照相关标准和规范进行,确保施工质量和安全性。
第十四条建设项目安全设施施工必须在工程施工活动的同时进行,并与其他工程施工活动进行协调和配合。
建设项目安全设施“三同时”管理制度为贯彻安全生产管理“安全第一、预防为主”的方针,确保公司新建、改建、扩建的工程项目投产后符合职业健康和安全的要求,保障员工在生产过程中的安全与健康,根据《____安全生产法》,特制订本制度。
2适用范围本制度适用于公司新建、改建、扩建工程项目。
3相关术语定义“三同时”。
新建、改建、扩建工程项目的劳动安全卫生设施、职业卫生设施、环境保护设施和消防安全设施应与主体工程同时设计、同时施工、同时投入生产和使用。
4职责实施单位负责“三同时”工作的实施,____建设项目“三同时”的内部评估、审核和验收。
依照政府相关职能管理部门的规定程序办理职业健康卫生、劳动安全和环境保护“三同时”手续;建立和保存“三同时”项目档案。
实施单位负责依照政府管理部门的规定程序办理建设项目环保消防卫生手续;负责____消防安全“三同时”的内部评估、审核和验收,并完备档案技术资料。
施工单位应按照建设项目“三同时”设计方案,确保“三同时”设施与主体工程同时施工和申请验收;确保“三同时”项目的施工质量,负责参与“三同时”项目评估、审核和验收,并根据验收结论____改进,达到设计标准。
5工作程序及要求____项目的申报新建、改建、扩建工程等建设项目正式批准后,必须申报,在投资项目总额中,必须包含“三同时”投资费用,若该项目无“三同时”投资必要,需注明。
有下列情况之一的新建、改建、扩建工程项目,由装备部向政府有关职能管理部门申报执行“三同时”程序。
防雷“三同时”;环保设施“三同时”;消防“三同时”。
特种设备投资项目申报质量技术监督局办理有关登记使用手续。
5.2建设项目“三同时”方案评估、评价建设管理部根据项目申报资料____对该项目进行“三同时”评估和评价,可采用下列方式:(1)____专业安全检查组进行内部评估、评价;(2)委托具有相关评估资质的中介机构进行评估。
____评估、评价的单位应根据评估、评价结果,提出书面的可行性研究报告,作为“三同时”的设计依据。
国家安全监管总局关于进一步做好冶金有色建材机械轻工纺织烟草商贸等行业建设项目安全设施“三同时”工作的通知安监总管四〔2009〕159号各省、自治区、直辖市及新疆生产建设兵团安全生产监督管理局,有关中央企业:近年来,冶金、有色、建材、机械、轻工、纺织、烟草、商贸等行业(以下简称冶金机械等行业)发展迅速,大量新建、改建、扩建工程项目(以下统称建设项目)开工建设和投入生产,其中一些建设项目的安全设施没有依法做到与主体工程同时设计、同时施工、同时投入生产和使用(以下简称“三同时”),从源头上降低了安全生产条件,留下了隐患,由此引发的重特大事故时有发生。
为进一步做好冶金机械等行业建设项目安全设施“三同时”工作,现就有关事项通知如下:一、统一思想,提高认识建设项目安全设施“三同时”工作,是从源头上减少事故隐患,防范事故发生,保障生产经营单位安全生产的重要基础性工作。
各级安全监管部门、冶金机械等行业相关生产经营建设单位务必高度重视,进一步提高认识,坚持“安全第一、预防为主、综合治理”的方针,认真贯彻执行相关安全生产法律法规,创新工作机制,采取切实可行的工作方法,把落实建设项目安全设施“三同时”作为冶金、机械等行业提高本质安全水平,减少事故发生,做好事前预防的重要措施,作为强化冶金、机械等行业安全监管工作的重要手段。
二、分级负责,规范职能冶金机械等行业建设项目安全设施“三同时”工作实行“分级、属地”的原则。
(一)下列建设项目安全设施“三同时”工作由国家安全监管总局负责:1.国务院或者国务院有关部门审批或核准的建设项目;2.跨省、自治区、直辖市行政区域的建设项目;3.有明确规定的其他建设项目。
(二)其他建设项目安全设施“三同时”工作,由各省、自治区、直辖市安全监管局负责,报国家安全监管总局备案。
三、完善制度,确定程序各地区要建立冶金机械等行业建设项目安全设施“三同时”备案制度:(一)建设项目在可行性研究阶段,建设单位应当对安全生产条件进行论证,并编制安全预评价报告;安全预评价报告应当报相应的安全监管部门备案。
渝安监发〔2011〕166号关于做好工贸行业建设项目安全设施“三同时”备案工作的通知各区县(自治县)安监局、有关部门、相关中央在渝和市属企业:为加强冶金、有色、建材、机械、轻工、纺织、烟草、商贸等行业(以下简称工贸行业)企业建设项目安全设施“三同时”的监管,把严源头关口,减少或消除安全隐患,防范事故发生,根据《建设项目安全设施“三同时”监督管理暂行办法》(国家安全监管总局令第36号)有关规定,结合本市实际,现对本市工贸企业建设项目安全设施“三同时”备案工作有关事项通知如下:一、备案管辖原则工贸行业建设项目安全设施“三同时”备案管理工作,实行分级负责、属地监管的原则。
(一)市安全生产监督管理局对全市工贸企业的建设项目安全设施“三同时”实施综合监督管理,并在本级人民政府规定的职责范围内,承担本级人民政府及其有关主管部门审批、核准或者备案的中央在渝和市属工贸企业建设项目安全设施“三同时”的监督管理。
(二)区县(自治县)安全生产监督管理局对本行政区域内的工贸企业的建设项目安全设施“三同时”实施综合监督管理,并在本级人民政府规定的职责范围内,承担本级人民政府及其有关主管部门审批、核准或者备案的建设项目安全设施“三同时”的监督管理。
(三)工贸行业的国家和省级重点建设项目、跨两个及两个以上区县的建设项目安全设施“三同时”由市安全生产监督管理局实施监督管理。
(四)各区县(自治县)安全生产监督管理局于每季度末向市安全生产监督管理局汇总上报本地区工贸企业安全设施“三同时”建设项目备案工作情况(见附件1)。
二、备案内容及程序(一)建设项目可行性研究安全条件论证工作备案国家和省级重点工贸企业建设项目在可行性研究阶段,建设单位应当对安全生产条件进行论证,并编制安全条件论证报告;同时,还应当委托具有相应资质的安全评价机构对其建设项目进行安全预评价、编制安全预评价报告,将安全预评价报告及《重庆市工贸企业建设项目安全条件论证备案表》(附件2)报相应安监部门备案。
工程项目安全设施、职业病防护设施“三同时”管理标准1 定义“三同时”是指建设项目中的安全设施和职业病防护设施必须符合国家、行业和地方规定的标准,必须与主体工程同时设计、同时施工、同时投入生产和使用。
建设项目是指新建、改建、扩建项目和技术改造、技术引进项目。
危险化学品项目是指新建、改建、扩建危险化学品生产、储存的建设项目以及伴有危险化学品产生的化工建设项目(包括危险化学品长输管道建设项目,不包含城镇燃气的输送及储存的建设项目)。
职业病危害的建设项目,是指存在或者产生《职业病危害因素分类目录》所列职业病危害因素的建设项目。
安全设施,是指企业(单位)在生产经营活动中将危险因素、有害因素控制在安全范围内以及预防、减少、消除危害所配备的装置(设备)和采取的措施。
安全设施的分类,安全设施分为预防事故设施、控制事故设施、减少与消除事故影响设施3类。
职业病防护设施,是指消除或者降低工作场所的职业病危害因素的浓度或者强度,预防和减少职业病危害因素对劳动者健康的损害或者影响,保护劳动者健康的设备、设施、装置、构(建)筑物等的总称。
2 审批机构要求安全“三同时”审核、备案机构危险化学品建设项目国务院审批(核准、备案)的建设项目;跨省、自治区、直辖市的建设项目由国家安全生产监督管理总局安全评价、安全设施专篇审核和竣工验收。
国务院投资主管部门(审批、备案)的建设项目;生产剧毒化学品的建设项目由省、自治区、直辖市安全生产监督管理部门安全评价、安全设施专篇和竣工验收。
其他建设项目由设区的市级人民政府安全生产监督管理部门安全评价、安全设施专篇和竣工验收。
港口建设项目由国务院投资主管部门核准的港口建设项目的安全评价报告由交通水运安全评审中心或国家安全生产监督管理总局安全科学技术研究中心组织评审,报送交通部、国家安全生产监督管理总局主管司局以及地方安全生产监督管理部门、港口行政管理部门和海事管理机构备案。
其他港口建设项目安全评价报告由交通水运安全评审中心或国家安全生产监督管理总局安全科学技术研究中心组织评审,报相应的地方安全生产监督管理部门、港口行政管理部门和海事管理机构备案。