安全设施“三同时”审批流程图
- 格式:docx
- 大小:7.40 KB
- 文档页数:2
工业生产建设项目“三同时”安全审查联审联办流程图通过验收 提交下列资料(一式三份):1、工业生产建设项目设立安全审查申请书;2、规划选址文件;3、安全生产条件论证报告;4、建设项目设立安全预评价报告。
安监部门组织专家和有关人员进行审查,出具《工业生产建设项目安全设立审查意见书》,予以通过或不通过,同时抄送同级发改、经信部门 投资建设单位向安监部门申请建设项目设立安全审查提交下列资料(一式三份):1、工业生产建设项目安全设施设计审查申请书;2、项目设立安全审查意见书;3、立项许可证明文件;4、安全设施设计专篇;5、设计单位资质证明文件;6、需要提供的其他资料。
通过审查发改、经信部门不予立项 发改、经信部门立项未通过审查 设计单位进行设计投资建设单位向安监部门申请建设项目安全设施设计审查通过审查 未通过审查 安监部门组织专家和有关人员进行审查,出具《工业生产建设项目安全设施设计审查意见书》,予以通过或不通过,同时抄送同级建设行政主管部门 建设行政主管部门不予办理施工许可 建设行政主管部门予以办理施工许可投资建设单位向安监部门申请建设项目安全设施竣工验收提交下列资料(一式三份):1、工业生产建设项目安全设施竣工验收申请书;2、安全设施设计审查意见书;3、施工单位施工资质证明文件;4、建设工程施工许可证明文件;5、安全设施施工情况报告;6、建设项目试生产(使用)自查报告;7、安全生产设施资金投入情况报告;8、安全评价报告9、安全机构设置或者人员配备情况;10、主要负责人、安全生产管理人员和特种作业人员安全培训情况;11、安全生产责任制、安全规章制度和安全操作规程;12、事故应急救援预案;13、国家和省规定提交的其他资料。
安监部门组织专家和有关人员进行审查,出具《工业生产建设项目安全设施竣工验收意见书》,予以通过或不通过,同时抄送同级发改、经信、住建、工商等有关部门。
未通过验收 有关单位不予组织总体竣工验收,投资建设单位不得投入生产和使用,有关部门一律不予办理行政许可手续。
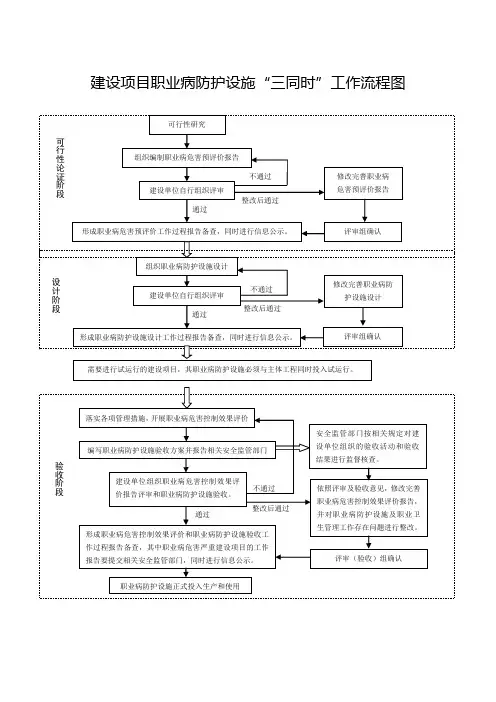
90号令详解|新三同时验收程序和工作流程图每一个热爱学习的圈内人都置顶了'职业卫生与职业医学'建设项目职业病防护设施“三同时”评审(验收)工作程序建设单位组织建设项目职业病危害预评价、职业病防护设施设计、职业病危害控制效果评价的评审和职业病防护设施验收,适用本程序。
一、准备阶段(一)在有关评价、设计已完成或职业病防护设施验收条件成熟的情况下,建设单位应当组织制定相关评审(验收)工作方案,明确主持评审(验收)相关负责人以及任务分工。
建设单位主要负责人应当主持评审(验收)工作,如因特殊情况无法参加的,由其书面授权指定有关负责人主持评审(验收)工作。
建设单位应提前邀请参与评审(验收)的人员,并根据不同阶段要求通知有关评价、设计、施工和监理单位参会。
建设单位应当在职业病防护设施验收前20日将验收方案(见附件3)向管辖该建设项目的安全生产监督管理部门进行书面报告。
(二)建设单位邀请参与评审(验收)的职业卫生专业技术人员主要是指以下三类人员:各级安全生产监督管理部门专家库的职业卫生专家;熟悉职业卫生法律、法规、技术标准和相关工艺、防护设施,从事职业卫生管理、有关工程、技术工作且具有中级及中级以上专业技术职称的人员;具有职业病危害检测与评价、职业健康监护等相关专业经验的注册安全工程师。
属于职业病危害严重的建设项目,其建设单位主要负责人或其指定的负责人应当组织外单位(即不属于本建设单位)的职业卫生专业技术人员参加评审(验收)工作。
建设单位应当由3名以上(总人数为单数)职业卫生专业技术人员组成评审(验收)组。
与建设项目建设单位、评价单位、设计单位、施工单位或者监理单位等相关单位存在直接利害关系的人员不能作为评审(验收)组成员。
建设单位组织职业病防护设施“三同时”与安全设施“三同时”一并评审(验收)时,评审(验收)组成员中职业卫生专业技术人员不得少于3人。
(三)按拟定时间、地点召开评审(验收)会议,参会人员在签到表上签字,建设单位负责人致辞,介绍参加会议人员以及评审(验收)工作的议程;(四)主持人宣布评审(验收)组成员,并推选出评审(验收)组组长。
建设项目安全设施“三同时”工作流程(36号令)
第二十八条生产经营单位对本办法第七条第一项、第二项、第三项和第四项规定的建设项目有下列情形之一的,责令停止建设或者停产停业整顿,限期改正;逾期未改正的,处50万元以上100万元以下的罚款,对其直接负责的主管人员和其他直接责任人员处2万元以上5万元以下的罚款;构成犯罪的,依照刑法有关规定追究刑事责任:
(一)未按照本办法规定对建设项目进行安全评价的;
(二)没有安全设施设计或者安全设施设计未按照规定报经安全生产监督管理部门审查同意,擅自开工的;
(三)施工单位未按照批准的安全设施设计施工的;
(四)投入生产或者使用前,安全设施未经验收合格的。
第二十九条已经批准的建设项目安全设施设计发生重大变更,生产经营单位未报原批准部门审查同意擅自开工建设的,责令限期改正,可以并处1万元以上3万元以下的罚款。
第三十条本办法第七条第一项、第二项、第三项和第四项规定以外的建设项目有下列情形之一的,对有关生产经营单位责令限期改正,可以并处5000元以上3万元以下的罚款:
(一)没有安全设施设计的;
(二)安全设施设计未组织审查,并形成书面审查报告的;
(三)施工单位未按照安全设施设计施工的;
(四)投入生产或者使用前,安全设施未经竣工验收合格,并形成书面报告的。
”。
建设项目安全设施三同时审批流程1建设项目安全设施“三同时”审批流程一、项目设立安全审查备案:、可行性研究报告。
、重点项目需要提供安全评价报告①非煤矿山建设项目;②生产、储存危险物品建设项目;③使用危险物品为生产原料和设施、设备构成重大危险源的建设项目;④冶金、有色行业建设项目;⑤投资总额万元及以上的化工(不包括危险化学品)建设项目;⑥投资总额万元及以上的建材、机械、轻工、纺织、烟草、商贸、军工、公路、水运、轨道交通、电力等行业建设项目。
、非重点项目提供安全条件论证报告。
、专家组评审意见。
(五人以上具备相关专业中级以上职称专家;专家组组长须外单位人员担任;专家签字须手写)。
、参与评审专家资质复印件。
工业生产建设项目安全设施审查意见书烟高安监项目〔〕审字〔**〕**号**************有限公司:根据《山东省工业生产建设项目安全设施监督管理办法》(省政府令第号)的规定,你单位提出的***************建设项目设立审查申请受理后,经审查:你单位提交的申请审查材料符合审查要求,允许立项和进行设计。
联系人:****** 联系电话:************(审查部门盖章)****年**月**日二、安全设施设计审查备案:、建设项目设计图纸。
、建设项目安全设施设计专篇。
(项目简况、危险因素辨识、防控措施、安全设施、分布图)、专家组评审意见。
(五人以上具备相关专业中级以上职称专家;专家组组长须外单位人员担任;专家签字须手写)。
、参与评审专家资质复印件。
工业生产建设项目安全设施审查意见书烟高安监项目〔〕审字〔**〕**号**************有限公司:根据《山东省工业生产建设项目安全设施监督管理办法》(省政府令第号)的规定,你单位提出的***************建设项目设计审查申请受理后,经审查:你单位提交的申请审查材料符合审查要求,允许施工建设。
联系人:****** 联系电话:***********(审查部门盖章)****年**月**日三、安全设施竣工验收备案:、建设部门对建设项目验收报告。
附件1“三同时”工作流程图附件2安全预评价报告评审主要资料及内容1.主要资料(1)立项材料(审批、核准、备案);(2)国土资源部门出具的矿区范围批复;(3)矿山开采可能造成地质环境影响的分析评估及审查意见(如果矿山开采可能造成地质环境影响的分析评估报告内容缺少原有井巷工程、采空区对改、扩建项目的影响,应由建设单位进行补充);(4)尾矿库岩土工程勘察报告(尾矿库扩容建设项目还应出具坝体稳定性分析报告);(5)可行性研究报告(小型采石场可出具开发利用方案);(6)安全预评价报告;(7)其他资料。
2.评审重点(应按照危险程度大小排序,由大到小)(1)是否有突发性透水的可能(例如地表河流、老窿存水、含水层以及上游水库、尾矿库等对项目的影响);(2)岩石移动边界一定距离外是否有河流、尾矿库、铁路、高压线塔、排土场、火药库等存在及其对项目影响;(3)项目是否存在大面积冒顶(确定新采空区及原采空区的大小及影响)可能;(4)提升设施是否符合规定要求且安全、可靠;(5)通风系统是否满足正常生产要求(风质、风量检测);(6)露天边坡角、阶段高度、平台宽度是否满足安全要求;(7)爆破范围内是否有高压线、民宅、公路等设施;(8)火药库及临时发放点的安全性评价;(9)地质灾害能否导致尾矿库溃(垮)坝(泥石流、山体滑坡、地震、洪水等);(10)尾矿坝基岩承载力能否满足安全要求,是否有泉水构造;(11)尾矿库库区地质条件是否复杂,对不良地质条件是否采取可靠的治理措施;(12)尾矿库溃坝波及范围(影响到周边村庄、场所、建构筑物厂矿等的范围);(13)防洪、泄洪设施是否满足要求;(14)评价范围界定是否清楚;(15)其他评价内容。
以上情况如果存在问题,必须针对问题提出具体措施并有明确、安全可靠的结论。
3.评价结论评价结论应包含以下内容:(1)按危害大小列出该项目存在的危险有害因素,给出安全设施设计原则及措施;(2)针对上述危险有害因素提出的安全设施及措施,如果在设计及施工中均已落实,则该项目在安全上的可行性结论。
建设项目职业病防护设施“三同时”工作流程图建设项目职业病防护设施“三同时”评审(验收)工作程序建设单位组织建设项目职业病危害预评价、职业病防护设施设计、职业病危害控制效果评价的评审和职业病防护设施验收,适用本程序。
一、准备阶段(一)在有关评价、设计已完成或职业病防护设施验收条件成熟的情况下,建设单位应当组织制定相关评审(验收)工作方案,明确主持评审(验收)相关负责人以及任务分工。
建设单位主要负责人应当主持评审(验收)工作,如因特殊情况无法参加的,由其书面授权指定有关负责人主持评审(验收)工作。
建设单位应提前邀请参与评审(验收)的人员,并根据不同阶段要求通知有关评价、设计、施工和监理单位参会。
建设单位应当在职业病防护设施验收前20日将验收方案(见附件3)向管辖该建设项目的安全生产监督管理部门进行书面报告。
(二)建设单位邀请参与评审(验收)的职业卫生专业技术人员主要是指以下三类人员:各级安全生产监督管理部门专家库的职业卫生专家;熟悉职业卫生法律、法规、技术标准和相关工艺、防护设施,从事职业卫生管理、有关工程、技术工作且具有中级及中级以上专业技术职称的人员;具有职业病危害检测与评价、职业健康监护等相关专业经验的注册安全工程师。
属于职业病危害严重的建设项目,其建设单位主要负责人或其指定的负责人应当组织外单位(即不属于本建设单位)的职业卫生专业技术人员参加评审(验收)工作。
建设单位应当由3名以上(总人数为单数)职业卫生专业技术人员组成评审(验收)组。
与建设项目建设单位、评价单位、设计单位、施工单位或者监理单位等相关单位存在直接利害关系的人员不能作为评审(验收)组成员。
建设单位组织职业病防护设施“三同时”与安全设施“三同时”一并评审(验收)时,评审(验收)组成员中职业卫生专业技术人员不得少于3人。
(三)按拟定时间、地点召开评审(验收)会议,参会人员在签到表上签字,建设单位负责人致辞,介绍参加会议人员以及评审(验收)工作的议程;(四)主持人宣布评审(验收)组成员,并推选出评审(验收)组组长。
建设项目安全设计审查和安全设施竣工验收核准办理流程图设计单位根据《安全预评价报告》、专家评审意见、批复文件和国安全生产监督管理部门审查初步设计说明书、安全专篇、建设单位填《建设项目安全设施初步设计审核书》。
安全监管部门建设单位提交建设项目安全设施单项验收申请建设单位委托安全评价中介机构进行安全验收评价安全监管部门进行项目安全设施专项验收(20个工作日)建设单位填《建设项目安全设施验收审核书》。
安全监管不合格非验收评建设单位委托设计单位编制拟建项目的可行性研究报告建设单位填《建设项目安全设施可研审核书》,安全监建设单位委托中介机构进行安全预评价报安监局组织审查、批复非预评安全生产监督管理部门审查拟建项目的可行性研究报告不合格整改建设单位申请总投资一亿元以下项目市安全生产监督管理局总投资一亿元以上项目高新园区安全生产监督管理高新园区安全生产管辖范围建设项目安全设计审查和安全设施竣工验收审批办事指南一、需要办理安全设计审查和安全设施竣工验收审批的建设项目在高新园区安全生产管辖范围内的新建、改建、扩建项目、技术改造和引进项目(以下简称建设项目)必须向安全生产监督管理部门提出安全设计审查和安全设施竣工验收审批申请。
上述建设项目不包括民用建筑、居民住宅和市政道路、一般桥梁等工程。
二、建设项目安全设计审查和安全设施竣工验收审批管理权限根据大连市安全生产监督管理局《关于生产经营性建设项目安全设施“三同时”属地分级管理有关事宜的通知》(大安监发[2007]265号)文件规定:(一)总投资一亿元(含本数)以上的建设项目、危险化学品项目、非煤矿山项目、烟花爆竹项目、民用爆炸物品项目等高危行业生产经营建设项目,由市安全生产监督管理局负责审批(国家、省安全生产监督管理局负责审批的项目除外)。
(二)总投资一亿万元以下的建设项目,由高新园区安全生产监督管局负责审批。
三、建设项目安全设计审查和安全设施竣工验收审批办理流程图(附后)四、建设项目的安全预评价和安全验收评价根据《安全生产法》和国家发展和改革委员会、国家安全生产监督管理局《关于加强建设项目安全设施“三同时”工作的通知》(发改投资[2003]1346号)的规定,对矿山建设项目和用于生产、储存危险物品、使用危险化学品等高危险行业的建设项目(详见五、(一)2),建设单位应委托具有资质的安全评价中介机构进行安全生产评价,其费用由建设单位承担,安全评价收费依据《国家计委关于印发建设项目前期工作咨询收费暂行规定的通知》(计价格[1999]1283号)。
建设项目(工程)安全设施“三同时”审批流程图
提出书面申请
县安全生产监督管理局
接受申请
___ J ____ 提出审查意见
1、县安全生产监督管理局对初步设计《安全专篇》进行审查;
2、对于安全风险较大的建设项目(工程)组织专家对《安全专篇》进行审查,提出审查意见;
3、审查意见以书面形式一次性告之建设单位;
4、设计部门修改,完善后的《安全专篇》县安全生产监督管理局提出审查意见;
5、自受理申请之日起20个工作日内提出审查意见。
1、县安全生产监督管理局对《安全专题报告》进行审查;
2、对于安全风险较大的建设项目(工程),组织专家对《验收评价报告》进行审查,提出审查意见;
3、组织专家进行现场核查;
4、审查意见以书面形式一次性告之建设单
位;
5、自受理申请之日起20个工作日内提出审查意见。