多功能汽车行驶记录仪的系统设计概要
- 格式:doc
- 大小:232.50 KB
- 文档页数:16
书山有路勤为径;学海无涯苦作舟
多功能汽车行驶状态记录仪的设计
随着飞机飞行数据记录仪在空运管理方面的成功运用,汽车行驶状态记录仪已陆续在许多国家和地区大量使用。
早在1990年以前,欧共
体就通过了在汽车上安装行驶状态记录仪的立法,并具体规定了商用车必须安装行驶状态记录仪。
这一立法要求其欧洲的15个成员国在十年内给
在用的900万辆商用车安装这一装置。
美国、日本、马来西亚及香港等国家和地区也相继广泛使用了汽车行驶状态记录仪。
统计资料表明,汽车行驶状态记录仪的使用,使交通事故率降低了37%~52%,大大减少了人员伤亡和财产损失,产生了显着的社会效益和经济效益。
可见,准确记录运行过程,对事故防患于未然是极为重要的。
该汽车行驶状态记录仪在发生交通事故时,能客观、全面地记录交
通事故发生时车辆行驶的各种状态和司机的操作行为,为交通事故分析提供真实、有效、科学的有关车辆行驶的原始数据,并可提供事故分析功能,帮助有关部门快速确定事故原因,以保障事故双方(或几方)的合法权益;
在正常营运中,又是管理部门加强监督和管理的强有力工具,帮助管理人员全面了解汽车的运行情况;在车辆发生故障时,它又可提供故障诊断功能,为维修人员判断故障提供可靠、准确的科学依据。
汽车行驶状态记录仪的推广,将在遏止疲劳驾驶、车辆超速等严重交通违章、约束驾驶人员驾驶行为、预防道路交通事故、保障车辆行驶安全、提高营运管理水平等诸多方面发挥重要作用。
1 系统组成及主要功能
专注下一代成长,为了孩子。
汽车行驶记录仪设计方案与发展研究摘要:近年来,伴随着社会经济的转型与升级,我国交通事业朝气蓬勃发展的基础上,引发很多问题,如:交通拥堵、频繁发生交通事故同时难以认定、燃料浪费、城市环境污染严重等。
为了更好地处理这些问题,全球各个国家提倡研究一种智能交通运输系统。
汽车行驶记录仪作为ITS不可缺少的主要构成元素,其不仅可以详细记录汽车在行驶过程中的各种状态,而且还可以清晰记录车内外的视频图像,并且还具备接收GPS信号,同时利用无线网络传输给监控中心的功能。
所以非常有必要开发汽车行驶记录仪。
关键词:汽车;行驶记录仪;数据采集一、行车记录仪方案所用的技术(一)卫星定位技术卫星定位使用的原理为把高速运动卫星一瞬间位置当作已知晓的起算数据,使用空间距离后方交会的方法,明确待测点位置。
应用这项技术,在车辆中安装卫星定位设备后,将其所在位置当作待测点,这样就能够得到表征位置的坐标信息。
在车辆中安装卫星定位功能记录仪之后具有的优势为:首先,扩展了记录仪数据的录入范围,经过解析回放位置数据,对车辆的行驶轨迹进行分析,根据其他记录设局,能够直接看出车辆行驶过程。
其次,使用定位信息动态更新的特征,对记录仪的实时时间等参数进行动态检查,基于适当调整授权的前提下,减少了管理成本;最后,使用GPS信号对车辆的行驶速度进行分析,可以补充记录仪传感器速度信号。
与此同时,卫星定位功能在使用方面还存在一系列问题:首先,定位信号容易受到干扰,GPS信号容易出现突变或者是失真,需要选择处理。
鉴于这种情况,GPS信号不可以直接当作判断超速、疲劳驾驶的根据;其次,削弱主机抗干扰的能力。
为了实现理想的接收效果,当使用卫星信号接收天线都需要使用外置式,利用导线与主机连接,增多了干扰传输的手段,当设计硬件时需要对抗干扰措施进行综合考量。
(二)移动通信技术鉴于动态监控的要求,大多数具有卫星定位功能的记录仪都配备了具备CDMA或者是GPRS等移动通信网络的无线通信功能。
行车记录仪系统功能体系架构
行车记录仪系统功能体系架构图
行车记录仪大概要实现如下的功能:
第一、对汽车行驶速度、距离及时间的检测。
第二、对驾驶员驾驶活动的检测以及让驾驶员手动进入控制设备的记录活动。
第三、对四种不同类型的卡的插入拔出检测及在其中对相关信息的读写操作。
第四、液晶显示相关信息及对数据的打印输出、下载等。
第五、对设备在运行过程中所产生的事件和错误的检测、报警输出等操作。
第六、对设备的自检、校准、时间调整及对不同类型的数据访问权限的设定。
第七、CAN总线实现行车记录仪相关数据与其他车辆单元数据间的交互。
其具体系统功能模块及其相互关系参考上图。
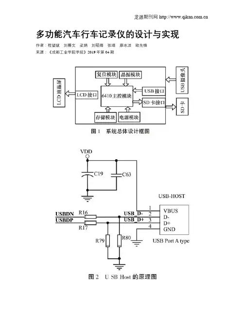
多功能汽车行车记录仪的设计与实现作者:程望斌刘馨文梁娟刘硕卿张靖廖冰洁欧先锋来源:《成都工业学院学报》2019年第04期摘要:对汽车行驶记录仪总体设计方案进行分析和论证,设计了以S3C6410为核心器件的视频采集和图像处理系统。
重点介绍图像采集处理系统的功能模块和实现过程,分析系统软件的实现方法和过程,并对系统功能进行验证。
结果表明:该设计可实现视频实时采集、记录与显示功能,具有功能多、清晰度高、效果好等优势。
关键词:S3C6410;Tiny6410;行驶记录仪;视频采集中圖分类号:TP216.2 文献标志码:A文章编号:2095-5383(2019)04-0026-05Design and Implementation of Multi-function Vehicle Traveling RecorderCHENG Wangbin1, LIU Xinwen2, LIANG Juan1, LIU Shuoqing1,ZHANG Jing1,LIAO Bingjie1,OU Xianfeng1(1.College of Information Science and Engineering, Hunan Institute of Science and Technology,; Yueyang 414006,China;2. College of Information Engineering,Xiangtan University,Xiangtan 411105,China)Abstract:The vehicle traveling recorder records video information in the course of vehicle driving through camera, which is great significance to clarify the responsibility of traffic accidents,standardize driving behavior and reduce traffic violations.In this paper, the overall design scheme of the vehicle traveling recorder was analyzed and demonstrated, and video acquisition and image processing system based on S3C6410 was designed. The function module and implementation process of image acquisition and processing system were mainly introduced. The implementation method and process of system software were analyzed. And the system function was verified. The results show that the designed vehicle traveling recorder can achieve the real-time video acquisition, recording and display functions, and has the advantages of multiple functions, high definition and good effect.Keywords:S3C6410; Tiny6410; driving recorder; video capture随着车辆的增多,交通事故时有发生。
题目汽车行驶状态记录仪系统设计摘要汽车行驶状态记录仪是一种安装在汽车上实现类似于飞机“黑匣子”功能的设备,它可以全程记录汽车行驶数据,并通过对所记录的行驶信息数据进行分析,从而对车辆的各种状况予以精确的掌控。
本课题主要研究基于单片机的汽车行驶状态记录仪系统设计,实现对汽车行驶过程中实时信息的采集、处理、传送和存储。
首先,汽车内部霍尔传感器传过来的一对分差信号经过适当的变换变成一个脉冲信号提供给单片机系统,然后单片机系统将采集到的信息经过适当的运算处理之后存储起来并进行处理。
另外,当汽车超速时,系统会发出警报,以提醒司机减速。
本课题设计的汽车行驶状态记录仪可有效预防驾驶员违章驾驶、遏制重大交通事故,具有准确性、高效性和易用性等。
关键词:单片机;记录仪;数据采集;可编程逻辑控制AbstractVehicle traveling data recorder is a kind of facility that install at the vehicle realizing the function that similar to airplane’s “black box”. It can write down the vehicle traveling data all the way, and analyze the data entered as well, thereby to handle all kinds of circumstances precisely that vehicle may happen.This topic is mostly researching the system design of the vehicle traveling data recorder, which is based on the micro control unit (MCU), realize the collection, treatment, transmission and storage to the vehicle’s real-time information while driving. First, a differential signal passing from the internal Hall sensor of the vehicle through proper transform into a pulse signal providing to the MCU system. Then the SCM system will get the collected information proper computing and then store up as well as conducting. In addition, the system will alarm when the vehicle is speeding, to remind the driver to slow down. The vehicle traveling data recorder designed this topic can effectively prevent the driver from illegal driving, contain major traffic accident, which is accuracy, efficiency and ease-of-use, etc.Key words: MCU; Recorder; Data acquisition; Programmable logic目录1 引言 (1)2 汽车行驶状态记录仪系统的设计方案 (1)2.1 功能和技术指标 (1)2.2 系统总体结构 (1)3 系统硬件设计 (2)3.1 记录仪的供电 (2)3.2 信号采集模块 (3)3.3 单片机模块 (5)3.4 可编程逻辑器件 (7)3.5 日历时钟芯片 (10)3.6 液晶显示模块 (13)3.7 信息的存储 (15)4 系统软件设计 (17)5 分析与总结 (18)参考文献 (19)谢辞............................................................................................ 错误!未定义书签。
汽车行驶状态记录仪设计1 绪论汽车行驶记录仪(Vehicle travelling data recorder),亦称“汽车黑匣子”,是安装在车辆上,对车辆行驶速度、时间、里程以及有关车辆行驶的其他状态信息进行记录、存储并可通过接口实现数据输出的数字式屯子记录装置。
汽车行驶记录仪能完整、准确地记录汽车行驶状态下的有关情况,能将汽车行驶轨迹完整记录,并通过专用软件在电脑上再现,对遏止疲劳驾驶,车辆超速的违章、约束驾驶员不良行为,分析鉴定事故,提高交通的管理执法水平和运输管理水平、保障车辆运行安全也有着重要的实际作用及意义[1]。
1.1 研究背景随着国家经济和社会的快速发展,人流、物流越来越频繁,中国公路运输业也得到了长足发展。
汽车保有量以年均15%以上的速度增长,2004年底达到2742万辆。
但就在人们感到出行越来越方便,物流配送越来越准时、快捷的同时,交通事故、特大交通事故也在频频发生,给国家、社会和个人造成极大的生命,财产损失,影响着千百万人的幸福生活。
据新浪网报道,2005年,我国共发生公路交通事故450254起,造成死亡98738人,469911人受伤,直接财产损失18.8亿元,平均每天就有270人因公路交通事故死亡,而这一数字是2001年以来,最少的。
造成事故的主要原因是驾驶员有意或无意违规驾驶。
其中,超速、超载和超时(疲劳驾驶)堪称马路杀手三甲。
而交通事故一旦发生,事故现场往往又被认定为唯一责任分担依据。
这就为引发一系列人为或非人为因素的干扰提供了可能,从而直接威胁到交警断案的准确度、可信度问题。
更有甚者伪造事故现场、破坏和转移事故现场,以避责或骗保[2]。
为了有效遏制驾驶员的超速和超时驾驶等违章行为,预防和降低交通事故的发生,或事故发生后,交通执法人员能拥有更充分的证据信息进行事故责任认定,以提高断案的公正性、准确性,我们除了加强交通法规的宣传教育,增添大批警力在关键路段的执法检查,利用“电子眼”等高科技手段监控某些交叉路口或路段的车辆行驶情况外,更需要加强汽车行驶状态数据的实时收集。
GPS汽车行驶记录仪系统概述GPS汽车行驶记录仪,俗称GPS记录仪一体机。
是对车辆行驶速度、时间、里程以及有关车辆行驶的其他状态信息进行记录、存储并可通过接口实现数据输出的数字式电子记录装置。
内部集成有GPS定位模块和GPRS/CDMA通信模块,可以通过GPRS/CDMA上传定位信息,超速、疲劳、疑点数据,下发文字信息,上传图片等。
欧盟、日本等国家早在70年代就开始以立法的形式在部分客运车辆及货车上强制安装使用记录仪,目前已经基本安装完毕。
2004年5月1日起施行的《道路交通安全法》,其《实施条例》第14条规定:用于公路营运的载客汽车、重型载货汽车、半挂牵引车应当安装、使用符合国家标准的汽车行驶记录仪。
目前全国各地客运公司、公交集团、旅游运输公司、物流公司、危险品运输公司及企事业单位都在有序地安装汽车GPS行驶记录仪。
产品特点1.一体化结构设计本产品采用一体化结构,集成了汽车行驶记录仪和车载GPS终端的功能,合理设计,实现记录仪与车载终端的优势互补。
2.记录仪采用汽车音响主机位(DIN标准)尺寸标准。
机身采用DIN尺寸标准,方便利用汽车预留的DIN空间进行安装,查看和采集数据也非常方便。
同时还设计了固定件,在安装空间被占用了可以把记录仪固定在汽车驾驶台面上。
3.人性化显示界面在主界面直接显示GPS卫星定位状态、通信网络状态、车辆行驶信息、驾驶员信息等4.可扩展性强预留了汽车CAN总线功能,可根据客户需要添加扩展功能:摄像拍照功能,语音播报,通话功能,断油断电功能,油量采集功能,LED广告屏等接口。
5.精度更高速度误差最大误差为0.5 Km/h;里程的分辨率优于0.1Km;连续记录24h的行驶时间记录误差为-2.3s;产品精度都优于国标水平,为客户提供更精准的数据。
6.高性能汽车行驶记录仪基于32bit的ARM嵌入式双核MCU的基础上开发的嵌入式操作系统,采用铁电存储器。
具有处理读写速度快,写入数据无限次数、数据保存时间长等优点。
万方数据专题技术与工程应用导航定位信号,解算出位置、速度和方向等信息,进而对车辆进行遥控指挥。
1.2车辆行驶记录仪组成记录仪车载设备由中央处理器、信息采集单元、信息处理单元和数据通信组成。
中央处理器是记录仪车载设备的核心;信息采集单元由传感器和GPS接收机等组成,将车辆的制动、转向和车速等信号传给中央处理器进行处理,信息处理单元由数据存储器等电路组成,用于存储一段时间内的车辆行驶信息。
作为人机交互界面的信息显示单元用来向驾驶员以及工作人员提供车辆的实时信息和参数设置信息,一般由液晶显示模块LCD和LED等器件组成。
数据通信单元是车辆行驶记录仪同外界进行信息交换的通道,提供串口、USB、无线通信模块将记录仪所记录的车辆行驶信息的输出分析以及同控制中心进行实时通讯等。
监控中心通过数据通信接口采集记录仪车载设备上传的数据,对数据进行分类处理,管理部门根据系统设置的权限通过监控中心系统软件向记录仪发送信息、指令。
系统总体设计结构框图如图1所示。
车辆行驶记录仪系统车载设备信患处理单元IC-乍/RTC/lE2PROM信息显示单元车速/转速/行程/压力/温度/时间数据通信单元I无线通信模块/IUSB/串口鳖笪主!竖篓蓁医噩圆服务器图1系统总体设计结构2系统软件总体设计2.1监控系统软件总体结构记录仪监控系统软件具备数据通信、数据存储和数据分析处理的功能,可以设置车辆参数、数据传输方式(串口、GPRS通信),从USB接口导人数据,数据曲线分析等,其总体设计如表1所示。
442008RadioEngineeringV01.38No.8衰1监控系统软件总体结构设计监控系统功能监控系统功能明细系统设置服务中-C,/数据传输方式设置,用户管理驾驶员代码,特征系数车辆设置车辆VIN号,车牌号码车辆记录仪时钟,初始化传感器车辆管理车辆建档监控系统功能监控系统功能明细驾驶证号码,车辆特征系数等车辆设置数据查询事故疑点数据,疲劳驾驶记录最近2d或360h的速度/累计行驶里程一般行驶速度/事故疑点数据曲线分析数据分析处理导人数据2.2监控系统主要功能车辆行驶记录仪监控系统处理的信息大致可分为:记录仪信息、驾驶员信息、车辆基本信息、车辆行驶信息、报警信息、用户信息和服务中心设置等,具有如下主要功能:①系统设置:服务中心设置用于设置监控系统服务中心与车载设备远程通信时基本参数的设置包括IP地址和端口号等;用户信息管理用于监控系统用户权限的分配;数据传输方式设置记录仪采用串口或GPRS传输数据的方式;②车辆设置:用来下传数据给记录仪以设置车辆特征系数和记录仪时钟等车辆信息;③车辆管理:用于车辆建档,建立车辆的基本信息,如车牌号、车辆ID号、车辆类型及车辆单位等信息;④数据查询:查询驶员代码及对应的公安交通管理部门核发的机动车驾驶证证号,事故疑点数据:记录仪以0.28的时间间隔持续记录并存储停车前20s实时时间对应的车辆行驶速度值及车辆制动状态信号,查询最近2个日历天内或360h的各个连续驾驶时间以及其中的疲劳驾驶时间段,最近2个日历天内或者360h的累计行驶里程和速度:⑤数据分析处理:根据记录仪上传的行驶信息,绘制事故疑点数据曲线:以208数据为一组绘制曲线,分页显示,绘制行驶速度记录曲线:以100min行驶速度数据为一组绘制曲线,分页显示;导人数据:利用USB接口导入记录仪记录的数据。
汽车行驶状态记录仪设计1 绪论汽车行驶记录仪(Vehicle travelling data recorder),亦称“汽车黑匣子”,是安装在车辆上,对车辆行驶速度、时间、里程以及有关车辆行驶的其他状态信息进行记录、存储并可通过接口实现数据输出的数字式屯子记录装置。
汽车行驶记录仪能完整、准确地记录汽车行驶状态下的有关情况,能将汽车行驶轨迹完整记录,并通过专用软件在电脑上再现,对遏止疲劳驾驶,车辆超速的违章、约束驾驶员不良行为,分析鉴定事故,提高交通的管理执法水平和运输管理水平、保障车辆运行安全也有着重要的实际作用及意义[1]。
1.1 研究背景随着国家经济和社会的快速发展,人流、物流越来越频繁,中国公路运输业也得到了长足发展。
汽车保有量以年均15%以上的速度增长,2004年底达到2742万辆。
但就在人们感到出行越来越方便,物流配送越来越准时、快捷的同时,交通事故、特大交通事故也在频频发生,给国家、社会和个人造成极大的生命,财产损失,影响着千百万人的幸福生活。
据新浪网报道,2005年,我国共发生公路交通事故450254起,造成死亡98738人,469911人受伤,直接财产损失18.8亿元,平均每天就有270人因公路交通事故死亡,而这一数字是2001年以来,最少的。
造成事故的主要原因是驾驶员有意或无意违规驾驶。
其中,超速、超载和超时(疲劳驾驶)堪称马路杀手三甲。
而交通事故一旦发生,事故现场往往又被认定为唯一责任分担依据。
这就为引发一系列人为或非人为因素的干扰提供了可能,从而直接威胁到交警断案的准确度、可信度问题。
更有甚者伪造事故现场、破坏和转移事故现场,以避责或骗保[2]。
为了有效遏制驾驶员的超速和超时驾驶等违章行为,预防和降低交通事故的发生,或事故发生后,交通执法人员能拥有更充分的证据信息进行事故责任认定,以提高断案的公正性、准确性,我们除了加强交通法规的宣传教育,增添大批警力在关键路段的执法检查,利用“电子眼”等高科技手段监控某些交叉路口或路段的车辆行驶情况外,更需要加强汽车行驶状态数据的实时收集。
本科生毕业设计基于51单片机汽车行驶状态记录仪系统设计独创性声明本人郑重声明:所呈交的毕业论文(设计)是本人在指导老师指导下取得的研究成果。
除了文中特别加以注释和致谢的地方外,论文(设计)中不包含其他人已经发表或撰写的研究成果。
与本研究成果相关的所有人所做出的任何贡献均已在论文(设计)中作了明确的说明并表示了谢意。
签名:年月日授权声明本人完全了解许昌学院有关保留、使用本科生毕业论文(设计)的规定,即:有权保留并向国家有关部门或机构送交毕业论文(设计)的复印件和磁盘,允许毕业论文(设计)被查阅和借阅。
本人授权许昌学院可以将毕业论文(设计)的全部或部分内容编入有关数据库进行检索,可以采用影印、缩印或扫描等复制手段保存、汇编论文(设计)。
本人论文(设计)中有原创性数据需要保密的部分为(如没有,请填写“无”):签名:年月日指导教师签名:年月日摘要汽车行驶状态记录仪是一种安装在汽车上的特殊的数字式电子记录装置。
它可以全程记录汽车行驶数据,并通过对所记录的行驶信息数据进行分析,精确掌控汽车的各种状况。
利用它,可有效预防驾驶员违章驾驶、遏制重大交通事故,约束驾驶员的不良驾驶习惯,为执法人员进行事故的分析、处理提供科学的原始数据,因此在交通运输管理中发挥着十分重要的作用。
针对目前汽车行驶记录仪的研究现状,本文设计并实现了一种基于51单片机的汽车行驶状态记录仪,该汽车行驶状态记录仪具有准确性、可靠性、高效性、易读性和价格低廉等特点。
关键词:汽车行驶状态记录仪;单片机;C51;液晶显示;ABSTRACTVehicle traveling data recorder(VTDR) is a special digital electronic recorder which used to acquire and store vehicle’s traveling speed,time-distance and other related statusinformation,and then display data via LCD and RS232 interface.The use of vehicle travel- ling data recorder carol not merely halt the break in traffic rules and regulations, restrain the drivers from being drive at bad habit,and call prevent the traffic accident effectively, it can also offer scientific initial data for the tipstaffs carries on the accidents.So it plays a very important role in transportation management.Aiming at the actuality of the VTDR research,a VTDR is designed in this paper which bases on the 51 MCU.It also has some characteristics such as real-time,reliable,high dependability, read-easy and less cost.Key words: Vehicle Traveling Data Recorder;Single Chip Microcomputer;C51;LCD Display目录1 绪论 (1) (1) (2) (3)2 汽车行驶状态记录仪总体方案设计 (3) (3) (4) (4) (5)3汽车行驶状态记录仪硬件设计与实现 (6)记录仪的供电 (6)信息采集模块 (7) (8) (9) (12) (14) (15)4 汽车行驶状态记录仪软件设计与实现 (16)软件流程 (16) (18)获取状态信息 (20)时间信息的设置和获取 (21)键盘输入 (22)液晶显示 (25)IC卡操作 (26)5 分析与结论 (28)6 后续研究与发展前景 (29)附录 (30)参考文献 (31)致谢 (31)1 绪论目前,我国交通建设持续快速发展,车辆的数目急剧增多,道路交通安全形势相当严峻,这样提高运输企业规模与管理等级,加强道路交通安全管理及运输等问题越来越受到社会和行业的关注。
嵌入式技术电子测量技术ELECT RON IC MEASU REMENT T ECH N OLOGY 第34卷第3期2009年3月多功能汽车行驶记录仪的系统设计彭李明连迅(武汉理工大学武汉430079摘要:本文详细阐述了多功能汽车行驶记录仪的技术要求,并提出了解决方案,该系统集数据记录存储、数据采集、数据统计分析为一体。
本文着重分析了汽车行驶记录仪的硬件结构设计和软件流程设计,并对原型样机进行了性能和功能测试,对记录仪今后的发展进行了展望。
关键词:ARM;嵌入式系统;汽车行驶记录仪中图分类号:T P2文献标识码:ASystem design about multi2function vehicle traveling data recorderP eng Liming Lian Xun(Wuhan U niver sity of T echnology,Wuhan430079Abstr act:Vehicle T raveling Data Recorder(VTDRis a digital electronicdevice,which can r ecord vehicle speed,r eal t ime,mileage and vehicle p s other status informat ion.In spite of owning the advanced technique,the aboar d t raveling recorders ar e unfit for our count ry in applicability and price.It is urgent ly necessary to design and produce the pr oducts.I n this article,a Vehicle Traveling Data Recorder system is int roduced in details about technology r equirement and achievement.The author discusses the Vehicle Traveling Data Recorder including the har dwar e and software,test the pr otot ype machine and put forwar d to the summarization and the pr ospect as the end.Keywords:ARM;embedded syst em;VTDR0引言汽车行驶记录仪(又称汽车黑匣子是一种使用在汽车上的数字式电子记录装置[1]。
这种装置能对车辆的行驶速度、时间、里程以及有关车辆行驶的其他状态信息进行记录存储并可通过接口实现数据输出。
汽车行驶记录仪的使用,对抑制疲劳驾驶、车辆超速等交通违章、约束驾驶人员的不良驾驶行为、保障车辆行驶安全以及道路交通事故的分析鉴定具有重要的作用[2]。
本文根据汽车行驶记录仪国家标准GB/T19056-2003,开发设计了一种功能强大、性能稳定、体积小巧且适合安装的多功能汽车行驶记录仪,采用的是三星公司的32位嵌入式A RM处理器S3C2440和Linux操作系统,本文主要阐述了汽车行驶记录仪的硬件架构和软件系统设计。
1汽车行驶记录仪基本功能根据国家颁布的汽车行驶记录仪的标准(GB/T 19056-2003[3],本系统主要具备以下功能:1.1自检功能记录仪在通电开始工作时,应首先进行自检,自检正常后应以绿闪信号及显示屏显示方式指示工作正常,如有故障则应以红闪信号及显示屏显示方式指示故障信息。
1.2数据采集、记录和存储功能能够对实时时间、日期、驾驶时间、车辆行驶速度、行驶里程等数据进行测量、记录和存储,并保证存储的数据在较长时间内不丢失。
需要被采集的输入信号包括三类:模拟信号输入、数字信号输入以及开关量信号输入。
1.3数据处理功能记录仪能够按照具体要求,对所采集到的数据实时的进行处理,并在必要的情况下采取相应的措施对车辆进行管理。
1.4驾驶员身份记录功能记录仪可以实现驾驶人员身份记录功能,同时可以记录驾驶员代码和公安交通管理部门核发的机动车驾驶证证号。
1.5数据显示功能记录仪的显示面板能准确显示各类信息,包括驾驶员代码、实时时间、实时日期、实时车速以及各类报警提示等。
1.6操作功能记录仪具备按键操作功能,应用于数据打印输出以及数据的上传和下载以及车辆特征系数的设定等操作。
#143#第34卷电子测量技术1.7 数据打印输出功能记录仪能够通过针式微型打印机打印出车辆信息、驾驶员信息、疲劳驾驶及超速驾驶时段等信息。
1.8 数据通信功能记录仪能够通过多种方式(包括RS232串行接口、U SB 接口以及I2C 总线接口与外部环境进行通信,实现数据的交互。
1.9 掉电保护功能数据对记录仪至关重要,如果由于某些意外情况导致记录仪掉电,系统应能及时检测,并做好当前数据的保存工作。
1.10 数据分析软件系统对记录仪系统参数进行设置与管理,包括用户权限的管理、驾驶员信息的管理、汽车信息的管理以及车辆特征系数的设定等,并能通过RS232串行接口进行数据传输或USB 接口读写磁盘数据,即完成数据上载(从记录仪传输到PC 机与数据下传(从PC 机传输到记录仪。
2 系统硬件设计本系统由主机部分和上位机管理分析软件二部分组成。
其中主机部分包括:信号输入、数据保存和处理、数据显示、数据通信、复位电路和掉电保护电路等部分。
系统以一个32位的RISC 微处理器为核心[4],对外部模拟输入、数字输入以及开关量输入3种信号分别进行采集。
需要保存的数据经过处理后存储于内部大容量存储器中,实时数据(如实时车速、实时时间及报警信号等可通过显示面板输出显示。
系统总体方案如图1所示。
图1 系统总体方案复位电路不仅能够复位系统,同时还借用专用微处理器电源监控芯片来提高系统的可靠性,从而保证RISC 微处理器对电源、时钟源等诸多方面提出的较高要求。
时钟电路提供实时时钟,当发生超速、疲劳驾驶等情#144#彭李明等:多功能汽车行驶记录仪的系统设计第3期况时,处理器从实时时钟电路读取实时时间进行处理和保存,以供日后打印输出。
掉电保护电路为实时数据的保存提供了一种安全机制。
当系统供电电压低于某个特定值时,掉电保护电路认为掉电发生,于是触发相应的中断。
在中断处理程序中,处理器将对当前尚未保存的实时数据分别处理和存储,从而避免数据的丢失。
系统具备U SB接口,当插入U SB磁盘时,可利用主控U SB功能,将存储器中的数据导入磁盘中。
上位机软件可利用此USB磁盘采集到的数据进行数据分析和车辆、人员管理。
系统提供的CAN2BUS接口可以方便记录仪与车内其他带有CAN2B U S接口的仪表进行通信,这是系统的扩展功能。
上位机管理分析软件是提供给车辆管理中心人员使用,一方面它可以采集管理中心属下的所有车辆信息和驾驶员信息,进行统一编号和管理;另一方面它可以采集车辆行驶的实时数据,掌握驾驶员的驾驶情况。
此外它还可对发生事故的车辆进行事故分析鉴定,为交通部门和执法部门提供相应的交通事故鉴定报告。
经过合理规划和多次比较,系统最终采用的设计方案如下:1处理器:三星32位RISC处理器S3C2440。
2存储器:NandFlash存储器K9F1208U0A64M字节;2片SDRAM存储器4Banks@4Mbits@16bit的K4S561632C;铁电FM24C256存储器。
3信号采集:模拟信号的采集:利用S3C2440内置的A/D转换器进行采集;数字信号的采集:利用S3C2440内部定时器的捕捉功能进行采集;开关量输入信号采集:采用MC33993开关量检测芯片进行采集。
4数据显示:MSC2G12864,LCD液晶显示器,128@64点阵。
5外扩实时时钟:PCF8563。
6U SB主控器:CYPRESS公司的USB H ost/Slave SL811H S芯片[6,7,9]。
7驾驶员身份识别:直接通过按键,输入驾驶员的信息资料来确认身份。
8上位机软件与主机模块通信:RS232串口通信。
3主程序设计汽车黑匣子作为一个记录汽车运行状态的仪器,在无人控制的环境下,因此需要随汽车开始运行而自动运行。
本汽车黑匣子的运行方式为:在系统上电后开始运行系统引导程序B oot loader,通过Boot loader调用嵌入式Linux 内核,在操作系统运行后,操作系统自动启动本系统的主程序[5]。
系统软件采用中断服务程序配合CPU集中控制的结构。
主控程序负责系统初始化、操纵每个模块的硬件设备并与之交互数据;而各个模块用中断的方式向主控程序发出请求,要求主控程序完成相应的操作。
主程序流程图如图2所示。
图2主程序流程图4原型样机测试本系统已经顺利完成,并研制出原型样机。
通过将原型样机安装在试验用车并进行实车走行测试的方式,完成了对原型样机路试的性能、功能测试。
4.1电气性能测试系统电气性能测试主要包括电压适应性试验、电源极性反接性能试验、电源过电压性能试验和断电保护性能试验。
具体测试见表1。
#145#第34卷电子测量技术表1试验结果标准电源电压(伏特电压适应性波动范围(伏特极性反接试验电压(伏特过电压(伏特样机试验结果(1万km走行试验129~1614?0.124样机数据记录、显示、打印输出、数据通信等各项功能均正常;能承受5min的极性反接试验,无其他电气故障;能承受3min的过电压试验;断电后,自动保存的数据30d不丢失2418~3228?0.236样机数据记录、显示、打印输出、数据通信等各项功能均正常;能承受3min的极性反接试验,无其他电气故障;能承受2min的过电压试验;断电后,自动保存的数据20d不丢失3627~4842?0.354样机数据记录、显示、打印输出、数据通信等各项功能均正常;能承受3min的极性反接试验,无其他电气故障;能承受1min的过电压试验;断电后,自动保存的数据15d不丢失4.2原型样机其他技术规格参数技术规格参数如表2所示。
表2原型样机其他技术规格参数编号项目规格1工作电压DC:12V/24V/36V2工作温度-20~70e3相对湿度20%~90%4采样频率0.2s5主存储器容量64M6车速测量范围0~300km/h7里程范围0~9999999.9km8数据通讯方式RS232、USB、CAN9打印机针式打印机10显示方式LCD液晶显示器11采集信号开关量输入、模拟量输入、脉冲信号输入4.3原型样机功能测试安装原型样机的试验用车,在30天内走行正常,各项功能满足设计要求,具体如表3所示。