电液比例控制系统分析与设计
- 格式:pdf
- 大小:990.45 KB
- 文档页数:50
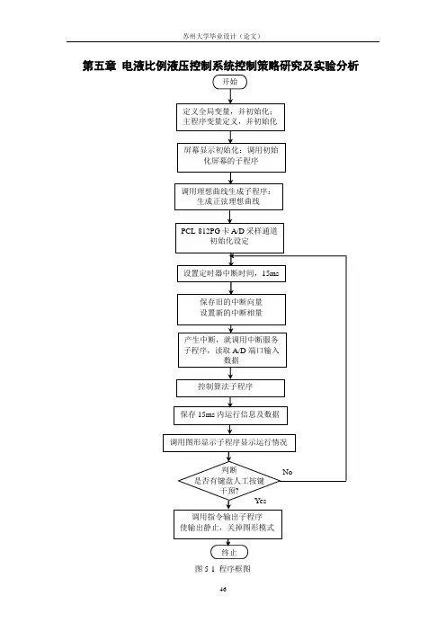
第五章电液比例液压控制系统控制策略研究及实验分析图5-1 程序框图§5.1 电液比例液压控制系统的增量式PID 控制研究由第二章分析可知,Beringer 生产的电液比例液压控制系统的许多硬件参数都不能准确确定和许多不确定因素的影响,要想准确用数学模型来描述该系统的动态特性是非常困难的,因此提出利用PID 算法对系统进行控制。
由于PID 控制器不需要知道控制对象的具体传递函数,算法简单、易于调节等优点,在工业控制中得到了广泛应用。
在前一章分析电液比例液压控制系统的动态模型时,对系统模型的PID 控制的仿真结果表明,由于本系统具有较好的开环稳定性,而系统的变化较为平缓,所以应用PID 控制算法就可能获得较好的输出。
在本文的实验中,利用增量式PID 控制算法,对系统在不同的温度、压力等工作条件下的运行进行了实验研究,大量实验表明该算法的有效性。
在实验中采用了增量式的PID 控制算法。
其控制系统原理框图如图5-2所示:PID 控制器是一种线性控制器,它根据给定值r (t) 与实际输出值c (t)构成控制偏差:)15()()()(--=t t t c r e其控制规律:)25(1)()()(-⎥⎦⎤⎢⎣⎡++=⎰tD t I t P t dt dt T dt e T e K u式中 K P : 比例系数;T I : 积分时间常数;T D : 微分时间常数。
简单说来,PID 控制器各校正环节的作用如下:1.比例环节:即时成比例地反映控制系统的偏差信号 e (t),偏差一旦产生,图5-2 控制系统原理框图控制器立即产生控制作用,以减少偏差。
增大比例系数可加快系统响应,有利于减小静差,但会是系统有较大的超调,产生振荡,稳定性变坏。
2.积分环节:主要用于消除静差,提高系统的无差度。
积分作用的强弱取决于积分时间常数T I ,T I 越大,积分作用越弱,可使超调和振荡下降,但消除系统静差也减慢。
3.微分环节:能反映偏差信号的变化趋势(变化速率),并能在偏差信号值变得太大之前,在系统中引入一个有效的早期修正信号,从而加快系统的动作速度,减少调节时间。
电液系统摘要:电液系统具有相应快速、控制灵活等优点而广泛应用于现代工业中,对促进工业发展具有重要的作用。
本文从电液控制系统的建模以及电液元件(伺服阀、比例阀)研究状况、电液系统的未来发展趋势三方面进行了阐述.关键词:电液系统;建模;比例阀;伺服阀;发展趋势1前言18世纪欧洲工业革命时期,多种液压机械装置特别是液压阀得到开发和利用,19世纪液压技术取得进展,包括采用油作为工作流体和采用电来驱动方向控制阀,20世纪50—60年代是电液元件和技术发展的高峰期,在军事应用中得到广泛应用[1]。
液压技术是以液体为工作介质,实现能量传递、转换、分配及控制的一门技术。
液压系统因其响应快、功率体积比较大、抗负载刚度大以及传递运动平稳等优点而广泛应用于冶金、化工、机械制造、航空航天、武器装备等领域[2]。
随着液压技术与微电子技术、传感器技术、计算机控制等技术的结合,电液技术成为现代工程控制中不可或缺的重要技术手段和环节。
电液技术既有电气系统快速响应和控制灵活的优点,又有液压系统输出功率大和抗冲击性好等优点[3]。
韩俊伟对电液伺服系统的发展历史、研究现状和系统集成技术的应用进行了全面阐述,通过介绍电液伺服系统在力学环境模拟实验系统中的应用,分析了电液伺服系统的集成设计,比较了我国在电液伺服系统技术研究中的优劣势,指出电液伺服系统的未来发展趋势与挑战[4]。
许梁等从电液元件、电液控制系统、现代电液控制策略三方面对电液系统进行了阐述,指出了电液发展趋势[5]。
陈刚等从电液元件、电液控制系统、计算机在电液系统中应用、现代控制理论的电液技术方面对电液系统进行了阐述,对于现代控制理论的电液技术,从PID调节、状态反馈控制、自适应控制、变结构控制、模糊逻辑控制、神经网络控制进行了探究[6].本文从电液系统的建模、电液元件(比例阀、伺服阀)、发展趋势研究进行综述.2系统的建模伺服系统是一个由多个环节构成的复杂的动力学系统,而且是一种典型的非线性时变系统。
论述基于电动叉车的电液比例控制技术本文结合以往工程车辆工作装置的控制系统,改进和创新了我国现有叉车工作装置控制系统,设计出来了一套电液比例控制系统,这样既可以提高工作效率,又可以提高作业的智能化水平。
1 叉车概述叉车作为一种重要的运输工具,可以有效地对物料进行运输和搬运,通过应用叉车,人们的劳动强度得到了很大程度的降低。
叉车的车身是由车辆底盘来承担的,并且将发动机发出的动力给传递出去,这样叉车可以正常行驶。
通过液压系统叉车可以完成工作,液压系统包括很多个组成部分,比如油箱、限速阀、液压缸等,它的能量是通过工作油液来传递的,对叉车门架的升降以及前后倾斜进行控制。
2 电液比例控制技术分析在电液比例控制技术中,液压输出信号是通过模拟式或数字式输入电信号来控制和调节的,这样随着信号的变化,就可以改变输出液压油的流量或压力,这种变化是有着一定比例的,从而快速准确以及稳定地控制运动。
电液比例控制技术具有一系列的优势,具体包括这些方面:一是操作不复杂,有着较高的自动化程度,编程控制比较容易实现。
二是有着特别简单的控制原理和较高的控制精度,不需要使用较多的元件,有着较强的抗污染能力。
三是工作平稳,不需要太高的制造成本和维修成本。
电液比例控制系统并没有特别复杂的组成部分,主要包括指令元件、液压放大、电液比例阀、液压执行机构以及比较放大器等组成部分。
其中,元液比例阀是电液比例控制系统的关键控制元件,它结合了一般的液压阀,将阀的调节机构用比例电磁铁来代替,这个比例电磁铁由比例放大器来控制,从而有效地控制液压阀,保证能够连续成比例地控制液压阀输出压力或者流量,最终调节液压系统的工作压力、流量或者方向等等。
因为电液比例阀在控制精度以及稳定性方面都比较的优良,那么一般的控制阀就需要发展为电液比例阀。
比较放大器的作用就是综合、比较以及处理放大输入的电压指令信号,然后将其转换为电流控制信号,在电液比例阀比例电磁铁上输入,这样就会有相应的电磁力在比例电磁铁上产生,继而移动阀芯。
电液比例课程设计一、课程目标知识目标:1. 理解电液比例控制系统的基本原理,掌握其组成、功能及工作流程;2. 掌握电液比例控制系统的数学模型,能够进行简单的系统分析和设计;3. 了解电液比例控制技术在工程实际中的应用,学会运用相关理论知识解决实际问题。
技能目标:1. 能够运用所学知识,对电液比例控制系统进行模拟和实验操作;2. 掌握电液比例控制系统的调试方法,具备一定的系统故障排查和处理能力;3. 学会对电液比例控制系统进行性能评价,提出合理的优化方案。
情感态度价值观目标:1. 培养学生对电液比例控制技术及其在工程应用中的兴趣,提高学生的专业认同感;2. 培养学生的团队协作精神和沟通能力,使学生在学习过程中形成良好的合作氛围;3. 培养学生严谨的科学态度,树立正确的工程伦理观念。
本课程针对高年级学生,结合电液比例控制技术在实际工程中的应用,注重理论知识与实际操作相结合。
课程目标旨在帮助学生掌握电液比例控制系统的基本原理和技能,培养学生在实际工程问题中运用所学知识解决问题的能力,同时注重培养学生的情感态度价值观,使其成为具有创新精神和实践能力的工程技术人才。
二、教学内容1. 电液比例控制系统原理- 液压基础知识回顾- 电液比例控制系统的组成与工作原理- 电液比例阀的结构与性能特点2. 电液比例控制系统的数学模型- 系统建模方法- 数学模型推导与分析- 模型参数的识别与调整3. 电液比例控制系统设计- 系统设计原则与方法- 控制器的设计与参数整定- 系统仿真与优化4. 电液比例控制技术在工程中的应用- 典型应用案例分析- 控制系统调试与故障排除- 性能评价与优化措施5. 实践教学环节- 电液比例控制系统实验操作- 模拟工程实际案例,进行小组讨论与设计- 实际工程现场参观与实习教学内容依据课程目标,紧密结合教材,注重理论与实践相结合。
教学大纲明确教学内容安排和进度,确保学生能够系统掌握电液比例控制技术相关知识,培养其工程实践能力。
工程机械电液控制系统工程机械电液控制系统是工业自动化中非常重要的一个分支,主要用于各种工程机械设备中对电液传动系统进行控制和调整。
本文将从以下几个方面介绍工程机械电液控制系统的原理、组成、应用以及发展方向,以期帮助读者更好地了解和应用这一技术。
一、原理电液控制系统的基本原理是通过传感器或者人为输入信号将所需的动作等信息转化为电信号,经过信号放大处理后控制液压系统中的各种液压动作。
通俗地讲,它是通过将电能转化为液压能实现各种液压元件的动作,进而控制机器的运动、作业和负载变换等。
其中,电液比例控制调整是控制系统精度和灵敏度的关键,一般用于传动机构中,可以实现电信号和机械运动的比例,使机器动作更加稳定、准确。
二、组成工程机械电液控制系统的组成大致可以分为以下几个部分。
1. 信号输入部分它是系统的输入端,负责将人工或者传感器采集的信号转化成电信号,为后续的处理和控制提供数据。
常见的信号传感器包括接近开关、光电开关、压力传感器、温度传感器、位移传感器等,通过这些传感器获得相关信息,为控制系统提供数据。
2. 信号处理部分完成信号放大、滤波、限幅等处理,保证信号的准确性和稳定性。
此外还需要对机器运动进行模型分析和反馈控制等算法设计。
3. 电液转换部分将处理好的电信号转变成液压信号,驱动液压元件实现运动。
包括电液放大器、比例伺服控制阀等部件,可分为单向阀、双向阀、堵阀等类型。
4. 液压元件部分负责将液压信号转换成液压能,实现机器的运动和作业。
常用的液压元件有液压缸、油泵、电动机、液压阀、切换阀等。
5. 控制器部分负责管理各子系统之间的协调、数据处理和通信等要求,可结合现代控制理论和计算机技术,实现全面自动化和灵活性的控制。
三、应用工程机械电液控制系统广泛应用于各个领域,特别是在建筑、采矿、冶金、港口、航天等重型机械行业得到了广泛的应用。
以下是一些常见的应用场景:1. 特种机械比如工程车、挖掘机、钻井平台、铲车、推土机、打桩机等。
8科技资讯 SC I EN C E & TE C HN O LO G Y I NF O R MA T IO N高 新 技 术本文以冶金行业某型提升装置为研究对象,合理选用电液比例方向阀、减压阀、速度传感器等元件构建控制系统并建立数学模型,最后利用计算机工程软件Matlab/Simulink,研究分析了系统的控制性能,使其更好的满足实际生产需要。
1 提升机电液比例控制系统设计提升机的一个重要参数是提升速度,提升速度的平稳性、快速性、准确性是衡量其性能的一个重要指标,直接影响着产品质量及生产效率。
为了对提升机的速度进行精确控制,设计了一种采用电液比例速度控制系统,提高提升机的速度控制精度,相关分析结果可对提升机的设计及改造维护提供理论参考。
根据实际生产要求提出控制系统的技术要求及性能指标如下:液压原理图如图1所示。
(1)速度控制频域动态指标: 相位裕度: 45~70 ;增益裕度: 8K dB dB;-3dB频宽: 8 Hz;(2)速度控制时域动态指标(在单位阶跃信号作用下): 上升时间: 0.2r t s s; 超调量: 10%p ; 调整时间: 0.2s t s s;(3)技术经济指标:位置控制精度 2% ; 工作噪声:<85dB。
2 提升机电液比例控制系统仿真根据系统原理建立相关元件的数学模型,得到系统传递函数,并带入相关参数如下。
系统的开环传递函数:1022()21qe d s m k h hhK K K K R K D G s ss22225.120.1551236.7236.7s s 系统的闭环传递函数:102120()21qe s mq h e d h hs m K K K R K D W s K K K s s K R K D 22225120.155226.1236.7236.7s s 根据式系统开环传递函数编写MATLAB程序,基本程序如下。
%Draw Bode clear all;clc;num=[1];den=[0.0000178,0.00131,1];G=tf(225.1*num,den);bode(G);grid;绘制系统开环Bode图如图2所示。
电液比例控制技术在伸缩臂叉车中的应用研究电液比例控制技术是介于普通液压阀的开关控制技术和电液伺服控制技术之间的一种控制技术,它可实现液体压力和流量连续按比例地跟随控制信号而变化,可简化系统,实现远距离控制、复杂程序控制,可提高液压系统动作的稳定性和可靠性,可利用反馈提高控制精度,因此,电液比例控制技术是一种可靠、价廉的控制方式,已成为现代控制工程的基本技术之一,被广泛应用于工业控制系统中。
传统伸缩臂叉车液压系统主要采用液控多路换向阀、先导控制阀和液压泵实现工作装置的作业控制,其速度控制精度、系统工作的稳定性及自动化程度受液控多路换向阀及先导控制阀的影响较大,系统较复杂。
采用电液比例控制技术的伸缩臂叉车液压系统,系统简单,可实现叉车工作装置运动速度的连续、比例控制,控制性能好,可实现高效节能和叉车的智能化作业。
基于此,本文主要对电液比例控制技术在伸缩臂叉车中的应用进行分析探讨。
标签:电液比例控制技术;伸缩臂叉车;应用研究1、电液比例控制技术概述电液比例控制技术是二十世纪后期兴起的一门科学技术,它是控制领域及液压领域的重要构成部分。
在比例技术兴起之前,主要以开关控制和伺服控制为主。
开关控制控制精度低,不适合控制质量要求高的场合,而伺服控制控制精度高、响应速度快,但其对工作介质有很高的清洁度要求,同时耗能大、制造成本高及维护技术要求高。
电液比例控制技术在控制精度、响应速度、工作介质清洁度、系统能耗、制造成本及后期维护等都较为符合工程实际的要求,在这种情况下,为满足工程技术实际需要,由于电液比例控制技术具有上述优势,其逐步成为装备制造业的一个重要构成部分。
电液比例控制技术能够实现系统的被控制量与控制量之间保持线性关系,从而保证输入量变化时对应的输出量按比例变化1.1 比例技术与伺服技术的比较电液比例控制技术的主要部分就是电液比例阀,而电液比例阀的由来主要有两大类:一类是在传统液压阀的基础上,采用比例电磁铁代替手动调节装置而形成的;另一类是在电液伺服阀的基础上对其结构进行简化,降低其精度而得来的。
1.2 电液比例控制的概念在液压传动与控制中,能够接受模拟式或数字式信号,使输出的流量或压力边续成比例地受到控制,都可以被称为电液比例控制系统。
例如数字控制系统、脉宽调节(PWM)控制系统以及一般意义上的电液比例控制系统。
虽然比例控制与伺服控制都可以用于开环和闭环系统。
但就目前来前者主要用于开环控制,而后者主要用于闭环控制。
理解伺服装置与比例控制装置的差别是有意义的。
伺服控制装置总是带有内反馈,任何检测到的误码差都会引起系统状态栏改变,而这种改变正是强迫这个误差为零。
误码差为零时伺服系统会处于平衡状态,直到新的误差检测出来。
比例控制装置是一种有确定增益的转换器。
例如,比例阀可以把一个线性运动(手动或电磁铁驱动)转换成比例的油流量或压力,转换常数取决于阀的几何尺寸及它的制造精度。
闭环比例阀也可以用于外部反馈闭环系统。
在伺服控制系统中,平衡状态控制信号(误差)理论上为零,而比例控制系统却水远不会为零。
在比例控制系统中,主控制元件可以有无限种状态,分别对应于受控对象的无限种运动。
与比例控制对应的还有开关控制。
由于开关控制中控制元件只有两种状态,即开启或关闭。
因此要实现高质量的复杂控制时,必须有足够大量的元件,把各元件调整成某一特殊的状态。
必要时选通这一元件,从而实现使受控对象按预定的顺序和要求动作。
比例控制和开关控制都可以是手动或按程序自动进行,不同的是在比例控制中,比例元件根据接收的控制信号,自动转换状态,因而使系统大为简化。
在工程实际应用中,由于大多为九被控对象仅需要有限的几种状态。
因而开关控制也有可取之处。
开关元件通常简单可靠,不存在系统不稳定的情况。
可以利用计算机输出的数字信号经放大后驱动开关元件,省去昂贵的数模转换元件,从而使电气控制变得简单。
在模拟比例控制中,如果需要计算机来控制,则必须具有A/D、D/A接口元件与计算机联接,这增加了成本和对使用者的要求。
近年来,已开发出其不意些数字式比例元件,其输出量与脉冲数、脉宽或脉冲频率成比例。