数据流程与业务流程的区别
- 格式:doc
- 大小:25.50 KB
- 文档页数:3
业务流与数据流的概念在现代企业管理中,业务流与数据流是两个重要的概念。
它们描述了公司内部运作的过程和数据的传递方式。
本文将介绍业务流和数据流的概念,并探讨它们之间的关系。
一、业务流的概念业务流是指在企业内部不同部门或环节之间传递的业务工作流程。
它描述了一个业务从开始到结束的各个步骤以及相关人员之间的交互。
业务流通常涉及到人员、资源、材料和信息的流动。
企业中的业务流可以是线性的,也可以是非线性的。
线性业务流是指从一个环节直接流向下一个环节的流程,而非线性业务流则涉及到对业务流程的反复迭代和调整。
每个业务流程都有一系列的输入和输出,以及相应的业务规则和流程控制。
在一个复杂的企业中,业务流可能非常复杂,涉及到多个部门和不同的业务操作。
因此,对业务流程进行合理的规划和管理非常重要,可以提高组织的效率和灵活性。
二、数据流的概念数据流是指在业务流程中传递的数据的路径和方式。
它描述了数据从一个业务环节到另一个业务环节的流动方式,包括数据的输入、输出和处理过程。
数据流可以是实时的,也可以是批处理的。
实时数据流指数据在业务流程中的传递是即时进行的,而批处理数据流则是在一定时间间隔内进行的。
企业中的数据流往往是复杂的,涉及到不同的数据源和目标。
数据流的设计需要考虑数据的质量、安全性和一致性。
同时,数据流还需要满足业务流程的需求,以确保有效的业务操作和决策。
三、业务流与数据流的关系业务流和数据流是紧密相关的概念。
业务流程中的每个环节都需要对应的数据输入和输出,数据流则是业务流程中数据的具体传递方式。
在设计和优化业务流程时,需要考虑数据流的合理性和有效性。
良好的数据流设计可以确保数据的准确性、一致性和可用性,从而提高业务流程的效率和效果。
同时,业务流和数据流之间的关系还需要考虑到信息技术的角色。
现代企业往往利用信息系统来支持和管理业务流程和数据流,以提高管理的效率和决策的准确性。
总结:业务流和数据流是企业管理中两个重要的概念。
一、不同之处1. 描述对象不同业务流程图的描述对象是某一具体的业务; 数据流程图的描述对象是数据流。
业务是指企业管理中必要且逻辑上相关的、为了完成某种管理功能的一系列相关的活动。
在系统调研时, 通过了解组织结构和业务功能, 我们对系统的主要业务有了一个大概的认识。
但由此我们得到的对业务的认识是静态的, 是由组织部门映射到业务的。
而实际的业务是鞫 ? 我们称之为业务流程。
一项完整的业务流程要涉及到多个部门和多项数据。
例如, 生产业务要涉及从采购到财务, 到生产车间,到库存等多个部门;会产生从原料采购单, 应收付账款,入库单等多项数据表单。
因此,在考察一项业务时我们应将该业务一系列的活动即整个过程为考察对象, 而不仅仅是某项单一的活动, 这样才能实现对业务的全面认识。
将一项业务处理过程中的每一个步骤用图形来表示, 并把所有处理过程按一定的顺序都串起来就形成了业务流程图。
如图 1所示, 就是某公司物资管理的业务流程图。
数据流程图是对业务流程的进一步抽象与概括。
抽象性表现在它完全舍去了具体的物质, 只剩下数据的流动、加工处理和存储; 概括性表现在它可以把各种不同业务处理过程联系起来,形成一个整体。
从安东尼金字塔模型的角度来看,业务流程图描述对象包括企业中的信息流、资金流和物流, 数据流程图则主要是对信息流的描述。
此外, 数据流程图还要配合数据字典的说明,对系统的逻辑模型进行完整和详细的描述。
2.功能作用不同业务流程图是一本用图形方式来反映实际业务处理过程的“流水帐”。
绘制出这本流水帐对于开发者理顺和优化业务过程是很有帮助的。
业务流程图的符号简单明了, 易于阅读和理解业务流程。
数据流程图与业务流程图转换规则下载温馨提示:该文档是我店铺精心编制而成,希望大家下载以后,能够帮助大家解决实际的问题。
文档下载后可定制随意修改,请根据实际需要进行相应的调整和使用,谢谢!并且,本店铺为大家提供各种各样类型的实用资料,如教育随笔、日记赏析、句子摘抄、古诗大全、经典美文、话题作文、工作总结、词语解析、文案摘录、其他资料等等,如想了解不同资料格式和写法,敬请关注!Download tips: This document is carefully compiled by theeditor. I hope that after you download them,they can help yousolve practical problems. The document can be customized andmodified after downloading,please adjust and use it according toactual needs, thank you!In addition, our shop provides you with various types ofpractical materials,such as educational essays, diaryappreciation,sentence excerpts,ancient poems,classic articles,topic composition,work summary,word parsing,copy excerpts,other materials and so on,want to know different data formats andwriting methods,please pay attention!数据流程图与业务流程图转换规则一、引言数据流程图(Data Flow Diagram,简称 DFD)和业务流程图(Business Process Diagram,简称 BPD)是两种常用的系统分析工具,它们分别从不同的角度描述了系统的逻辑结构和业务流程。
业务流程图与数据流程图的比较[摘要]业务流程图(TransactionFlowDiagram简称TFD)和数据流程图(DataFlowDiagram简称DFD)是结构化信息系统开发方法中两种常用的图形工具。
本文从描述对象、功能作用、基本符号和绘制方法四个方面阐述二者的区别,对它们的联系也作了介绍。
[关键词]结构化系统开发方法系统调研业务流程图数据流程图业务流程图(TransactionFlowDiagramTFD)和数据流程图(DataFlowDiagramDFD)是结构化信息系统开发方法中两种常用的系统调查工具。
笔者在多年的教学过程中发现,很多学生在学习这部分内容时,对二者的意义和绘制方法易产生混淆。
现对二者的区别、联系作一个比较。
一、业务流程图与数据流程图的区别1.描述对象不同业务流程图的描述对象是某一具体的业务;数据流程图的描述对象是数据流。
业务是指企业管理中必要且逻辑上相关的、为了完成某种管理功能的一系列相关的活动。
在系统调研时,通过了解组织结构和业务功能,我们对系统的主要业务有了一个大概的认识。
但由此我们得到的对业务的认识是静态的,是由组织部门映射到业务的。
而实际的业务是流动的,我们称之为业务流程。
一项完整的业务流程要涉及到多个部门和多项数据。
例如,生产业务要涉及从采购到财务,到生产车间,到库存等多个部门;会产生从原料采购单,应收(付)账款,入库单等多项数据表单。
因此,在考察一项业务时我们应将该业务一系列的活动即整个过程为考察对象,而不仅仅是某项单一的活动,这样才能实现对业务的全面认识。
将一项业务处理过程中的每一个步骤用图形来表示,并把所有处理过程按一定的顺序都串起来就形成了业务流程图。
如图1所示,就是某公司物资管理的业务流程图。
数据是信息的载体,是今后信息系统处理的对象。
建立信息系统必须考察数据的来龙去脉。
数据流指的就是流动的数据,它可以是一项数据,也可以是一组数据(如扣款数据文件、订货单等)。
业务流程图与数据流程图得比较一、业务流程图与数据流程图得区别1、描述对象不同业务流程图得描述对象就是某一具体得业务; 数据流程图得描述对象就是数据流。
业务就是指企业管理中必要且逻辑上相关得、为了完成某种管理功能得一系列相关得活动。
在系统调研时, 通过了解组织结构与业务功能, 我们对系统得主要业务有了一个大概得认识。
但由此我们得到得对业务得认识就是静态得, 就是由组织部门映射到业务得。
而实际得业务就是流动得, 我们称之为业务流程。
一项完整得业务流程要涉及到多个部门与多项数据。
例如, 生产业务要涉及从采购到财务, 到生产车间, 到库存等多个部门; 会产生从原料采购单, 应收付账款, 入库单等多项数据表单。
因此, 在考察一项业务时我们应将该业务一系列得活动即整个过程为考察对象, 而不仅仅就是某项单一得活动, 这样才能实现对业务得全面认识。
将一项业务处理过程中得每一个步骤用图形来表示, 并把所有处理过程按一定得顺序都串起来就形成了业务流程图。
如图 1 所示, 就就是某公司物资管理得业务流程图。
数据流程图就是对业务流程得进一步抽象与概括。
抽象性表现在它完全舍去了具体得物质, 只剩下数据得流动、加工处理与存储; 概括性表现在它可以把各种不同业务处理过程联系起来,形成一个整体。
从安东尼金字塔模型得角度来瞧, 业务流程图描述对象包括企业中得信息流、资金流与物流, 数据流程图则主要就是对信息流得描述。
此外, 数据流程图还要配合数据字典得说明, 对系统得逻辑模型进行完整与详细得描述。
2、功能作用不同业务流程图就是一本用图形方式来反映实际业务处理过程得“流水帐”。
绘制出这本流水帐对于开发者理顺与优化业务过程就是很有帮助得。
业务流程图得符号简单明了, 易于阅读与理解业务流程。
绘制流程图得目得就是为了分析业务流程, 在对现有业务流程进行分析得基础上进行业务流程重组, 产生新得更为合理得业务流程。
通过除去不必要得、多余得业务环节; 合并重复得环节;增补缺少得必须得环节; 确定计算机系统要处理得环节等重要步骤, 在绘制流程图得过程中可以发现问题, 分析不足, 改进业务处理过程。
业务流程图和数据流程图
首先,业务流程图是企业业务流程的图形化描述,它可以清晰地展示业务流程中的各个环节和流程。
通过业务流程图,企业可以了解业务流程的全貌和细节,包括各个环节的顺序、流程的关联和交互等。
这有助于企业对业务流程进行全面的了解和分析,从而找出其中存在的问题和瓶颈,进行优化和改进。
同时,业务流程图还可以帮助企业进行业务流程的标准化和规范化,使得业务流程更加规范和高效。
其次,数据流程图是描述数据流动和处理的图形化工具,它可以清晰地展示数据在系统中的流动和处理过程。
通过数据流程图,企业可以了解数据的流向和处理方式,包括数据的输入、输出、存储和处理等。
这有助于企业对数据进行全面的管理和控制,保证数据的准确性和完整性。
同时,数据流程图还可以帮助企业进行数据流程的优化和改进,提高数据处理的效率和质量。
综上所述,业务流程图和数据流程图是企业管理中非常重要的工具,它们可以帮助企业清晰地了解和描述业务和数据的流程,从而更好地进行管理和优化。
通过业务流程图,企业可以了解业务流程的全貌和细节,进行业务流程的优化和改进;通过数据流程图,
企业可以了解数据的流向和处理方式,进行数据流程的管理和优化。
因此,企业应该重视业务流程图和数据流程图的绘制和应用,从而
提高管理效率和业务质量。
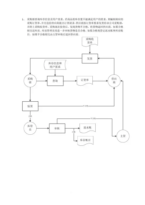
1、采购部查询库存信息及用户需求,若商品的库存量不能满足用户的需求,则编制相应的采购订货单,并交送给供应商提出订货请求。
供应商按订货单要求发货给该公司采购部,并附上采购收货单。
采购部在验货后,发现货物不合格,将货物退回供应商,如果合格则交送库房。
库房管理员再进一步审核货物是否合格,如果合格则登记流水账和库房账目,如果不合格则交由主管审核后退回供应商。
2、在盘点管理流程中,库管员根据仓库数据首先编制盘存报表并提交给仓库主管,仓库主管查询库存清单和盘点流水账,然后根据盘点规定进行审核,如果合格则提交合格盘存报表递交给库管员。
如果不合格则仓库主管返回不合格盘存报表给库管员重新查询数据进行盘点。
根据以上情况画出业务流程图。
3、若库房里的货品由于自然或其他原因而破损,且不可用的,需进行报损处理,即这些货品清除出库房。
具体报损流程如下:由库房相关人员定期按库存计划编制需要对货物进行报损处理的报损清单,交给主管确认、审核。
主管审核后确定清单上的货品必须报损,则进行报损处理,并根据报损清单登记流水账,同事修改库存台账;若报损单上的货品不符合报损要求,则将报损单退回库房。
4、“生产资料出库”主要指生产部门员工到仓库中领取生产原料和各种生产工具等产品,其流程描述如下:首先由生产部门员工向仓库主任提交原料提货单,然后仓库主任根据当前库存情况和用料计划对提货单进行审核,将不合格的提货单返回给生产部门员工,并将合格原料提货单交给库管员,库管员根据合格原料提货单更新库存台账并记录出库流水账。
(1)根据以上描述,绘出生产资料“出库”的业务流程图。
(10分) (2)根据上题的业务流程绘出生产资料“出库”的数据流程图(5分)5、采购员从库房收到缺货通知单以后,查阅订货合同单,若已订货,向供货单位发出催货请求,否则,填写订货单交供货单位。
供货单位发出货物后,立即向采购员发出取货通知单。
采购员取货后,发出入库单给库房。
库房进行验货入库处理,如发现有不合格货品,发出验收不合格通知单给采购员,采购员据此填写退货单给供货单位。
业务流程图和数据流程图业务流程图中包含的要素 :业务角色 /业务活动 /活动时序 /协同活动及其传递的信息5类表达要素 : 业务主体 (角色 )/时序 /活动 /传递的信息 /开始 -结束符号: X 轴——业务主体 (角色 )Y 轴——时序物料管理流程1.市场部接到销售订单后,将其交给生产部;2.生产部将销售订单转入生产计划,并以 MRPII 系统推算物料采购计划交给物料中心,同时形成领料单供生产车间使用;3.物料中心凭采购计划购得物料后,将采购计划转给仓库,仓库凭采购计划验收物料进货;4.生产部按照生产计划形成领料单交给车间;5.车间凭领料单到仓库领取物料,仓库发料;6.生产计划完成后,生产部通知市场部,市场部出货。
物料管理顶层数据流图(环境图) 回答系统如何工作物料管理第二层数据流图主要分工物料管理第三层数据流图(初步细节)物料管理第三层数据流图 ------分图 1 订单处理物料管理第三层数据流图 ------分图 3:生产执行物料管理第三层数据流图 ------分图 4:物料管理连锁便利店业务流程1. 经理制定进货计划 ,提交给总部和理货员,总部根据进货计划配送货物 ;2. 理货员根据进货计划验收货物 ,并记入存货 ;3. 理货员发现货物损坏或过期后进行报损 ,并通知经理,经理对情况进行确认 ;4. 理货员发现货物临近过期时,进行预警 ,并通知经理;5. 经理对临近过期预警的货物进行处理 ;6. 顾客对选好的货物付款 ;7. 收银员收取货款后,对销售记账。
数据流程 -------普通连锁实体店1. 连锁店独立的进货和销售管理 , 总部统一货物配送2. 每个连锁店配备自己的进销存管理系统和数据库 ;3. 总部对连锁店开放订货系统 ;4. 非会员店 ;5. 客户的支付方式分为现金 /银行卡 /支付宝 /微信 ;6. 临近过期货品可以自行定价 , 过期货品自行负担成本 .连锁便利店第一层 (顶层 /0层 ) 数据流图连锁便利店第二层数据流图连锁便利店第三层数据流图 -----管理分图连锁便利店第三层数据流图 -----品管分图连锁便利店第三层数据流图 -----服务分图画出数据流程图-------选定平台 (手动 /中心数据库 /互联网 ) -------业务数据范围 /业务处理范围/业务控制范围 -------处理模式 /控制模式。
一、业务流程图与数据流程图的区别1. 描述对象不同业务流程图的描述对象是某一具体的业务; 数据流程图的描述对象是数据流。
业务是指企业管理中必要且逻辑上相关的、为了完成某种管理功能的一系列相关的活动。
在系统调研时, 通过了解组织结构和业务功能, 我们对系统的主要业务有了一个大概的认识。
但由此我们得到的对业务的认识是静态的, 是由组织部门映射到业务的。
而实际的业务是流动的,我们称之为业务流程。
一项完整的业务流程要涉及到多个部门和多项数据。
例如, 生产业务要涉及从采购到财务, 到生产车间,到库存等多个部门; 会产生从原料采购单, 应收付账款, 入库单等多项数据表单。
因此, 在考察一项业务时我们应将该业务一系列的活动即整个过程为考察对象, 而不仅仅是某项单一的活动, 这样才能实现对业务的全面认识。
将一项业务处理过程中的每一个步骤用图形来表示, 并把所有处理过程按一定的顺序都串起来就形成了业务流程图。
数据流程图是对业务流程的进一步抽象与概括。
抽象性表现在它完全舍去了具体的物质, 只剩下数据的流动、加工处理和存储; 概括性表现在它可以把各种不同业务处理过程联系起来,形成一个整体。
从安东尼金字塔模型的角度来看, 业务流程图描述对象包括企业中的信息流、资金流和物流, 数据流程图则主要是对信息流的描述。
此外, 数据流程图还要配合数据字典的说明, 对系统的逻辑模型进行完整和详细的描述。
2. 功能作用不同业务流程图是一本用图形方式来反映实际业务处理过程的“流水帐”。
绘制出这本流水帐对于开发者理顺和优化业务过程是很有帮助的。
业务流程图的符号简单明了, 易于阅读和理解业务流程。
绘制流程图的目的是为了分析业务流程, 在对现有业务流程进行分析的基础上进行业务流程重组, 产生新的更为合理的业务流程。
1、采购部查询库存信息及用户需求,若商品的库存量不能满足用户的需求,则编制相应的采购订货单,并交送给供应商提出订货请求。
供应商按订货单要求发货给该公司采购部,并附上采购收货单。
采购部在验货后,发现货物不合格,将货物退回供应商,如果合格则交送库房。
库房管理员再进一步审核货物是否合格,如果合格则登记流水账和库房账目,如果不合格则交由主管审核后退回供应商。
2、在盘点管理流程中,库管员根据仓库数据首先编制盘存报表并提交给仓库主管,仓库主管查询库存清单和盘点流水账,然后根据盘点规定进行审核,如果合格则提交合格盘存报表递交给库管员。
如果不合格则仓库主管返回不合格盘存报表给库管员重新查询数据进行盘点。
根据以上情况画出业务流程图。
3、若库房里的货品由于自然或其他原因而破损,且不可用的,需进行报损处理,即这些货品清除出库房。
具体报损流程如下:由库房相关人员定期按库存计划编制需要对货物进行报损处理的报损清单,交给主管确认、审核。
主管审核后确定清单上的货品必须报损,则进行报损处理,并根据报损清单登记流水账,同事修改库存台账;若报损单上的货品不符合报损要求,则将报损单退回库房。
4、“生产资料出库”主要指生产部门员工到仓库中领取生产原料和各种生产工具等产品,其流程描述如下:首先由生产部门员工向仓库主任提交原料提货单,然后仓库主任根据当前库存情况和用料计划对提货单进行审核,将不合格的提货单返回给生产部门员工,并将合格原料提货单交给库管员,库管员根据合格原料提货单更新库存台账并记录出库流水账。
(1)根据以上描述,绘出生产资料“出库”的业务流程图。
(10分)分)(2)根据上题的业务流程绘出生产资料“出库”的数据流程图(55、采购员从库房收到缺货通知单以后,查阅订货合同单,若已订货,向供货单位发出催货请求,否则,填写订货单交供货单位。
供货单位发出货物后,立即向采购员发出取货通知单。
采购员取货后,发出入库单给库房。
库房进行验货入库处理,如发现有不合格货品,发出验收不合格通知单给采购员,采购员据此填写退货单给供货单位。
K2MG-EHSWI++04-001 环境、健康安全、企业社会责任目标指标6.
通过详细调查我们深入了解了企业的业务流程关系和具体进程,并根据企业的组织结构和功能结构绘制了业务流程图:
7.数据流程分析:
在系统详细调查的基础上,我们根据业务流程图,及对系统数据和功能的的分析汇总,我们绘制了数据流程图,并在数据分析的基础上编制了数据字典。
我也始终相信,你每天的认真付出总会有回报,生命不息,努力不止,好运总会来!我不信命,因为我的命掌握在自己手中!
1。
业务流程,业务用例和数据流程顺序下载温馨提示:该文档是我店铺精心编制而成,希望大家下载以后,能够帮助大家解决实际的问题。
文档下载后可定制随意修改,请根据实际需要进行相应的调整和使用,谢谢!并且,本店铺为大家提供各种各样类型的实用资料,如教育随笔、日记赏析、句子摘抄、古诗大全、经典美文、话题作文、工作总结、词语解析、文案摘录、其他资料等等,如想了解不同资料格式和写法,敬请关注!Download tips: This document is carefully compiled by theeditor.I hope that after you download them,they can help yousolve practical problems. The document can be customized andmodified after downloading,please adjust and use it according toactual needs, thank you!In addition, our shop provides you with various types ofpractical materials,such as educational essays, diaryappreciation,sentence excerpts,ancient poems,classic articles,topic composition,work summary,word parsing,copy excerpts,other materials and so on,want to know different data formats andwriting methods,please pay attention!理解业务流程、业务用例与数据流程的顺序关系在企业运营和系统设计中,业务流程、业务用例和数据流程是三个至关重要的概念。
数据流程与业务流程的区别.txt21春暖花会开!如果你曾经历过冬天,那么你就会有春色!如果你有着信念,那么春天一定会遥远;如果你正在付出,那么总有一天你会拥有花开满圆。
一、不同之处
1. 描述对象不同
业务流程图的描述对象是某一具体的业务; 数据流程图的描述对象是数据流。
业务是指企业管理中必要且逻辑上相关的、为了完成某种管理功能的一系列相关的活动。
在系统调研时, 通过了解组织结构和业务功能, 我们对系统的主要业务有了一个大概的认识。
但由此我们得到的对业务的认识是静态的, 是由组织部门映射到业务的。
而实际的业务是鞫
? 我们称之为业务流程。
一项完整的业务流程要涉及到多个部门和多项数据。
例如, 生产
业务要涉及从采购到财务, 到生产车间, 到库存等多个部门; 会产生从原料采购单, 应收付账款, 入库单等多项数据表单。
因此, 在考察一项业务时我们应将该业务一系列的活动即整个过程为考察对象, 而不仅仅是某项单一的活动, 这样才能实现对业务的全面认识。
将一项业务处理过程中的每一个步骤用图形来表示, 并把所有处理过程按一定的顺序都串起来就形成了业务流程图。
如图 1 所示, 就是某公司物资管理的业务流程图。
数据流程图是对业务流程的进一步抽象与概括。
抽象性表现在它完全舍去了具体的物质, 只剩下数据的流动、加工处理和存储; 概括性表现在它可以把各种不同业务处理过程联系起来,形成一个整体。
从安东尼金字塔模型的角度来看, 业务流程图描述对象包括企业中的信息流、资金流和物流, 数据流程图则主要是对信息流的描述。
此外, 数据流程图还要配合数据字典的说明, 对系统的逻辑模型进行完整和详细的描述。
2. 功能作用不同
业务流程图是一本用图形方式来反映实际业务处理过程的“流水帐”。
绘制出这本流水帐对于开发者理顺和优化业务过程是很有帮助的。
业务流程图的符号简单明了, 易于阅读和理解业务流程。
绘制流程图的目的是为了分析业务流程, 在对现有业务流程进行分析的基础上进行业务流程重组, 产生新的更为合理的业务流程。
通过除去不必要的、多余的业务环节; 合并重复的环节; 增补缺少的必须的环节; 确定计算机系统要处理的环节等重要步骤, 在绘制流程图的过程中可以发现问题, 分析不足, 改进业务处理过程。
数据流程分析主要包括对信息的流动、传递、处理、存储等的分析。
数据流程分析的目的就是要发现和解决数据流通中的问题, 这些问题有: 数据流程不畅, 前后数据不匹配, 数据处理过程不合理等。
通过对这些问题的解决形成一个通畅的数据流程作为今后新系统的数据流程。
数据流程图比起业务流程图更为抽象, 它舍弃了业务流程图中的一些物理实体, 更接近于信息系统的逻辑模型。
对于较简单的业务, 我们可以省略其业务流程图直接绘制数据流程图。
3. 基本符号不同
对数据流程图的基本符号解释如下:
外部实体表示数据流的始发点或终止点。
原则上讲, 它不属于数据流程图的核心部分, 只是数据流程图的外围环境部分。
在实际问题中它可能是人员、计算机外设、系统外部的文件等。
在圆形框中用文字注明外部实体的编码属性和名称。
数据流是用箭头线及其上的数据表示数据流动的方向, 数据流由一个或一组数据项组成。
数据存储表示逻辑意义上的数据存储环节, 不考虑存储的物理介质和技术手段的数据存储环节。
它用一个右边开口的长方形条来表示, 图形右部填写存储的数据和数据集的名字, 左边填写该数据存储的标志。
处理逻辑加工也称为处理或功能, 它包括两方面的内容:一是改变数据结构; 二是在原有数据内容基础上增加新的内容,形成新的数据。
一般用一个长方形表示处理逻辑, 图形下部填写处理的名字, 上部填写该处理的标志。
关于业务流程图和数据流程图的基本符号很多教材上都不完全一致, 还没有形成一个统一的标准。
例如, 有的教材上用圆形表示外部实体, 有的用矩形表示外部实体。
二者所使用的符号不同, 但代表的含义都相同。
业务流程图中的业务处理和存储这两个符号和数据流程图中的相应的符号基本一致; 业务流程图和数据流程图中都有箭头线的符号, 但含义不同: 业务流程图中的箭头线表示信息流向, 它没有名称; 数据流程图中的箭头线表示某一数据流, 它有名称, 通常写在数据流的上方。
4. 绘制过程不同
业务流程图就是用一些规定的符号及连线来表示某个具体务处理过程。
业务流程图的绘制是根据系统详细调查过程中所得的资料, 按业务实际处理过程, 用规定的符号将它们绘制在同一张图上。
它的绘制无严格的规则, 只需简明扼要地如实反映实际业务过程。
在绘制过程中一般也遵循“自顶向下”的原则。
数据流程图的绘制方法较为复杂, 它是按照“自顶向下, 逐层求精”的方法进行的, 也就是将整个系统当成一个处理功能,画出它和周围实体的数据联系过程, 即一个粗略的数据流程图( 顶层数据流程图),然后逐层向下分析, 直到把系统分解为详细的低层次的数据流程图。
如图A是一个高等学校学藉管理系统的顶层数据流程图。
绘制数据流程图的注意事项:
①数据流程图的绘制一般是从左到右进行。
从左侧开始标出外部实体, 然后画出由外部实体产生的数据流, 再画出处理逻辑、数据流、数据存储等元素及其相互关系, 最后在流程图的右侧画出接收信息的系统外部实体。
②父图与子图的平衡。
子图是对父图中处理逻辑的详细描述, 因此父图中数据的输入和输出必须在子图中反映。
父图与子图的平衡是数据流守恒原则的体现, 即对每一个数据处理功能来说, 要保证分解前后的输入数据流与输出数据流的数目保持不变。
③数据流至少有一端连接处理框。
数据流不能直接从外部实体直接传送到数据存储, 也不能从数据存储直接传送到外部实体。
④数据存储输入/输出协调。
数据存储必定有输入数据流和输出数据流, 缺少任何一个则意味着遗漏了某些加工。
⑤数据处理流入/流出协调。
只有流入没有流出, 则数据处理无需存在; 只有流出没有流入的数据处理不可能满足。
⑥合理命名, 准确编号。
对数据流程图的基本元素进行编号, 这样有利于编写数据字典及方便系统设计人员和用户的阅读与理解。
二、业务流程图和数据流程图的联系
1. 业务流程图和数据流程图都是从流程的角度动态地去考察分析对象, 都是用图形符号抽象地表示调查结果。
2. 数据和业务的联系具体表现在: 数据流是伴随着业务过程而产生的, 它是业务过程的衍生物; 数据资料基本上也是按组织结构或业务过程收集的; 在数据汇总时, 我们也是以业务流程为单位, 将同一业务的不同处理步骤中的数据加以集中; 数据流程图的绘制遵照业务处理的全过程。
3. 数据流程图和业务流程图存在一定的对应关系。
由业务流程图可以导出相应的数据流程图。
有两种思路: 一种是先按业务流程图理出的业务流程顺序, 然后将相应调查过程中所掌握的数据、表单分离出来, 接下来考查数据的流向, 加工处理过程和存储, 把它们串起来就绘制成一完整的数据流程图; 另一种是从业务流程中分离出处理过程, 再考查每一个处理过程的输入数据与输出数据, 将业务过程中所有的处理过程的输入、输出数据流进行有机的集成就形成了一个完整的数据流程图。