手术室应急处置预案及流程图
- 格式:doc
- 大小:112.00 KB
- 文档页数:12
手术患者发生呼吸、心跳骤停的处理流程
手术患者药物引起过敏性休克的处理流程
手术室药物不良反应的处理流程
手术患者用药错误的处理流程
、
手术患者输液反应的处理流程
手术患者输血反应的处理流程
术中发生物品清点误差的处理流程
手术标本管理流程
手术患者手术中大出血时的处理流程
手术室中心负压吸引装置出现故障的处理流程
. 手术室中心吸氧装置出现故障的处理流程
.
术中仪器设备突发故障处理流程
、
术中医护人员发生针刺伤时的处理流程
批量伤员处理流程
手术患者发生坠床的处理流程
手术患者导管异常脱落的处理流程
手术中停电或突然停电的处理流程
泛水应急预案及处理流程
手术室火灾的处理流程。
手术室应急预案及流程目录表1.急诊手术绿色通道 (2)2.紧急抢救手术实施方案 (3)3.手术室一般停电应急流程 (4)4.手术室突然停电应急流程 (5)5.手术室停水的的应急预案 (6)6.手术室泛水的应急预案 (7)7.手术室发生火灾的应急预案 (8)8.手术室中心供氧突然停止的应预案 (14)9.手术室中心吸引突然停止的应急预案 (15)10.大批量伤员手术病人的应急预案 (16)11.术中呕吐物误吸的应急预案 (17)12.术中物品清点数目不全或物件残缺时的应急预案 (18)13.术中发生输液、输血反应应急预案 (19)14.患者术中大出血、低血容量性休克的应急预案 (20)15.手术患者心跳呼吸骤停的护理应急预案 (22)16.手术患者药物过敏性休克应急预案 (24)17.电灼伤患者的应急预案 (26)18.手术患者坠床的应急预案 (27)19.发生标本遗失的应急预案 (28)20.气管导管滑脱应急预案 (29)21.各类管道脱出的预防及应急预案 (30)一、急诊手术绿色通道白天常规留出一间手术间应对急诊。
当所有手术间满的情况下,原则上遵循急诊手术优先,手术科室择期手术让台的原则。
有生命威胁的手术遵循先结束的择期手术先让台的原则。
非急诊手术不能当急诊手术开展。
(一)手术间:常规安排一间急诊手术间以应对急手术。
(二)时间;1.急诊手术间空余的情况下,一般要求通知后30分钟内安排急诊手术,亚急诊手术情况除外。
2.急诊手术间没有空余的情况下,尽快协调安排其他手术间。
3.危及生命的急诊手术立即协调安排。
(三)安排原则1.急诊手术安排在急诊手术间进行。
2.二台或二台以上急诊的情况下,由手术和麻醉医生共同评估病人,危及生命的病人优先安排。
3.急诊手术间没有空余的情况下,急诊手术遵循手术病人所在科的手术科室让台。
病情危急的急诊手术,先结束的择期手术让台的原则。
4.产科的急手术;手术室的手术间已满,产妇的产程急不能等待的情况下,手术室人员备手术器械包到产房进行手术。
手术患者发生呼吸、心跳骤停的处理流程
手术患者药物引起过敏性休克的处理流程
手术室药物不良反应的处理流程
手术患者用药错误的处理流程
、
手术患者输液反应的处理流程
手术患者输血反应的处理流程
术中发生物品清点误差的处理流程
手术标本管理流程
手术患者手术中大出血时的处理流程
手术室中心负压吸引装置出现故障的处理流程
手术室中心吸氧装置出现故障的处理流程
术中仪器设备突发故障处理流程
、
术中医护人员发生针刺伤时的处理流程
批量伤员处理流程
手术患者发生坠床的处理流程
手术患者导管异常脱落的处理流程
手术中停电或突然停电的处理流程
泛水应急预案及处理流程
手术室火灾的处理流程。
一、概述手术室是医院中至关重要的科室,为确保手术过程中患者的生命安全,提高手术室应急处理能力,特制定本应急预案流程。
二、应急预案流程1. 术前准备(1)手术室工作人员需熟悉应急预案流程,掌握各项应急设备的使用方法。
(2)术前对患者进行全面的检查,确保患者生命体征稳定。
(3)备齐各类急救药品和器械,确保在紧急情况下能够迅速使用。
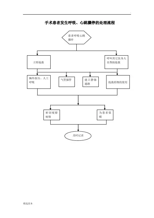
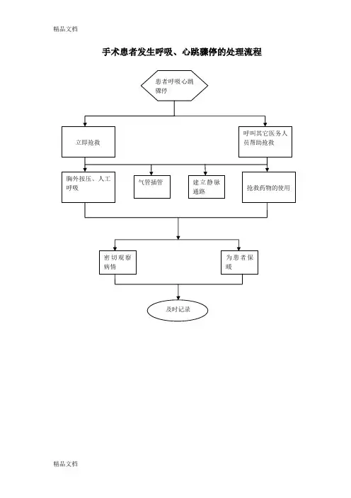
2. 紧急情况处理(1)患者呼吸心跳骤停1)立即进行胸外心脏按压,同时呼叫其他医务人员协助抢救。
2)行气管插管,辅助呼吸。
3)快速建立静脉通道,遵医嘱用药。
4)必要时准备开胸器械,行胸内心脏按压术。
5)在抢救过程中注意心、肺、脑复苏,必要时开放两条静脉通道。
(2)患者休克1)立即取中凹卧位,增加回心血量和减轻呼吸负担。
2)吸氧,保持呼吸道通畅,及时清除呼吸道分泌物。
3)迅速建立静脉通道,尽快补充液体。
4)尽快配血、取血、输注血液制品。
5)严格三查七对,落实无菌技术操作流程。
6)注意保暖,保持室温在适宜范围,必要时使用升温毯。
7)准备急救设备,如除颤仪、加压输液装置、静脉切开包、导尿包等。
8)及时抽取血液样本送检。
9)认真、详细做好各种抢救记录。
10)监护重点:生命体征、尿量、出血量、引流量、输入液量。
(3)疑似新冠肺炎患者接诊1)详细询问病史,测量患者体温,术前严格查看肺部CT检查及血常规等指标。
2)深挖流行病学史,并查看术前核酸测定结果。
3)若有发热、肺部磨玻璃样改变、咳嗽等症状和体征,或有疫区接触史、隔离史等患者,纳入怀疑新冠肺炎手术患者处理流程。
4)怀疑患者应放置在感染手术间内实施手术操作,尽量减少手术间内物品,精简参加手术人员。
5)关闭层流系统,取出回风口滤网,适量喷洒含氯消毒剂。
6)接送患者过程中,患者佩戴外科口罩,接送人员做好二级防护。
7)非全麻患者手术中全程佩戴口罩。
8)术后进行彻底的终末消毒处理。
3. 应急预案演练(1)定期组织手术室工作人员进行应急预案演练,提高应急处置能力。
手术患者发生呼吸、心跳骤停的处理流程
手术患者药物引起过敏性休克的处理流程
手术室药物不良反应的处理流程
手术患者用药错误的处理流程
、
手术患者输液反应的处理流程
手术患者输血反应的处理流程
术中发生物品清点误差的处理流程
手术标本管理流程
手术患者手术中大出血时的处理流程
手术室中心负压吸引装置出现故障的处理流程
精品文档手术室中心吸氧装置出现故障的处理流程
精品文档术中仪器设备突发故障处理流程
、
术中医护人员发生针刺伤时的处理流程
批量伤员处理流程
手术患者发生坠床的处理流程
手术患者导管异常脱落的处理流程
手术中停电或突然停电的处理流程
泛水应急预案及处理流程
精品文档手术室火灾的处理流程
精品文档。
手术室应急处置预案及流程图手术室应急预案与流程应急预案指面对突发事件如自然灾害、重特大事故、环境公害及人为破坏的应急管理。
指挥、救援计划等。
有完善的应急组织架构,管理指挥系统;强有力的应急救援保障体系;综合协调及应对自如的相互支持系统;充分备灾的保障供应体系;综合救援的应急队伍等。
手术室是医院对患者实施手术治疗、检查、诊断并担负抢救工作的重要场所。
作为综合性医院的手术室,每天除要完成大量择期手术外,还常常会有很多意外的紧急情况发生。
因此,建立一套行之有效的手术室防突发事件和紧急情况的应急预案及应对措施有重要意义。
第一节应急预案体系一、应急预案目的《左传》有言,“居安思危,思则有备,备则无患。
”手术室应急预案制订的目的为建立健全手术室医疗应急救援保障系统,提高对突发公共事件、自然灾害等救治能力,最大限度地预防和减少突发公共事件、自然灾害造成的损害,保障公众的生命安全,提高公众的生命质量。
二、组织架构(一)建立健全手术室应急预案小组手术室成立应急小组,组长由护士长担任,组员由应急能力强,抢救技能好的主管护师和高年资护师担任,手术室的应急小组应服从医院及护理部的统一领导、统一指挥。
(二)手术室应急小组职责当突发事件发生时服从护士长调遣,在实施急救救治时,不临阵脱逃,不借故回避,在接到急救任务时,无论白天或黑夜,必须及时到岗。
三、应急预案类型1.自然灾害主要包括水旱灾害、地震灾害、地质灾害、海洋灾害、生物灾害和森林草原火灾等。
2.事故灾难主要包括各类安全事故、交通事故、公共设施和设备事故等。
3.公共卫生事件主要包括传染病疫情、群体性不明原因疾病、职业危害,以及其他严重影响公众健和生命安全的事件。
4.社会安全事件主要包括恐怖袭击事件、群体受伤突发事件等。
四、手术室护士应急的技能培训手术室遇到的突发事件经常是由于发生地震、车祸、空难、火灾等意外灾害时有成批伤员需要救治的紧急情况,手术室是最先抢救的工作场所。
滕州市荆河社区卫生服务中心手术意外或并发症、合并症处理预案(21种应急预案)一、手术室防火培训及应急预案一.建立手术室、麻醉科火灾现场应急指挥小组:总指挥为手术室护士长、麻醉科主任,成员包括麻醉医生、手术医生、护士、工勤人员等,将人员分为通信联络组、灭火行动组、引导疏散组、后勤保障组四个组。
二.手术室内消防设施:(一)干粉灭火器、二氧化碳灭火器:一提、二拉、三对准、四按压(二)消火栓:一报警、二连接、三开水、四灭火(三)手动报警装置;(四)烟雾探测器及喷淋装置(五)消防通道;(六)消防广播三、任何时候在手术室发生火灾,应遵循R.A.C.E原则1、救援(Rescue):组织病人及时离开火灾现场;对于手术病人,应采用抬、背、抱、平车等方式转移。
关闭设备电源开关,搬离设备,按贵重设备先转运的方法按序搬运。
2、报警(Alarm):利用就近电话或消防手动报警装置按钮,及时拨打“119”火警和单位电话“3119”(消防值班室),报明起火部门、详细地址、火势大小、燃烧物质、有无被困人员、报警人姓名及电话。
尽快通知临近科室或部门关上门窗、熟悉灭火计划和随时准备接收病人;与此同时向保卫处、科室护士长和行政总值班汇报,并派人在路口接应或引导消防车进入火场。
3、限制(Confine):关上门窗,防止火势蔓延,关闭氧气,空气净化总开关,停止使用吸入性麻醉气体。
4、灭火或疏散(Evacuate):如果火势不大,用灭火器进行灭火;如果火势太猛,按疏散计划,及时让病人和其他人员撤离现场。
疏散方法:水平疏散:将病人转移到同一层面其他安全地方;垂直疏散:将病人安置在起火楼层的三个层次以下;向外疏散:将病人转移到病房楼外。
四、发生消防紧急状况时成员分工:(一)日间:人员分组:总指挥手术室护士长、麻醉科主任,保卫部门工作人员到达后,现场指挥权交由保卫部;公安、消防部门工作人员到达后,所有人员均服从公安、消防部门的指挥。
1、通信联络组:首先发现火源的工作人员,护士长,前台工作人员。
手术患者发生呼吸、心跳骤停的处理流程
手术患者药物引起过敏性休克的处理流程
手术室药物不良反应的处理流程
手术患者用药错误的处理流程
、
手术患者输液反应的处理流程
手术患者输血反应的处理流程
术中发生物品清点误差的处理流程
手术标本管理流程
手术患者手术中大出血时的处理流程
手术室中心负压吸引装置出现故障的处理流程
手术室中心吸氧装置出现故障的处理流程
术中仪器设备突发故障处理流程
、
术中医护人员发生针刺伤时的处理流程
批量伤员处理流程
手术患者发生坠床的处理流程
手术患者发生躁动的处理流程
高危手术患者压疮的处理流程
手术患者导管异常脱落的处理流程
手术中停电或突然停电的处理流程
泛水应急预案及处理流程
手术室火灾的处理流程
精品文档。
一.建立手术室、麻醉科火灾现场应急指挥小组:总指挥为手术室护士长、麻醉科主任,成员包括麻醉医生、手术医生、护士、工勤人员等,将人员分为通信联络组、灭火行动组、引导疏散组、后勤保障组四个组。
二.手术室内消防设施:(一)干粉灭火器、二氧化碳灭火器:一提、二拉、三对准、四按压(二)消火栓:一报警、二连接、三开水、四灭火(三)手动报警装置;(五)消防通道; (四)烟雾探测器及喷淋装置 (六)消防广播三、任何时候在手术室发生火灾,应遵循R.A.C.E 原则1、救援 (Rescue):组织病人及时离开火灾现场;对于手术病人,应采用抬、背、抱、平车等方式转移。
关闭设备电源开关,搬离设备,按贵重设备先转运的方法按序搬运。
2、报警(Alarm):利用就近电话或者消防手动报警装置按钮,及时拨打“119”火警和单位电话“3119”(消防值班室),报明起火部门、详细地址、火势大小、燃烧物质、有无被困人员、报警人姓名及电话。
尽快通知临近科室或者部门关上门窗、熟悉灭火计划和随时准备接收病人;与此同时向保卫处、科室护士长和行政总值班汇报,并派人在路口接应或者引导消防车进入火场。
3、限制(Confine):关上门窗,防止火势蔓延,关闭氧气,空气净化总开关,住手使用吸入性麻醉气体。
4、灭火或者疏散(Evacuate):如果火势不大,用灭火器进行灭火;如果火势太猛,按疏散计划,及时让病人和其他人员撤离现场。
疏散方法:水平疏散:将病人转移到同一层面其他安全地方;垂直疏散:将病人安置在起火楼层的三个层次以下;向外疏散:将病人转移到病房楼外。
四、发生消防紧急状况时成员分工:(一)日间:人员分组:总指挥手术室护士长、麻醉科主任,保卫部门工作人员到达后,现场指挥权交由保卫部;公安、消防部门工作人员到达后,所有人员均服从公安、消防部门的指挥。
1、通信联络组:首先发现火源的工作人员,护士长,前台工作人员。
2、灭火行动组:当时听急诊手术的所有麻醉、护理人员、巡回护士,医生助手,麻醉助手。
一、应急预案1. 急诊手术绿色通道(1)接到急诊手术通知后,手术室立即启动绿色通道,确保患者得到及时救治。
(2)安排手术间、器械、药品等资源,确保手术顺利进行。
(3)对急诊手术患者进行快速评估,制定合适的手术方案。
2. 紧急抢救手术实施方案(1)接到紧急抢救手术通知后,手术室立即启动紧急抢救程序。
(2)安排手术间、器械、药品等资源,确保手术顺利进行。
(3)对患者进行快速评估,制定合适的抢救方案。
3. 手术室停电应急流程(1)接到停电通知后,手术室立即启动应急照明设备。
(2)确保手术设备正常运行,必要时采用备用电源。
(3)加强手术间通风,确保患者安全。
4. 手术室停水应急流程(1)接到停水通知后,手术室立即启动应急水源。
(2)确保手术间清洁卫生,避免交叉感染。
(3)加强患者及医护人员的水源供应。
5. 手术室泛水应急流程(1)发现手术室泛水后,立即切断水源,防止水势蔓延。
(2)清理积水,确保手术环境干燥。
(3)对受影响区域进行消毒处理,防止交叉感染。
6. 手术中接触感染物或利器伤的应急预案(1)工作人员皮肤如意外接触到患者血液或体液,应立即用肥皂水和清水冲洗。
(2)患者体液或血液溅入工作人员的眼睛、口腔,应立即用大量的清水或生理盐水冲洗。
(3)若被感染手术的血液、体液污染的利器刺伤后,立即挤出伤口血液,用肥皂水清洗伤口并在流动水下冲洗至少5分钟。
(4)用碘伏消毒,包扎伤口,并立即更换该利器。
(5)上报保健科,在24小时内查血清有关抗体,根据不同情况及病种决定是否预防用药及用药方案。
(6)填写锐器伤登记表,并报感染管理科备案。
(7)按要求定期复查。
二、流程1. 病人入院后,手术室医护人员对其进行快速评估,了解病情,制定手术方案。
2. 手术前,医护人员对患者进行术前谈话,告知手术风险及注意事项。
3. 手术过程中,医护人员严格执行无菌操作规程,确保手术安全。
4. 手术结束后,对患者进行术后观察,确保患者安全离院。
手术室应急预案及流程
目录表
一.手术室一般停电应急流程 (4)
二.手术室突然停电应急流程 (5)
三.手术室停水的的应急预案 (6)
四.手术室泛水的应急预案 (7)
五.手术室发生火灾的应急预案 (8)
六.手术室中心供氧突然停止的应预案 (14)
七.手术室中心吸引突然停止的应急预案 (15)
一、手术室一般停电应急预案
询问对方停电的原因及时间
用物准备:应急灯、手电筒、简易呼吸囊
接到停电通知,及时报告护士长,麻醉科主任或
在护士站办公室的白板上写明停电时间 组织人员做好停电准备如应急灯、手电筒、简易
呼吸囊等。
4.停电期间如无院发电供电给手术室,通知手术科
启用麻醉机或监护仪的蓄电池或用手工
关闭术中使用仪器的电源、以免突然来电时损坏
密切观察病情、安慰病人并做好解释工作 注意防盗、防止跌倒或撞伤 停电期间、不能离开手术间
二、手术室突然停电应急预案
停电的原因,检查是否跳闸或保险丝问题
有无仪器受损
有无人员受损
启用麻醉机或监护仪的蓄电池或用手工操作
如简易呼吸囊等 关闭术中使用仪器的电源、以免突然来电 时损坏仪器
密切观察病情、安慰病人并做好解释工作 注意防盗、防止跌倒或撞伤 停电期间、不能离开手术间
通知电工房、总务科等
备注:电工组: 行政总值班:
应急物品:应急灯2盏,放置在仪器室,手电筒2个在急救车。
三、手术室停水的的应急预案
接到停水通知,及时报告护士长、麻醉科主任或值班人员
在护士站办公室白板上写停水通知的原因及停水时间
做好储水的准备(用干净水桶储水)
通知相关科室根据患者情况推迟手术
急诊手术,用无水洗手法进行外科洗手
四、手术室泛水的应急预案
关楼层水源总阀
关闭水龙头
转移贵重仪器、医疗文件、病历安抚病人并做好解释工作
检查仪器性能
检查水、电、保证安全
五、手术室防火培训和发生火灾应急预案
(一) 遵守医院的火灾应急预案。
(二)建立部门火灾现场指挥小组:总指挥为手术室护士长、麻醉科主任,成员包括麻醉师、手术医生、手术室护士、工人等。
(三)手术室消防设施:
1.1211灭火器(二氟一氯一溴甲烷):共3个,其中护士站旁边2个,无菌间与1室之间的安全通道1个。
1.1使用方法:操作人员站在火源风头上,拨掉灭火器上保险栓(手柄上的拉环),枪头对准火源根部,用力按下手柄,压杆就使密封阀开启,喷嘴射出甲烷压住火势。
1.2注意事项:使用时应垂直操作,背向风口。
绿色为正常,红色为下限,黄色为超压。
2.消火栓(水管)1处,在手术室外走道处。
消火栓使用方法:一般由专业人员使用。
3.消防安全通道2处:手术室非限制区域2处。
4.手术室总电阀在走道辅料间外墙上。
(一)任何时候在手术室发生火灾,应遵循R.A.C.E原则。
(二)救援(Rescue):组织病人及时离开火灾现场;对于手术病人,应用抬、背、抱、平车等方式转移。
必要时关闭设备电源开关,搬离设备,按贵重设备先转运的方法安序搬运。
(三)报警(Alarm):利用就近或消防手报按钮,迅速向保卫科、消防控制中心119台报警,报警时讲明地址、起火部门、火势大小、燃烧物质和报警人,并通知邻近部门和相关手术科室,随时准备接收病人;与此同时,即向保卫科、医院办公室、分管副院长(龙天贵)汇报,并派人在路口接应或引导消防人员进入火场。
(四)限制(Confine):关上门窗,防止火势蔓延。
关闭氧气等易燃易气体,停止使用并关闭吸入性麻醉气体。
(五)灭火或疏散(Evacuate):如果火势不大,用灭火器进行灭火;如果火
散:将病人转移到同一层面其他安全地方;垂直疏散:将病人安置在起火楼层的第五层以下的楼尽;向外疏散:将病人转移到本大楼以外的其它地方。
(六)在发生火灾时各成员职责
1.首先发现火源的工作人员,立即用灭火器灭火,同时通知护士长、麻醉科主任或领班护士。
2.麻醉科主任、手术室护士长职责
2.1立即进行救援工作的人员分工。
2.2立即向保卫科、医院办公室、主管副院长(成俊芬)汇报。
2.3指挥并协调重病人疏散。
2.4巡视有无遗留病人,协助病人疏散。
3.领班护士职责:
3.1报警,与消防控制中心保持联络。
3.2指引消防通道。
3.3传达消防控制中心指挥人的意图给现场人员。
3.4通知相邻楼层关上防火门,随时准备疏散病人。
3.5通知各病区立即携带轮椅、平车赶到手术室疏散病人。
3.6指挥病人有秩序从走廊进入消防通道疏散。
4.麻醉师:
4.1立即关闭氧气。
4.2停止使用吸入性麻醉气体,立即脱开麻醉机,连接简易呼吸囊进行人工呼吸。
4.3在挤压过程中,严密观察病人状态及病情变化,及时记录,并负责病人病历、麻醉手术记录的转移与保管。
5.护士职责:
5.1保持镇静、稳定病人的情绪。
5.2根据疏散病人处理程序,做好手术病人伤口的保护。
5.3听从指挥,有秩序地转移手术病人。
5.4做好手术记录及病历的转移与保管。
6.其他人员:麻醉师、手术医生:评估病人、根据转移的优先顺序以及具体病
口、引流管的处理。
(七)手术室/麻醉科常规消防注意事项:
1.麻醉科主任/护士长
1.1定期检查并确保楼层消防通道通畅。
1.2工作区域必须具备有应急照明灯/电筒,保证充电充足。
科室备有2只应急灯(在辅料间),2只手电筒(在急救车)。
1.3保证科室所有人员熟悉楼层消防器材分布位置及使用方法。
1.4定期学习医院及楼层消防预案、并进行演习。
1.5作为医院义务禁烟监控人员,在手术室任何区域监督劝阻吸烟行为。
2.麻醉科医生
2.1熟悉楼层消防器材分布位置及使用方法。
2.2维持消防通道通畅。
2.3定期学习医院及楼层消防预案、并进行演习。
2.4管理好麻醉科区域使用的仪器设备,有损坏及时报修。
2.5保证每台麻醉机具备简易呼吸囊。
2.6使用血管活性药物的微泵须有蓄电池。
2.7作为医院义务禁烟监控人员,在手术室任何区域监督劝阻吸烟行为。
3.手术室护士
3.1各班交接时检查并确保楼层消防通道通畅。
3.2按制度管理好易燃易爆危险物品。
3.3保护好消防设施,发现问题及时报护士长、保卫科。
3.4在手术室严禁使用明火。
慎用各种电热设备。
3.5管理好设备,发现损坏及时报修。
3.6定期学习医院及楼层消防预案、并进行演习
3.7作为医院义务禁烟监控人员,在手术室任何区域监督劝阻吸烟行为。
(十一)手术室区域易燃易爆危险物品的管理
1.易燃易爆(如氧气、CO2、氮气),悬挂醒目的四防标志(防火、防油、防震、防水)。
3.受损的电子器材,插座或外露电线及时维修。
4.用酒精进行皮肤消毒时,注意不能过湿,防止使用电刀时起火。
(十二)逃离火灾的注意事项
1.站立需靠近地面,在烟、气雾多时,用面罩或湿毛巾遮盖口鼻呼吸,身体尽量贴近地面,匍匐向前,冲出火场。
2.不能乘坐电梯。
附:手术室发生火灾的应急预案流程
引起火灾的原因、火灾的围、人员伤势、可
使用的安全通道
防火、灭火所需抢救用物
所需参与救援的人数
抢救用物、灭火器材数量、性能及放置位置
发现火警立即报告医院保卫科、医院总值班
火势难以控制时,立即拨打火警119,告知准
确地址
通知科室所有人员做好灭火的准备
组织现有人员,集中现有灭火器材积极扑救,
控制火势
立即切断通向火灾现场的供电和供气、撤除现
场易燃易爆物品
关好邻近房间的门窗、防止火势蔓延
火势难以控制时,放下防火闸门,隔开火灾区域
现场指挥报告有关职能部门
由现场主管领导根据情况下达疏散批示
协助手术医生、麻醉师尽快为手术台上的病人
止血包扎,需辅助呼吸的病人,接好简易呼吸
囊维持人工呼吸
迅速疏散病人和工作人员,撤离火灾现场至安
全地带,切勿乘坐电梯
六、手术室中心供氧突然停止的应预案
中心供氧突然停止的原因、围、时间
是否有手术、病人需氧情况
可获得的非中心供氧的紧急装置(氧气筒)
及放置位置
立即通知手术室(设备科)技师检修查明原因报告麻醉师、手术医生、护士长
报告总务科、医院总值班
为非短暂停氧时,立即通知氧房供应筒氧
全麻或大手术病人使用氧气筒装置供氧
无氧气筒时需辅助呼吸的病人采用简易呼吸囊进行人工呼吸供氧
七、手术室中心吸引突然停止的应急预案
1.中心吸引突然停止的原因、围、时间
2.手术病人出血状况和呼吸道分泌物
3.可获得的移动式电动吸引器及放置位置 属于巡回护士无法排除的故障时,立即通知 (设备科)技师检修,查明原因 报告麻醉师、手术医生、护士长
确定为非短暂故障时,报告总务科,非正常
使用移动式电动吸引器
无移动电动吸器时,而病人呼吸道分泌物多 时,用吸痰管接注射器抽吸分泌物。