2020HR流程图-绝对装备精品
- 格式:doc
- 大小:559.61 KB
- 文档页数:26
精品资料-HR人力资源工作流程图汇总————————————————————————————————作者:————————————————————————————————日期:标 题营销人员招聘实施流程类 别 人力资源部作业流程编 码 受控状态组织单元人力资源部营销中心应聘者管 理 动 作作用 关键制度 关键表单注意事项用工申选择发出招通过报纸、招聘报名填写内部招提供面试 营销总选定提供通知选收到报入职工发出内部编制/ 时期审核/ 时期批准/ 时期标题人力资源内部管理流程类别人力资源部作业流程编码受控状态组织单元分管副总裁HR部长人力资源部人事专员薪酬福利专员培训专员备注管 理 动 作作 用关键制度关键表单注意事项编制 / 时期审核 / 时期批准 / 时期制定人力资源制定薪酬福利制定培训制定年YE审YE NO审人员YE NOYE审NO中编写签订劳进一步明确 薪资标NO 确认进考勤员工绩YES合薪资提出员工职级 升降、NOYE 审NO劳动合同签定人员入职绩效考员工办理相调整实施YE 审解聘薪资培训结束培训 人事标题用工申请流程类别人力资源部作业流程编码受控状态组织单元用人部门部门领导分管副总裁人力资源部管 理 动 作作 用关键制度关键表单注意事项编制 / 时期审核 / 时期批准 / 时期由于人事调动上报部审影响部门维持填写审判招聘标题内部招聘流程类别人力资源部作业流程编码受控状态组织单元人力资源部用人部门公司员工管 理 动 作作 用关键制度关键表单注意事项编制 / 时期审核 / 时期批准 / 时期用工申内发出内部招报名外选外部招填写面试 提供支持NOYE 部长选定提供通知选收到报入职工作标题外部招聘流程类别人力资源部作业流程编码受控状态组织单元人力资源部用人单位应聘者管 理 动 作作 用关键制度关键表单注意事项编制 / 时期审核 / 时期批准 / 时期用工申外发出招通过报纸,招聘报名应内部招聘内选择填写应面试 提供支NO提供支通知选收到报入职工作YES选定人部长标题劳动合同管理流程类别人力资源部作业流程编码受控状态组织单元相关部门员工各部门人力资源部管 理 动 作作 用关键制度关键表单注意事项编制 / 时期审核 / 时期批准 / 时期NO 新入劳动YES员工同意 NOYES审签定劳动办理NO YES 审信息标题试用员工转正工作流程类别人力资源部作业流程编码受控状态组织单元用人部门新员工人力资源部总裁管 理 动 作作用 关键制度 关键表单注意事项 编制 / 时期审核 / 时期批准 / 时期标员工职位轮换流程类 别 人力资源部作业流程部合留员工辞填写转延长审审签订资料对新员题编码受控状态组织单元用人部门员工人力资源部接收部门管理动作规划员制定具NO部长NONOYE部长填写轮YE同意办理轮通知用员工报信息终准备接YE作用关键制度关键表单注意事项编制/ 时期审核/ 时期批准/ 时期标题定员定编流程类别人力资源部作业流程编码受控状态组织单元相关部门人力资源部总裁办公会议总裁管 理 动 作作 用关键制度关键表单注意事项编制 / 时期审核 / 时期批准 / 时期提出进行NO制定具体 通知提出本NO审YE编制统一审YENO 审NOYE终端审标题申请增编流程类别人力资源部作业流程编码受控状态组织单元相关部门人力资源部总裁办公会议总裁管 理 动 作作 用关键制度关键表单注意事项编制 / 时期审核 / 时期批准 / 时期提出薪NO NO NOYE YEYE审审制定具体的审NO YE审信息标题考勤管理流程类别人力资源部作业流程编码受控状态组织单元相关部门人力资源部财务部管 理 动 作作 用关键制度关键表单注意事项编制 / 时期审核 / 时期批准 / 时期制定考抽查与填写考制作考勤NO考勤YES NO审阅 进行信息YES主管标题员工请假/出差管理流程类别人力资源部作业流程编码受控状态组织单元相关部门分管副总裁总裁人力资源部管 理 动 作作 用关键制度关键表单注意事项编制 / 时期审核 / 时期批准 / 时期普通员工填写 审批 备案 总裁NONO1个YES部门主管1星YES考勤管标题员工奖励流程类别人力资源部作业流程编码受控状态组织单元相关部门人力资源部总裁总裁办公会议财务部管 理 动 作作 用关键制度关键表单注意事项编制 / 时期审核 / 时期批准 / 时期员工业绩突出上报部拟定奖审执审进行信息NONO NO YEYE YE部审审标题员工绩效考核流程类别人力资源部作业流程编码受控状态组织单元相关部门人力资源部总裁办公会议总裁管 理 动 作作 用关键制度关键表单注意事项编制 / 时期审核 / 时期批准 / 时期提出考制定具通知各据当月/当年计制定本月/本年NONONO NO YEYE YEYE 审审审审信息标题KPI(关键绩效考核)指标考核流程类别人力资源部作业流程编码受控状态组织单元相关部门人力资源部总裁办公会议总裁管 理 动 作作 用关键制度关键表单注意事项编制 / 时期审核 / 时期批准 / 时期提出进制定具体KPI填写KPINO NONOYESYEYESYES 审审编制KPI 审信息标题申诉流程类别人力资源部作业流程编码受控状态组织单元相关部门部门领导总裁办公会议总裁管 理 动 作作 用关键制度关键表单注意事项编制 / 时期审核 / 时期批准 / 时期YES研究批示日常掌握涉及员工认为推动确定解决请复终端NO NO审YES满标题任命流程类别人力资源部作业流程编码受控状态组织单元相关部门人力资源部总裁办公会议总裁(总经理)管 理 动 作作 用关键制度关键表单注意事项编制 / 时期审核 / 时期批准 / 时期YES 提出任签批NO审议 制定具通知各提出任下发任进行人NO NO审NO审YESYES YE审信息标题员工辞职审批流程类别人力资源部作业流程编码受控状态组织单元用人部门人力资源部总裁管 理 动 作作 用关键制度关键表单注意事项编制 / 时期审核 / 时期批准 / 时期YES员工填部门主同辞职部长审审批结束离职移交NOYESNO超出同YESNO同标题员工离职交接流程类别人力资源部作业流程编码受控状态组织单元用人部门人力资源部总裁管 理 动 作作 用关键制度关键表单注意事项编制 / 时期审核 / 时期批准 / 时期YES员工辞职员工填写审结算注销部门与员结束招聘YESYESNO NO NO部长审影响超出标题加班申请审批流程类别人力资源部作业流程编码受控状态组织单元用人部门人力资源部财务部管 理 动 作作 用关键制度关键表单注意事项编制 / 时期审核 / 时期批准 / 时期YES业务发员工填员工加填写加发放加YESNONO NO部长部长审标题培训计划制定实施流程类别人力资源部作业流程编码受控状态组织单元相关部门培训主管人力资源部总裁后勤保障部管 理 动 作作 用关键制度关键表单注意事项编制 / 时期审核 / 时期批准 / 时期YES 确认培提出教学内容/制定制定教实施培培训效资料提供相培训时NO YESNONO NO需审YESYES 评批NO YES YES审确标题培训方案编写流程类别人力资源部作业流程编码受控状态组织单元相关部门培训主管人力资源部分管副总裁总裁办公会议总裁管 理 动 作作 用关键制度关键表单注意事项编制 / 时期审核 / 时期批准 / 时期YES提供 组织制定论签 批拟定论签 批确定实施求YESNO审审YES审NONO 判标题培训场所落实流程类别人力资源部作业流程编码受控状态组织单元相关部门培训主管人力资源部管 理 动 作作 用关键制度关键表单注意事项编制 / 时期审核 / 时期批准 / 时期YES由培训档次、初定培提供信草签场确定培培训实YESNO NO 审判标题培训师落实流程类别人力资源部作业流程编码受控状态组织单元相关部门培训主管人力资源部管 理 动 作作 用关键制度关键表单注意事项编制 / 时期审核 / 时期批准 / 时期YES根据培训档次、审初定培提供信判草签培确定培求证培训实施YESYESNO NONO标题培训教材准备流程类别人力资源部作业流程编码受控状态组织单元办公室培训师培训主管管理动作作用关键制度关键表单注意事项编制/ 时期审核/ 时期批准/ 时期YES培训师初定培提供信派人购审培训实施NO 审NO YES。
超全的人力资源工作流程图,含招聘、绩效、培训、薪酬等,
很详细!
很宝贵的资料,人力资源工作的每一环节都梳理的很清晰了,建议大家收藏或分享给圈内好友,时不时的能对照理一理自己手头的工作。
1.人力资源工作总图
2.员工进入-退出公司轨迹
3.关于招聘流程
4.关于绩效考核
5.关于绩效评估
6.关于薪酬操作流程
7.关于福利-社保
8.关于奖惩
9.关于岗位调整
10.关于人才储备
11.关于培训
12.劳动合同
13.关于入职
14.关于试用转正
15.关于考勤
16.关于休假
17.关于档案
18.关于离职
声明:素材源自网络,版权归原作者所有,如有侵权请联系处理。
全套人力资源流程图(PPT精品)预算外人员编制--新部门(岗位)的增加流程图预算外人员编制--原岗位任职人员的增加流程图入职流程图临时聘用人员流程图新员工转正流程图人员变动流程图人员变动—平级调动流程人员变动—晋升流程人员变动—降级流程员工辞职流程图员工人力资源部/总经理各部门财务部提出提前解除劳动合同申请人力资源部经理签批通知员工办理离职手续部门经理及时与员工面谈,寻求解决方案更新员工信息档案库是否有解决方案解决方案是否被接受是否否是员工辞职申请表将员工辞职申请表提交人力资源部员工辞职申请表根据协商解决方案安排员工工作或生活,并取消辞职申请根据员工各类协议计算收支金额收取辞职员工违约金,支付补偿金和结清其他未清项目,并在离职会签单签字各部门拟定员工工作及物品移交清单员工办理工作交接,和办理离职会签手续工作及物品移交清单员工辞职申请表根据职务级别确定是否需总经理签字总经理审核部门经理及以上级别员工辞职申请表是否人事主管审批后交人力资源部经理签批通知财务向员工收取违约金支付补偿金和结清其他未清项目是否需要竞业协议是否与员工签协议与员工面谈,了解辞职原因审核员工离职会签单,出具解除劳动关系证明通知相关部门员工辞职申请表存档存档员工离职会签单解除(终止)劳动合同证明书员工离职会签单员工信息档案库C-11-04-002员工解聘流程图人力资源部/总经理各部门员工财务部更新员工信息档案库并存档是否符合劳动法及公司相关规定是员工信息档案库填写劳动合同终止通知书解除(终止)劳动合同通知书解除(终止)劳动合同通知书否部门经理提出解除员工劳动合同的申请人力资源部查询劳动法及公司相关规定,如必要向公司法律顾问咨询支付员工补偿金拟定员工工作及物品移交清单员工离职会签单工作及物品移交清单根据与员工签定的各项协议计算经济补偿金人事主管审批后交人力资源部经理审批通知财务向员工支付补偿金是否需要竞业协议签竞业协议是否存档解除(终止)劳动合同通知书员工办理工作及物品交接工作及物品移交清单到财务部领取补偿金AA解除员工劳动合同申请表人事主管审核后人力资源部经理审核并签署意见解除劳动合同申请表是否同意分管副总经理审批否结束是提交总经理签字确认反馈各部门递交总经理签批是否同意否是审核员工离职会签单,出具解除劳动关系证明员工离职会签单解除(终止)劳动合同证明书C-11-04-003培训课程清单培训中心相关部门9月下旬下发关于编制下一年度培训需求计划的通知部门经理审批综合管理员编制培训需求计划是否批准依据培训中心培训课程清单拟定预算员工职业生涯发展计划部门业务发展计划人力资源部否是培训需求计划表通知培训需求计划流程图C-11-05-001按批示调整培训需求计划表编制培训课程实施计划培训中心主任审批是否通过公布培训实施计划修订培训实施计划存档是否培训实施计划培训管理员收集汇总培训需求计划是否满足需求培训中心主任结合年度培训费用预算,审核各部门培训需求为培训需求填列价格后重新下发各部门是否年度经营目标与部门经理进行沟通确认抄送一份给人力资源部经理提交主管副总经理人力资源规划流程每季末编制培训实施情况季报表培训实施情况季报表是否自主开发培训开发流程制订课程开发计划人力资源部培训中心将培训要求与培训中心课程设计能力进行对比查询培训供应商信息培训供应商信息库人力资源部经理与各部门协调是是否否培训需求分析,确定培训目标及具体培训要求课程开发计划表是否可以委托培训培训需求分析流程图C-11-05-002确定新添加课程的价格委托培训管理流程补充培训课程清单培训课程清单人力资源部经理审批签字年度培训实施计划人力资源规划调整申请人力资源规划执行流程每季度下发一次培训课程清单给各部门培训管理流程图培训中心下发开班通知整理名单,核对上报人数与计划人数是否一致学员报到发放教材及学习用品安排调整学员工作上报名单学员名单准备教学及学员学习用品编制学时计划通知有关教师备课并上交教学计划安排座位建立班委与班委交待日常管理事项收集教学管理信息将教学信息反馈给有关教师并指导改进是否需要考试是否相关部门培训实施计划开班通知单发放听课通知听课通知单通知相关人员学员确认是否参加培训填写培训请假单培训请假单组织培训考试及阅卷更新员工信息档案员工信息档案库综合考评是否确定参加培训人员名单,通知人力资源部和培训中心培训考核记录表需要颁证的组织颁证工作编制费用结算表培训费用结算表培训中心主任审核是否通过修改是否收集学员工作情况及部门意见下发培训信息反馈调查表填写培训信息反馈调查表培训信息反馈调查表汇总讨论并制定改进方案教学人员改进教学工作培训改进方案相关部门确认培训费用C-11-05-004收集培训信息反馈调查表,并交培训中心受训学员信息跟踪调查表部门经理审批请假单付款管理流程绮妆美业人力资源管理流程图人力资源规划流程图总经理/董事会人力资源部各部门人力资源现状汇总表盘点人力资源现状,统计下一年度退休人员情况根据部门业务发展要求和员工职业生涯设计编制培训计划培训需求计划总经理签发会议纪要会议纪要人事信息档案管理员汇总各部门计划下发会议纪要现状汇总表和退休人员情况表人力资源部经理编制公司人力资源规划人力资源规划初稿(人员需求、调整、培训、薪酬福利计划)人力资源规划文件总经理审阅下发人力资源规划文件会议纪要董事会讨论通过组织各部门召开下一年度人力资源规划编制专题会薪资管理员根据薪资福利方案制定薪酬福利计划编制人员需求和调整计划退休人员清单人员需求计划是否通过是否人员晋升计划人员调整计划人员需求计划人员晋升计划人员调整计划培训需求计划董事会分析上年度公司经营情况和本年经营目标,收集人才市场薪资福利信息,讨论形成薪资福利方案公司战略培训需求计划流程分管副总经理审批是否通过是否人力资源现状汇总表退休人员清单会议纪要部门经理召集本部门人员商讨下一年度人员需求和培训需求是否通过人力资源部经理进行必要的部门间协调直至达成一致是否人力资源规划的执行流程预算的编制流程听取各部门对本年人力资源规划的反馈,并估计人员流动率下一年度人力资源部门经营目标值C-1 1-01-001工资调整流程培训需求计划流程人力资源规划的执行流程图各部门人力资源部招聘管理员和培训中心主任定期查看人力资源规划的执行情况每月5日前通知各部门确认下两个月人力资源规划部门经理核实部门的实际需求与人力资源规划是否有差异部门经理提出调整申请将确认信息反馈人力资源部人力资源规划调整申请否是分管副总经理审核该项申请的必要性是否批准否是将调整申请递交人力资源部人力资源规划流程招聘管理员和培训中心主任负责收集和汇总反馈信息C-11-01-002是否在规定期限内收到反馈信息人力资源规划调整申请按原定人力资源规划执行人力资源部经理对申请进行初步审核,并在申请部门间协调下发实施是否批准申请反馈申请部门是否是否资金计划管理流程总经理审批是否批准申请是否人力资源经理总经理提出新业务规划审批部门经理审批招聘专员薪酬专员人力资源部新增部门需求新增岗位需求完成部门(岗位)新增后的相应工作审批完成岗位定级工作确定岗位职责/任职资格制定具体招聘计划执行审批业务量的增加情况(数据)新业务部门(岗位)增加的需求新部门(岗位)的定位、职责、级别等部门主管副总审核该部门(岗位)的职责设计部门内部的岗位分布、岗位名称、大致级别、职责定位、岗位协作关系调整部门(岗位)的总体人员预算计划人力资源经理总经理部门经理审核招聘专员主管副总人力资源部对人员增加计划提出建议执行填写《现有岗位人员增加计划申请表》审核纳入招聘计划列出需要增加人员的岗位名称,职责及任职资格在同一岗位上,人员的责任分工,部门人员预算费用的增加额等人力资源部招聘管理员拟定招聘宣传稿并根据薪资福利计划确定初步薪酬发出招聘公告根据岗位描述和公司用人标准对报名人员进行初选应聘人员登记表内部招聘流程流程图(1)调入部门人员需求计划收集应聘材料是否通过是否同意调出部门否否是根据人员需求计划和岗位描述确定每一轮面试内容时间地点参加人数和筛选人数提交人力资源部人事主管审批招聘面试流程通知被选人员参加面试面试合格名单是查询应聘人员信息员工信息档案库初选合格名单A结果反馈应聘者人员调整计划C-11-02-001人力资源部内部招聘流程图(2)调入部门调出部门通知调出部门,发出员工内部调动申请表是否同意部门经理出具调出意见各部门拟定工作和物品移交清单否否是是通知调动人员办理工作交接员工离职会签单人力资源部经理与调出调入部门经理协调处理办法是否调整总经理审批回复调入部门通知员工招聘不足计划部分进行社会招聘一般社会招聘流程A劳动用工管理员办理调动手续员工内部调动申请表工作和物品移交清单更新员工信息档案库并存档员工信息档案库薪资管理员根据薪资福利计划编制员工调资表员工调资表薪资管理员调整社保信息是否同意绩效薪酬主管审批员工调资表否是员工调资表员工内部调动通知单C-11-02-001员工内部调动申请表员工内部调动通知单劳动用工管理员开具内部调动通知单人力资源部经理签批内部调动通知单劳动用工管理员下发内部调动通知单员工内部调动通知单人力资源部根据岗位描述和公司用人标准进行初选赴高校宣传,收集应聘人员资料招聘管理员拟定招聘宣传稿并根据薪资福利计划确定初步薪酬应聘人员登记表组建由人力资源部和各需求部门人员参加的招聘小组毕业生招聘图(1)初选合格名单是否被选中各部门招聘面试流程面试合格名单通知初选合格人员面试否是选派人员参加招聘小组A人员需求计划确定每一轮笔试、面试的内容、时间、地点、方式、参加人数和筛选人数B结果反馈应聘者是否同意否提交人力资源部人事主管审批是C-11-02-002人力资源部毕业生招聘图(2)各部门否否是人力资源部经理审批组织通过面试的人员体检是否合格体检合格名单是否同意审批后的录用名单是否招足签订劳动合同并鉴证更新员工信息档案库并存档劳动合同员工信息档案库A是否是办理人事代理手续B结果反馈应聘者结果反馈应聘者薪资管理员根据薪资福利计划编制新聘员工工资定级表新聘员工工资定级表薪资管理员办理社保手续是否同意绩效薪酬主管审批工资定级表否是新聘员工工资定级表C-11-02-002企业申请劳动合同鉴证职工花名册一般社会招聘流程图(1)人力资源部各部门人员需求计划人力资源部人事主管审核是否同意发布招聘广告并宣传收集汇总应聘资料招聘推荐流程应聘人员登记表根据岗位描述和公司用人标准对应聘人员进行初选是否被选中初选合格名单否是否是内部招聘流程选择招聘渠道向公司员工传达招聘信息结果反馈应聘者A招聘管理员拟定招聘宣传稿并根据薪资福利计划确定初步薪酬C-11-02-003一般社会招聘流程图(2)人力资源部各部门录用名单办理人事代理手续签订劳动合同并鉴证A通知应聘者,组织入围者体检,确定最终录用名单通知初选人员面试招聘面试流程面试合格名单招聘人数不足计划的部分继续进行招聘劳动合同更新员工信息档案库并存档员工信息档案库薪资管理员根据薪资福利计划编制新聘员工工资定级表新聘员工工资定级表薪资管理员办理社保手续是否同意绩效薪酬主管审批工资定级表否是新聘员工工资定级表C-11-02-003企业申请劳动合同鉴证职工花名册招聘面试流程图人力资源部各部门毕业生招聘流程内部招聘流程一般社会招聘流程初选合格名单通知初选合格人员面试综合素质测试或面试面试记录表根据部门岗位具体要求组织专业技能笔试是否合格是否合格面试记录表根据部门岗位要求组织直接领导的上级主管进行综合面试是否合格面试合格名单资历学历调查核实是否属实背景调查表是是是否否否否是面试通知更新应聘人员信息库A未被录用的结果反馈应聘者综合分析面试和笔试情况收集面试记录表和笔试试卷根据部门岗位要求组织直接领导进行专业技能面试面试记录表确定背景调查名单A不予录用的结果反馈应聘者面试合格名单A人力资源部经理与合格人员商讨确定新聘员工工资水平C-11-02-004招聘推荐流程图各部门人力资源部公布人才需求计划鼓励员工推荐收集汇总员工推荐资料应聘人员登记表一般社会招聘流程是否录用反馈推荐人员结束员工根据招聘要求推荐合适人选,提供相关材料应聘人员资料试用期满根据奖励方案提出兑现具体奖励具体奖励方案人力资源部经理审核是否符合政策审核后的具体奖励方案兑现奖励奖金发放流程推荐人领取奖金否否是是招聘推荐奖励政策宣传招聘推荐奖励政策员工奖励情况存档C-11-02-005员工信息档案库人力资源部拟录用人员总经理人力资源经理招聘专员安排应聘者体检合格否是填写《入职审批表》审批经理及以上员工经理及以下员工审批发放《录用通知书》新员工报到填写《员工登记表》建立员工个人档案签订《劳动合同》和《保密合同》用人部门通过通过入职事宜确认不予录用填写《临时人员招聘申请表》人力资源部短期工作人员总经理/主管副总人力资源经理招聘专员用人部门审批通过费用审核与外部劳务派遣公司或其他劳务机构联络签订《劳动合同》和《保密协议》入职不通过选择临时聘用人员通过审批通过不通过发布新员工办理转正手续的通知完成《新员工转正述职报告》转正沟通填写《转正审批表》提交转正资料及申请人力资源部新员工总经理/主管副总人力资源经理招聘专员用人部门经理审批总经理审批发出《转正通知书》普通员工经理及以上员工通过主管副总审核通过通过人力资源部人力资源经理招聘专员拟用人部门主管副总/经理现用人部门主管副总/经理填写《人员变动审批表》薪酬专员总经理新岗位级别/薪资核定跨部门调动部门内部调动审批审批通知本人办理调动手续平级调动晋升审核签字审批降级绩效考核结果360度资质调查反馈结果通过通过通过(部门经理以上报总经理审批)新级别薪资核定审核签字新级别薪资核定绩效考核结果360度资质调查反馈结果相关课程培训记录岗位任职能力评估结果人力资源部人力资源经理招聘专员拟用人部门主管副总/经理现用人部门主管副总/经理填写《人员变动审批表》薪酬专员新岗位级别/薪资核定跨部门调动部门内部调动审批审批通知本人办理调动手续通过对拟调动员工进行综合绩效评估双方协商沟通正式确定调动后通过人力资源部人力资源经理招聘专员现用人部门主管副总/经理填写《人员变动审批表》薪酬专员总经理通知本人办理调动手续晋职审核签字晋级通过部门经理以上报总经理审批绩效考核结果相关课程培训记录岗位任职能力评估结果360度资质调查反馈结果绩效考核结果审批新级别薪资核定人力资源部人力资源经理招聘专员现用人部门主管副总/经理薪酬专员总经理填写《人员变动审批表》降级绩效考核结果360度资质调查反馈结果通知本人办理调动手续审核签字通过部门经理以上报总经理审批新级别薪资核定审批结构性人员调整流程图调出部门总经理/董事会人力资源部调入部门人力资源规划流程总经理签发结构性人员调整方案结构性人员调整方案人力资源部经理依据调整方案制定具体的调整计划是否批准总经理审批修改结构性人员调整计划员工办理工作交接是否各部门拟定员工工作及物品移交清单工作及物品移交清单员工离职会签单董事会审批是否批准是否结束人力资源部经理和调入、调出部门沟通、协调结构性人员调整计划C-11-03-001员工内部调动通知单员工内部调动通知单劳动用工管理员开具内部调动通知单人力资源部经理签批内部调动通知单劳动用工管理员下发内部调动通知单员工内部调动通知单薪资管理员根据内部调动通知单编制员工调资表员工调资表更新员工信息档案库并存档员工信息档案库人力资源部绩效薪酬主管审批是否同意否是岗位描述和人员编制流程图人力资源部各部门收集同类企业岗位描述和人员编制信息是否调整人力资源部组织相关部门跟班测定调整或新增岗位描述和人员编制经人事主管审批后交经理签批是否同意征求被调整部门意见否否否是是新增或调整业务流程通知与相关部门协商工作量是否同意分管副总经理审核总经理审批是否同意审批后的岗位描述及人员编制调整申请表通知相关部门执行并存档是内审部分析现有人员编制情况,确定是否要调整岗位描述根据公司战略的调整或生产经营情况的变化需新增或调整业务流程因业务量变化部门经理提出人员编制调整申请人员编制调整申请表编制工作量核算表结束分管副总经理审批是否同意同意需要修改工作量核算表否是不同意员工信息档案库人员编制调整申请表岗位描述人员编制调整申请表岗位描述C-11-03-002能力素质模型管理流程职业生涯设计流程图人力资源部各部门部门经理根据晋升路线和技能发展路线与员工讨论职业生涯设计人力资源部根据岗位描述和能力模型制定各岗位技能发展路线年初时,根据员工晋升路线,确定员工技能发展目标在制定员工培训计划和绩效考核指标值时,同时考虑员工职业发展目标年末直接主管与员工回顾本年的技能发展情况员工职业生涯设计岗位描述人力资源部根据岗位描述和能力素质模型制定各岗位晋升路线更新员工信息档案库并存档员工信息档案库C-11-03-003能力素质模型员工晋升流程图各部门/分管副总经理人力资源部总经理员工绩效管理流程员工绩效考评结果部门经理确定晋升部门经理以下级别人员名单人员晋升申请表分管副总经理审批职业生涯设计流程员工职业生涯设计人员晋升申请表总经理审批是否同意分管副总经理确定晋升部门主管级别人员名单人员晋升申请表审批后的人员晋升申请表是否晋升部门经理级别提交人力资源部进行晋升资料的考察审议空出岗位是否有人接替发布通告通告薪资管理员根据晋升人员晋升后的直接领导确定的工资级别编制员工调资表员工招聘流程更新员工信息库并存档员工调资表员工信息档案库否是是否否是是否同意是否同意是是否否反馈各部门和分管副总经理晋升人员办理离岗工作交接工作接替董事会总经理提交给董事会晋升分管副总经理级别的候选人名单以及相关人员的绩效考评情况董事会审核晋升分管副总经理级别的候选人名单是否同意是否结束总经理提名晋升分管副总经理级别候选人名单新岗位能力素质模型职务说明和人员编制流程C-11-03-004人力资源部各部门拟聘任名单招聘管理员汇总拟聘任名单收集汇总资料申请聘任人员答辩资料专业技术职务聘任流程图是否同意聘任文件招聘管理员拟定打印聘任文件并交经理签字反馈至部门和个人部门经理根据员工职业发展目标、能力素质模型和个人表现确定人选结束是拟聘任名单职务聘任委员会申请聘任人员答辩资料组织召集职称聘任委员会聘任委员会评审是否同意评审后聘任名单总经理审批审批后的聘任名单反馈至部门和个人聘任文件否是否职业生涯设计流程职业生涯设计通知员工准备答辩资料各部门收集上报答辩资料拟聘任名单招聘管理员汇总形成拟聘任名单C-11-0 3-005将聘任名单和调整后聘任人员工资更新员工信息档案库员工信息档案库薪资管理员根据公司薪酬福利计划和最终确定的聘。
HR流程图绝对装备综合部行政事务治理的要紧工作内容:执行行政日常事务处理;执行秘书事务治理;执行档案的归档治理;执行后勤服务保证;执行办公设备、公共设施的日常治理和爱护;执行办公用品及日常用品的采购、发放治理;执行固定资产及低值易耗品的治理;执行各种费用的操纵交纳;执行公司对外关系建立爱护;执行突发事件处理;执行运算机网络治理;执行合同治理;执行人力资源治理;执行上级交办事务等工作。
一、综合部具体工作流程(一)日常事务处理综合部的工作杂而乱,涉及面广,大小情况多,同时专门多事务具有不可确定性,临时显现的工作,会给当日打算工作带来专门大的冲突,这时就要择其轻重而处理。
总体来讲,综合部属于服务保证部门,是为其他部门服务的,因此也要协助其他部门处理不涉及本部门的日常事务。
否则会阻碍正常工作秩序,甚至会阻碍公司的经营活动。
(二)执行秘书事务治理秘书工作是综合部的核心工作,亦是公司内部承上启下、对外联络的纽带和桥梁。
在实际操作中,要求秘书事务治理人员在做好参谋助手的同时,牢固树立超前服务意识,有条有理的搞好各项服务工作。
(三)执行文件档案的归档治理依照不同种类档案的特点,做好系统编目、使用/传阅操纵、分类存放、排列有序,定期收集各类文件资料,并整理立卷归档。
各部门往来的备忘录、文档、资料等按类别、内容、时刻顺序等存档治理。
各类文件资料收发、均需在登记薄上作好详细登记、记录,及时将各类信息(通知、文件)进行上传下达,专门是各类客户信息应登记后及时传递给相关部门。
(四)后勤服务保证综合部要将后勤服务保证列入日常工作中,要加强对工作环境、交通的治理进行监督,收集职员建议,缓解职员情绪,为职员提供较为良好的生活、工作环境,提高保证质量;车辆治理中,要制定相应制度,经常提醒驾驶员遵章守纪,保证车辆随时处于良好的性能状态,确保人员接送、物资输送的时效性。
安全工作是公司的一项重要工作,综合部是安全工作的要紧执行部门;日常工作中应将安全工作、保密工作列入议事日程,要充分明确重点安全项目,不定期地组织检查,认真查出安全隐患,及时排除潜在的安全危害并作好记录。
四川太山环保设备有限公司
(人力资源部)
目录
人力资源部工作流程图(总图) (1)
员工进入、退出公司轨迹图 (1)
招聘流程 (2)
绩效管理——考核 (3)
绩效管理——评估 (4)
薪酬福利——薪酬 (5)
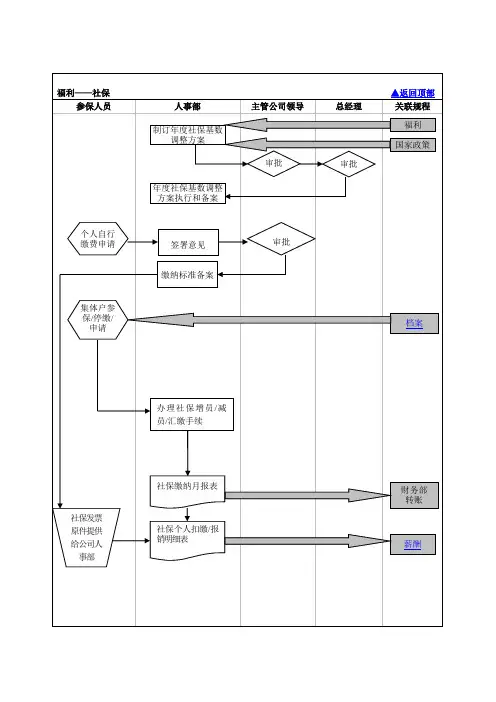
薪酬福利——福利(社保) (6)
人力资源部工作流程图(总图)
工作分析 职位说明书
定岗定编
组织结构图
机构职责
年度编制计划
公司发展战略
招聘 绩效管理
考核 评估
薪酬福利
薪酬 福利
员工关系
劳动合同
入职 试用转正 考勤 休假 档案 奖惩 离职 员工活动
培训发展
岗位调整 人才储备 培训 职业生涯
组织结构设置
本文档为示例文档,因此在总图中标注出的各项子图,我们并未全部收列到本文档中,只是选择了其中的部分内容以做示范。
本总图中只有招聘、考核、评估、薪酬、福利带有超链接。
员工进入、退出公司轨迹图
招聘流程
◆返回总图▲返回目录
◆返回总图▲返回目录
◆返回总图▲返回目录
薪酬福利——薪酬
薪酬福利——福利(社保)。
办公室工作流程
综合部行政事务管理的主要工作内容:执行行政日常事务处理;执行秘书事务管理;执行档案的归档管理;执行后勤服务保障;执行办公设备、公共设施的日常管理和维护;执行办公用品及日常用品的采购、发放管理;执行固定资产及低值易耗品的管理;执行各种费用的控制交纳;执行公司对外关系建立维护;执行突发事件处理;执行计算机网络管理;执行合同管理;执行人力资源管理;执行上级交办事务等工作。
一、综合部具体工作流程
(一)日常事务处理
综合部的工作杂而乱,涉及面广,大小事情多,并且很多事务具有不可确定性,临时出现的工作,会给当日计划工作带来很大的冲突,这时就要择其轻重而处理。
总体来讲,综合部属于服务保障部门,是为其他部门服务的,所以也要协助其他部门处理不涉及本部门的日常事务。
否则会影响正常工作秩序,甚至会影响公司的经营活动。
(二)执行秘书事务管理
秘书工作是综合部的核心工作,亦是公司内部承上启下、对外联络的纽带和桥梁。
在实际操作中,要求秘书事务管理人员在做好参谋助手的同时,牢固树立超前服务意识,有条有理的搞好各项服务工作。
(三)执行文件档案的归档管理
根据不同种类档案的特点,做好系统编目、使用/传阅控制、分类存放、排列有序,定期收集各类文件资料,并整理立卷归档。
各部门往来的备忘录、文档、资料等按类别、内容、时间顺序等存档管理。
各类文件资料收发、传真均需在登记薄上作好详细登记、记录,及时将各类信息(通知、文件)进行上传下达,特别是各类客户信息应登记后及时传递给相关部门。
(四)后勤服务保障
综合部要将后勤服务保障列入日常工作中,要加强对工作环境、交通的管理进行监督,收集员工建议,缓解员工情绪,为员工提供较为良好的生活、工作环境,提高保障质量;车辆管理中,要制定相应制度,经常提醒驾驶员遵章守纪,保证车辆随时处于良好的性能状态,确保人员接送、货物输送的时效性。
安全工作是公司的一项重要工作,综合部是安全工作的主要执行部门;日常工作中应将安全工作、保密工作列入议事日程,要充分明确重点安全项目,不定期地组织检查,认真查出安全隐患,及时消除潜在的安全危害并作好记录。
要落实安全责任制,签定安全责任制,规划安全教育、培训计划并认真加以实施。
月末综合部要根据其他部门的请购计划及库存情况,并要根据相关规定作适当储备以备不时之需,作好请购计划单经主管审批后,及时保质保量地采购办公用品和日常用品,采购物品应当定价定点,保证质优价廉。
要作好物品出入库登记,每月盘存,确保帐物相符。
(六)执行固定资产及低值易耗品的管理
对于公司所有的固定资产以及低值易耗品,需要建立台帐清单,监督各部门于每月25日进行盘点,综合部根据各部门盘点情况进行抽查,核对帐物是否相符,然后根据各部门盘点状况及调动增加状况制作《固定资产、低耗品清单》报表发放各部门;每季度组织财务部对各部门进行全面盘点,核对帐物。
对需要报废的资产按照相关程序申请报废,及时跟进各部门资产调动、出入库单据的核对,做到帐物相符。
对于资产管理不当、帐物不符,应进行相应处罚。
(七)执行各部门基础设备、设施维修管理
综合部负责根据维修要求协调或外请技术人员维修、对维修全过程进行控制;各部门对维修质量监督、确认。
所有维修要求做好记录、跟踪维护结果及完成状态;对未按要求完成的维修事项、及时了解情况并报告负责人。
(八)执行各种费用的支付、控制
按时申请、交纳、控制公司各项费用,例如:车辆养路费、车船税等;
并将所要交纳的各项费用进行审核记录,对各项资金审批单归类管理。
做到资金审批的及时、准确,以确保各职能部门工作的正常开展。
(九)执行对外关系建立维护
建立良好的公共关系平台是公司正常经营的关键,综合部肩负着对外沟通、协调的重任,要把对外关系维护作为重要工作来抓,公司的经营活动涉及到方方面面的关系,既有政府部门的,又有社会关系的,哪方面关系处理不好,或多或少都会有一定影响。
在平时的工作中要经常保持与已有关系的联系与沟通,并结合实际情况,建立新的公共关系。
在对外交往中要自觉维护公司形象,要将对外关系维护情况及时向领导汇报,以便作出符合公司利益的调整。
(十)执行处理突发事件
公司各种突发事件出现后,综合部在收到信息的同时,要根据事件影响的大小,迅速向领导汇报,并及时处理,将有可能对公司或个人的不利影响降到最低限度,情况特别紧急又不能向领导及时汇报时可先处理再汇报,但事后要向领导阐明原因。
在处理突发事件时,应把握有利原则,要充分维护公司或员工的利益,树立好公司的整体形象。
(十一)执行计算机网络管理
办公自动化是公司实现无纸化办公、加快工作运转速度,提高办公效率的有效手段。
为此,网络管理员在维护好现代化办公设备的同时,要保证公司网络在各部门之间能正常工作,保证公司电脑系统的稳定高效和信息通道的畅通。
(十二)执行公司合同管理
合同管理是公司管理工作的一项重要内容,搞好各类合同管理工作,对于公司经济活动的开展和经济利益的取得具有十分重要的作用。
(十三)执行人力资源管理
现代社会是一个竞争社会,而企业的竞争又是人才的竞争。
随着社会经济的发展,人们越来越认识到,人力资源是社会经济财富创造必须具备的条件。
现代企业的管理重心已转移到了人力资源管理上了,人力资源管理工作也变成了公司的核心工作(详见规范流程)。
(十四)报建工作管理
协调房地产开发前期主管部门,完善各种具体手续,保证开发计划顺利实施。
完成公司各种证照的年检工作(详见规范流程)。
(十五)执行上级交办事务
优先完成领导交办各类事务,规定时限内完成不了的,应向领导说明其原因,并尽力尽快完成,最终将完成结果向领导汇报。
二、人事工作具体流程
三、房地产建设项目开发程序流程图
选址研究,寻找合作伙伴,签订合作意向,协议及合同书
先规划管理部门申领规划要点,以获取规划要点通知书,编制项目建议书
向计委申报立项报告
计委函至规划局
规划局会签返计委
计委下文同意立项并要求可行研究,此文经建委开发办会签
进行项目投资的详细可研测算,编制可研报告
计委、建委、规委及各专业局审查可研报告
对可研批复,两委会签,即下达规划设计任务;
据此办理征地及前期准备工作,开规划设计任务通知
规划局发征地意见函
到土地管理部门及土地使用部门征求意见
结果报市房地局结果报市房管局
画桩位给钉桩条件,规划局办理建设用地规划据此到地征部门办理用地测绘院钉桩,成果给设计人许可证批准书,评估项目建设用地地价
申请确定规划设计条件冻结户口并抄户口,交纳地价款,取得土地使用证
按规划设计条件征询意见表
到区配套部门征求意见地政部门审查安置方案、安置房
规划局审查后下规划条件通知单发拆迁许可证
委托进行规划方案设计动迁会及拆迁安置
到规划局领设计方案送审书场地三通一平,领取房地产
开发手册
规划局审方案提出意见1、到园木局申请伐树许可证
修改后送首规委审图2、了解线路与供电局运行班协商
改造、移线方案
3、煤气、道路、上下水改路由
规委召开市政协调4、到供电局业扩处申请用电报表,做正
会出市政会议纪要式供电方案,申请临时施工用电,委托施
工。
进行个体设计
领建筑工程规划许可证出施工图开节能证明
运用“营销策划展示设计系统”到计委申请,列入计划到税务局去税单制作资料(建委会签)
报价小组审查,领取预售到建委工程处领开工持年度计划、税单到区计、经委领许可证审批表投资许可证登记卡,登记并取得许可
证
建委、物价局下文批价
到市政部门盖章,证明市政条件落
进行销售
四源费缴纳
到开发办市政处同意招标
填招标申请书并到市招办登记
招标办审查标底
开标会
订合同,写评标报告,发中标通知书
招标办盖章同意
施工单位质量总站受理市统计局市审查局审核资金来源,市开发办
同意施工质量监督落实任务任务来源及一切手续秘书处登记
建委工程处同意开工,办理开工许可证
施工单位进场开始施工,小区红线内市政报装上下水、道路、煤气、电、委托设计、施工
一、二、三、四、五、六、七、
一、
1、小区内线路委托设计
2、委托施工
3、配电室土建工程验收
4、设备安装及验收
5、送电
二、
1、通知园林局绿化办
2、交绿化费
3、绿化施工
三、
1、按道路方案进行施工
2、市政办事处养路队验收
四、
1、到自来水业务科报装委托线路设计、施工、及验收
2、到市政监理所下水报装
3、规划设计
4、竣工验收
五、
1、到热力公司报装
2、委托线路设计
3、施工及验收
六、(自建锅炉房)
1、环保局同意锅炉房规划位置
2、委托设计
3、到劳动局报装
4、环保局审查消音除尘设备
5、竣工验收
七、
1、到煤气公司报装
2、到规划科定线路方案
3、设计
4、看现场
5、施工
6、业务科检验同意接气
7、凭通气单到管网所办固定资产转移手续及通气手续
8、凭接气单到液化气公司办各户通气手续
9、通气
全部工程竣工
凭验收通知书入库房屋确定房屋管理形式房屋验收
出库分配及销售、办理产权证
进入物业管理阶段
狼阁地产开发综合部
二〇一一年七月七日。