消毒供应室包装流程
- 格式:docx
- 大小:390.70 KB
- 文档页数:6
灭菌物品装放时应注意哪些要点消毒供应中心是对整个医院所使用器械进行消毒的地方,是相对重要的地方。
它可以有效确保治疗工具的无菌性,确保使用安全,下面我们就详细了解一下,在消毒供应中心中灭菌物品该如何包装和存放:一、包装:1、设备和布料应装在不同的房间里。
2、包装工应首先检查包装的质量,在光照下检查准备是否良好,并使用干净、干燥(纺织类)的包装布,不得有损伤。
3、封隔器应重新检查设备的型号、规格、数量,拆下的设备应进行组装,检查内容是否完整,只有确保设备齐全后才能包装。
4、盆、碗和其他用具应分开包装。
如剪刀和钳子等轴向器械不能完全锁定。
打开有盖的容器,用吸湿布、纱布或医用吸水纸将堆放的容器隔开;将官腔内物品盘绕放置,保持官腔通畅;对精细器械等采取防护措施。
5、细菌物品的包装采用封闭式包装,用双层包装材料分两次包装。
密封包装,如采用纸袋、纸塑袋等材料,可采用单层包装设备。
6、包装质量:仪表包装重量不超过7kg,敷料包装重量不超过5kg。
灭菌包装的体积不得超过30cm×30cm×50cm。
7、包装后,每个包装上应贴上灭菌化学指示物。
封闭包装应采用专用胶带,胶带长度应与灭菌包装的体积和重量相适应,松紧适度。
包装应严密,保持封口完整。
在高危险品的灭菌包装中还应放置化学指示卡。
8、灭菌物品的包装标签应标明物品名称、包装机等,灭菌前应注明灭菌批次、灭菌日期和有效期,标识应具有可追溯性。
二、规范手术器械包装过程1、专用设备的包装流程图和照片专用设备的包装流程图和照片,将相关设备的名称、设备的数量、设备的类型,合适的包装方法、有规律的包装顺序进行专用设备单独标记和命名,这样一来有利于供应中心护士能够尽早熟悉消毒供应中心内的布局。
2、手术器械和手术敷料的独立包装为避免超重和不符合规则的包装,请分开包装手术器械和手术敷料。
在外科手术包装之前,请根据外科器械包装卡再次确认设备的类型和数量,并使用无纺布将包装封闭,可实行需要两层包装的材料分两次进行包装。
供应室清洗、包装、灭菌流程<一>刷洗流程1、进入污物区首先要更鞋、穿防护服、戴防护面罩、戴手套、现配1:50的8-4消毒液(1000mg/L)擦拭台面,七步洗手。
2、进行超声机、冲洗水槽、煮沸水槽清洗。
①超声机:1:400或1:600的多酶溶液放入超声机内,打开电源,点击运行,加热至45℃。
3、放水②冲洗槽③煮沸槽:1:400或1:600的润滑防锈剂放入煮沸槽,打开电源,点击运行,加热至83℃。
4、运行:①器械回收后分类放入清洗篮筐内,并将各类器械的轴节打开,放入超声机中,进行超声5min即可;②将超声完毕的器械放入冲洗槽内,进行冲洗5min即可;③将冲洗完毕的器械放入煮沸槽内,进行煮沸5min即可;注意:在超声过程中未去除的污渍的锈迹,用防锈剂单独处理。
然后将各类器械放入干燥柜内,把温度调至90℃时、干燥5min 即可;整理用物,七步洗手。
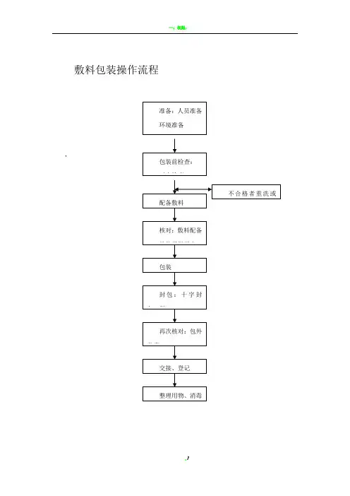
<二>包装流程进入包装区:①衣帽整齐、戴口罩、更鞋,做好包装准备工作,七步洗手。
②接收各类器械传递包装区,质检员首先进行质检各类器械的轴节、螺丝是否松动、管腔清洗是否彻底。
③对器械的数量、名称再次进行核对。
④确认检查各类器械合格后,包内放置化学指示物,外器包内放置第五类移动性综合指示卡。
⑤检查核对完毕后,有序摆放,进行信封式打包。
⑥各类手术包封口处贴5cm化学指示物,并注明器械包的名称、锅次、消毒员的名称、消毒有效期及核对者编号,整理用物,七步洗手。
<三>灭菌流程①衣帽整齐、更鞋,七步洗手。
②灭菌员进入包装区时应检查水管是否通畅,打开水阀门后,再加入中盐离子交换树脂再生剂。
③灭菌员再次更鞋,打开灭菌器电源,检查水压(不能低于0.4),蒸发器电压处于0.4-0.8之间。
④进行B-D试验,监测灭菌器是否合格,灭菌温度达到134℃时,灭菌时间为3.5分钟,结束后查B-D试纸是否合格。
⑤将包装好的各类器械包放入灭菌柜内架上(包与包之间需间隔2cm),并且每锅必须放试验包(30cm×30cm ×25cm,内放第五类移动性综合指示卡,关关闭锅门,点击织物运行。
操作流程(一)下收操作流程(二)回收操作流程(三)清洗操作流程(四)检查与包装流程(五)灭菌操作流程(六)灭菌物品的卸载操作流程(七)灭菌物品存放操作流程(八)下送操作流程操作流程器械的清洗、消毒、灭菌应遵循回收、分类、清洗、消毒、检查、包装、灭菌、储存与发放等基本工作流程。
(一)下收操作流程1、基本流程:准备→下收→消毒回收车或收集箱2、要求(1)使用科室:一般污染器械和物品分类放置在回收容器中;破伤风、炭疽等重度污染器械和物品,应放置在密封回收容器中,并标明感染疾病类型;特殊感染性疾病(朊毒体)感染的器械和物品应放在防污染扩散的装置内进行焚烧处理。
(2)消毒供应室:工作人员做好个人防护,定时到使用科室收集使用后的污染器械、物品、将其封闭的污染器械与物品装入封闭式下收车或收集箱中,按照规定的路线封闭运送。
(3)使用后的一次性无菌医疗用品等医疗废物不得进入消毒供应室进行回收与转运处理。
(4)下收工作结束后,下收车或收集箱进行清洁、消毒处理,定位放置。
(二)回收操作流程1、基本流程:准备→回收清点登记→分类2、要求(1)做好个人防护。
(2)准备盛装容器及硬质容器。
(3)认真清点、核对回收物品并登记。
(4)根据器械的材质、类别、污染程度进行分类。
回收锐利物品用硬质容器盛装;回收的污染布类用密闭容器盛装,统一清洗。
(5)工作结束,回收容器、工作台需进行清洁消毒处理,回收容器定位放置,专物专用。
(三)清洗操作流程1、器械处理原则:按清洗→消毒→干燥的程序进行;被朊毒体污染的所有物品应进行焚烧处理。
2、手工清洗基本流程冲洗→清洁剂浸泡→刷洗→消毒(煮沸或化学消毒)→漂洗→干燥1)适应范围①结构较复杂的器械、较精细及尖锐器械。
②器械上有严重污染、生锈或残留血液及分泌物、污物已干、用机器无法洗净时,宜用手工清洗。
2)要求①对残留血迹及脓液的器械先在流动水中冲净,清洗时应将器械关节打开,复杂组合器械宜拆开。
②浸泡于多酶洗液中2分钟以上,然后在液面下刷洗,防止产生气溶胶。
消毒供应中心标准工作流程(十个环节)消毒供应中心标准工作流程(十个环节):回收→分类→清洗→消毒→干燥→器械检查、保养→包装→灭菌→储存→发放。
一、回收使用科室及时将污物做好保湿处理放入箱内密闭保存,并在箱盖记录包名称及数量,以便与供应室交接。
避免在使用科室清点、核对污染器械、物品,减少交叉感染。
二、分类1. 根据器械不同材质、性状、精密程度、污染状况进行分类。
2. 损伤性废物投入利器盒内,感染性废物投入黄色感染垃圾桶。
三、清洗不同器械、物品,采用不同的清洗方法(手工清洗、清洗机清洗、超声清洗机清洗)。
四、消毒除感染器械浸泡消毒外,其余可用湿热消毒法(大于等于90度,大于等于时间5min)处理。
五、干燥宜选用干燥设备进行干燥处理。
无干燥设备的情况下,使用消毒的低纤维絮擦布对器械、器具和物品进行干燥处理。
六、器械检查与保养采用目测对干燥后的每件器械、器具和物品进行检查。
器械表面及其关节、齿牙处应光洁,无血渍、污渍、水垢等残留物质和锈斑;功能完好,无损毁。
七、包装1. 器械与布类包分室包装。
2. 包装者首先检查包布质量,在灯光下检查准备清洁干燥的(纺织类)包布,无破损,方可使用。
八、灭菌1. 检查灭菌前的准备、灭菌物品的装载、灭菌操作、无菌物品卸载和灭菌效果是否严格按操作程序进行。
2. 每批次确认灭菌过程合格,包外包内化学指示物合格。
检查无湿包现象及无无菌物品污染和破坏。
以上都符合要求才视为质量合格。
九、储存1. 灭菌后物品应分类、分架存放在无菌物品存放区。
一次性使用无菌物品应除外包装后,进入无菌物品存放区。
2. 物品存放架或柜应距地面高度20~25cm,离墙5cm~10cm,距天花板50cm。
3. 物品放置应固定位置,设置标识。
接触无菌物品前应洗手或手消毒。
4. 消毒后直接使用的物品应干燥、包装后专架存放。
5. 灭菌物品储存有效期:储存无菌物品间室内环境温度在<24℃、湿度<70℃。
使用纺织品有效期宜为14d;未达到环境标准时,有效期宜为7d。
消毒供应室“十大”工作流程消毒供应中心标准工作流程(十个环节)回收---分类—清洗—消毒—干燥—器械检查、保养—包装—灭菌—储存—发放。
一、回收1、器械、物品包使用后,科室及时装入污物箱内密闭保存,避免干燥。
并在箱盖记录包名称及数量。
以便与供应室交接。
避免在使用科室清点、核对污染器械、物品,减少交叉感染。
2、供应室工作人员定时上午10:00至12:00、下午4:30至19:00带上清洁的污物箱按照规定的路线到临床科室回收污物箱回收到科内。
并与临床科室人员交接、记录。
3、回收后,回收人与清洗人员交接物品数量,并清点、核对包内物品是否齐全。
每次回收后,清洁消毒回收箱,干燥存放。
4、使用后的一次性物品和医疗废物不得回收到消毒供应中心转再运处理。
二、分类:1、按个人防护要求着装,与下收人员交接回收物品数量。
2、根据器械不同材质、性状、精密程度、污染状况进行分类。
3、损伤性废物投入利器盒内,感染性废物投入黄色污物袋内。
三、清洗:1、不同器械、物品,采用不同的清洗方法。
目前我院暂采用手洗方法清洗。
2、清洗基本流程:预洗(自来水)——清洗(手工+酶)——漂洗(自来水)——消毒(湿热消毒)——终末漂洗(去离子水或蒸馏水)(1)预洗(3-5min)用流水去除明显的污物(若污物变干,可多浸泡几分钟)(2)酶洗(2-5min)酶可以分解有机物,抑菌防锈,自然降解,无残留,水温20-40℃带关节的器械尽量打开。
已凝固或污染严重处水面下刷洗。
(3)漂洗:用自来水冲洗(2-4min)(4)终末漂洗:采用离子水或蒸馏水冲洗。
四、消毒:我院除感染器械浸泡消毒外,其余末用湿热消毒法(小于等于90度,小于等于时间5min)处理五、干燥:1、宜选用干燥设备进行干燥处理。
根据我院们无干燥设备的情况下,使用消毒的低纤维絮擦布对器械。
器具和物品进行干燥处理。
2、穿刺针、手术吸引头等官腔器械,使用高压枪冲或用95%乙醇进行干燥处理。
3、不应使用自然干燥方法进行干燥。
消毒供应室操作流程完整.操作流程(一)下收操作流程(二)回收操作流程(三)清洗操作流程(四)检查与包装流程(五)灭菌操作流程(六)灭菌物品的卸载操作流程(七)灭菌物品存放操作流程(八)下送操作流程精选.操作流程器械的清洗、消毒、灭菌应遵循回收、分类、清洗、消毒、检查、包装、灭菌、储存与发放等基本工作流程。
(一)下收操作流程1、基本流程:准备→下收→消毒回收车或收集箱2、要求(1)使用科室:一般污染器械和物品分类放置在回收中;破伤风、炭疽等重度污染器械和物品,应放置在密封回收中,并标明感染疾病类型;特殊感染性疾病(朊毒体)感染的器械和物品应放在防污染扩散的装置内进行焚烧处理。
(2)消毒供应室:工作人员做好个人防护,定时到使用科室收集使用后的污染东西、物品、将其关闭的污染东西与物品装入关闭式下收车或收集箱中,依照规定的路线关闭输送。
(3)使用后的一次性无菌医疗用品等医疗宝物不得进入消毒供应室进行回收与转运处理。
(4)下收工作结束后,下收车或收集箱进行清洁、消毒处理,定位放置。
(二)回收操作流程1、基本流程:准备→回收清点登记→分类2、要求(1)做好个人防护。
(2)准备盛装及硬质。
精选.(3)认真清点、核对回收物品并登记。
(4)根据东西的材质、类别、污染程度进行分类。
回收锐利物品用硬质盛装;回收的污染布类用密闭盛装,同一清洗。
(5)工作结束,回收、工作台需进行清洁消毒处理,回收定位放置,专物专用。
(三)清洗操作流程1、东西处理原则:按清洗→消毒→枯燥的程序进行;被朊毒体污染的所有物品应进行焚烧处理。
2、手工清洗基本流程冲洗→清洁剂浸泡→刷洗→消毒(煮沸或化学消毒)→漂洗→枯燥1)适应范围①布局较复杂的东西、较精细及尖锐东西。
②器械上有严重污染、生锈或残留血液及分泌物、污物已干、用机器无法洗净时,宜用手工清洗。
2)要求①对残留血迹及脓液的东西先在流动水中冲净,清洗时应将东西关节打开,复杂组合东西宜拆开。
供应室包装操作流程和质量标准培训心得下载温馨提示:该文档是我店铺精心编制而成,希望大家下载以后,能够帮助大家解决实际的问题。
文档下载后可定制随意修改,请根据实际需要进行相应的调整和使用,谢谢!并且,本店铺为大家提供各种各样类型的实用资料,如教育随笔、日记赏析、句子摘抄、古诗大全、经典美文、话题作文、工作总结、词语解析、文案摘录、其他资料等等,如想了解不同资料格式和写法,敬请关注!Download tips: This document is carefully compiled by theeditor. I hope that after you download them,they can help yousolve practical problems. The document can be customized andmodified after downloading,please adjust and use it according toactual needs, thank you!In addition, our shop provides you with various types ofpractical materials,such as educational essays, diaryappreciation,sentence excerpts,ancient poems,classic articles,topic composition,work summary,word parsing,copy excerpts,other materials and so on,want to know different data formats andwriting methods,please pay attention!供应室包装操作流程和质量标准培训心得一、供应室包装操作流程1. 准备工作(1)环境准备:确保供应室环境整洁、明亮、通风,温度控制在适宜范围内。
分类消毒干燥检查包装灭菌储存回收清洗发放附1供应室工作附2穿脱防护服流程穿法脱法穿胶鞋脱手套穿第一层手套穿衣结衣领带结好腰带穿第二层手套戴防护面罩进行清洗工作脱防护面罩洗手解开腰带脱防护衣脱胶鞋洗手附3氯消净消毒液使用指引穿好防护桶内加水至指示线(5L)500mg/L有效氯加氯消净1包(20g)1600mg/L有效氯或氯消净1包/水1.5L指示卡监测有效氯浓度浸泡30-45分钟或抹洗注意事项:1.按说明书使用,配制时注意做好个人防护安全。
2.应现配现用,放置于阴凉处。
3.每天使用前指示卡监测有效氯浓度。
4.物品上有大量有机物时应先冲洗后浸泡,减少拮抗作用。
附4器械清洗消毒操作流回收1.封闭包装2.特殊病原体感染器械器具应双层封闭包装并标明疾病名称单独回收处理。
清洗冲洗洗涤漂洗终末漂洗1.在流动水下冲洗。
2.管腔类高压水枪清洗。
3.打开器械轴节并拆开零件。
1.多酶液浸泡后刷洗或擦洗(鲁沃夫多酶清洗剂按1:270稀释,浸泡2-5分钟,室温水即可)。
2.管腔器械应注满多酶液浸泡。
3.超声清洗(时间宜3-5分钟)。
1.在流动水下冲洗或刷洗。
2.管腔器械用高压冲洗。
用软水、纯化水或蒸馏水消毒湿热消毒75%乙醇消毒化学消毒剂1.水温80℃,时间≥10分钟。
2.水温90℃,时间≥1分钟。
浸泡时间>10分钟500mg/L含氯消毒剂浸泡消毒、冲洗或按消毒技术规范及产品说明书要求执行。
干燥1.首先干燥设备进行干燥,金属15-20分钟,70-90℃;塑胶30-40分钟,65-75℃。
2.不耐热物品应使用消毒的低纤维絮布进行干燥处理。
3.管腔类器械应使用高压气枪或95%乙醇进行干燥。
4.禁止使用自然干燥法进行干燥。
检查保养1.目测或者使用带光源放大镜进行检查,检查不合格的应返回重新处理。
2.带电源的应进行绝缘性检查。
3.生锈的器械进行除锈处理(鲁沃夫除锈剂按1:7稀释,浸泡2-10分钟,水温50-80℃)、清洗。
4.使用水溶性润滑剂润滑(鲁沃夫润滑剂1:10稀释,浸泡1-2分钟,室温即可)。
消毒供应室包装操作流程和质量标准试题下载温馨提示:该文档是我店铺精心编制而成,希望大家下载以后,能够帮助大家解决实际的问题。
文档下载后可定制随意修改,请根据实际需要进行相应的调整和使用,谢谢!并且,本店铺为大家提供各种各样类型的实用资料,如教育随笔、日记赏析、句子摘抄、古诗大全、经典美文、话题作文、工作总结、词语解析、文案摘录、其他资料等等,如想了解不同资料格式和写法,敬请关注!Download tips: This document is carefully compiled by theeditor.I hope that after you download them,they can help yousolve practical problems. The document can be customized andmodified after downloading,please adjust and use it according toactual needs, thank you!In addition, our shop provides you with various types ofpractical materials,such as educational essays, diaryappreciation,sentence excerpts,ancient poems,classic articles,topic composition,work summary,word parsing,copy excerpts,other materials and so on,want to know different data formats andwriting methods,please pay attention!消毒供应室包装操作流程与质量标准试题一、选择题1. 消毒供应室的核心工作是什么?A. 清洗B. 消毒C. 包装D. 以上都是2. 下列哪一步是消毒供应室包装流程的首要步骤?A. 检查器械完整性B. 进行器械清洗C. 选择合适的包装材料D. 进行器械消毒3. 哪种情况下的器械不能进行包装?A. 完整无损的器械B. 有明显污渍的器械C. 已经消毒的器械D. 维修过的器械4. 对于无菌包装,以下哪种说法是正确的?A. 可以使用任何类型的纸张进行包装B. 必须在无菌环境下进行包装C. 包装后的物品可以立即使用D. 包装后可以在任何地方存放二、填空题5. 消毒供应室的包装操作流程主要包括______、______、______、______和记录等步骤。
供应室打包操作流程措施下载温馨提示:该文档是我店铺精心编制而成,希望大家下载以后,能够帮助大家解决实际的问题。
文档下载后可定制随意修改,请根据实际需要进行相应的调整和使用,谢谢!并且,本店铺为大家提供各种各样类型的实用资料,如教育随笔、日记赏析、句子摘抄、古诗大全、经典美文、话题作文、工作总结、词语解析、文案摘录、其他资料等等,如想了解不同资料格式和写法,敬请关注!Download tips: This document is carefully compiled by theeditor.I hope that after you download them,they can help yousolve practical problems. The document can be customized andmodified after downloading,please adjust and use it according toactual needs, thank you!In addition, our shop provides you with various types ofpractical materials,such as educational essays, diaryappreciation,sentence excerpts,ancient poems,classic articles,topic composition,work summary,word parsing,copy excerpts,other materials and so on,want to know different data formats andwriting methods,please pay attention!供应室打包操作流程的规范措施在医疗领域,供应室的打包操作是确保医疗器械无菌、安全的重要环节。