导航台站建设工作流程空管局
- 格式:doc
- 大小:19.50 KB
- 文档页数:5
航空导航设备规定全文2016航空导航设备规定全文第一章总则第一条为了加强对民用航空导航设备的运行管理,保障飞行安全,依据《中华人民共和国民用航空法》《中华人民共和国飞行基本规则》制定本规定。
第二条本规定所称导航设备是指与民用航空飞行活动密切相关的,为航空器运行提供引导信息与位置数据的仪表着陆系统(包含航向信标、下滑信标)、全向信标、测距仪、无方向信标、指点信标、卫星导航地面设备等地面无线电设备。
第三条本规定适用于民用航空运输机场(包括军民合用机场民用部分)导航设备,以及提供航路、航线使用的导航设备开放与运行管理。
第四条导航设备的投产和特殊开放实行许可管理,定期开放实行备案管理。
第五条中国民用航空局(以下简称民航局)对导航设备开放、运行实行统一监督管理,负责导航设备投产开放的许可和导航设备开放、运行工作的监督检查。
民航地区管理局(以下简称地区管理局)对本地区导航设备开放、运行实行监督管理,负责导航设备投产开放申请的受理与审核、特殊开放申请的许可,并对导航设备定期开放实行备案管理。
第六条本规定中所用部分术语的含义如下:导航设备的投产开放,是指新建、迁建或更新的导航设备首次投入实际运行的开放使用。
导航设备的特殊开放,是指导航设备经特殊校验后的重新开放使用。
导航设备的定期开放,是指导航设备实际运行后按照规定的飞行校验周期完成校验后的开放使用。
导航设备的关闭,是指导航设备不提供服务。
第二章导航设备的开放第一节投产开放第七条新建、迁建或更新的导航设备首次投入实际运行,应当进行投产校验,并取得投产开放许可。
第八条申请投产开放许可的导航设备应当满足下列条件:(一)设备安装符合国家和民航有关规定,并且验收合格;(二)设备经飞行校验后符合相关的技术规定和标准;(三)设备试运行结果正常、稳定、可靠;(四)设备台(站)址已经批准;(五)设备的频率、呼号已经批准;(六)设备型号符合民航局有关规定。
第九条申请导航设备投产开放许可,应当向所在地的地区管理局提交下列材料:(一)按照本规定附件填写的导航设备投产开放申请表和导航设备资料增改表;(二)飞行校验机构出具的飞行校验报告;(三)设备台(站)址批复文件;(四)设备频率呼号批复文件;(五)设备工程建设竣工验收报告;(六)设备试运行用户报告和记录数据;(七)民航局规定需要提交的其他材料。
管理程序中国民用航空局空管行业管理办公室编号:AP-115-TM-2017-01下发日期:2017年12月20日民用航空通信导航监视台(站)设置选址技术审查办法(试行)民用航空通信导航监视台(站)设置选址技术审查办法(试行)第一章总则第一条为保障民用航空运行安全,根据《中华人民共和国飞行基本规则》、《中华人民共和国无线电管理条例》、《民用机场管理条例》、《民用航空通信导航监视工作规则》制定本办法。
第二条本办法适用于民用航空运输机场、军民合用机场民用部分和用于航路、航线的通信导航监视台(站)(以下简称“台(站)”)设置选址技术审查工作指导。
其他为运输、通用航空提供通信导航监视服务的台(站)设置选址技术审查参照本办法执行。
第三条民航局负责全国通信导航监视业务发展与系统建设规划,对全国台(站)设置提供行业技术审查指导,研究制定台(站)相关技术规范。
民航地区管理局(以下简称地区管理局)负责规划本地区台(站)建设布局,对本地区台(站)设置进行行业技术审查。
民航安全监督管理局(以下简称监管局)负责协助地区管理局规划本辖区台(站)建设布局,对本辖区台(站)设置进行行业技术审查。
应辖区内台(站)所在地的省、自治区、直辖市无线电管理机构的要求,对台(站)设置出具行业意见。
项目建设单位或通信导航监视运行单位作为台(站)设置及运行的责任主体,负责台(站)的选址工作,组织编制选址报告并及时提交地区管理局审查,开展技术论证,确保台(站)设置场地和电磁环境满足国家与民航行业有关标准规范要求和运行需要。
第四条本办法所指的台(站)是指为民用航空飞行活动提供通信、导航和监视服务的固定台址无线电发射设备台(站)。
通信台(站)是指使用航空移动业务和卫星(航空)移动业务频率的无线电台(站),如甚高频地空通信台(含单体电台与共用系统台)、高频地空通信台等;导航台(站)是指使用航空无线电导航业务、卫星(航空)无线电导航业务和为支持导航功能的航空移动业务频率的无线电台(站),如航向台、下滑台、全向信标台、测距台、无方向信标台、指点信标台、卫星导航地基增强系统等;监视台(站)是指使用无线电定位业务频率以及1030/1090MHz频率的无线电台(站),如一次监视雷达站、二次监视雷达站、场面监视雷达站、广播式自动相关监视地面发射站、广域多点定位系统发射站、场面多点定位系统地面发射站等;民航局可以根据国际民航组织有关规定以及空管技术发展与所采用的设备实际情况,对通信导航监视台(站)类别适时做出调整。
中国民用航空导航业务工作指南中国民用航空总局2006-1-5- 1 -目录前言…………………………………………………………………………………1. 导航台站的建设…………………………………………………………………1.1 预可行性研究…………………………………………………………………1.2 可行性研究……………………………………………………………………1.3 选址……………………………………………………………………………1.4 初步设计………………………………………………………………………1.5 选购设备………………………………………………………………………1.6 建设……………………………………………………………………………1.7 频率申请………………………………………………………………………1.8 校飞……………………………………………………………………………1.9 项目验收………………………………………………………………………1.10 开放……………………………………………………………………………2. 导航台的飞行校验………………………………………………………………2.1定期飞行校验…………………………………………………………………2.2不定期飞行校验………………………………………………………………3. 设备运行工作条件………………………………………………………………3.1 人员……………………………………………………………………………3.2 设备……………………………………………………………………………3.3 备件、仪表及工具……………………………………………………………3.4 制度……………………………………………………………………………4. 设备停工报告…………………………………………………………………4.1设备故障报告流程……………………………………………………………4.2 进度报告………………………………………………………………………4.3停工检修………………………………………………………………………- 2 -5. 设备的定期开放与关闭………………………………………………………5.1 定期关闭………………………………………………………………………5.2 定期开放………………………………………………………………………5.3 长期关闭………………………………………………………………………6. 运行管理…………………………………………………………………………6.1 导航设备资料的管理…………………………………………………………6.2 运行报告………………………………………………………………………6.3 导航台设备的报废与更新……………………………………………………6.4 导航台站的撤消………………………………………………………………附录1:中国民用航空法…………………………………………………………附录2:航空无线电导航台站电磁环境要求——GB6364-86…………………附录3:中国民用航空通信导航雷达工作规则——民航总局令5号…………附录4:中国民用航空无线电管理规定——民航总局令7号…………………附录4:中国民用航空仪表着陆系统Ⅱ类运行规定——民航总局令57号……附录5:航空器机场运行最低标准的制定与实施规定——民航总局令第98号…………………………………………………附录5:《民用航空空中交通通信导航监视设备使用许可管理办法》——民航总局令第111号………………………………………………附录5:中国民用航空航空电信人员执照管理办法……………………………附录6:平行跑道同时仪表运行管理规定——民航总局令第123号…………附录7:航空无线电导航台和空中交通管制雷达站设置场地规范——MH/T 4003-1996……………………………………………………附录8:飞行校验规则——中华人民共和国民用航空行业标准MH 2003-2000附录9:航空无线电导航设备第1部分:仪表着陆系统(ILS)技术要求——MH/T 4006.1-1998………………- 3 -附录10:航空无线电导航设备第2部分:甚高频全向信标(VOR)技术要求——MH/T 4006.2-1998……………附录11:航空无线电导航设备第3部分:测距仪(DME)技术要求——MH/T 4006.3-1998……………………附录12:航空无线电导航设备第4部分:无方向性信标(NDB)技术要求——MH/T 4006.4-1998……………附录13:中国民用航空通信导航监视设备运行、维护规程……………………附录14:民用航空空中交通管理物资设备招投标管理办法(试行)MD-TM-2001-45…………………………………………………………附录15:关于统一组织进口通信、导航、雷达设备选型的通知(1993年2月17日航行司548号传真电报)…………………………附录16:通信雷达导航设备故障及停工报告制度(暂行)——总局空发[2000]10号……………………………………………附录17:关于归口办理频率规划和指配的通知(1995年8月2日民航总局空中交通管理局1886号传真电报)……附录18:关于调整雷达导航设备定期飞行校验周期的通知(民航空发〔1999〕115号)……………………………………………附录19:关于印发《中国民用航空卫星通信人员上岗执照制度管理办法(试行)》的通知——民航空发[2000]166号……………………………………附录20:关于做好仪表着陆系统建设和运行保障工作的通知——民航空发[2000]167号……………………………………………附录21:关于印发《西部航路自动相关监视系统管理规定》的通知——民航空发[2000]184号……………………………………………附录22:关于仪表着陆系统外场测试接收机定期校验的通知(2000年1月14日总局空管局传真电报)……………………………附录23:关于认真做好飞行校验组织工作的通知- 4 -(民航总局空管局2000年2494号电报)………………………………附录24:关于严格执行导航设备开放标准的通知——民航空函[2002]960号……………………………………………附录25:关于导航设备更新报废鉴定小组成立的通知——2002-8-27民航机号1954……………………………………………附录26:关于加强雷雨季节通信雷达导航设备运行保障的通知——2004-5-25民航机号1269……………………………………………附录27:关于加强飞行校验组织工作的通知(民航空发〔2005〕21号)………中国民用航空航空电信人员执照管理办法中国民用航空无线电管理规则中国民用航空通信业务管理规程民用航空空中交通管理设备开放、关闭、报废管理办法国际民航组织8071文件无线电导航设备测试手册- 5 -前言为了保证终端区、航路导航系统及配套设施设备的可靠运行,民航总局、总局空管局制定了一系列法规、标准、管理制度。
信息通告中国民用航空局空管行业管理办公室编号:IB—TM—2010—004下发日期:2010年4月26日民用航空导航台建设指导材料关于下发《民用航空导航台建设指导材料》的通知各地区管理局,各监管局,各地区空管局、各空管分局(站),各机场公司:为了规范民用航空导航台建设,指导导航设施的规划、设计和运行维护工作,确保运行保障单位提供所需导航服务,现将《民用航空导航台建设指导材料》下发你们。
望各单位参照本材料加强导航台建设管理,补充完善运行维护规范,确保运行安全。
民航局空管办二○一○年四月二十六日抄送:局领导,政法司、计划司、运输司、飞标司、机场司,空管局。
民用航空导航台建设指导材料第一章总则第一条为了规范及指导民用航空导航台(以下简称导航台)建设,保证导航台的建设符合国家和民航局相关规定、技术规范,确保导航台建设做到技术先进、安全适用、经济合理,特制定本指导材料。
第二条本指导材料要求导航台在选址、规划、设计及施工的各阶段,落实场地保护、电磁环境保护等行业规范要求,保证导航台在供电保障、机房装修、维护空间、防雷接地等方面,达到规定的标准,满足实际使用需要,为导航设备的长期持续正常运行提供所需环境,为飞行安全提供可靠保障。
第三条本指导材料使用以下定义:导航台是指利用无线电波的传播特性,为航空器提供测定导航参量(方位、距离和速度),确定航空器的位置,并引导航空器按预定航路(线)飞行的地面台站。
包括无方向信标台、仪表着陆系统、全向信标台、测距台和指点标台等。
航路导航台是指为在航路(线)上飞行的航空器提供飞行引导信息的导航台。
机场导航台是指为在机场区域内飞行的航空器提供起飞和着陆引导信息的导航台。
本指导材料中导航台设备包括导航设备及附属设备。
导航设备是指航向信标、下滑信标、全向信标、测距仪、指点信标、无方向信标等设备。
附属设备是指所需的供电、配电、通信、消防、照明和防雷等设备。
第四条新型号导航设备的建设指导材料,将根据实际需要,另行发布。
中国民用航空导航业务工作指南中国民用航空总局空中交通管理局2006-1-5- 1 -为了确保民用航空终端区、航路导航系统及配套设施设备的可靠运行,中国民航总局、中国民航总局空中交通管理局制定了一系列的法规、标准和管理制度。
经过多年的运行实践,这些法规及配套的规章制度已具备了一定的系统性和完整性,有效地保证了导航系统设备的正常运行,同时,也是从事民航导航系统技术管理和专业技术培训必备的基础知识。
随着民航体制改革的深入,尤其是机场属地化后,民航导航系统体制上发生了较大的变化。
为了确保飞行安全,进一步明确行业管理要求,提高服务质量,加强业务管理知识的学习和普及,持续保障导航系统工作程序的规范化以及设备的可靠运行,导航业务工作指南应运而生。
本指南在对导航业务管理工作中各个环节的工作流程和要求提出指导性意见的同时,也对现有法规、标准以及规章制度进行了汇编。
本指南适用于仪表着陆系统(ILS)、全向信标/测距设备(VOR/DME)、无方向性信标(NDB)、指点信标(MB)等导航系统、设备的建设和运行管理。
本指南由中国民用航空总局空中交通管理局编制,通信导航监视处负责解释。
- 2 -前言 (2)1. 导航台站建设 (7)1.1 预可行性研究 (9)1. 2 可行性研究 (9)1.3 选址 (10)1.4 初步设计 (17)1.5 选购设备 (18)1.6 建设 (20)1.7 频率、呼号申请 (21)1.8 飞行校验 (22)1.9 项目验收 (23)1.10 投产开放 (23)2. 导航台的飞行校验 (25)2.1 定期飞行校验 (25)2.2 不定期飞行校验 (27)3. 设备运行工作条件 (29)3.1人员 (29)3.2 设备 (29)3. 3 备件、仪表及工具 (30)3. 4 制度 (31)4. 设备停工报告 (31)4.1 设备故障报告流程 (32)4.2 进度报告 (34)4.3 停工检修 (34)5. 设备的开放与关闭 (34)5.1 设备关闭 (35)5.2 设备开放 (36)6. 运行管理 (38)6.1 导航设备资料的管理 (38)- 3 -6.2 运行报告 (38)6.3 导航台设备的鉴定 (39)6.4 导航台站的撤消 (41)附录1:中国民用航空法附录2:航空无线电导航台站电磁环境要求—GB6364-86附录3:中国民用航空通信导航雷达工作规则—民航总局令5号附录4:中国民用航空无线电管理规定—民航总局令7号附录5:中国民用航空仪表着陆系统Ⅱ类运行规定—民航总局令57号附录6:航空器机场运行最低标准的制定与实施规定—民航总局令第98号附录7:民用航空空中交通通信导航监视设备使用许可管理办法—民航总局令第111号附录8:平行跑道同时仪表运行管理规定—民航总局令第123号附录9:民航机场建设管理规定—民航总局令第129号附录10:航空无线电导航台和空中交通管制雷达站设置场地规范—MH/T 4003-1996附录11:飞行校验规则—中华人民共和国民用航空行业标准MH 2003-2000附录12:航空无线电导航设备第1部分:- 4 -仪表着陆系统(ILS)技术要求——MH/T 4006.1-1998附录13:航空无线电导航设备第2部分:甚高频全向信标(VOR)技术要求——MH/T 4006.2-1998附录14:航空无线电导航设备第3部分:测距仪(DME)技术要求——MH/T 4006.3-1998附录15:航空无线电导航设备第4部分:无方向性信标(NDB)技术要求——MH/T 4006.4-1998附录16:NM3710型仪表着陆系统外场测试仪-JJG(民航)0085-2005附录17:中国民用航空通信导航监视设备运行、维护规程附录18:民用航空空中交通管理物资设备招投标管理办法—MD-TM-2004-2附录19:关于下发《民航空管系统设备运行状况信息通报规定(试行)和民航通信导航监视设备抢修及应急预案协调管理规定(试行)》的通知—总局空发[2000]10号附录20:关于归口办理频率规划和指配的通知(1995年8月2日民航总局空中交通管理局1886号传真电报)附录21:关于调整雷达导航设备定期飞行校验周期的通知(民航空发〔1999〕115号)附录22:关于做好仪表着陆系统建设和运行保障工作的通知—民航空发[2000]167号附录23:关于仪表着陆系统外场测试接收机定期校验的通知(2000年1月14日总局空管局传真电报)附录24:关于认真做好飞行校验组织工作的通知(民航总局空管局2000年2494号电报)附录25:关于严格执行导航设备开放标准的通知—民航空函[2002]960号- 5 -附录26:民用航空空中交通管理设备开放、运行规则—民航总局令第172号附录27:关于加强雷雨季节通信雷达导航设备运行保障的通知—2004-5-25民航机号1269附录28:关于加强飞行校验组织工作的通知(民航空发〔2005〕21号)附录29:关于加强导航设备投产飞行校验实施方案审核的通知(民航办空发〔2006〕20号)附录30:关于严格机场导航设备建设和运行工作程序的的通知(民航发〔2006〕148号)- 6 -1. 导航台站建设导航台站的设立,根据飞行活动的需要而确定。
MH/T4003-1996航空无线电导航台和空中交通管制雷达站设置场地规范1 范围本标准规定了航空无线电导航台和空中交通管制(简称空管)雷达站和设置地点,是其所提供的方位、距离、位置等导航、雷达信息的基准点。
本标准适用于通用型导航和雷达设备,也适用于各类民有航空无线电导航台和空管雷达站新建台站的选址和台站建设以及已建台、站的场地管理一环境保护。
2 定义本标准采用下列定义。
2.1空中定位air fix point为保证航空器的正常航行而规定的空中位置点。
2.2切线飞行tangent flight与以雷达天线为中心的圆相切的切线飞行,径向速度为零时,其一次雷达目标显示将会失效。
2.3雷达遮蔽角(包括水平遮蔽角和垂直遮蔽解)screen angle从雷达天线中心点和该点所在水平面向上算起的雷达电波信号被地形地物遮挡的垂直张角。
2.4对称装定symmetrical installation精密进近雷达的航向天线相对于跑道平行线做对称扫描(即左右各100)的装定方式。
2.5不对称装定asymmetrical installation精密进近雷达的航向天线相对于跑道平行线做左右不对称扫描(通常是向跑道方向扫描150,背跑道方向扫描50)的装定方式。
2.6仪表着陆系统instrument landing system (ILS)它为飞机提供航向道、下滑道和距跑道着陆端的距离信息,用于复杂气象条件下,按仪表指示引导飞机进场着陆。
包括甚高频(VHF)航向信标设备、超高频(UHF)下滑信标设备和甚高频(VHF)指点信标以及连带的监视系统、遥控和指示设备。
2.7决断高/高度decision altitude/decision height按仪表着陆系统进场着陆时,决定复飞或继续进场的最低限定高/高度。
2.8仪表着陆系统的I类运行标准operational standards or ILS CA T I使用仪表着陆设备,在不低于决断高度/高度60m,跑道能见度大于800m的最低气象条件下着陆。
信息通告中国民用航空局空管行业管理办公室编号:IB—TM—2010—004下发日期:2010年4月26日民用航空导航台建设指导材料关于下发《民用航空导航台建设指导材料》的通知各地区管理局,各监管局,各地区空管局、各空管分局(站),各机场公司:为了规范民用航空导航台建设,指导导航设施的规划、设计和运行维护工作,确保运行保障单位提供所需导航服务,现将《民用航空导航台建设指导材料》下发你们。
望各单位参照本材料加强导航台建设管理,补充完善运行维护规范,确保运行安全。
民航局空管办二○一○年四月二十六日抄送:局领导,政法司、计划司、运输司、飞标司、机场司,空管局。
民用航空导航台建设指导材料第一章总则第一条为了规范及指导民用航空导航台(以下简称导航台)建设,保证导航台的建设符合国家和民航局相关规定、技术规范,确保导航台建设做到技术先进、安全适用、经济合理,特制定本指导材料。
第二条本指导材料要求导航台在选址、规划、设计及施工的各阶段,落实场地保护、电磁环境保护等行业规范要求,保证导航台在供电保障、机房装修、维护空间、防雷接地等方面,达到规定的标准,满足实际使用需要,为导航设备的长期持续正常运行提供所需环境,为飞行安全提供可靠保障。
第三条本指导材料使用以下定义:导航台是指利用无线电波的传播特性,为航空器提供测定导航参量(方位、距离和速度),确定航空器的位置,并引导航空器按预定航路(线)飞行的地面台站。
包括无方向信标台、仪表着陆系统、全向信标台、测距台和指点标台等。
航路导航台是指为在航路(线)上飞行的航空器提供飞行引导信息的导航台。
机场导航台是指为在机场区域内飞行的航空器提供起飞和着陆引导信息的导航台。
本指导材料中导航台设备包括导航设备及附属设备。
导航设备是指航向信标、下滑信标、全向信标、测距仪、指点信标、无方向信标等设备。
附属设备是指所需的供电、配电、通信、消防、照明和防雷等设备。
第四条新型号导航设备的建设指导材料,将根据实际需要,另行发布。
《民用航空通信导航监视工作规则》为了规范民用航空通信导航监视(以下简称通信导航监视)工作,保障民用航空活动的安全、正常和高效,依据相关法律法规制定了《民用航空通信导航监视工作规则》,下面是规则的详细内容,欢迎大家阅读与收藏。
《民用航空通信导航监视工作规则》第一章总则第一条为了规范民用航空通信导航监视(以下简称通信导航监视)工作,保障民用航空活动的安全、正常和高效,依据《中华人民共和国民用航空法》、《中华人民共和国飞行基本规则》和《民用机场管理条例》,制定本规则。
第二条本规则适用于在中华人民共和国领域内以及根据我国缔结或者参加的国际条约的规定,提供通信导航监视服务以及与通信导航监视服务有关的活动。
本规则是组织实施通信导航监视工作的依据。
提供通信导航监视服务的单位以及其他与通信导航监视工作有关的单位和个人,应当遵守本规则。
第三条中国民用航空局(以下简称民航局)负责统一管理全国通信导航监视工作,民航地区管理局(以下简称地区管理局)负责监督管理本地区通信导航监视工作。
第四条通信导航监视工作的主要任务是通过配置和管理相应的人员及设施设备,为民用航空活动提供准确、及时、连续、可靠的通信导航监视服务。
第五条组织与实施通信导航监视工作,贯彻安全第一、保障可靠、服务优质的方针,遵循科学配置、协调运行、集中统一、分工负责的原则。
第六条民航局鼓励和支持通信导航监视领域的科学技术研究与应用、人才培养、国际合作与交流,不断提高通信导航监视服务水平。
对通信导航监视工作做出突出贡献的单位和个人,给予奖励。
第七条本规则所用术语的含义在本规则附件《定义》中规定。
第二章机构与人员第一节机构第八条通信导航监视服务由通信导航监视运行保障单位提供。
通信导航监视运行保障单位应当在指定的职责范围内提供通信导航监视服务。
第九条通信导航监视运行保障单位应当具备下列基本条件:(一)具有健全的组织机构和管理制度;(二)具有满足通信导航监视服务保障工作需要的,持有有效执照的民用航空电信人员;(三)具有开展通信导航监视服务保障工作所需的设施设备,以及必备的仪器仪表、备件、器材和工具;(四)具有必备的有关通信导航监视资料。
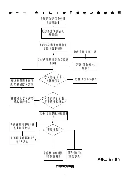
附件一台(站)址的选址及申请流程台(站)的撤销流程图附件三临时无线电台的申请与批准流程附件四台(站)址申请补充材料通知单附件五台(站)址撤销补充材料通知单附件六审核意见表关于《中南地区通信导航监视设备台(站)址管理实施细则》的修订说明2013年2月28日,民航局下发了《民用航空通信导航监视设备台(站)址管理办法》。
并于2013年5月1日开始实施。
我局依据该规范性文件修订了《中南地区通信导航监视设备台(站)址管理实施细则》,为满足实际工作需要,在修订实施细则过程中我局充分向管理局相关处室及监管局、中南空管局及各空管分局(站)、中南地区机场(集团)公司及民用航空通用运输机场征求了意见。
在综合各地情况和贯彻行政许可法精神的指引下,具体修订内容如下:(一)增加了监管局预审流程,加强了行政许可的实质性审查。
中南地区通信导航监视设备台(站)址设置及撤销申请由设备运行单位或者项目建设单位提出申请,监管局直接受理并进行预审,管理局初审并上报民航局审批。
设置临时无线电台的,设置单位向监管局提出申请,监管局直接受理并进行预审,管理局进行审批。
所有申请工作时限限定在民航局规范性文件要求范围之内。
通过监管局进行符合性核查,加强了监管局对辖区内通信导航监视设备建设过程及不停航施工的安全监管。
(二)简化了审批流程取消了管理局通知一次性补充申请材料流程,对于申请材料不齐全或者不符合格式要求的由监管局负责进行通知一次性补正。
(三)明确申请材料不齐全或者不符合格式要求的,监管局在收到申请之后在5个工作日内通知申请人一次性补正所有内容。
(三)删除征求意见稿中第二十五条“形成的专家意见”拟定的设备台(站)址不符合现有规范标准,并且无更佳可选方案时,选址工作实施单位需组织技术论证,并形成技术论证报告。
技术论证包含技术评估和专家意见两部分内容。
(四)将征求意见稿中第五十六条的“临时无线电台撤销后”,改为“临时无线电台到期或撤销后”,加强管理局对临时无线电台的监督管理。
机场工程建设全过程一、机场建设工程分为民航专业工程项目和非民航专业工程项目1:民航专业工程项目:(1)飞行区场道工程(含土方、基础、道面、排水、桥梁)及巡场路、围界工程;(2)机场目视助航工程;(3)民航空管工程、包括:通信工程、导航工程(本场)、航管工程、气象工程;(4)航站楼工艺流程、民航专业弱电系统、机务维修设施、货运系统等项目的专业和非标设备;(5)航空卸油站、储油库、输油管路、机坪加油管线系统等供油工艺和设备;2:非民航专业工程项目。
(1)货运、食品工程(含货运站、货运业务楼、航空配餐楼、其它设施工程;(2)航空公司基础工程(含机务维修、行政办公设施、仓储设施、其它设施工程;(3)配套系统设施工程、包括:机务维修设施、邮电通讯系统、信息系统、场务设施、绿化生态系统、防汛促淤设施、供冷供热供气系统、供水系统、排水系统、污水污物处理系统、道路桥梁工程、行政生活设施、其它设施工程;二:机场建设工程法律依据1:«中华人民共和国民用航空法»2:«中华人民共和国招标投标法»3:«国务院对确须保留的行政审批项目设定行政许可的决定»4:«建设工程质量管理条例»(国务院第279号令)5:«民用机场建设管理规定»(民航总局令第129号)6:«民用机场不停航施工管理规定»(民航总局令第97号)7:《关于建设机场和合用机场审批程序的若干规定》(国办发【1985】49号)8:《民航固定资产投资项目资金管理办法》民航发[2008]38号: 9:《民航专项基金固定资产投资项目管理暂行规定》民航发[2009]5号三:机场建设用地取得法律依据1:《中华人民共和国土地管理法》2:《中华人民共和国城市房地产管理法》3:《划拨用地目录》国土资源部令第9号1)民用机场设施用地(1).机场飞行区(含跑道、滑行道系统、升降带、各类机坪、机场围界、巡场路等)。
中国民用航空导航业务工作指南中国民用航空总局2006-1-5目录、、-刖言...............1.导航台站的建设••…1.1预可行性研究…… 1.2可行性研究1.3选址………………1.4初步设计…………1.5选购设备…………1.6建设………………1.7频率申请…………1.8校飞………………1.9项目验收………… 1.10 开放………………2.导航台的飞行校验…2.1定期飞行校验………2.2不定期飞行校验……3.设备运行工作条件…3.1人员………………3.2设备………………3.3备件、仪表及工具3.4制度………………4.设备停工报告………4.1设备故障报告流程…4.2进度报告…………4.3停工检修……………5.设备的定期开放与关闭.........................................5.1定期关闭.....................................................5.2定期开放.....................................................5.3长期关闭.....................................................6.运行管理......................................................6.1导航设备资料的管理...........................................6.2运行报告.....................................................6.3导航台设备的报废与更新.......................................6.4导航台站的撤消...............................................附录1:中国民用航空法............................................附录2:航空无线电导航台站电磁环境要求一一GB6364-86 ................附录3:中国民用航空通信导航雷达工作规则一一民航总局令5号.......附录4:中国民用航空无线电管理规定一一民航总局令7号.............附录4:中国民用航空仪表着陆系统U类运行规定一一民航总局令57号……附录5:航空器机场运行最低标准的制定与实施规定――民航总局令第98号......................................附录5:《民用航空空中交通通信导航监视设备使用许可管理办法》――民航总局令第111号.....................................附录5:中国民用航空航空电信人员执照管理办法......................附录6:平行跑道同时仪表运行管理规定一一民航总局令第123号.......附录7:航空无线电导航台和空中交通管制雷达站设置场地规范——MH/T 4003-1996 ......................................附录&飞行校验规则一一中华人民共和国民用航空行业标准MH 2003-2000附录9:航空无线电导航设备第1 部分:仪表着陆系统(ILS)技术要求——MH/T 4006.1-1998 ........... 附录10:航空无线电导航设备第2 部分:甚高频全向信标(VOR)技术要求——MH/T 4006.2-1998 .......... 附录11:航空无线电导航设备第3 部分:测距仪(DME )技术要求——MH/T 4006.3-1998 ...............附录12:航空无线电导航设备第4 部分:无方向性信标(NDB )技术要求——MH/T 4006.4-1998 .........................................附录13:中国民用航空通信导航监视设备运行、维护规程.................附录14:民用航空空中交通管理物资设备招投标管理办法(试行)MD-TM-2001-45 .........................................附录15:关于统一组织进口通信、导航、雷达设备选型的通知(1993年2月17日航行司548号传真电报) ..................附录16:通信雷达导航设备故障及停工报告制度(暂行)――总局空发]2000] 10号...................................附录17:关于归口办理频率规划和指配的通知(1995年8月2日民航总局空中交通管理局1886号传真电报)……附录18:关于调整雷达导航设备定期飞行校验周期的通知(民航空发〔1999〕115号).................................附录19:关于印发《中国民用航空卫星通信人员上岗执照制度管理办法(试行)》的通知——民航空发]2000] 166号.............................附录20:关于做好仪表着陆系统建设和运行保障工作的通知――民航空发]2000] 167号...................................附录21:关于印发《西部航路自动相关监视系统管理规定》的通知――民航空发]2000] 184号...................................附录22:关于仪表着陆系统外场测试接收机定期校验的通知(2000 年1 月14 日总局空管局传真电报)……………………………附录23:关于认真做好飞行校验组织工作的通知(民航总局空管局2000年2494号电报)..................附录24:关于严格执行导航设备开放标准的通知——民航空函]2002] 960号...............................附录25:关于导航设备更新报废鉴定小组成立的通知—— 2002-8-27民航机号1954 ...........................附录26:关于加强雷雨季节通信雷达导航设备运行保障的通知—— 2004-5-25民航机号1269 ...........................附录27:关于加强飞行校验组织工作的通知(民航空发〔2005〕21 号)中国民用航空航空电信人员执照管理办法中国民用航空无线电管理规则中国民用航空通信业务管理规程民用航空空中交通管理设备开放、关闭、报废管理办法国际民航组织8071 文件无线电导航设备测试手册、八前言为了保证终端区、航路导航系统及配套设施设备的可靠运行,民航总局、总局空管局制定了一系列法规、标准、管理制度。
探讨有关空管通信、导航、雷达设施建设和维护管理摘要民航是我国社会经济的重要组成部分,而民航也成为21世纪人们日常出行的重要方式之一。
而民航的通信、导航和雷达建设则是民航运营管理中重要的内容,只有重视并保证民航通信、导航和雷达设施的有效建设与维护管理,才能保证民航系统运行的稳定和安全。
关键词通信;导航;雷达设施;建设与维护管理1 民航通信、导航和雷达设施建设为完善我国空管设施体系,我国在航空通信、导航和雷达设施建设上已经取得了较大的发展和进步。
目前关于未来通信、导航和雷达设施的相关建设还需要注意以下几点:1.1 关于项目设置和招投标工作首先在关于民航通信、导航和雷达设施的建设上,项目的制定应该根据各个地区空管设施的实际情况来展开,也就是说建设项目需要根据实际对于安全保障和空管指挥的要求,这样项目建设才有意义,并取得成效。
此外,在关于建设项目的招投标工作,主要是在关于设备设施的引进使用方面,为避免同一厂家提供太多设备,要将供货期缩短,并对引进的设备进行合格检测,防止不符合规定的设备进入建设项目中,然后加强对设备的维护管理,提高其使用效率。
1.2 工程管理体制的建设与完善由于民航关于通信、导航和雷达相关的设施建设是非常庞大且系统性很强的工程,所以建立并不断完善工程管理体制非常必要。
比如采取多级管理方式,总局集中管理,然后根据建设项目的性质、大小等明确职责分工。
对于规模庞大的项目工程建设来说,总体工程的质量和资金方面的管理应该由总局空管局负责,而对于工程的施工进度、施工工程预算、施工质量等则由管理局空管局来负责,各个项目的建设单位则应该负责工程质量的监理,以及相关设备的安装调试等工作。
此外,需要对项目竣工决算等提出明确规定,否则会给后期竣工决算产生困难。
总之,只有不断完善工程管理体制,才能保证建设项目保质保量地完成。
1.3 工程配套资金管理在项目建设资金管理上,过去传统的方式是对于民航通信、导航和雷达设施建设这类项目,往往是将资金一次性到位,在资金到位之后才开始某个建设工程施工。
航空无线电导航台和空通管制雷达站设置场地规1 围本标准规定了航空无线电导航台和空通管制〔简称空管〕雷达站和设置地点,是其所提供的方位、距离、位置等导航、雷达信息的基准点。
本标准适用于通用型导航和雷达设备,也适用于各类民有航空无线电导航台和空管雷达站新建台站的选址和台站建立以及已建台、站的场地管理一环境保护。
2 定义本标准采用以下定义。
2.1 空中定位 air fix point为保证航空器的正常航行而规定的空中位置点。
2.2 切线飞行 tangent flight与以雷达天线为中心的圆相切的切线飞行,径向速度为零时,其一次雷达目标显示将会失效。
2.3 雷达遮蔽角〔包括水平遮蔽角和垂直遮蔽解〕 screen angle从雷达天线中心点和该点所在水平面向上算起的雷达电波信号被地形地物遮挡的垂直角。
2.4 对称装定 symmetrical installation精细进近雷达的航向天线相对于跑道平行线做对称扫描〔即左右各100〕的装定方式。
2.5 不对称装定 asymmetrical installation精细进近雷达的航向天线相对于跑道平行线做左右不对称扫描〔通常是向跑道方向扫描150,背跑道方向扫描50〕的装定方式。
2.6 仪表着陆系统 instrument landing system (ILS)它为飞机提供航向道、下滑道和距跑道着陆端的距离信息,用于复杂气象条件下,按仪表指示引导飞机进场着陆。
包括甚高频〔VHF〕航向信标设备、超高频〔UHF〕下滑信标设备和甚高频〔VHF〕指点信标以及连带的监视系统、遥控和指示设备。
2.7 决断高/高度 decision altitude/decision height按仪表着陆系统进场着陆时,决定复飞或继续进场的最低限定高/高度。
2.8 仪表着陆系统的I类运行标准 operational standards or ILS CAT I使用仪表着陆设备,在不低于决断高度/高度60m,跑道能见度大于800m的最低气象条件下着陆。
导航台站建设工作流程(空管局)导航台站建设流程图导航台站选址审查一、应当提交的文件和资料:1、选址报告(一式2份,原件)2、附件(一式2份,原件)A、立项批准文件B、更新改造项目应征求有关行业管理部门意见C、土地规划和无线电管理部门同意建台并提供保护的信函或批准文件D、根据台站情况,应有和军方签定设在军民合用机场的台站位置或设在军用设施附近的台站位置的协议书E、机场导航台站应附录飞行程序初步设计方案的批准文件F、台址经纬度(54和84坐标系)、海拔高度测绘成果(需由具备测量资质单位出具G、电磁环境测试分析报告H、导航台站场地环境平面图,导航台站保护区周围地形图以及相对位置图I、导航台站场地地形地物遮蔽角图和基础测绘成果报告J、如必要,附录厂家分析报告K、如必要,附录飞行鉴定报告二、导航台选址审查程序1、选址报告由建设单位编制完成,上报民航地区管理局。
2、民航地区空管局进行初审,通过初审后,在20个工作日内由民航地区管理局报民航总局审批。
导航台频率、呼号申请流程一、应提交的文件和资料1、申请文件(一式2份,原件)2、附件(一式2份,原件)A、民用航空无线电台(站)导航频率申请表B、导航台址批复文件C、设备采购合同复印件二、审查程序1、拟建设备工作频率和呼号的申请由建设单位向民航地区管理局无委办提出。
2、民航地区管理局无委办在收到申请材料后,设备主管部门对相关内容进行审核,对符合要求的,上报至民航总局无委办。
3、民航总局无委办对申请材料进行审核后批复频率。
飞行校验申请流程设备安装调试完成后,可进行飞行校验工作。
一、应提交的文件和资料1、申请文件(一式2份,原件)2、附件(一式2份,原件)A、导航设备校飞用基准数据表B、导航资料增改报表C、经批复的飞行程序二、审查程序1、设备的飞行校验由建设单位向地区空管局通信导航主管部门提出申请。
2、地区空管局通信导航主管部门对申请进行审核后向民航飞行校验中心提出。
导航工程空管设施保障制度导航工程空管设施保障制度是指为保障民航航班的正常运行和保障空中交通的顺畅,航空管理部门对导航工程设施进行保障的一系列制度和措施。
导航工程空管设施包括导航设备、通信设备、雷达设备等各类设施,这些设施是航空管理的基础设施,对于保障航班安全和准点起降至关重要。
本文将从导航工程空管设施保障制度的必要性、内容、实施和改进等方面进行探讨。
一、导航工程空管设施保障制度的必要性导航工程空管设施保障制度的制定与实施对于保障民航安全和保障空中交通的有序运行具有重要的意义。
首先,导航工程空管设施是保障航班准确、高效地起降和飞行的基础设施,如果这些设施出现故障或者运行不正常,将会对航班的正常运行产生严重影响。
其次,导航工程空管设施涉及到多个部门和单位的协调合作,需要建立一套完善的保障制度和责任体系来确保各方的协同配合。
再次,导航工程空管设施的保障制度不仅仅是为了保证航班的安全和准点、还是为了适应日益增长的航空需求,提高空中交通运行效率、减少航班延误。
二、导航工程空管设施保障制度的内容1.导航工程设施巡检制度:航空管理部门应当建立导航工程设施的定期巡检和定期维护制度,明确巡检的频率和范围,确保设施的正常运行。
2.导航设备故障处理制度:航空管理部门应当建立导航设备故障的报修、处理和反馈机制,及时修复设备故障,减少航班延误。
3.导航设备备件管理制度:航空管理部门应当建立导航设备备件的采购、库存和更新制度,确保设备备件的及时供应。
4.通信设备备份制度:航空管理部门应当建立通信设备的备份和切换制度,保证通信设备的连续运行。
5.雷达设备标定和校准制度:航空管理部门应当建立雷达设备的标定和校准制度,确保雷达设备的准确性和可靠性。
6.空管设施故障应急预案:航空管理部门应当建立空管设施故障的应急预案,及时组织处置故障,减少对航班的影响。
7.空管设施维护人员培训制度:航空管理部门应当建立空管设施维护人员的培训计划和考核制度,确保维护人员具备必要的技能和知识。
在地电台站建设过程的流程下载温馨提示:该文档是我店铺精心编制而成,希望大家下载以后,能够帮助大家解决实际的问题。
文档下载后可定制随意修改,请根据实际需要进行相应的调整和使用,谢谢!并且,本店铺为大家提供各种各样类型的实用资料,如教育随笔、日记赏析、句子摘抄、古诗大全、经典美文、话题作文、工作总结、词语解析、文案摘录、其他资料等等,如想了解不同资料格式和写法,敬请关注!Download tips: This document is carefully compiled by theeditor. I hope that after you download them,they can help yousolve practical problems. The document can be customized andmodified after downloading,please adjust and use it according toactual needs, thank you!In addition, our shop provides you with various types ofpractical materials,such as educational essays, diaryappreciation,sentence excerpts,ancient poems,classic articles,topic composition,work summary,word parsing,copy excerpts,other materials and so on,want to know different data formats andwriting methods,please pay attention!在地电台站建设过程的流程随着通讯技术的不断发展,地电台站也成为了现代通讯的重要组成部分。
导航台站建设流程图
导航台站选址审查
一、应当提交的文件和资料:
1、选址报告(一式2份,原件)
2、附件(一式2份,原件)
A、立项批准文件
B、更新改造项目应征求有关行业管理部门意见
C、土地规划和无线电管理部门同意建台并提供保护的信函或批准文件
D、根据台站情况,应有和军方签定设在军民合用机场的台站位置或设在军用设施附近的台站位置的协议书
E、机场导航台站应附录飞行程序初步设计方案的批准文件
F、台址经纬度(54和84坐标系)、海拔高度测绘成果(需由具备测量资质单位出具
G、电磁环境测试分析报告
H、导航台站场地环境平面图,导航台站保护区周围地形图以及相对位置图
I、导航台站场地地形地物遮蔽角图和基础测绘成果报告
J、如必要,附录厂家分析报告
K、如必要,附录飞行鉴定报告
二、导航台选址审查程序
1、选址报告由建设单位编制完成,上报民航地区管理局。
2、民航地区空管局进行初审,通过初审后,在20个工作日内由民航地区管理局报民航总局审批。
3、民航总局空管局进行审核并具体承办台址批复,由民航总局下发。
导航台频率、呼号申请流程
一、应提交的文件和资料
1、申请文件(一式2份,原件)
2、附件(一式2份,原件)
A、民用航空无线电台(站)导航频率申请表
B、导航台址批复文件
C、设备采购合同复印件
二、审查程序
1、拟建设备工作频率和呼号的申请由建设单位向民航地区管理局无委办提出。
2、民航地区管理局无委办在收到申请材料后,设备主管部门对相关内容进行审核,对符合要求的,上报至民航总局无委办。
3、民航总局无委办对申请材料进行审核后批复频率。
飞行校验申请流程
设备安装调试完成后,可进行飞行校验工作。
一、应提交的文件和资料
1、申请文件(一式2份,原件)
2、附件(一式2份,原件)
A、导航设备校飞用基准数据表
B、导航资料增改报表
C、经批复的飞行程序
二、审查程序
1、设备的飞行校验由建设单位向地区空管局通信导航主管部门提出申请。
2、地区空管局通信导航主管部门对申请进行审核后向民航飞行校验中心提出。
同时通知建设单位做好校飞的准备工作。
设备投产开放流程
一、应提交的文件和资料
1、申请文件(一式2份,原件)
2、附件(一式2份,原件)
A、飞行校验报告
B、导航资料增改报表(表格应由填写人手写签名并加盖填报单位公章)
C、仪表飞行程序
二、审查程序
1、设备投产开放申请由建设单位向地区空管局提出。
2、收到申请后,地区空管局对所报材料进行审核,对于资料不全的,向申请人提出资料补正要求。
对符合开放条件的,向民航总局空管局提出申请。
对不符合开放条件的,不予受理。
3、经民航总局空管局审核,对于符合开放条件的导航台站,做出同意开放的批准。
对于资料不全的,向地区空管局提出资料补正要求。
4、收到民航总局空管局同意开放的批复后,建设单位可根据批复的设备开放使用时间,安排正式开放使用。