电能计量接线图
- 格式:doc
- 大小:7.47 MB
- 文档页数:47
电能计量装置接线图集PDF本帖最后由 wang6626866 于 2009-6-24 20:31 编辑内容提要________________________________________本图集根据DL/T825—2002《电能计量装置安装接线规则》的技术要求,汇集了国内现行电力系统和用户采用的由不同类型电能表、电流互感器、电压互感器构成的电能计量装置,其电压等级有220V、380V、220/380V、3-10kV、3-35kV、66(63)kV、110kV及以上,用于单相照明,低压和高压三相有功、无功电能计量的联合接线,共计143种。
图集分为两个单元:第一单元为电流互感器分相接线方式的联合接线图(简称分相接线方式),共计73种;第二单元为电流互感器简化接线方式的联合接线图(简称简化接线方式),共计70种。
计费用电能计量装置应采用分相接线方式,目前仍在使用的简化接线方式应逐步向分相接线方式过渡。
本图集可供电力系统和用户的电能计量设计、安装、检验及计量管理、用电检查人员在工作中使用。
目录第一单元电流互感器分相接线方式的联合接线图图1-1D1-0D单相计量有功电能,直接接入式接线图(Ⅰ)图1-2D1-0C单相计量有功电能,直接接入式接线图(Ⅱ)图1-3D1-2D单相计量有功电能,经电流互感器接入式接线图(Ⅰ)图1-4D1-2C单相计量有功电能,经电流互感器接入式接线图(Ⅱ)图1-5D1-0S低压计量有功电能,直接接入式接线图(Ⅰ)图1-6D1-0P低压计量有功电能,直接接入式接线图(Ⅱ)图1-7D3-0D低压分相计量有功电能,直接接入式接线图图1-8D3-6D低压分相计量有功电能,经电流互感器接入式分相接线方式接线图图1-9D1-6S低压计量有功电能,经电流互感器接入式分相接线方式接线图(Ⅰ)图1-10D1-6N低压计量有功电能,经电流互感器接入式分相接线方式接线图(Ⅱ)图1-11D1-6Z低压计量受进、送出电能,经电流互感器接入式分相接线方式接线图图1-12D2-6SB低压计量有功及感性无功电能,经电流互感器接入式分相接线方式线图(Ⅰ)图1-13D2-6NB低压计量有功及感性无功电能,经电流互感器接入式分相接线方式线图(Ⅱ)图1-14D3-6SB低压计量有功及感性、容性无功电能,经电流互感器接入式分相接线方式接线图(Ⅰ)图1-15D3-6NB低压计量有功及感性、容性无功电能,经电流互感器接入式分相接线方式接线图(Ⅱ)图1-11D1-6Z低压汁量受进、送出电能,经电流互感器接人式分相接线方式接线图220/380v。
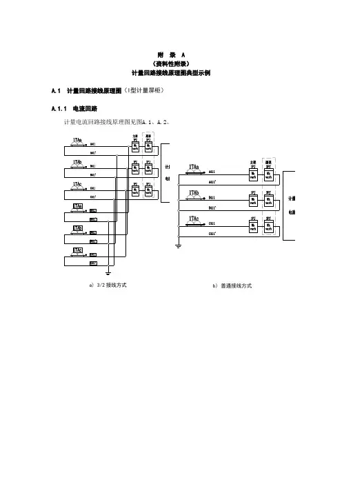
附录 A(资料性附录)计量回路接线原理图典型示例A.1 计量回路接线原理图(I型计量屏柜)A.1.1 电流回路计量电流回路接线原理图见图A.1、A.2。
a) 3/2接线方式b) 普通接线方式c) 与试验盒接线图A.1 计量电流回路接线原理图(三相四线)报警输出脉冲输出RS485输出RS485输出交流/直流电源输入1PJ报警输出脉冲输出RS485输出RS485输出交流/直流电源输入IaIbIc Ia'Ib'Ic'a) 3/2接线方式b) 普通接线方式c) 与试验盒接线图A.2 计量电流回路接线原理图(三相三线)报警输出脉冲输出RS485输出RS485输出交流/直流电源输入1PJ报警输出脉冲输出RS485输出RS485输出交流/直流电源输入Ia Ic Ia'Ic'A.1.2 计量电压回路接线原理图a) 计量电压回路b) 与试验盒接线图A.3 计量电压回路接线原理图(三相四线)报警输出脉冲输出RS485输出RS485输出交流/直流电源输入1PJ报警输出脉冲输出RS485输出RS485输出交流/直流电源输入a) 计量电压回路b) 与试验盒接线图A.4 二次电压回路原理图(三相三线)报警输出脉冲输出RS485输出RS485输出交流/直流电源输入1PJ报警输出脉冲输出RS485输出RS485输出交流/直流电源输入附录 B(规范性附录)试验接线盒B.1 通则B.1.1 试验接线盒按回路断开方式分为:—拨片式—插件式B.1.2 试验接线盒绝缘材料阻燃等级不低于HB40/V0级,其颜色为工业产品通用色彩(灰色/黑色);B.1.3 试验接线盒应有安装方向、接线/插接方向、相别等字符及颜色标识。
B.2 拨片式试验接线盒拨片式接线盒应满足以下要求:a)加封结构易方便加封操作,其长度不宜大于180mm。
b)电压、电流导体应有Ф4mm插接孔。
c)端子及拨片安装螺丝应为不锈钢材质,螺纹不少于3圈,其机械强度、夹紧力参照GB/T 14048.7 中的相应规定。
电能表的接线--------------------------------------------------------------------------作者: _____________ --------------------------------------------------------------------------日期: _____________电能计量装置的接线第一节单相电能表接线一、直接接入式二、经互感器接入式第二节 三相四线有功电能表接线一、直接接入式 图4—1—2 经电流互感器接入单相电能表的(a ) 电流、电压线共用方式接线图图4—1—3 同时经电流互感器、电压互感器接入单相二、三相四线有功电能表正确接线的相量图三、经互感器接入式L L L 电 源 负 载图4—2—3 电压、电流线共用接线方式(低B•U •C •I图4—2—2 三相四线有功电能表接感性负载时的相量图AI BI CI 各元件所接电压、电L L L 电 源 负 载图4—2—4 电压、电流线分开接线方式(低压)图4—2—4 三相四线有功电能表经互感器 负载电压公共线断,由于相电压中没有零序分量,将引起附加误差第三节 三相三线有功电能表接线一、直接接入式图4—3—1 计量三相三线有功电能表的标准接线A 负 载CB二、经互感器接入式三、三相三线有功电能表标准接线相量图 图4—3—2 电压互感器V ,v 接L L L 电 源第四节 三相无功电能表接线一、三相四线无功电能表接线一般三相四线无功电能表多采用跨相90°型无功电能表(为三相三元件)二、三相三线无功电能表接线负 载AB C 电 源图4—4—1 90°型三相四线无功电能表标准接线N一般三相三线无功电能表多采用60°型无功电能表(为三相二元件)。
(但三相电压仍需对称或只为简单不对称,否则将产生附加误差。
)负 载L L L电 源 图4—4—2 60°型三相三线无功电能表直接接入式接负 载A BC电源图4—4—3 60°型三相三线无功电能表经电流互感器接入式接线第五节电能表联合接线一、概念电能表的联合接线系指在电流互感器或电流、电压互感器二次回路中同时接入有功、无功电能表以及其它有关测量仪表(失压记录表、最大需量表)。
电能计量装置接线图集PDF本帖最后由 wang6626866 于 2009-6-24 20:31 编辑内容提要________________________________________本图集根据DL/T825—2002《电能计量装置安装接线规则》的技术要求,汇集了国内现行电力系统和用户采用的由不同类型电能表、电流互感器、电压互感器构成的电能计量装置,其电压等级有220V、380V、220/380V、3-10kV、3-35kV、66(63)kV、110kV及以上,用于单相照明,低压和高压三相有功、无功电能计量的联合接线,共计143种。
图集分为两个单元:第一单元为电流互感器分相接线方式的联合接线图(简称分相接线方式),共计73种;第二单元为电流互感器简化接线方式的联合接线图(简称简化接线方式),共计70种。
计费用电能计量装置应采用分相接线方式,目前仍在使用的简化接线方式应逐步向分相接线方式过渡。
本图集可供电力系统和用户的电能计量设计、安装、检验及计量管理、用电检查人员在工作中使用。
目录第一单元电流互感器分相接线方式的联合接线图图1-1D1-0D单相计量有功电能,直接接入式接线图(Ⅰ)图1-2D1-0C单相计量有功电能,直接接入式接线图(Ⅱ)图1-3D1-2D单相计量有功电能,经电流互感器接入式接线图(Ⅰ)图1-4D1-2C单相计量有功电能,经电流互感器接入式接线图(Ⅱ)图1-5D1-0S低压计量有功电能,直接接入式接线图(Ⅰ)图1-6D1-0P低压计量有功电能,直接接入式接线图(Ⅱ)图1-7D3-0D低压分相计量有功电能,直接接入式接线图图1-8D3-6D低压分相计量有功电能,经电流互感器接入式分相接线方式接线图图1-9D1-6S低压计量有功电能,经电流互感器接入式分相接线方式接线图(Ⅰ)图1-10D1-6N低压计量有功电能,经电流互感器接入式分相接线方式接线图(Ⅱ)图1-11D1-6Z低压计量受进、送出电能,经电流互感器接入式分相接线方式接线图图1-12D2-6SB低压计量有功及感性无功电能,经电流互感器接入式分相接线方式线图(Ⅰ)图1-13D2-6NB低压计量有功及感性无功电能,经电流互感器接入式分相接线方式线图(Ⅱ)图1-14D3-6SB低压计量有功及感性、容性无功电能,经电流互感器接入式分相接线方式接线图(Ⅰ)图1-15D3-6NB低压计量有功及感性、容性无功电能,经电流互感器接入式分相接线方式接线图(Ⅱ)图1-11D1-6Z低压汁量受进、送出电能,经电流互感器接人式分相接线方式接线图220/380v。
低压计量接线图Last revision on 21 December 2020低压计量接线第一节电流电压共用三只单相电能表经互感器接入测量三相有功电量(电流电压线共用)安装时应注意以下几点:1、一次侧电源线电流方向应从P1流向P2。
2、电流互感器变比应按铭牌所标变比安装,匝数应以穿心式电流互感器内壁所穿匝数为准。
3、穿心的电源线应有足够的载流量,绝缘应完好无损坏。
4、电能表电流回路应与电流互感器二次侧串联,电压回路应与相应相电压并联。
5、电流互感器二次侧S1端子应接电能表电流回路的进线端(第1孔)6、电流互感器二次侧S2端子应接电能表电流回路的出线端(第2孔)7、电流回路不允许开路8、电流回路不允许接地9、电压回路火线应由对应相引入,接入电压回路进线端(第1孔)10、电压回路零线三相应并联,接入零线进线端(第3孔或第4孔)11、电压回路不允许短路接线图如下三只单相电能表经互感器接入接线图(电流电压线共用)三只单相电能表带三相四线无功表经互感器接入测量三相有功无功电量(电流电压线共用)安装时应注意以下几点:1、一次侧电源线电流方向应从P1流向P2。
2、电流互感器变比应按铭牌所标变比安装,匝数应以穿心式电流互感器内壁所穿匝数为准。
3、穿心的电源线应有足够的载流量,绝缘应完好无损坏。
4、电能表电流回路应与电流互感器二次侧串联,电压回路应与相应相电压并联。
5、A相电流互感器二次侧S1端子应接A相有功电能表电流回路的进线端(第1孔)6、A相有功电能表电流回路的出线端(第2孔),应与无功电能表电流回路A相的进线端(无功表第1孔)串联。
7、A相电流互感器二次侧S2端子应接无功电能表电流回路A相的出线端(第3孔)8、B相电流互感器二次侧S1端子应接B相有功电能表电流回路的进线端(第1孔)9、B相有功电能表电流回路的出线端(第2孔),应与无功电能表电流回路B相的进线端(无功表第4孔)串联。
10、B相电流互感器二次侧S2端子应接无功电能表电流回路B相的出线端(第6孔)11、C相电流互感器二次侧S1端子应接C相有功电能表电流回路的进线端(第1孔)12、C相有功电能表电流回路的出线端(第2孔),应与无功电能表电流回路C相的进线端(无功表第7孔)串联。
计量接线图(外部)向量图计量接线图(内部同名端配合)二、三相三线电能表实际运行中经常出现的非正常运行方式经常出现的非正常运行方式如下:1)A相电压缺相;或B相电压缺相;或C相电压缺相;2)电压接线错误的排列组合(Uc-b-a)( Ua-c-b)( Ub-c-a)( Ub-a-c) (Uc-a-b)3)A相电流接反,如(一la/lc);或C相电流接反,如(la/—Ic)4)AC相电流互换5)AC相电流同时接反6)AC相电流互换并同时接反7)A相电流正进U元件,C相电流反进I元件8)A相电流反进U元件,C电流正进I元件三、退补电量的计算电能计量装置由于各种原因出现了失准,特别是错误接线,应进行电量的更正。
根据退补电量,即抄见电量与实际用电量的差别,多退少补。
w ------- ----- —退补电量=正确电量一错误电量△W = W 一W更正系数K定义为:K = WW PP'(P :正确接线时功率;P'错误接线时功率)△W= W - W' = KW' —W' =( K —1) W'说明:1)△ W>0用户应补交4W的电费。
2)△ W<0应退给用户4W的电费。
3)K>1或K<0,用户应补交4W的电费;4)K<1供电企业应退给用户4W的电费。
5)若电能表在错误接线期间反转,则W'应取负值。
四、三相三线电能表计量误接线中常用的退补电量计算方法三相三线电能表计量误接线中常用的退补电量计算方法有五种:功率测量法、计量装置对比法、平均电量法、估算法、更正系数法。
其中更正系数法是处理三相三线电能表计量差错最常用的方法,其他方法可在无法采用更正系数法时使用,或对更正系数法的计算结果进行验证:1.功率测量法:在负荷运行稳定的条件下,使用功率表或现场校验仪测出错误接线时输入电能表的功率值P'及错误接线更正后输入电能表的负荷功率值P,算出更正系数K,再算2.5退补系数K的函数厳小用21.50.50. 40.71■L L0.5 0 9cosOIC=2Ju亦d不fcF*f*・ ilUKffX 比也、TW电li 址.納IT 址“越怜・■MM ,• M •刃 K -*>itMKWH 比优.T«J<&•K Ao» ・一*■ \ Cl JQf怜.娥.fttiftmi ・K Acw 0jn z aixiemtK9H ・ •A・ ・10 CM41AK.V5Y 、■\g•• FL■…迟・♦KG itMttHA ・ »•!>«««・ K-OH ・ ^♦N&MA ・ 外电*tar«IMIIIaM*\ 4 \ /L_尸|・0.4・«>«・♦» p,・ti,.y •枷 P •小门••只JEBWItanied «•;£«iiiiftir^比出、r« 电■(/、・«•12 AC4»<A HHKttM» \ ••4 —、 •K=-lu”ri-c\r ・* m ・ #iJEB*六、更正系数法退补不准确的原因浅析 在实际工作中发现,按更正系数法提出的计算公式计算出来的三相三线多功能表 失压期间的追补电量有时会与事实不符,往往偏大,用电管理单位经常就此与电 力客户发生纠纷,如何准确计算追补电量问题一直困扰着我们。
三相三线制电能表误接线对计量的影响作者:绍兴用电管理所韩明磊一、三相三线电能计量表的正确接线及其向量图电能计量装置主要由计量互感器、电能表及二次连接导线组成,正确接线及其向量图如下:计量接线图(外部)向量图计量接线图(内部同名端配合)二、三相三线电能表实际运行中经常出现的非正常运行方式经常出现的非正常运行方式如下:1) A相电压缺相;或B相电压缺相;或C相电压缺相;2)电压接线错误的排列组合(Uc-b-a)(Ua-c-b)(Ub-c-a)(Ub-a-c)(Uc-a-b)3) A相电流接反,如(-Ia/Ic);或C相电流接反,如(Ia/-Ic)4) AC相电流互换5) AC相电流同时接反6) AC相电流互换并同时接反7) A相电流正进Ⅱ元件,C相电流反进Ⅰ元件8) A相电流反进Ⅱ元件,C电流正进Ⅰ元件三、退补电量的计算电能计量装置由于各种原因出现了失准,特别是错误接线,应进行电量的更正。
根据退补电量,即抄见电量与实际用电量的差别,多退少补。
退补电量=正确电量-错误电量ΔW=W-W`更正系数K定义为:K=WW` PP`(P :正确接线时功率;P`错误接线时功率)ΔW=W-W`=KW`-W`=(K-1)W`说明:1)ΔW>0,用户应补交ΔW的电费。
2)ΔW<0,应退给用户ΔW的电费。
3) K>1或K<0,用户应补交ΔW的电费;4) K<1供电企业应退给用户ΔW的电费。
5)若电能表在错误接线期间反转,则W`应取负值。
四、三相三线电能表计量误接线中常用的退补电量计算方法三相三线电能表计量误接线中常用的退补电量计算方法有五种:功率测量法、计量装置对比法、平均电量法、估算法、更正系数法。
其中更正系数法是处理三相三线电能表计量差错最常用的方法,其他方法可在无法采用更正系数法时使用,或对更正系数法的计算结果进行验证:1. 功率测量法:在负荷运行稳定的条件下,使用功率表或现场校验仪测出错误接线时输入电能表的功率值P`及错误接线更正后输入电能表的负荷功率值P,算出更正系数K,再算出退补电量ΔW。
28. 交流有功电能表和交流无功电能表的接线方式。
答:电能表接线的基本原则是:电流元件串接在火线中,电压元件并接在电源侧,电流元件电流与电压元件电流必须从同名端引入。
具体地对交流有功电能表而言:1)单相表(DD ):单相有功电能表原理接线图、相量图和实际接线图如下图所示单相有功表实际接线时,四个端口:1、2接火,3、4接零,1进2出,3进4出。
2)三相三线有功电能表(DS )原理接线图和实际接线图如下图所示三相三线有功表实际接线时,1、2接A 相,3、4接B 相,5、6接C 相,单数进双数出。
3)三相四线有功电能表(DT )原理接线图和实际接线图如下图所示三相四线有功表实际接线时:1、2接A 相,3、4接B 相,5、6接C 相,7、8接零线,单数进双数出。
对交流无功电能表(DX)而言:1)由于正弦型无功电能表自身消耗功率大,工作特性较差,制造成本较高,准确度难以提高,所以目前较少采用。
2)跨相90°型无功电能表跨相90°型无功电能表原理接线图和相量图如下:注意:按跨相90°原理制成的三元件三相无功电能表,只在完全对称或简单不对称的三相四线电路和三相三线电路中才能实现正确计量,否则要产生原理性线路附加误差。
3)两元件60°型无功电能表两元件60°型无功电能表原理接线图和相量图如下:注意:两元件60°型无功电能表不能用于测量三相四线电路中的无功电能,否则,要产生线路附加误差。
由于这种电能表一般只用于完全对称,或简单不对称的三相三线电路中测量无功电能,因此,把两元件60°型无功电能表称为三相三线无功电能表。
4)三元件60°型无功电能表三元件60°型无功电能表原理接线图和相量图如下注意:只要三相电压对称,不论负载是否对称,三元件60°型无功电能表能够正确计量三相四线电路的无功电能。
强调:以上单相表、三相有功表和无功表的接线分析均不经互感器接入的,若须经互感器接入时,应注意互感器的减极性问题。
“雷正电气”11年专注生产:电缆桥架、金属线槽、JDG/KBG镀锌线管厂家
老电工分享25张电能表接线图,你了解多少?
电能表是用来测量电能的仪表,又称电度表,火表,千瓦小时表,指测量各种电学量的仪表。
使用电能表时要注意,在低电压(不超过500伏)和小电流(几十安)的情况下,电能表可直接接入电路进行测量。
在高电压或大电流的情况下,电能表不能直接接入线路,需配合电压互感器或电流互感器使用。
单相有功电度表(简称:单相电度表)由接线端子、电流线圈、电压线圈、计量转盘、计数器构成,只要电流线圈通过电流,同时电压线圈加有电压,转盘就受到电磁力而转动。
单相电度表共有5个接线端子,其中有两个端子在表的内部用连片短接,所以,单相电度表的外接端子只有4个,即1、2、3、4号端子。
由于电度表的型号不同,各类型的表在铅封盖内都有4各端子的接线图。
低压计量基础知识与查处窃电作者:张立华2010年张立华独立编写《低压电能计量知识和查处窃电》培训教材一书,作为本单位抄表员及所站长的技能培训教材,培训10期,每期35人-40人,学员技能水平明显提高.特此证明(内容见复印件)廊坊供电公司客服中心廊坊供电公司培训中心签字:签字:2011年9月9日2011年9月9日在现代化的建设与人民生活中谁都离不开电,电力的建设与发展与国民经济和人民生活质量息息相关,但是,电能作为一商品,在社会主义市场经济交换过程中,窃电的现象也就相伴而生。
窃电者为了达到目的,往往是千方百计使窃电的手法更加隐蔽和更加巧妙,并随着科技知识的普及,窃电行为的手段、窃电的方法也在发生变化。
对此,作为供电行业的用电管理人员一定要时刻警惕和高度重视,针对各种窃电行为进行深入的调查研究和分析,同时应采取相应的对策。
就象公安人员研究犯罪分之的作案手法一样,只有掌握了犯罪分子的作案规律、共性案例和特殊性案例及其手法才能做好如何防范,而且要比窃电者棋高一酬,掌握工作的主动权,使国家的财产损失减少到最小。
窃电的手法虽然五花八门,但万变不离其宗,最常见的是从电能计量的基本入手。
我们知道,一个电能表计量电量的多少,主要决定于电压、电流、功率因数三要素和时间的乘积,因此,只要想办法改变三要素中的任何一个要素都可以使电表慢转、停转甚至反转,从而达到窃电的目的(例如:矢压、矢流、短接(分流)、改变电能表进出线或极性等);另外,通过采用改变电表本身的结构性能的手法,使电表慢转(例如:改变电流线圈匝数、倒转表码、更换传动齿轮损坏传动齿轮等),也可以达到窃电的目的;各私拉乱接、无表用电的行为则属于更加明目张胆的窃电行为。
下面介绍电能计量基础知识和如何查处窃电。
一、基本知识1、电能表是怎样工作的?答案:当电能表接入电路时,电压线圈两端加上电源电压,电流线圈通过负载电流,此时电压线圈和电流线圈产生的主磁通穿过铝盘,在铝盘上便有三个磁通的作用,共产生三个涡流,这三个涡流与三个磁通相互作用,产生转矩,驱动铝盘旋转,并带动计数器计量电能的消耗。
2、电能表分类?(1)有功电能表(2)无功电能表(3)最大需量表(4)多功能电能表1)全电子式多功能电能表2)机电一体化多功能电能3)预付费电能表3、电流互感器的用途?答案:电流互感器是一种电流变换装置(CT)。
它是将大电流变成小电流供给仪表和继电保护装置。
电流互感器的二次侧电流均为5A。
4、电流互感器的二次线圈开路的后果?答案:A、由于磁通饱和,电流互感器的二次侧将产生数千伏的高电压,而且磁通的波形变成平顶波,因此,使二次产生的感应电动势出现了尖顶波,对二次绝缘构成威胁,对设备和运行人员有危险B、由于铁心的聚然饱和使铁心损耗增加,严重发热,绝缘有烧坏的可能;C、将在铁心中产生剩磁,使电流互感器比差和角差增大,影响计量的准确性。
所以:电流互感器在运行中不允许开路5、电压互感器的用途?答案:电压互感器是一种电压变换装置(PT)。
它将高电压变换为低电压供给仪表和继电保护装置。
电压互感器的二次侧电压均为100V.二、低压有功电能表接线1、单相有功电能表接线单相有功电能表错误接线的影响2、三相四线有功电能表接线1)电流回路开路2)电流回路短路3)电压回路开路4)电流回路极性反接三相四线有功电能表错误接线的计量影响和更正系数附表2三、三相三线电能表接线四、实际工作中经常应用的知识,举例题:1、某企业使用100kV A变压器一台(10/0.4kV),在低压侧应配置多大变比的电流互感器? 答案:解:按题意有ISU==×=3100173204144..(A)答:可配置150/5的电流互感器。
2、一家庭有彩电1台80W,微波炉1只800W,白炽灯40 W5只,洗衣机1台400W,电炊具800W,应配多大的电能表?解:I=(80+800+40*5+400+800)/220=10.8可配单相220V,6(12)A电能表。
3、供电所在一次营业普查过程中发现,某工业用户,当月有功电量为10000kWh,三相负荷基本平衡,开箱检查,发现有功电能表(三相四线)一相电压线被拆、断开(如图A)窃电,窃电时间为一个月。
试计算对该用户应追补电量ΔW、补交电费ΔM及违约使用电费M?(此工业户执行电价为0.6元/KWH)解:根据《供用电规则》第102条及103条规定,计算追补电量ΔW、补交电费ΔM及违约使用电费M 设每相有功功率为P,则一相电压线断线后,电能表计费电量W=2×P×t而实际消耗电量W′=3×P×t故应追补电量为ΔW=(W′-W)÷W×10000 =(W′/W*10000—10000)=(3/2*10000—10000)=5000(kWh) (W′:W=X:10000 X=10000 W′÷W)补交电费为ΔM=5000*0.6=3000元违约使用电费为3000*3=9000元答:该用户应追补电量5000 kWh、补交电费3000元及违约使用电费9000元4、某动力用户,当月有功电量为5000kWh,三相负荷基本平衡,开箱检查,发现有功电能表(三相四线)A相电流反接(如图B),应补电量ΔW为多少?解:设每相有功功率为P,则A相电流反接后,电能表计费电量W=P×t而实际消耗电量W′=3×P×t故应补电量ΔW=(W′-W)÷W×5000=10000(kWh)答:应补电量10000kWh。
5、某用户有2盏60W灯泡,每天使用3h,一台电视机功率为60W,平均每天收看2h,冰箱一台平均每天耗电1.1kWh。
求该户每月(30天)需交多少电费M(0.27元/kWh)。
答案:解:设灯泡每天耗电为W1,电视每天耗电为W2,冰箱每天耗电W3=1.1kWh,即W1=2×60×3=360=0.36(kWh)W2=60×2=120=0.12(kWh)W3=1.1(kWh)W=(W3+W2+W1)*30=(1.1(kWh)+ 0.12(kWh) +0.36(kWh) ) *30=47.4(kWh)该户每月(30天)需交电费M=47.4*0.27=12.8(元)6、已知某10kV高压供电工业用户,TA变比为50/5,TV变比为10000/100,有功表起码为165kWh,止码为236kWh。
试求该用户有功计费电量W为多少?答案:解:该用户计费倍率为ε=50/5×10000/100=1000该用户有功计费电量W=ε(235-165)=1000×(235-165)=7000(kWh)答:该用户有功计费电量为7000kWh。
7.某独立电网,其火电厂某月发电量10万kWh,厂用电电量4%。
独立电厂内另有一座上网水电站,购电关口表当月电量为1.5万kWh;另外,该电网按约定向另一供电区输出电量3.7万kWh。
该电网当月售电量为6.9万kWh,问独立电网当月线损率为多少?答案:解:根据线损率计算公式,有线损率=(供电量-售电量)÷供电量供电量=发电量+购入电量-厂用电量-输出电量,得供电量=10+1.5-3.7-10×4%=7.4(万kWh)线损率=(7.4-6.9)÷7.4=6.8(%)答:该电厂当月线损率为6.8%。
8、一客户电能表,经计量检定部门现场校验,发现慢10%(非人为因素所致),已知该电能表自换装之日起至发现之日止,表计电量为900000kWh。
问应补多少电量ΔW?答案:解:假设该用户正确计量电能为W ,则有(1-10%)×W =900000 (100:10=W :X X= 10%W )W =900000/(1-10%)W =1000000kWh根据《供电营业规则》第八十条第1款规定:电能表超差或非人为因素致计量不准,按投入之日起至误差更正之日止的二分之一时间计算退补电量,则应补电量Δ=×-=W 12100000090000050000()(kWh)答:应补电量50000kWh 。
抄表员工作中注意事项:1、停电时,先停负荷侧,再依次停向电源侧;送电时,先送电源侧,再依次送向负荷侧;2、抄表时,邻近电表箱或低压配电柜时,可以用手指背面轻试是否漏电,在开门抄表3、低压抄表员客户欠费停电时,停单相电能表的第二个端子,安全些4、分线分表、套表概念测试题:一、选择题1、电能表常数的正确单位是()A、度/小时;B、r/kw.h ;C 、R/KW.H;D、度/KWH2、铁道、航运等信号灯用电应按()电价计费。
A、普通工业;B、非居民照明;C 、非工业;D、大工业3、某自来水厂10KV、200KV.A用电应按()电价计费A、非工业;B、普通工业;C 、大工业;D、非居民照明;4、窃电者除应按所窃电量补交电费外,还应承担补交电费()的违约使用电费。
A、3倍;B、4倍;C 、5倍;D、6倍5、钳型电流表测量电流,可以在()电路电压上使用。
A、380/220;B、35KV ;C 、6KV;D、10KV6、三元件电能表用于()供电系统测量和记录电能。
A、两相三线制;B、三相三线制;C 、三相四线制;D、三相五线制7、居民家用电器从损坏之日起超过( )的,供电企业不再负责其赔偿。
(A)3日;(B)5日;(C)7日;(D)15日8、三相四线件有功电能表,接入A相和零线电压时,电流应取( )相电流。
(A)A相;(B) B相;(C) C相;(D) B C相9、一家庭有彩电2台80W,微波炉1只1000W,白炽灯40 W5只,洗衣机1台400W,电炊具800W,应配()电能表。
(A) 220V,6(12)A;(B)380V,6(12)A;(C)220V,6(12)A;(D)220V,6(12)A10、抄表周期一般( )一次(A)每季;(B)半年;(C)每年;(D)每月二、计算题1、供电所在普查中发现,某低压动力用户绕越电能表用电,容量1.5kW,且接用时间不清,问按规定该用户应补交电费ΔM为多少元?违约使用电费M多少元?(假设电价为0.50元/kWh)2、某工业用户,当月有功电量为10000kWh,三相负荷基本平衡,开箱检查,发现有功电能表(三相四线)A相电流线断线,应补电量ΔW为多少?3、已知某10kV高压供电工业用户,TA变比为50/5,TV变比为10000/100,有功表起码为165kWh,止码为236kWh。
试求该用户有功计费电量W为多少?4.某10kV用电户,高压侧三相电能表计量收费,已知该户装配的电流互感器变比为30/5,电压互感器变比为10000/100。
求该户的计费总倍率为多少?5.一台容量为1000kV A的变压器,24h的有功用电量为15360kWh,功率因数为0.85。