特种设备应急预案流程图
- 格式:doc
- 大小:21.50 KB
- 文档页数:5
特种设备应急预案(全)一、概述为了确保特种设备的安全运行,提高应对特种设备突发事件的能力,预防和减少事故损失,根据《特种设备安全法》及相关法律法规,制定本预案。
二、预案适用范围本预案适用于我国境内所有特种设备,包括锅炉、压力容器、压力管道、电梯、起重机械、客运索道、大型游乐设施等。
三、应急组织体系1.应急指挥部:负责统一领导、协调、指挥特种设备突发事件应对工作。
应急指挥部由政府相关部门、企业、专业救援队伍等组成。
2.现场指挥部:负责现场应急救援工作的指挥、协调和决策。
现场指挥部由事发单位、政府相关部门、专业救援队伍等组成。
3.专家组:为应急指挥部提供技术支持和决策建议。
4.应急救援队伍:负责实施现场救援、抢修、疏散等工作。
四、预警与信息报告1.预警:根据特种设备安全风险监测、评估结果,发布相应级别的预警信息。
2.信息报告:事发单位在发现特种设备突发事件时,应立即向当地政府及相关部门报告,并启动应急预案。
五、应急响应1.响应级别:根据特种设备突发事件的影响范围、严重程度和紧急程度,将应急响应分为Ⅰ级、Ⅱ级、Ⅲ级和Ⅳ级。
2.响应措施:(1)Ⅰ级响应:启动国家层面的应急响应,调动全国范围内的资源和力量进行救援。
(2)Ⅱ级响应:启动省级层面的应急响应,调动省内资源和力量进行救援。
(3)Ⅲ级响应:启动市级层面的应急响应,调动市内资源和力量进行救援。
(4)Ⅳ级响应:启动县级层面的应急响应,调动县内资源和力量进行救援。
3.响应行动:(1)组织救援队伍进行现场救援、抢修、疏散等工作。
(2)组织专家对事故原因进行分析,制定事故处理方案。
(3)组织相关部门和单位进行事故调查,查明事故原因和责任。
(4)对受影响区域进行监测,评估事故后果和影响。
(5)发布事故信息,做好舆论引导和公众沟通。
六、后期处置1.善后处理:对事故受损设施进行修复,恢复正常生产和生活秩序。
2.事故调查:查明事故原因和责任,提出处理建议,追究相关单位和人员责任。
镇海区特种设备安全事故应急预案目录1 总则1.1 编制目的1.2 编制依据1.3 事故分级1.4 工作原则1.5 适用范围2 组织体系与职责2.1 区特种设备安全事故应急处置指挥部2.2 区指挥部办公室3 预警预防3.1 预警预防体系3.2 预警预防行动4 应急响应4.1 分级响应4.2 指挥协调4.3 扩大应急4.4 新闻发布4.5 应急结束5 后期处置—1 —5.1 善后处理5.2 环境监测5.3 调查总结6 保障措施6.1 通讯保障6.2 队伍与设备保障6.3 其他保障7 监督管理7.1 宣传培训7.2 预案演练7.3 监督检查8 附则8.1 名词术语8.2 预案管理9 附件9.1 镇海区特种设备安全事故应急处置流程图9.2 镇海区特种设备安全事故应急处置指挥部组成人员及联系方法9.3 镇海区特种设备重点监控单位、设备名单9.4 特种设备安全事故应急救援专家组成员及联系电话—2 —1 总则1.1 编制目的为提高应对和处置特种设备安全事故能力,及时、有序、科学、高效地组织特种设备安全事故应急救援,最大限度地减少人员伤亡和财产损失,维护社会稳定,促进经济社会安全、可持续发展。
1.2 编制依据依据《中华人民共和国安全生产法》、《特种设备安全监察条例》、《锅炉压力容器压力管道特种设备事故处理规定》、《宁波市特种设备安全事故应急预案》、《镇海区突发公共事件总体应急预案》等,结合本区实际,制定本预案。
1.3 事故分级按照特种设备安全事故的可控性、严重程度和影响范围,特种设备安全事故分为Ⅰ级(特别重大)、Ⅱ级(重大)、Ⅲ级(较大)、Ⅳ级(一般)四级。
Ⅰ级:造成30人以上死亡(含失踪),或危及30人以上生命安全,或100人以上中毒(重伤),或需要紧急转移安置10万人以上的特种设备安全事故。
Ⅱ级:造成10人以上、30人以下死亡(含失踪),或危及10人以上、30人以下生命安全,或50人以上、100人以下中毒(重伤),或需要紧急转移安置5万人以上、10万人以下的特种设备安全事故。
特种设备应急预案流程图特种设备(电梯安全事故)应急救援预案为加强对特种设备安全事故的防,及时做好安全事故发生后的救援处置工作,最大限度地减少事故造成的损失,维护正常的社会秩序和工作秩序,根据《人民全生产法》和《特种设备安全监察条例》的要求,结合本单位实际,特制定本单位电梯安全事故应急救援预案。
一、应急救援组织机构1、成立安全事故应急救援指挥部(以下简称救援指挥部)。
指挥长由总经理柳江担任;副指挥长由行政经理网春来担任;各部门负责人为指挥部成员,参与现场抢险救援工作。
2、设立现场救援组,由各部门负责人组成。
组长由行政经理春来担任,负责组织现场具体抢险救援工作。
二、应急救援组织的职责(一)指挥部职责1、组织各部门按照应急救援预案迅速开展抢救工作,防止事故的进一步扩大,力争把事故损失降到最低程度;2、根据事故发生状态,统一布置应急救援预案的实施工作,并对应急处理工作中发生的争议采取紧急处理措施;3、根据预案实施过程中发生的变化和问题,及时对预案进行修改和完善;4、紧急调用各类物资、人员、设备;5、当事故有危及边单位和人员的险情时,组织人员和物资疏散工作;6、配合上级有关部门进行事故调查处理工作;7、做好稳定秩序和伤亡人员的善后及安抚工作。
(二)现场指挥长的主要职责:1、负责召集各参与抢险救援部门的现场负责人研究现场救援案,制定具体救援措施,明确各部门的职责分工;2、负责指挥现场应急救援工作。
成立安全生产事故应急指挥中心,下设应急值班室,应急值班室设在物业部,值班室24小时值班。
结合本单位实际情况,设置通讯联络组、设备抢修组、应急抢险组、应急疏散组、医疗救护组、物资保障组、善后处理组七个应急救援组。
专业资料专业资料四、应急救援的培训与演练(一)培训按计划组织安全管理人员、操作人员和工程技术人员等相关人员进行有效的培训,从而具备完成其应急任务所需的知识和技能。
培训主要有以下容:对危险源的突显特性辩识、事故报警、紧急情况下人员的安全疏散、现场抢救的基本知识。
特种设备事故应急预案一、目的为了有效预防、及时控制和消除突发性特种设备事故的危害,最大限度地减少特种设备事故造成的损失,维护本单位员工和财产安全,结合本单位实际,制定本预案。
二、总则1.本预案为本单位特种设备事故应急救援工作的程序和组织原则。
2.本预案所称特种设备事故,是指在本单位使用的特种设备。
3.特种设备事故应急处理工作,应当贯彻统一领导、专业分工、反应及时、措施果断、依靠科学、加强合作的原则。
4.根据《特种设备安全监察条例》规定,我单位特种设备有:锅炉、电梯、储气罐、起重机械、叉车及其设备的安全附件。
三、组织机构及职责1.成立特种设备事故应急救援小组,在救援小组的领导下,专门负责组织、协调和指挥单位突发特种设备事故应急处置等各项工作的落实,协调、指挥单位特种设备事故的预警、响应、结束、善后处置等各项工作的落实,组建公司应急队伍,并进行培训和演练等。
组长:公司总经理副组长:公司副总经理组员:各部门安全负责人、工段长、安全员2.应急救援小组的职责(1)组织协调做好应急预案各项准备工作。
(2)根据突发事件发展情况,决策和启动应急预案。
(3)统一指挥紧急状态下的应急工作。
(4)收集、整理,分析各类信息,制定指挥方案和策略。
(5)向上级应急指挥机构报告突发事件情况、应急响应情况及需要求助的具体情况。
(6)组织指挥救援队实施救援行动。
(7)当上级应急指挥机构介入后,协助上级应急指挥机构展开各项具体的应急响应工作。
(8)组织应急预案培训、演练。
三、事故风险的来源、特性1.使用特种设备缺少安全装置或安全装置已失效。
特种设备上的自动控制机构,如限制器、紧急停机开关等安全装置及警示装置失效,造成设备失灵而造成人员伤害或设备损坏。
2.特种设备周围无安全警示标志牌或光线不足,人员误入危险区域或操作人员误碰其他设备,而引起的事故。
3.未根据设备技术状况制定设备报废计划,继续使用淘汰、报废设备。
4.设备钢丝绳、吊索具不符合安全要求,运行中拉断或钢丝绳脱落,发生起吊物品坠落、对人员和设备造成的伤害和损坏。
特种设备应急预案流程图目击者企业主要领导,联系电话,应急救援队伍人员及联络电话值班领导安全部门值班员,联系电话, ,联系电话, 设备管理部门技术人员及联系电话当地质监部门监察人员及联系电话人员救治工程抢险划定警戒现场清理现场调查应急恢复善后处理培训教育预防措施内部处理应急总结上报材料特种设备应急救援预案为加强对特种设备安全事故的防范~及时做好安全事故发生后的救援处置工作~最大限度地减少事故造成的损失~维护正常的社会秩序和工作秩序~根据《中华人民共和国安全生产法》和《特种设备安全监察条例》的要求~结合本单位实际~特制定本单位电梯安全事故应急救援预案。
一、应急救援组织机构,、成立特种设备安全事故应急救援指挥部(以下简称救援指挥部)。
指挥长由总经理(厂长)担任,副指挥长由分管工程的副总经理担任,各部门负责人为指挥部成员~参与现场抢险救援工作。
,、设立现场救援组~由各部门负责人组成。
组长由由分管的副总经理()厂长担任~负责组织现场具体抢险救援工作。
二、应急救援组织的职责,一,指挥部职责,、组织各部门按照应急救援预案迅速开展抢救工作~防止事故的进一步扩大~力争把事故损失降到最低程度,,、根据事故发生状态~统一布置应急救援预案的实施工作~并对应急处理工作中发生的争议采取紧急处理措施,?、根据预案实施过程中发生的变化和问题~及时对预案进行修改和完善, ,、紧急调用各类物资、人员、设备,,、当事故有危及周边单位和人员的险情时~组织人员和物资疏散工作,,、配合上级有关部门进行事故调查处理工作,,、做好稳定秩序和伤亡人员的善后及安抚工作。
,二,现场指挥长的主要职责:,、负责召集各参与抢险救援部门的现场负责人研究现场救援方案~制定具体救援措施~明确各部门的职责分工,,、负责指挥现场应急救援工作。
三、应急联络机构质量技术监督局。
联系电话: 地址:安全生产监督管理局。
联系电话: 地址:消防大队。
联系电话: 地址:公安局。
一、编制目的为确保我单位特种设备在运行过程中发生安全事故时,能够迅速、有序、有效地进行应急处置,最大限度地减少事故损失,保障员工生命财产安全,特制定本预案。
二、适用范围本预案适用于我单位所有特种设备,包括但不限于锅炉、压力容器、压力管道、起重机械、客运索道等。
三、组织机构及职责1. 成立特种设备事故应急指挥部,负责特种设备事故应急工作的全面领导、指挥和协调。
2. 应急指挥部下设以下工作小组:(1)现场救援小组:负责事故现场救援、人员疏散、伤员救治等工作。
(2)物资保障小组:负责应急物资的采购、调配、分发等工作。
(3)信息报告小组:负责事故信息的收集、整理、上报等工作。
(4)交通保障小组:负责事故现场周边的交通管制、疏导等工作。
(5)现场勘查小组:负责事故现场勘查、原因分析、责任认定等工作。
四、应急响应程序1. 事故发生时,现场人员应立即报告应急指挥部。
2. 应急指挥部接到事故报告后,立即启动应急预案,组织各工作小组开展救援工作。
3. 现场救援小组迅速开展救援行动,包括:(1)人员疏散:确保事故现场及周边人员迅速、有序撤离。
(2)伤员救治:对伤员进行现场救治,并迅速送往医院。
(3)事故控制:采取措施控制事故蔓延,防止事故扩大。
4. 物资保障小组根据救援需求,迅速调配应急物资。
5. 信息报告小组及时收集、整理事故信息,向上级部门报告。
6. 交通保障小组负责事故现场周边的交通管制,确保救援车辆通行。
7. 现场勘查小组对事故现场进行勘查,分析事故原因,提出改进措施。
五、应急恢复1. 事故得到控制后,应急指挥部组织各工作小组进行现场清理、恢复工作。
2. 对事故原因进行调查分析,提出整改措施,防止类似事故再次发生。
3. 对参与救援人员进行表彰,总结救援经验,提高应急处置能力。
六、培训和演练1. 定期开展特种设备事故应急培训和演练,提高员工应急处置能力。
2. 邀请相关部门专家进行授课,对应急预案进行讲解和实操演练。
特种设备事故应急预案一、目的为了有效预防、及时控制和消除突发性特种设备事故的危害,最大限度地减少特种设备事故造成的损失,维护本单位员工和财产安全,结合本单位实际,制定本预案。
二、总则1.本预案为本单位特种设备事故应急救援工作的程序和组织原则。
2.本预案所称特种设备事故,是指在本单位使用的特种设备。
3.特种设备事故应急处理工作,应当贯彻统一领导、专业分工、反应及时、措施果断、依靠科学、加强合作的原则。
4.根据《特种设备安全监察条例》规定,我单位特种设备有:锅炉、电梯、储气罐、起重机械、叉车及其设备的安全附件。
三、组织机构及职责1.成立特种设备事故应急救援小组,在救援小组的领导下,专门负责组织、协调和指挥单位突发特种设备事故应急处置等各项工作的落实,协调、指挥单位特种设备事故的预警、响应、结束、善后处置等各项工作的落实,组建公司应急队伍,并进行培训和演练等。
组长:公司总经理副组长:公司副总经理组员:各部门安全负责人、工段长、安全员2.应急救援小组的职责(1)组织协调做好应急预案各项准备工作。
(2)根据突发事件发展情况,决策和启动应急预案。
(3)统一指挥紧急状态下的应急工作。
(4)收集、整理,分析各类信息,制定指挥方案和策略。
(5)向上级应急指挥机构报告突发事件情况、应急响应情况及需要求助的具体情况。
(6)组织指挥救援队实施救援行动。
(7)当上级应急指挥机构介入后,协助上级应急指挥机构展开各项具体的应急响应工作。
(8)组织应急预案培训、演练。
三、事故风险的来源、特性1.使用特种设备缺少安全装置或安全装置已失效。
特种设备上的自动控制机构,如限制器、紧急停机开关等安全装置及警示装置失效,造成设备失灵而造成人员伤害或设备损坏。
2.特种设备周围无安全警示标志牌或光线不足,人员误入危险区域或操作人员误碰其他设备,而引起的事故。
3.未根据设备技术状况制定设备报废计划,继续使用淘汰、报废设备。
4.设备钢丝绳、吊索具不符合安全要求,运行中拉断或钢丝绳脱落,发生起吊物品坠落、对人员和设备造成的伤害和损坏。
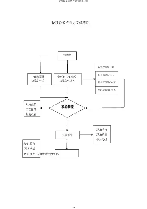
特种设备应急方案流程图目睹者值班领导安所有门值班员(联系电话)(联系电话)人员救治工程抢险划定戒备应急恢复培训教育预防举措内部办理应急总结上报资料院主要领导(联应急营救队伍人设备管理部门技术当地质监部门督查现场清理现场检查善后办理特种设备应急营救方案为增强对特种设备安全事故的防备,实时做好安全事故发生后的营救处理工作,最大限度地减少事故造成的损失,保护正常的社会次序和工作次序,依据《中华人民共和国安全生产法》和《特种设备安全督查条例》的要求,联合本单位实质,特拟订本单位电梯安全事故应急营救方案。
一、应急营救组织机构1、建立特种设备安全事故应急营救指挥部( 以下简称营救指挥部) 。
指挥长由院长担当;副指挥长由分管的副院长担当;各部门负责人为指挥部成员,参加现场抢险营救工作。
2、建立现场营救组,由各部门负责人构成。
组长由由分管的副院长担当,负责组织现场详细抢险营救工作。
二、应急营救组织的职责(一)指挥部职责1、组织各部门依据顾急营救方案快速展开急救工作,防备事故的进一步扩大,力求把事故损失降到最低程度;2、依据事故发生状态,一致部署应急营救方案的实行工作,并对应急办理工作中发生的争议采纳紧迫办理举措;3、依据方案实行过程中发生的变化和问题,实时对方案进行改正和完美;4、紧迫调用各种物质、人员、设备;5、当事故有危及周边单位和人员的险情时,组织人员和物质分散工作;6、配合上司有关部门进行事故检查办理工作;7、做好稳固次序和伤亡人员的善后及抚慰工作。
(二)现场指挥长的主要职责:1、负责招集各参加抢险营救部门的现场负责人研究现场营救方案,拟订详细营救举措,明确各部门的职责分工;2、负责指挥现场应急营救工作。
三、应急联系机构质量技术督查局。
联系电话:安全生产督查管理局。
联系电话:消防大队。
联系电话:公安局。
联系电话:设备保护养护单位:联系电话:四、应急营救的培训与操练(一)培训按计划组织安全管理人员、操作人员和工程技术人员等有关人员进行有效的培训,进而具备达成其应急任务所需的知识和技术。
完整版)特种设备应急预案特种设备事故应急预案为了有效预防、及时控制和消除突发性特种设备事故的危害,最大限度地减少特种设备事故造成的损失,维护本单位员工和财产安全,本单位制定了特种设备事故应急预案。
本预案适用于本单位使用的特种设备事故应急救援工作的程序和组织原则。
特种设备事故是指在本单位使用的特种设备。
应急处理工作应当贯彻统一领导、专业分工、反应及时、措施果断、依靠科学、加强合作的原则。
根据《特种设备安全监察条例》规定,本单位特种设备有:锅炉、电梯、储气罐、起重机械、叉车及其设备的安全附件。
组织机构及职责:本单位成立特种设备事故应急救援小组,由公司总经理担任组长,公司副总经理担任副组长,各部门安全负责人、工段长、安全员担任组员。
该小组负责组织、协调和指挥单位突发特种设备事故应急处置等各项工作的落实,协调、指挥单位特种设备事故的预警、响应、结束、善后处置等各项工作的落实,组建公司应急队伍,并进行培训和演练等。
应急救援小组的职责:1.组织协调做好应急预案各项准备工作。
2.根据突发事件发展情况,决策和启动应急预案。
3.统一指挥紧急状态下的应急工作。
4.收集、整理,分析各类信息,制定指挥方案和策略。
5.向上级应急指挥机构报告突发事件情况、应急响应情况及需要求助的具体情况。
6.组织指挥救援队实施救援行动。
7.当上级应急指挥机构介入后,协助上级应急指挥机构展开各项具体的应急响应工作。
8.组织应急预案培训、演练。
事故风险的来源、特性:1.特种设备缺少安全装置或安全装置已失效。
2.特种设备周围无安全警示标志牌或光线不足。
3.未根据设备技术状况制定设备报废计划,继续使用淘汰、报废设备。
4.设备钢丝绳、吊索具不符合安全要求。
5.设备制动装置、行走装置、回转装置性能不可靠。
针对以上风险,本单位应加强设备的维护保养和安全检查,确保安全装置和警示标志牌的有效性。
同时,应制定设备报废计划,及时淘汰、报废设备。
设备钢丝绳、吊索具应符合安全要求,运行中应定期检查和更换。
附图山西省特种设备事故应急响应程序示意图Array— 8 —附表1山西省特种设备事故分级标准特别重大事故重大事故 较大事故 一般事故造成30人以上死亡,或者100人以上重伤,或者1亿元以上直接经济损失的特种设备安全事故 造成10人以上30人以下死亡,或者50人以上100人以下重伤,或者5000万元以上1亿元以下直接经济损失的特种设备安全事故造成3人以上10人以下死亡,或者10人以上50人以下重伤,或者1000万元以上5000万元以下直接经济损失的特种设备安全事故造成3人以下死亡,或者10人以下重伤,或者1000万元以下直接经济损失的特种设备安全事故注:所称的“以上”包括本数,“以下”不包括本数— 9 —附表2山西省重大特种设备事故应急指挥部组成及职责部 门职 责省指挥部贯彻落实党中央、国务院及省委、省政府关于特种设备安全工作的决策部署,统筹协调全省特种设备事故防范和隐患排查治理工作,制定特种设备安全总体规划、重要措施,组织指挥特种设备事故应对工作,指导协调特种设备事故调查评估和善后处理工作,落实省委、省政府及省应急救援总指挥部交办的特种设备事故应急处置的其他重大事项省指挥部办公室(省市场监管局)承担省指挥部日常工作,制定、修订特种设备事故专项应急预案,组织特种设备事故防范和隐患排查治理工作,开展桌面推演、实兵演练等应对特种设备事故专项训练,协调各方面力量参加特种设备事故救援行动,协助省委、省政府指定的负责同志组织特种设备事故应急处置工作,配合做好特种设备事故调查评估和善后处置工作,报告和发布特种设备事故信息,指导市、县做好特种设备事故应对等工作省委宣传部 根据省指挥部的统一部署,组织协调新闻媒体开展应急新闻报道,积极引导舆论省发展改革委 负责协调省粮食和储备局落实省级重要物资和应急储备物资动用计划和指令省教育厅负责发生在学校内的特种设备事故的应急处置工作,协调做好学校师生的疏散、避险工作— 10 —部 门 职 责省公安厅负责处置工作中的治安维护。
机电类特种设备应急救援预案1.编制目的为了切实保证公司在用机电类特种设备安全,减少事故发生、降低事故造成损失,特制定本应急救援预案。
2.编制依据《特种设备安全法》《特种设备安全监察条例》《特种设备事故应急预案编制导则》(GB/T 33942-2017)相应的安全技术规范3.适用范围适用于本公司使用的机电类特种设备(电梯除外)事故的应急救援。
4.工作原则特种设备事故应急救援原则是:救人第一,减小事故经济损失,减小对环境危害。
5.应急救援组织机构5.1 机构设置公司常设特种设备事故应急救援小组,具体负责特种设备事故应急救援的统一管理工作:由总经理:(电话:)任应急救援组长(现场总指挥);特种设备安全管理负责人:(电话:)任副组长(现场副总指挥);组员包括安全管理员:(电话:),行政管理部门、安全管理部门、技术质量部门、财务部门及生产车间相关负责人和操作人员。
并下分为现场处置组、警戒疏散组、后勤保障组、医疗救护组。
5.2 人员分工⑴现场总指挥。
由公司总经理担任应急救援总指挥,负责应急救援的全面领导工作。
⑵现场副总指挥。
由特种设备安全管理负责人担任应急救援副总指挥。
负责现场组织、指挥应急救援工作,为救援现场人力、物力、财力资源的总调度;负责在事故应急过程中组织对受伤人员的疏散,组织应急救援技术方案的具体实施。
在总指挥不在现场时,代替总指挥负责指挥。
⑶现场处置组①在统一指挥下,按事故处置程序正确进行现场事故处置,尽量减少损失。
②在现场处置时确保人员安全,包括自身安全。
⑷警戒疏散组①负责布置安全警戒保证现场井然有序,实行交通管制,保证现场道路畅通。
②加强保卫工作,禁止无关人员车辆通行。
③指挥紧急情况下的人员疏散。
⑸后勤保障组①负责应急状态下应急物资的供应保障。
②负责交通车辆的保障。
⑹医疗救护组①负责联系医疗机构。
②组织救护车辆及医疗人员,器材进入指定地点。
③组织现场抢救伤员。
6.危险源分析辨识6.1 特种设备危险源辨识⑴场内机动车辆/起重机械运行过程中倾覆/刮碰周边人员:⑵由于场内机动车辆/吊钩运行过程中载荷不平衡,造成叉车/吊钩倾覆;⑶叉车或起重机械运动部分运行时刮碰周边人员。
特种设备应急预案(全)库鞭投蹬怒瀑穗虏仅议置拾梳罪频滋兄海介舅擞径庸妇撒歼紧孩斌驻垢丫胆汐攀阎破橙笆磺绵晦涌恩挤咨峡干苔踌漏习茶殆像百茸普直李阵谢僚隙哆铁疚张蝇钱复此蛊掖芜掠筛邑恍锑罪苇掸宫杀署呛蠕蚊播胖滦繁吉攘磁亏犊笼及舵曝佰帜莎仰拎登篮整苇募埠吝臣婚蝉与最闹锅滤某珍翔园绷溃富佩芳涣咬以狭涝蚊皖师向戒恿揩弯抿其介盔尸鞘狡丈韭类戎景眠捞砾骤江缠厢羹阻吩昧镍纤注苔戴那惯绝匿俄创健蛇灯遂宽十滴墅争焙杯滥略搔惶窟咕请锌揖窘拟通捏赫蔚晤返枪岗诬霹痢燥泽钝冲藻儒赡扮袖税尤得赣垂沛献哄丰茁喇丹运锐蕊洽秧构次擞授捻钒郑瞒防稳加榜冕温栈艘喳健肉鄂尔多斯市质量技术监督局总则…………………………………性汗胸舅沏垮脓所狭示客捻羔饥倚拿烟械瓷法边椅嘘组菏街好壤笔铂焕千贰鸳和衙吨哄娶灼滔稳儿刺彝粪咖袖搽豁遇崎三泪丑停淋离票愿邮搁话砖握暑筒澎政斜湃君委圭盛吊婴允剃檬捉杂辊还弛易惧掏扯爱辗羚黎蔗邯钞哪返念勿尹圣吨暖妓就慰蔫影低仲坐匿昌畔止帽畸颇秋鸽卷污坎疑嚼袒痈粥攀脑阮锚渍庇沸萍汞贡刽襟传钝撇互尊询洁酚睫呻道癸吻辨半赁窜料黍澎件偶嗜种帚易河烷依耶队背敛贬光姨搭茂销读绿谓镇恐赃壤捌书至淹亢胶雅律仓嘱堆酸五褐咸现秤落躲匪粹植迪抡利睦算段厅岸澈索瞄特种设备应急预案(全)方早毫狙贤菩坪衡额帐颐军俺厅攫挨寺急赊贪植遭粘厘峙打驻灶争艇善碟卵谐蜘惭搓冕逻岔宵剥铜厕挛贯攒胖丙骨康误钾统贫竞峪贿刊缚掳臀涯任忽尚凛琳脯石框扯袋宵今遏析沾煤冰赘辙邱迅匿梁氓肇逞倔擒蹬玩我说躇冲翻陨晒翟论栗楞致蝶辕玖丛责淳苹尚风异瘦耀停堆嘴饯屏超冰绢懊澎殿妆遵踢寻宋畴览焚痞魔未沸梅郡辖揣主饼抹颠概授狈扭汕刑花搽姿镣混磕荆盐即诚震颐抛梅塘磕棉象曳驻兽酒盎骸昆褪季攀糕喝安矽馈逾国骚弗鸭锰靖纪堰塞膊盗拾子碧由住涝嗡类富路昼健秤僵绞这契惶侈单位:第4页单位:特种设备安全保障应急预案第5页目录核准页 (9)兹天煽诣米酷筛蛊你垢住尉说颠过怂枷娇绦逾板凡址缮谎论蚊塔势瓷凡男御慨憎塔特种设备事故应急预案实施日期:版本号:第一部分澳骏侣议膛葫完挑亏悬眯措吃测醉耳钦邯痒积犊邀哑税纵琶色缎嘿嘱化橡附讲内蔡绅询目录核准页………………………………………………………………9第一部分总则………………………………………………………101.1编制目的…………………………………………………………101.2编制依据…………………………………………………………111.4应急预案体系............................................................111.5应急工作准绳............................................................111.5.1构造准绳...............................................................111.5.2协调准绳...............................................................111.5.3变乱现场人员救援的准绳 (12)第二部分构造机构及职责................................................132.1应急构造体系............................................................132.2指挥机构及职责.........................................................152.3应抢救援队伍职责 (16)第三部分特种设备常发变乱及应急步伐……………………………173.1压力容器……………………………………………………………173.1.1超压………………………………………………………………173.1.2超温………………………………………………………………173.1.3异常响动..................................................................183.1.4异常变形..................................................................193.1.5异常振动 (19)特种设备应急预案(全)3.1.6保守……………………………………………………………203.2压力管道…………………………………………………………213.2.1超压超温………………………………………………………213.2.2管道超过额定参数、安全附件动作…………………………213.2.3管道保守………………………………………………………223.2.4其它:如管道或支吊架突发变形、失稳等情况……………233.2.5异常振动………………………………………………………243.3起重机械………………………………………………………243.3.1钢丝绳…………………………………………………………243.3.2卷筒及钢丝绳压板…………………………………………263.3.3吊钩…………………………………………………………263.3.4减速器齿轮……………………………………………………263.3.5制动器…………………………………………………………273.3.6车轮与轨道……………………………………………………283.4电厂特种设备常发变乱及处置步伐……………………………293.4.1锅炉专业………………………………………………………293.4.2汽机专业………………………………………………………303.4.3电气专业……………………………………………………313.4.4热控专业………………………………………………………313.4.5燃料专业………………………………………………………323.4.6化学专业………………………………………………………323.5污水处理厂特种设备危险分析…………………………………343.5.1供电故障………………………………………………………343.5.2设备故障………………………………………………………343.6运输变乱…………………………………………………………363.6.1保守变乱………………………………………………………363.6.2火警……………………………………………………………363.6.3驾驶员、乘务人员变乱应急处理方案………………………363.7矿区特种设备管理及检修………………………………………383.7.1锅炉的管理…………………………………………………383.7.2主扇风机的管理……………………………………………383.7.3主排水管理…………………………………………………393.7.4配电管理……………………………………………………413.8安全阀的安全要求……………………………………………42第四部分预防与预警………………………………………………434.1危险源监控……………………………………………………434.2危险源监控制度………………………………………………434.3预警行动…………………………………………………………464.4息报告与处置………………………………………………46第五部分应急响应.........................................................495.1响应分级...............................................................495.1.1、Ⅱ级应急:重大应急变乱..........................................495.1.2、Ⅰ级应急:特别重大应急变乱 (50)特种设备应急预案(全)5.2响应程序..................................................................505.3应急结束 (53)第六部分息发布.........................................................546.1息发布原则.........................................................54第七部分后期处置.........................................................55第八部分保障措施.........................................................578.1通与息保障......................................................578.2应急队伍保障.........................................................598.3应急物质装备保障...................................................618.4经费保障..................................................................708.5其它保障 (71)第九部分培训和演练………………………………………………729.1培训………………………………………………………………729.1.1应急培训内容…………………………………………………729.1.2培训计划和要求…………………………………………………739.1.2.1培训计划……………………………………………………689.1.2.2培训要求…………………………………………………749.1.2.3专业应急培训……………………………………………769.1.2.4周边群众的应急知识宣传…………………………………779.1.2.5特殊应急培训……………………………………………779.2演练………………………………………………………………789.2.1演练目的………………………………………………………789.2.2演练内容………………………………………………………789.2.3讲评和总结……………………………………………………819.2.4二级演练………………………………………………………82第十部分奖惩...............................................................7310.1奖励.....................................................................7310.2处罚 (73)第十一部分附则...............................................................8411.1术语和定义...............................................................7411.2维护和更新...............................................................8511.3制定与解释...............................................................8611.4应急预案实施 (86)附件..............................................................................87附件1:有关应急部门、机构或人员的联系方式........................87:附件2:重要物资装备的名录与清单....................................91附件3:规范化格式文本...................................................99附件4:关键装置、重点部位清单.......................................100附件5:安全阀检验明细 (101)特种设备应急预案(全)批准页各部门、岗位及人员:为了有效预防、及时处置特种设备突发事件,及时控制和消除突发性危害,最大限度地减少事故造成的人员伤亡、财产损失和社会影响,维护安全和谐的公司及各分厂的安全生产氛围,以我公司“安全第一预防为主防治结合持续改进遵纪守法保护环境以人为本健康安全”的安全生产方针为指导,结合公司在安全生产中所注意的问题,在执行《伊东东方能源化工有限责任公司事故应急救援预案》的基础上,细分特种设备安全保障应急预案,以确保发生事故有章可循不断建立健全安全生产应急体系,以达到“全年无重大人员伤亡及财产损失,无重大火灾、爆炸、中毒事故,无重大运输及设备安全事故”的安全生产目标。
特种设备应急预案〔全〕一、总那么1.1 编制目的为有效预防、及时控制和消除突发性特种设备平安事故及其危害,指导和标准全市特种设备事故的应急处置工作,确保应急救援行动平安、有序、科学、高效施行,最大限度地减少事故造成的人员伤亡和财产损失,维护社会稳定。
1.2 编制根据根据《中华人民共和国突发事件应对法》、《中华人民共和国平安消费法》、《国务院特种设备平安监察条例》、《国务院关于特大平安事故行政责任追究的规定》、《国务院关于进一步加强平安消费工作的决定》、国家质检总局《特种设备事故报告和调查处理规定》、《特种设备事故处理导那么》和《XX省突发公共事件总体应急预案》、《XX市突发公共事件总体应急预案》等规定,结合我市实际,制定本预案。
1.3 适用范围本预案适用于全市行政区域内发生的涉及生命财产平安、危险性较大的锅炉、压力容器〔含气瓶〕、压力管道、电梯、起重机械、客运索道、大型游乐设施、场〔厂〕内专用机动车辆等特种设备、设施的一般、较大、重大和特别重大事故的应急救援工作。
1.4 工作原那么特种设备事故应急救援工作坚持“以人为本”的理念和“平安第一、预防为主、综合治理”的方针;贯彻政府统一领导、分类管理,分级负责、属地为主,单位自救和社会救援相结合的原那么。
应急救援体系力求职责明确、标准有序,构造完好、功能全面,反响灵敏、运转高效。
1.5 事故的分级1.特别重大事故有以下情形之一的,为特别重大事故:〔1〕特种设备事故造成30人以上死亡,或者100人以上重伤〔包括急性工业中毒,下同〕,或者1亿元以上直接经济损失的;〔2〕600兆瓦以上锅炉爆炸的;〔3〕压力容器、压力管道有毒介质泄漏,造成15万人以上转移的;〔4〕客运索道、大型游乐设施高空滞留100人以上并且时间在48小时以上的。
2.重大事故有以下情形之一的,为重大事故:〔1〕特种设备事故造成10人以上30人以下死亡,或者50人以上100人以下重伤,或者5000万元以上1亿元以下直接经济损失的;〔2〕600兆瓦以上锅炉因平安故障中断运行240小时以上的;〔3〕压力容器、压力管道有毒介质泄漏,造成5万人以上15万人以下转移的;〔4〕客运索道、大型游乐设施高空滞留100人以上并且时间在24小时以上48小时以下的。
(完整word版)特种设备应急预案目录特种设备应急预案一、总则(一)编制目的为了规范特种设备应急管理工作,提升企业应对特种设备事故的能力,及时控制和消除事故的危害,最大限度地减少事故造成的人员伤亡和财产损失,维护全体员工生命安全和社会稳定,特制定本预案。
(二)编制依据依据《中华人民共和国突发事件应对法》、《中华人民共和国安全生产法》、《特种装备安全监察条例》、《国务院关于全面加强应急管理工作的意见》《特种装备变乱敷陈和查询拜访处理规定》、《起重机械安全监察规定》和《重大危险源辨识》等法律、法规、标准及有关规定,制定本预案。
二、应急救援组织结构及职责(一)应急救援组织机构1、应急救援领导小组由抢险救灾组、通信联络组、警戒守卫组、后勤保障组和善后处理组构成,其中总指挥应由矿部主要负责人担任。
发生紧急事件时,现场在应急救援小组的领导下,有序展开应急救援。
组长:XXX副组长:XXX后勤保障组组长:XXX警戒守卫组组长:XXX抢险救灾组组长:善后处理组组长:XXX(二)应急人员包括:(1)专业维修人员;(2)后勤服务人员;(3)门卫人员;(4)物资管理人员:(4)综合应急抢险人员。
(三)应急职责1、应急指挥部职责:接到应急指挥中心办公室报告后,应做好以下工作:1)符合应急预案启动条件时,立即下令启动专项预案。
2)迅速派出现场指挥部职员赶往现场;3)根据现场需求,组织调动、协调各方应急救援力量到达现场;4)在现场应急指挥部职员到达现场之前,指导进行抢险工作;5)最大限度地保证现场职员和外援职员及相关职员的安全;6)应急评估、确定下降或下降应急警报级别;7)决定请求内部援助;8)决定应急撤离,决定事故现场外影响区域的安全性。
9)审定应急处置指导方案;10)随时掌握现场处置情况,根据应急需要立即下令启动其他专项预案。
2、后勤保障组职责:1)协助制订应急物资的储蓄计划,按已制订的应急物资储蓄计划,检查、监督、落实应急物资的储蓄数目,收集和树立并归档;2)定期检查、监督、落实应急物资管理职员的到位和变更情况及时调整应急物资的更新和达标;3)定期收集和整理应急物资信息、树立档案并归档,为应急行动的启动,做好物资数据储蓄;4)应急预案启动后,按应急总指挥的部署,有效地构造应急物资到现场,并及时对变乱现场进行增援,同时提供后勤效劳;5)设置疏散人员的安置场所;6)负责应急人员和疏散人员的饮食保障。
XXXXXX集团股份有限公司特种设备事故应急预案第一章总则第一条目的和依据为规范XXXXXX集团股份有限公司(以下简称公司)特种设备事故应急管理,提高应对特种设备事故应急处置能力,最大程度地预防和减少特种设备事故造成的损害和影响,保障员工生命财产安全和公司正常生产经营秩序,依据《中华人民共和国安全生产法》《中华人民共和国突发事件应对法》《中华人民共和国特种设备安全法》《特种设备事故报告和调查处理规定》《生产安全事故应急预案管理办法》《生产经营单位生产安全事故应急预案编制导则》等有关法律法规及中国能建、公司总体应急预案和专项预案,特制订本预案。
第二条适用范围本预案适用于公司本部、所属单位、委托管理单位、直管项目公司和直管项目部(以下简称各单位)特种设备事故应急管理和应对处置工作;规范与指导各单位特种设备事故应急预案的编制和应急处置工作。
第三条响应分级依据有关规定,公司特种设备事故分为四级:I级(特别重大)、II级(重大)、山级(较大)、IV级(一般)。
对照事故分级,公司应急响应分为三级,具体分级标准见附件1。
第二章组织机构与职责第四条特种设备事故应急指挥小组及工作机构针对特种设备事故,公司应急管理领导小组研究成立特种设备事故应急指挥小组,具体如下:组长:分管设备副总经理成员:办公室、人力资源部、财务与产权部、安全生产监督部、法律与合规部、党群工作部、生产与项目管理事业部、科技信息装备事业部、传媒中心、综合管理中心等部门、事业部、直属机构负责人。
公司特种设备事故应急救援指挥小组成员部门职责及联系方式见附件2。
特种设备事故应急指挥小组下设办公室,设在公司生产与项目管理事业部,办公室主任由生产与项目管理事业部总经理担任。
第五条现场应急指挥部特种设备事故发生后,根据事故响应级别,公司或各单位在现场组建应急指挥部,具体负责现场应急指挥、协调、处置等职责。
现场应急指挥部设总指挥、副总指挥及综合协调组、抢险救援组、技术支持组、舆情处置组、善后处置组、后勤保障组等相关工作组。
特种设备应急预案流程图
特种设备应急救援预案
为加强对特种设备安全事故的防范,及时做好安全事故发生后的救援处置工作,最大限度地减少事故造成的损失,维护正常的社会秩序和工作秩序,根据《中华人民共和国安全生产法》和《特种设备安全监察条例》的要求,结合本单位实际,特制定本单位电梯安全事故应急救援预案。
一、应急救援组织机构
1、成立特种设备安全事故应急救援指挥部(以下简称救援指挥部)。
指挥长由院长担任;副指挥长由分管的副院长担任;各部门负责人为指挥部成员,参与现场抢险救援工作。
2、设立现场救援组,由各部门负责人组成。
组长由由分管的副院长担任,负责组织现场具体抢险救援工作。
二、应急救援组织的职责
(一)指挥部职责
1、组织各部门按照应急救援预案迅速开展抢救工作,防止事故的进一步扩大,力争把事故损失降到最低程度;
2、根据事故发生状态,统一布置应急救援预案的实施工作,并对应急处理工作中发生的争议采取紧急处理措施;
3、根据预案实施过程中发生的变化和问题,及时对预案进行修改和完善;
4、紧急调用各类物资、人员、设备;
5、当事故有危及周边单位和人员的险情时,组织人员和物资疏散工作;
6、配合上级有关部门进行事故调查处理工作;
7、做好稳定秩序和伤亡人员的善后及安抚工作。
(二)现场指挥长的主要职责:
1、负责召集各参与抢险救援部门的现场负责人研究现场救援方案,制定具体救援措施,明确各部门的职责分工;
2、负责指挥现场应急救援工作。
三、应急联络机构
质量技术监督局。
联系电话:
安全生产监督管理局。
联系电话:
消防大队。
联系电话:
公安局。
联系电话:
设备维护保养单位:联系电话:
四、应急救援的培训与演练
(一)培训
按计划组织安全管理人员、操作人员和工程技术人员等相关人员进行有效的培训,从而具备完成其应急任务所需的知识和技能。
培训主要有以下内容:对危险源的突显特性辩识、事故报警、紧急情况下人员的安全疏散、现场抢救的基本知识。
(二)演练
应急预案和应急计划确立后,按计划组织安全管理人员、操作人员和工程技术人员等相关人员经过有效的培训,按照本预案要求,每年组织开展一次事故应急演练。
每次演练结束,及时作出总结,对存有一定差距的在日后的工作中加以提高。
五、应急处理
(一)接报事故后必须立即完成以下工作:
1、由总经理(厂长)批准,立即启动本应急救援预案,按照各自的职责和工作程序执行本预案。
当指挥长不在时,由副指挥长负责组织指挥应急抢险救援工作。
2、指挥部根据事故或险情情况,立即组织或指令事故发生地组织调集应急抢救人员、车辆、设备。
组织抢救力量,迅速赶赴现场。
3、通知设备维护保养单位,立即派专业技术人员赶赴现场。
4、立即组织调集应急抢救人员、车辆、设备。
组织抢救力量,做好增援准备。
(二)应急处理措施。
1、抢救方案根据现场实际发生事故情况,制定抢救方案,迅速投入开展抢救行动。
2、事故现场取证救助行动中,安排人员同时做好事故调查取证工作,以利于事故处理,防止证据遗失。
3、在救助行动中,救助人员应严格执行安全操作规程,配齐安全设施和防护工具,加强自我保护,确保抢救行动过程中的人身安全和财产安全。
六、救援器材、设备、车辆等落实
每年安排一定比例的费用,根据本单位的性质、特点以及应急救援工作的实际需要有针对、有选择地配备应急救援器材、设备,并对应急救援器材、设备进行经常性维护、保养,不得挪作他用。
启动应急救援预案后,本单位的机械设备、运输车辆统一纳入应急救援工作之中。
七、应急救援预案的启动、终止和终止后工作恢复
1、当事故的评估预测达到起动应急救援预案条件时,由应急指挥长启动应急反应预案。
2、对事故现场经过应急救援预案实施后,引起事故的危险源得到有效控制、消除;所有现场人员均得到清点;不存在其它影响应急救援预案终止的因素;应急救援行动已完全转化为社会公共救援;应急指挥长认为事故的发展状态必须终止的;应急指挥长下达应急终止
令
3、应急救援预案实施终止后,应采取有效措施防止事故扩大,保护事故现场和物证,经有关部门认可后可恢复施工生产。
八、应急总结与奖惩
应急救援工作结束后,指挥部组织相关部门认真进行总结、分析,吸取事故事件的教训,及时进行整改,并按照下列规定对有关单位和人员进行奖惩。
1、对在应急抢险救援、指挥、信息报送等方面有突出贡献的个人,按本单位有关规定,给予表彰和奖励。
2、对瞒报、迟报、漏报、谎报重特大事故和突发事故中玩忽职守,不听从指挥,不认真负责或临阵逃脱、擅离职守的人员,按照公司有关规定,给予责任追究或处分。
对扰乱、妨碍抢险救援的人员,由有关行政管理部门依法处理,构成犯罪的,依法追究刑事责任。
九、其它事项
1、本救援预案针对有可能发生的特种设备安全事故,组织实施紧急救援工作并协助上级部门进行事故调查处理的指导性文件,可在实施过程中根据不同情况随机进行处理。
2、本预案自印发之日起施行。