人员招聘甄选与录用作业指导书
- 格式:doc
- 大小:63.50 KB
- 文档页数:8
人力招聘作业指导书一、概述人力招聘是组织中至关重要的环节,确保招聘程序的规范性和高效性,对于公司的发展意义重大。
本作业指导书旨在为人力招聘过程中的各项工作提供指导和规范,确保招聘流程的顺利进行。
二、招聘需求分析1. 确定招聘职位及数量根据各部门的工作需求,确定要招聘的职位及数量,并与相关部门进行确认,确保招聘需求的准确性和合理性。
2. 制定招聘岗位要求与各部门负责人沟通并分析招聘岗位的能力要求,明确所需的技能、经验和能力,为后续招聘策略的推行提供基础。
三、招聘渠道开发与策划1. 内外部招聘渠道的确定根据招聘职位的特点和需求,选择合适的内外部招聘渠道,例如招聘网站、校园招聘和社交媒体等。
2. 招聘渠道开发与维护定期评估和开发新的招聘渠道,保证渠道的低成本和高效率,并与相关渠道建立良好的合作关系,以确保招聘渠道的稳定性。
四、简历筛选与面试1. 简历筛选根据岗位要求和招聘渠道的特点,对收到的简历进行筛选,并与相关部门负责人沟通,以确定候选人。
2. 面试安排与候选人联系,确定面试时间和地点,并将面试相关细节告知候选人,确保面试过程的顺利进行。
3. 面试评估面试结束后,评估候选人的综合能力、专业技能及沟通表达能力等,与相关部门讨论并确定录用建议。
五、候选人评估与录用决策1. 材料审核对候选人提供的相关材料进行审核,确保材料的真实性和准确性。
2. 技术测试/考核针对特定职位,进行技术测试或考核,以验证候选人的实际能力。
3. 综合评估与录用决策结合面试评估和其他评估方式的结果,与相关部门一起进行综合评估,并做出录用决策,并将结果及时反馈候选人。
六、工作签约和入职安排1. 发送录用通知向被录用的候选人发送录用通知,并说明详细的工作条件、薪资待遇和福利政策等。
2. 工作合同签订与被录用人员进行工作合同的签订,确保合同条款的合法合规,以及保护公司和员工的权益。
3. 入职准备为新员工的入职做好相关准备工作,包括办公场所、工作工具和相关培训等。
人力资源招聘与选拔作业指导书一、背景介绍在当今竞争激烈的社会环境中,招聘与选拔成为企业发展中至关重要的环节。
本作业指导书旨在帮助人力资源管理人员以及招聘选拔团队进行高效、科学的招聘与选拔活动,以确保企业能够吸引并挑选到具备优秀能力与潜力的人才。
二、招聘与选拔流程1. 岗位分析1.1 确定岗位职责和要求1.2 制定岗位描述和人员规格2. 编制招聘计划2.1 确定招聘人数和时间节点2.2 制定招聘渠道和方式3. 候选人筛选3.1 筛选简历3.2 进行初步面试3.3 进行能力测试和心理评估4. 面试评估4.1 制定面试指标和评分标准4.2 进行行为面试4.3 进行结构化面试4.4 综合评估候选人5. 背景调查5.1 核实候选人提供的信息5.2 进行前雇主或推荐人咨询5.3 进行背景调查报告6. 最终选拔与录用6.1 综合评估候选人表现6.2 决定录用候选人6.3 发放录用通知书三、招聘与选拔方法1. 多渠道招聘通过多种渠道发布招聘信息,如招聘网站、校园招聘、内部推荐等,以扩大招聘范围,吸引更多合适的候选人。
2. 结构化面试通过事先设计好的问题和评分标准,对候选人进行一致化的面试评估,减少主观性评价的影响,提高面试的公正性和准确性。
3. 能力测试与心理评估使用科学的测试工具,对候选人的职业能力和心理特质进行评估,以了解其适应性和发展潜力。
4. 行为面试通过考察候选人过去的行为,来预测他们将来的行为表现,从而评估其是否适合岗位。
5. 背景调查对候选人提供的信息进行核实,联系其前任雇主或推荐人,了解其工作表现、品德品质等信息,以验证其真实性和合适性。
四、选拔后续1. 训练与发展为新员工提供必要的培训,帮助他们尽快适应岗位,提高工作能力和绩效水平。
2. 离职率与流失分析定期跟踪和分析员工的离职率与流失原因,及时采取措施减少人才流失,提高员工满意度和企业绩效。
3. 绩效管理建立科学的绩效管理体系,定期对员工进行绩效评估与反馈,及时发现和激励优秀人才,同时提供改进机会。
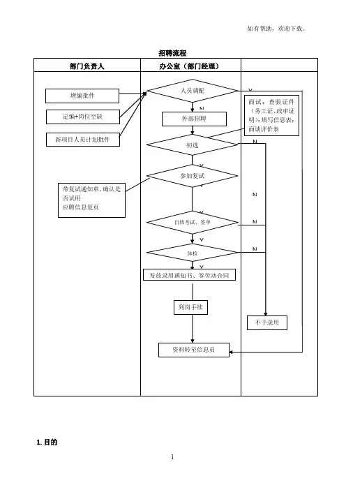
招聘流程1.目的依照公司岗位任职资格,有序地招募到符合公司各类岗位要求的人才,合理调配、使用人才,以适应公司经营管理及业务发展需要。
2.范围适用于各部门人员调配及内外部招聘,其中总经理助理以上人员招聘按照集团有关规定执行。
3.定义无4.职责5.方法及过程控制5.1招聘5.1.1招聘流程5.1.1.1办公室根据职位空缺情况与岗位任职要求决定在公司内部进行调配或组织内、外部招聘。
5.1.1.2办公室负责组织安排招聘工作,依招聘流程实施招聘工作。
5.1.1.3同等条件下优先录用公司内部应聘人员。
5.1.1.4办公室招聘专员负责核实拟录用人员各类证件的真实性及有效性。
并由招聘专员保留相关证件的复印件并做好入职手续办理,指导入职人员填写《应聘信息登记表》。
5.1.2人员资料5.1.2.1身份证复印件(须交验原件)5.1.2.2学历证书复印件(须交验原件)5.1.2.3体检合格表(公司指定医院)原件5.1.2.4特种作业人员上岗证复印件(须交验原件)5.1.2.5非天津市户籍应聘人员,应提供以下资料之一:A.户籍所在地派出所提供的无犯罪记录证明。
B.天津市户籍的担保人材料,包括担保人身份证复印件(须交验原件)、担保人正式工作单位开具的在职证明或天津市自有房产所在地的户籍证明(须交验原件),并留存家庭住址、邮政编码、办公或住宅电话及担保人当面亲笔签署的担保书。
5.1.2.6职员资料由公司人事信息管理员统一整理、保管。
5.1.3转正5.1.3.1试用期一般为一至三个月,最长不超过六个月。
5.1.3.2 试用期内职员由试用部门负责人安排工作,并对其工作情况进行考察。
具转正资格者由所在管理处人事管理员(本部及储备管理人员由招聘专员)发起填写《员工转正评估报告》,经相关人员审批后,由办公室办理转正手续。
其中:普通职员的转正由部门或管理处负责人审批,办公室复核;本部及主管级(含)以上职员转正由部门负责人审核,办公室复核后,分管领导审核及总经理审批。
人员招聘调配作业指导书1.目的规范招聘和员工内部调配流程,保障公司快速发展对人才的需求,合理做到人尽其才。
2.适用范围适用于公司各部门人力资源的招聘、调配。
3. 职责公司综合管理部负责主办以上管理人员的招聘和调配。
各分公司负责一般管理人员的招聘、调配,各物业客户服务中心负责作业层员工的招聘、调配。
4.方法及过程控制4.1招聘计划的编制4.1.1每年11月底前公司综合管理部完成下年度公司人力资源计划;4.1.2每月28日前各物业服务中心将本月人力资源HR报表报综合管理部。
4.2 预算内招聘4.2.1 综合管理部根据批准后的招聘计划参照任职条件实施招聘。
4.2.2 应聘人员填写《应聘职位登记表》,综合管理部根据招聘要求筛选应聘者资料,确定面试人员名单。
4.2. 3 作业层员工由综合管理部进行初次面试,面试合格后由用人部门进行复试,双方达成一致部门经理签字后录用;管理人员招聘按人事审批流程执行。
4.3 预算外招聘原则上公司不发生计划外招聘,确需发生按授权体系执行。
4.3.1 员工入职。
4.3.2被录用员工(需体检岗位)体检合格后报公司审批通过,可安排上岗。
4.4 入职办理流程4.4.1 填写员工《应聘职位登记表》。
4.4.2 缴验最高学历证书和职称证书、身份证原件并将复印件存档。
4.4.3 相关岗位出具体检合格证明。
4.4.4 交近期半身正面一寸免冠照片两张。
4.4.5 领办公用品,发放胸牌或工装。
4.3.7 对新员工进行入职培训。
4.4 试用4.4.1 新员工的试用,主办以上管理人员试用期为3个月,其他人员试用期为1-3个月。
4.4.2 公司急需引进的人才经总经理特批后,可缩短试用期。
4.5 员工转正4.5.1 一般管理人员转正,由直接上级提出转正申请,所在部门作出评价,综合管理部核实后提报转正流程。
4.5.2操作层员工转正:经所在部门考核合格后提报转正审批流程。
4.6 有下列情形之一者,不予聘用4.6.1 触犯国家有关法律、法规者。
员工招聘作业指导书
1、目的:规范公司员工招聘流程,完善招聘制度。
2、适用范围:适用于全公司所有员工招聘。
3、职责:
3.1、人力资源管理员负责汇总各部门人力需求计划并结合公司实际制定公司年
度、月度人力需求计划,上报人力资源部门经理。
同时根据公司批准的人力需求计划组织、实施员工招聘工作。
3.2、人力资源部经理负责人力资源计划的审批,并结合公司发展情况从公司整体
人力角度出发以保证公司人力资源的需求。
3.3、各职能部门经理结合部门实际及时合理提出人力需求,以保证本部门的工作
及时、有效地完成。
4、招聘流程:
5、招聘要求:
5.1、专业技术类人员考试应以专业技术知识为主,行政事务类人员考试应以文化、
社会只是为主。
5.2、国家或公司要求应有相关资格的人员必须有相关国家或行业认可的证书。
5.3、公司招聘部门经理以下人员时,通过考试合格后由公司人力资源部经理批准
试用。
5.4、公司招聘部门经理以上人员时,通过人力资源部门考试合格后,经人力资源
部经理审核后报执行总经理或其授权人批准试用。
5.5、人力资源管理部门须对应聘重要岗位人员进行背景调查并根据实际情况,要
求应聘人员出示原单位工作评价证明。
6、相关表单:
6.1、求职人员登记表
6.2、面试评议表
6.3、个人履历表
编制:审核:批准:日期:。
1 目的为加强人员招聘录用管理,保证公司人才需求和人才引进,为公司的业务发展提供充足的人才储备、保持合理的人才结构而制定。
2 范围适用于公司各部门、各分公司、各管理处。
3 工作内容3.1 权责3.1.1 人力资源部是公司人员招聘录用的归口管理部门,负责审核用人部门提出的人员招聘录用申请;人员招聘方案的制定;办理人员招聘录用手续;实现公司内各部门之间余、缺人力的调配。
3.1.2 各部门、管理处、驻外机构负责本部门人员需求计划的拟定,向人力资源部提出人员招聘录用申请,协助人力资源部招聘录用本部门所需人员,并协同做好试用人员的使用、管理及考核工作。
3.2 总体原则(招聘录用原则)3.2.1 招聘员工应视工作需要和岗位空缺情况而定,不得超计划招聘员工。
3.2.2 员工招聘工作由公司人力资源部组织实施,任何部门或个人不得擅自招工或在未办妥入职手续前安排员工到职(三天试工期除外),否则,人力资源部和财务审算部有权拒绝支付任何费用。
期间如发生意外伤亡、违纪违法等规定的,公司不负任何责任(包括经济责任),一切责任由擅自招工者负责,情节严重或造成严重后果的,追究有关人员法律责任。
3.2.3 公司招聘员工,应本着“先内部调整,后外部招聘”的原则,确实无法在公司内部调整的,经公司领导批准转为外部招聘。
3.2.4 凡需外部招聘员工的,一律公开聘用条件,面向社会招聘,广泛吸引有才之士。
招聘形式必须经公司人力资源部审定。
3.2.5 公司招聘各级员工要求学历(学识)、工作能力、工作经验、品德、身体素质等条件与其相应岗位相适应,即应与公司QW-行政-汇编《公司各岗位任职资格汇编手册》各岗位条件相符。
3.2.6 公司实行并坚持“举贤避亲”的人事原则。
为保证客观公正及便于管理,公司禁止各级管理人员举荐亲属、朋友、原单位同事等到本人同一部门或本人所分管的部门工作。
特殊情况(如因业务关系需要安排人员或对高级人才的推荐)须经领导班子专题讨论通过后会签实施,且候选人须符合全部任职资格要求。
人员招聘、甄选与录取离职作业指导书编制:王浩峻日期:2011年11月22日审查:李海日期:2011年11月26日赞同:日期:订正记录日期订正状态改正内容改正人审查人赞同人1.目的为知足企业发展需要,有效、有序地招募到切合企业各种岗位要求的人员。
2.范围合用于企业各部门。
3.职责企业综合管理部负责企业各种人员的招聘与录取工作,并依据企业发展需要及人力资源规划,提早做好人员的招聘及贮备工作。
部门提出岗位人员要求,报企业综合管理部,由企业综合管理部一致招聘,部门参加。
4.方法与过程控制招聘招聘条件一般管理人员高中以上文化程度,年纪22-40岁之间,男身高米以上,女身高米以上;有两年以上有关工作经验,政历清楚,身体健康,五官正直,思路清楚,无不良习惯。
应聘会计、出纳者须拥有效的无锡市财政局发放的《会计上岗证》。
专业技术人员中技以上文化程度,年纪22-45岁之间,身高男米以上,女米以上;有三年以上有关工作经验,政历清楚,身体健康,五官正直,思路清楚,无不良习惯。
应聘特别岗位人员一定拥有效的无锡市劳动局发放的《特种作业人员操作允许证》。
安全管理员高中以上文化程度,年纪在18-28岁之间,身高米以上,两眼裸视视力均在以上,退伍军人优先,政历清楚,身体健康,五官正直,思路清楚,反响敏捷,无不良习惯。
保洁员初中以上文化程度,年纪18-40岁之间,男性身高米以上,女性身高米以上,政历清楚,身体健康,五官正直,思路清楚,反响敏捷,无不良习惯。
录取企业员工一定是年满十八周岁、身体健康、政历清白、扎实勤劳且拥有有关职位所需要的专业知识、发奋从事物业管理工作的中华人民共和国公民。
员工招聘将依据企业的需求进行。
部门提出岗位人员需求,报企业综合管理部,由企业综合管理部一致招聘,部门参加。
招聘分为笔试、面试(初试、复试)两个阶段进行。
资格审查应聘人员均需供给自己身份证件、学历证书、职称证书、体检合格表、婚育证明、其余能证明自己专长和能力的资料、照片等有效原件并保存复印件,由企业综合管理部负责审查拟录取人员的各种证件之有效性及合法性。
人员配置作业指导书1. 目的:1.1 优化公司人力资源配置,建立和完善员工招聘和选拔体系。
1.2 通过各种渠道广泛吸收高素质人员,满足公司发展需求。
2. 适用范围:适用于本公司各岗位人员招聘和配置及相关事项。
3. 原则:公司采用“公开招聘,择优录用”的原则,积极引进关键人才,适当的储备专业化的优秀人才。
基本要求:3.1 品德端正,忠诚公司;3.2 具备一定得工作能力以及专业技能知识;3.3 有敬业精神,工作认真投入,主动负责,并能在自己的工作岗位上提出对公司有建设性的意见;3.4 富有团队合作精神;3.5 严守规章,严谨仔细,服从领导安排。
4. 职责:4.1人事行政部职责4.1.1 负责各部门招聘需求申请审批。
人员招聘的实施。
招聘渠道管理和开发。
4.1.2 负责建立本招聘管理制度,并定期对本制度进行修订。
4.2 各部门职责4.2.1 负责提供人员招聘需求计划。
4.2.2 负责应聘者面试和试用期辅导和考核工作。
5 招聘管理流程5.1 招聘需求收集5.1.1员工正离职,部门申请替补人员,需提交已审批了的待离职员工的<<员工离职申请表>>和<<人力申请表>>.5.1.2 人员调动,部门申请人员补充,需提交已审批了的《人员调动表》和《人力申请表》。
5.1.3 新增岗位,部门新增岗位人员,需提交已审批了的《人员增加申请表》和《人力申请表》。
5.1.4 以上单据必须有相关主管人员审批。
审批通过交人事行政部后,方能安排招聘。
审批不通过或者没有审批的单据,人事行政部将退回给该部门。
5.2 招聘实施5.2.1 人事行政部根据各部门人力申请单上所需招聘岗位要求和招聘成本的控制,选择相应的招聘渠道。
(1)网络招聘:主要通过有关招聘网站发布招聘信息,招聘一些符合岗位需求的管理者和技术人员。
(2)校园招聘:人力资源部通过与有合作意向的大学或学院就业指导中心建立长期合作关系,以扩大招聘渠道。
招聘作业指导书1.目的为了规范公司人员招聘,确保对人力资源合理配备以及有效管理,特制订本作业指导书。
2.适用范围适用于本公司所有岗位的招聘工作。
3.定义无4.职责权限总经理审批个管理处及各部门人员编制。
办公室协调进行公司内部各类人员的调配,开展内外部招聘工作。
根据公司发展发展及人力资源规划,提前做好人员的储备工作。
管理处/或部门负责人及时掌握管理处/部门人员配置状况,合理调配内部人员,职位空缺合理申报。
5.文件内容5.1.招聘所需资源入职申请表、入职人员须知表、笔、简历表、身份证复印件、员工信息登记表5.2.作业流程5.3.文件内容5.3.1.部门提交招聘申请。
部门提交《人员增补申请单》需有相关部门负责人审批,总经理核准,人力资源部在收到《人员增补申请单》后,职位空缺情况与岗位任职要求决定在公司内部进行调配或组织内、外部招聘。
5.3.2.招聘负责人负责安排招聘工作,依招聘流程实施招聘工作。
本公司坚持任人唯贤、择优录取,从多个渠道选择合适的人才(内部介绍、网络招聘、现场招聘、张贴招聘启示等)。
5.3.3.招聘计划5.3.3.1.招聘对象必须年满18岁,身体健康。
且自愿应聘。
5.3.3.2.公司员工若要介绍人员进厂,必须经过用人部门经理,总经理同意后方可面试,如果应聘成功,人力资源部将审批有效的《被介绍人申明表》与被介绍人一起存档,如未如实告知,公司有权以不诚信为由与被介绍人解除雇佣关系。
5.3.3.3.为防止裙带关系,便于员工管理,如果被介绍人应聘成功,与介绍人不可同一小组工作。
5.3.3.4.与本公司职员有亲属关系的人员进厂,未经批准招聘负责人不得擅自将其录用。
5.3.3.5.招聘负责人在对应聘者进行面试前应先核查应聘者以前是否公司工作过、员工档案中有无不良行为记录。
5.3.4.《员工信息登记表》表格中所有空格部分必须填写完整。
5.3.5.身份证验证招聘负责人对求职者身份进行验证。
注:不合格的身份证包括过期证件、临时证件、假证、证件模糊不清、与本人不符等。
人力资源招聘作业指导书一、背景介绍随着企业发展的需要,人力资源招聘成为一项重要的任务。
为了提高招聘效率和招聘质量,制定一份招聘作业指导书至关重要。
本指导书旨在明确招聘流程、任务分工以及招聘策略,帮助人力资源团队高效、有序地开展招聘工作。
二、招聘流程1. 需求确定阶段(1) 协助部门主管详细描述所需职位的岗位职责、任职要求和技能需求。
(2) 定期与部门主管沟通,确保需求信息准确无误。
2. 职位发布阶段(1) 根据职位需求,撰写招聘广告或者招聘简章。
(2) 在各大招聘网站、社交媒体平台、招聘APP等渠道发布招聘信息。
(3) 监控和跟进招聘渠道的效果,进行必要的调整。
3. 简历筛选阶段(1) 设定初步筛选的条件,例如学历要求、工作经验、技能等。
(2) 针对收到的简历进行筛选,将符合条件的简历进一步筛选出来。
4. 面试评估阶段(1) 安排面试官对筛选出的候选人进行面试。
(2) 面试官根据预定的评估标准对候选人进行打分和评论。
(3) 汇总面试官的评估结果,筛选出合适的候选人。
5. 录用决策阶段(1) 综合考虑面试评估结果、背景调查结果等,做出最终录用决策。
(2) 与部门主管确认录用意向并提供录用条件。
(3) 与候选人协商薪资待遇和入职时间等事宜。
(4) 准备录用通知书,发送给已确定的候选人。
6. 入职准备阶段(1) 协助候选人完成入职所需的各类文件和表格。
(2) 为新员工安排入职培训和介绍企业文化等事宜。
(3) 跟进新员工的入职进程,解答遇到的问题。
三、任务分工1. 需求确定阶段(1) 人力资源团队:与部门主管沟通,帮助详细描述职位需求。
(2) 部门主管:提供所需职位的岗位职责、任职要求和技能需求。
2. 职位发布阶段(1) 人力资源团队:撰写招聘广告或者简章,发布招聘信息。
(2) 部门主管:审查并确认发布的招聘信息。
3. 简历筛选阶段(1) 人力资源团队:初步筛选简历,将符合条件的简历筛选出来。
(2) 部门主管:对筛选出的简历进行终审并确定参与面试的候选人。
企业人才招聘与选拔作业指导书第1章企业人才招聘与选拔策略规划 (3)1.1 人才招聘需求分析 (3)1.1.1 企业发展战略分析 (3)1.1.2 组织结构分析 (3)1.1.3 业务需求分析 (3)1.1.4 人才市场状况分析 (3)1.2 招聘与选拔目标设定 (3)1.2.1 招聘数量目标 (3)1.2.2 招聘质量目标 (4)1.2.3 招聘效率目标 (4)1.3 招聘选拔策略制定 (4)1.3.1 招聘渠道选择 (4)1.3.2 招聘信息发布 (4)1.3.3 面试与选拔方法 (4)1.3.4 评估与反馈机制 (4)1.3.5 人才储备与培养 (4)1.3.6 招聘选拔政策与流程 (4)第2章招聘渠道的选择与管理 (4)2.1 招聘渠道的分类与特点 (4)2.2 招聘渠道的选择与优化 (5)2.3 招聘渠道的管理与维护 (5)第3章招聘信息的发布与宣传 (6)3.1 招聘信息的编写与审核 (6)3.1.1 编写招聘信息 (6)3.1.2 审核招聘信息 (6)3.2 招聘信息的发布与推广 (6)3.2.1 选择合适的发布渠道 (6)3.2.2 制定发布计划 (6)3.2.3 推广招聘信息 (7)3.3 招聘宣传材料的制作与运用 (7)3.3.1 宣传材料的设计 (7)3.3.2 宣传材料的制作 (7)3.3.3 宣传材料的运用 (7)第4章简历筛选与初步面试 (7)4.1 简历筛选的标准与流程 (7)4.1.1 简历筛选标准 (7)4.1.2 简历筛选流程 (8)4.2 初步面试的方法与技巧 (8)4.2.1 初步面试方法 (8)4.2.2 初步面试技巧 (8)4.3 面试通知与安排 (9)4.3.1 面试通知 (9)4.3.2 面试安排 (9)第5章笔试与能力测试 (9)5.1 笔试内容的设置与评估 (9)5.1.1 笔试内容的确定 (9)5.1.2 笔试试题的编写与审核 (9)5.1.3 笔试评估方法 (10)5.2 能力测试的种类与方法 (10)5.2.1 能力测试种类 (10)5.2.2 能力测试方法 (10)5.3 笔试与能力测试的组织实施 (10)5.3.1 笔试与能力测试的安排 (10)5.3.2 笔试与能力测试的监考与评估 (10)5.3.3 测试结果的反馈与应用 (11)第6章复试与背景调查 (11)6.1 复试的形式与内容 (11)6.1.1 复试形式 (11)6.1.2 复试内容 (11)6.2 背景调查的方法与流程 (12)6.2.1 背景调查方法 (12)6.2.2 背景调查流程 (12)6.3 复试与背景调查结果的整合分析 (12)第7章录用决策与通知 (13)7.1 录用标准的制定与评估 (13)7.2 录用决策的过程与注意事项 (13)7.3 录用通知的发送与反馈 (14)第8章员工入职培训与试用期管理 (14)8.1 入职培训的内容与安排 (14)8.1.1 培训内容 (14)8.1.2 培训安排 (15)8.2 试用期考核的标准与流程 (15)8.2.1 考核标准 (15)8.2.2 考核流程 (15)8.3 试用期管理的策略与优化 (15)8.3.1 策略 (15)8.3.2 优化措施 (15)第9章招聘选拔评估与改进 (16)9.1 招聘选拔效果的评估指标 (16)9.1.1 质量指标 (16)9.1.2 效率指标 (16)9.1.3 满意度指标 (16)9.2 招聘选拔过程的反馈与改进 (16)9.2.1 建立反馈机制 (16)9.2.2 改进措施 (16)9.3 招聘选拔制度的完善与优化 (17)9.3.1 制度建设 (17)9.3.2 制度优化 (17)第10章人才库建设与人才梯队培养 (17)10.1 人才库建设的目标与原则 (17)10.1.1 目标 (17)10.1.2 原则 (17)10.2 人才库管理的方法与技巧 (17)10.2.1 方法 (17)10.2.2 技巧 (18)10.3 人才梯队培养的策略与实践 (18)10.3.1 策略 (18)10.3.2 实践 (18)第1章企业人才招聘与选拔策略规划1.1 人才招聘需求分析本节主要从企业发展战略、组织结构、业务需求和人才市场状况等方面,对企业人才招聘需求进行分析,为后续招聘与选拔工作提供依据。
人才招聘与选拔作业指导书一、引言人才招聘与选拔是企业发展过程中至关重要的环节。
本作业指导书旨在为各企业提供一套系统且科学的招聘与选拔方案,以助其有效吸引并选拔到适合岗位的优秀人才,推动企业持续发展。
二、招聘需求分析在制定招聘与选拔计划之前,企业需对其招聘需求进行充分分析。
以下是一些关键问题,供企业参考:1. 岗位需求:明确各职位的具体需求,包括技能、经验和能力要求等。
2. 人力规模:确定需要招募多少人,同时考虑到组织结构、团队协作和资源分配等因素。
3. 高级管理岗位:如需招聘高级管理人员,应明确其战略规划、领导能力和团队管理技巧等要求。
三、招聘渠道选择选择合适的招聘渠道对于吸引优秀人才至关重要。
以下是几个常见的招聘渠道:1. 网络媒体:通过发布招聘信息于各大招聘网站,以及使用专业的社交媒体平台,例如 LinkedIn,吸引有才华的求职者。
2. 校园招聘:与高校合作,组织校园招聘活动并参加招聘会,以便吸引即将毕业的优秀毕业生。
3. 内部推荐:利用内部员工的资源和关系网,引荐合适的人选。
四、简历筛选与面试在受到大量求职者投递简历后,进行筛选和面试环节至关重要,以确保最适合职位的人选。
以下是一些建议:1. 简历筛选:根据岗位要求和求职者在简历中的表现进行初步筛选,注意关注求职者的工作经验、教育背景和专业技能等。
2. 面试技巧:面试时应采取开放式和行为性的问题,以评估候选人的能力、经验和适应能力。
建议面试小组成员提前准备好问题清单,并记录每个候选人的回答。
3. 考察参观:对于进入面试环节的候选人,组织辅导员或相关部门负责人考察其个人品德、工作态度和团队协作能力,以便获得更多信息参考。
五、人才选拔与录用根据面试结果和考察参观的反馈,企业需要制定最终的人才选拔方案,并进行录用。
以下是一些建议:1. 综合评估:根据面试、参观等环节所获得的信息,进行综合评估,确保最适合职位的候选人。
2. 薪酬福利:与候选人进行最后的薪酬福利谈判,并确保达成共识,以满足候选人的期望和公司的预算。
科技发展集团人员招聘录用作业指导书第八条人员招聘(一)用人部门需要增补员工时,应由部门经理提前向公司人力资源部提交《人员增补申请表》。
用人部门提交人员需求时,对人员素质的要求应客观、明确、易核查验证,尽量减少需主观判断的因素。
(二)人事部核查后,首先在企业内部进行调配,内部调配不能满足用人需求时,对外进行招聘。
人事部应在用人部门提交申请后一周内,为用人部门提供第一批应聘者资料。
(三)用人部门对应聘者材料进行筛选。
(四)人力资源部在材料筛选完毕后一周内内或按用人部门要求时间内对资质合格的应聘者安排初试,大规模集中面试服从公司统一安排。
(五) 初试合格者参加复试。
须由公司副总经理复试的,于初试合格后3个工作日内安排复试,并将复试结果回复人力资源部。
须由公司董事长复试的,人事部应将初试合格的应聘者材料,于初试后2个工作日内报公司董事长。
均应在5个工作日内安排复试,并回复复试结果。
(六) 人力资源部对决定录用的员工发放《录用通知书》。
(七)人员招聘流程第九条员工入职(一)确定录用人员后,公司人力资源部安排新员工办理入职手续。
(二)员工报到时,须携带4张1寸近期免冠照片、身份证、学历证书与相关证书原件和复印件、体检证明,到人力资源部办理入职手续。
人力资源部对其进行入职培训。
(三)员工在入职时签订《劳动合同》,并开始办理个人档案及社会保险关系转入事宜。
如员工转正一个月后个人档案及社保关系仍未调入公司,则继续享受试用期工资待遇。
(四)人力资源部按录用时所确定的岗位对员工进行工作安排;在试用期满后,若部门对员工的岗位进行重要调整,必须提前报人事部核准后方可执行。
对试用期的员工岗位,一般不作调整。
(五)对于财务人员的录用,由公司领导确定录用后派遣到人力资源部,人力资源部进行具体入职安排,为被录用者办理入职手续,对其进行入职培训。
(六)录用部门经理(含)以上级别人员,人力资源部须在新员工报到后一周之内,将新员工的人事副档资料复印件留档。
1.目的
为满足公司进展需要,有效、有序地招募到符合公司各类岗位要求的人员。
2.范畴
适用于公司各部门。
3.职责
3.1公司综合治理部负责公司各类人员的聘请与录用工作,并依照公司进展需要及人力资源规划,提早做好人员的聘请及储备工作。
3.2部门提出岗位人员要求,报公司综合治理部,由公司综合治理部统一聘请,部门参加。
4.方法与过程操纵
4.1 聘请
4.1.1聘请条件
4.1.1.1一样治理人员
高中以上文化程度,年龄22-40岁之间,男身高1.70米以上,女身高1.60米以上;有两年以上相关工作体会,政历清晰,躯体健康,五官端正,思路清晰,无不良适应。
应聘会计、出纳者须持有效的无锡市财政局发放的《会计上岗证》。
4.1.1.2专业技术人员
中技以上文化程度,年龄22-45岁之间,身高男1.70米以上,女1.60米以上;有三年以上相关工作体会,政历清晰,躯体健康,五官端正,思路清晰,无不良适应。
应聘专门岗位人员必须持有效的无锡市劳动局发放的《特种作业人员操作许可证》。
4.1.1.3安全治理员
高中以上文化程度,年龄在18-28岁之间,身高1.75米以上,两眼裸视视力均在0.80以上,退伍军人优先,政历清晰,躯体健康,五官端正,思路清晰,反应灵敏,无不良适应。
4.1.1.4保洁员
初中以上文化程度,年龄18-40岁之间,男性身高1.60米以上,女性身高1.55
米以上,政历清晰,躯体健康,五官端正,思路清晰,反应灵敏,无不良适应。
录用
4.1.1.5公司职员必须是年满十八周岁、躯体健康、政历清白、踏实勤奋且具有相关职位所需要的专业知识、立志从事物业治理工作的中华人民共和国公民。
4.1.1.6职员聘请将依照公司的需求进行。
部门提出岗位人员需求,报公司综合治理部,由公司综合治理部统一聘请,部门参加。
4.1.1.7聘请分为笔试、面试(初试、复试)两个时期进行。
4.1.2资格审核
应聘人员均需提供本人身份证件、学历证书、职称证书、体检合格表、婚育证明、其它能证明自己特长和能力的材料、照片等有效原件并留存复印件,由公司综合治理部负责审核拟录用人员的各类证件之有效性及合法性。
专门岗位(如:安管、财务)还应提供具有无锡市户口的人员担保书。
4.1.3体检
凡公司聘请的职员必须通过体检合格并提供体检报告后,方可被录用,如体检不合格的职员不能录用,体检费用由职员自理。
每年公司将依照实际情形组织已录用职员体检,工作中凡发觉职员患有传染性疾病等,公司将酌情调换患病职员的工种,无法调整者则予以辞退。
4.2聘请与录用程序
4.2.1用人部门依照职位空缺情形,填写《职位空缺申报表》报给公司综合治理部。
4.2.2公司综合治理部统一组织、安排聘请场地、时刻、人员及有关事宜。
4.2.3公司综合治理部依照聘请情形、应聘资料等对应聘人员进行初选。
4.2.4公司综合治理部统一组织应聘人员的笔试,合格后方可参加面试。
4.2.5用人部门负责人须参加应聘人员面试工作。
4.2.6面试合格人员需参加由公司综合治理部组织的心理测试。
4.2.7用人部门负责人与公司综合治理部协商,初步决定拟录用人员。
4.2.8安全治理员、保洁员由公司综合治理部主管审批确定录用,治理及技术人员由公司总经理审批确定录用。
4.2.9公司综合治理部检查拟录用人员的各类证件之有效性及合法性。
4.2.10公司综合治理部安排拟录用人员在指定医院进行体检。
体检表上须贴本人一寸近照,并由公司办公室加盖骑缝章。
4.2.11公司综合治理部向体检合格人员发放《录用通知书》,并组织其参加入职培训。
4.2.12参加公司入职培训并通过考核的人员方可被公司正式录用。
4.4人员必备资料
4.4.1身份证复印件(须交验原件);
4.4.2学历证书、职称证书复印件(须交验原件);
4.4.3体检合格表(公司指定医院)原件;
4.4.4婚育证明(结婚证、独生子女证)复印件(须交验原件);
4.4.5其它能证明自己特长、能力的资料;
4.4.6无锡市银行活期存折复印件。
4.5公司内部聘请
4.5.1公司综合治理部接到各部门《职位空缺申请表》后,依照职位性质确定是否在公司内部聘请;
4.5.2公司综合治理部审核报名人员的材料,组织考试、面试、考核;
4.5.3在同等条件下,可优先录用公司内部应聘人员。
4.6试用与转正
4.6.1试用期满前两周,公司组织在本部的职员进行强化培训并进行考核,参加培训并通过考核者方具备转正资格,考核不合格者可有一次补考机会,两次不合格者作解除劳动合同处理;
4.6.2职员试用期满前半个月,须独立填写《入职培训情形调查表》、《新职员试用情形反馈表》于参加公司综合治理部组织的“强化培训”时交给培训老师。
4.6.3通过公司组织的强化培训考核者方具备转正资格,由其直截了当上级依照其工作表现及能力,为拟转正人员填写《职员转正审批表》,经部门负责人审核同意后,部门须将该职员的《职员转正审批表》报公司综合治理部审核,经总经理审批后方可生效。
强化培训考核不合格者,可有两次补考机会,补考仍不合格者作解除劳动合同处理。
4.7有关转正的相关规定
4.7.1原则上试用期一样为三个月(其中安管部、环境部操作层职员试用期为两个月),最长不超过六个月,最短许多于两个月,录用人员必备资料不齐全者不能转正。
4.7.2入职培训考核不合格者延期一个月转正,可有一次补考机会,补考仍不合格者作中止试用、解除劳动合同处理。
4.7.3职员延期转正的,所在部门负责人须对其进行延期转正面谈,每延长一个月试用期需面谈一次,并填写《职员面谈表》经当事人签名确认,《职员面谈表》原件报公司综合治理部存档,部门保留复印件。
4.8解雇与辞职
4.8.1在工作期间,不能胜任本职工作者,公司有权予以解雇,终止劳动关系,解雇应提早30日通知本人。
4.8.2部门接到人员的解除劳动合同申请后,依照工作情形进行审批,2日内报公司综
合治理部备案或逐级上报直至得到批准。
在申请没有获得批准前,必须坚守岗位,服
从部门治理,否则以擅自离开岗位处理,作自动离职论处。
4.8.3在工作期间,职员因故不能或不愿连续工作,有权向公司提出辞职。
辞职须提
早三十日提交辞职申请书,经公司领导批准后方可办理离职手续。
职员如未按正常手
续办理离职或擅自离职,须赔偿公司一个月工资(金额按本人上月实发工资总额运算)
作为经济补偿。
4.8.4对由公司出资参加各种培训的职员,培训后正常在岗期间要求辞职或擅自离职,
以及因违纪被除名的职员,必须按规定退还培训费。
4.8.5职员如有下列情形之一或在最后警告后,该职员再次违反公司的有关规定或犯有严峻错误的,公司将视其情节轻重,予以劝退或即时解除劳动合同。
a.曾经被原公司开除或未经批准擅自离职者;
b.未满18周岁;
c.工作能力不符合要求者;
d.经公司指定医院体检不合格者;
e.经常迟到、早退、旷工、消极怠工,不服从治理者;
f.患病或非因工负伤,医疗期满后仍未痊愈或虽已痊愈但不能从事原工作者;
g.试用期间,不符合录用条件及公司各项要求者;
h.有意损坏设备、工具、白费原材料、能源造成经济缺失情节严峻者;
i.服务态度恶劣、服务形象不佳,严峻损害顾客利益或公司声誉者;
j.持非法取得的或无效的《毕业证书》、《结业证书》、《职称证书》、《特种作业操作证》、《技术等级证书》或《技师合格证书》而上岗者;
k.违反操作规程和安全规程,违章作业造成他人伤亡或财产缺失者;
l.有贪污、盗窃、赌博、营私舞弊等违法行为者;
m.无理取闹、打架斗殴,严峻阻碍社会秩序或犯有其他严峻错误者;
n.违反公司规章制度,不适合延长试用期者。
4.8.6离职手续办理
凡批准离职的职员,必须在5个工作日内到综合治理部办理离职手续,解除劳动合同人员必须办理好离职手续后方可离开部门,具体手续如下:
●办理工作交接手续;
●归还所借公款;
●归还办公用品;
●交还公司发放的工作牌、出入证及其他有关证件和物品;
●交还公司所发工作服;
●住公司宿舍职员必须及时办理好退房手续。
4.8.7离职前,公司会安排综合治理部或直截了当上级进行离职面谈,听取职员的意见和建议。
4.8.8原则上差不多办完离职手续的人员,不得无故在办公区域逗留。
4.8.9正常离职,薪金领取按公司发薪时刻规定办理。
5.支持性文件:
6.质量记录和表格
YJWY6.0-03-02-F1 《职位申请表》
YJWY6.0-03-02-F2 《职员转正评审表》
YJWY6.0-03-02-F3 《职员面谈记录表》
YJWY6.0-03-02-F4 《职位空缺申报表》
YJWY6.0-03-02-F5 《新职员试用情形反馈表》
YJWY6.0-03-02-F6 《录用通知函》YJWY6.0-03-02-F7 《职员档案登记表》YJWY6.0-03-06-F4 《解除劳动合同审批表》YJWY6.0-03-06-F5 《解除劳动合同通知书》YJWY6.0-03-06-F6 《离职人员完善手续表》。