建安工程费用组成及直接费
- 格式:docx
- 大小:9.43 KB
- 文档页数:4
建筑安装工程费用由直接工程费、间接费、利润、工程特殊费用、税金(费)等五个部分组成。
由直接费、其他直接费、现场经费组成。
1.直接费,是指施工过程中耗费的构成工程实体和有助于工程形成的各项费用,包括人工费、材料费;施工机械使用费。
(1)人工费,是指直接从事建筑安装工程施工的生产工人开支的各项费用。
(2)材料费,是指施工过程中耗用的构成工程实体的主要材料、辅助材料、构配件、零件、半成品的费用和周转使用材料的摊销费用。
(3)施工机械使用费,是指使用施工机械作业所发生的机械使用费。
2.其他直接费,是指直接费以外施工过程中发生的其他费用,内容包括:(1)风雨季施工增加费,是指工程在风雨季期间施工,为保证工程质量,采取防雨、防风、防滑措施所增加的人工、材料、设施的费用及工效差等。
(2)夜间施工增加费,是指施工中正常工序搭接所必须的夜间施工照明设施费、工效降低和夜餐费。
(3)二次搬运费,是指构成工程的建筑安装材料、成品和半成品,由于运输道路无法直接运至工地或现场堆放条件所限而发生的二次搬运费。
(4)生产工具用具使用费,是指施工生产所需不属于固定资产的生产工具及检验用具等的购置、摊销和维修费,以及支付给工人自备工具补贴费。
(5)检验试验费,是指对建筑材料、构件和建筑安装物进行一般鉴定、检查所发生的费用,包括自设试验室进行试验所耗用的材料和化学药品等费用,以及技术革新和研究试制试验费。
(6)工程定位复测、工程点交、场地清理(指建筑物2米以内)等费用。
(7)特殊工种培训费。
3.现场经费,是指为施工准备、组织施工生产和管理所需费用,内容包括:(1)临时设施费,是指施工企业为进行建筑安装工程施工所必需的生活和生产用的临时建筑物、构筑物和其他临时设施费用等。
临时设施包括:临时宿舍、文化福利及公用事业房屋与构筑物,仓库、办公室加工房以及规定范围内道路、水、电、管线以及简易施工围墙等临时设施和小型临时设施。
临时设施费用内容包括:临时设计的搭设、维修、拆除或摊销费。
工程造价由哪五个部分组成分部分项工程费、措施项目费、其他项目费、规费、税金组成关于建安工程费组成的一个问题以下两种关于建筑安装工程费构成的论述有什么区别?一、建筑工程费按其费用的性质分为直接工程费、间接费、计划利润和税金四部分。
1、直接工程费:施工中耗费在工程实体的各项费用(1)直接费:A、人工费、B、材料费、C、施工机械使用费。
(2)其他直接费:A、冬、雨季施工增加费、B、夜间施工增加费、C、材料二次搬运费、D、仪器、仪表使用费、E、生产工具、用具使用费、F、检验试验费、G、特殊工程培训费、H、工程定位复测、工程点交、场地清理等费用、I、特殊地区施工增加费。
(3)现场经费:A、临时设施费。
B、现场管理费,包括:a、现场管理人员的基本工资、工资性补贴、职工福利费、劳动保护费等。
b、办公费、现场水、电、烧水、取暖等。
c、差旅交通费:公务差旅、探亲路费、招工、工伤就医路费、工地转移、现场交通油料、燃料、养路、牌照费等。
d、固定资产使用费、设备、仪器折旧、大修、维修或租赁费等。
e、工具用具使用(非固定资产)如办公用器具、交通工具检验、试验、测绘、消防等配置、维修和摊销等。
f、保险费、施工用财产、车辆保险、高空、井下、海上作业等特殊工种保险等。
g、工程保修费、竣工交付使用,在规定保修期内的修理费用。
h、工程排污费。
i、其他费用。
2、间接费用:不直接由施工工艺引起,但却与工程的总体条件有关,为建安生产服务的各项费用。
(1)企业管理费用——A、企业管理人员基本工资、工资性补贴,按规定标准计提的职工福利费;B、差旅交通费、C、办公费;D、固定资产折旧及修理费;E、工具用具使用费;F、工会经费;G、职工教育经费;H、劳动保险费;I、职工养老保险及待业保险费;J、保险费、企业财产保险、管理用车辆保险;K、税金、企业按规定交纳的房产税、车船使用税、土地使用税、印花税等;L、其他,包括土地使用费、技术转让费、技术开发费、业务招待费、排污费、绿化费、广告费、公证费、法律顾问费、审计费、咨询费等。
建安工程费与合同价
建安工程费通常包括直接费用、间接费用、利润和税金四个部分。
直接费用是指直接投入到建设工程中的人工、材料、机械使用等费用;间接费用则包括了项目管理费、施工现场的临时设施费、安全生产费等;利润则是承包商为获取投资回报而设定的费用;税金则是指按照国家税法规定应缴纳的税费。
在编制合同价时,需要根据工程量清单、设计图纸、施工方案以及市场行情等因素综合考虑。
合同价应当在招标文件中明确规定,并在投标过程中由各参与方进行报价。
最终的合同价应当是经过双方充分协商,并考虑到市场变化、风险预测等因素后的结果。
合同价范本的内容应当包括但不限于以下几个方面:
1. 工程概况:包括工程名称、地点、规模、标准、质量要求等基本信息。
2. 合同价款:明确合同总价、各分项工程的单价以及价格调整机制。
3. 付款方式:包括预付款、进度款、结算款的支付条件和时间。
4. 变更与索赔:约定工程变更的程序、索赔的条件和处理方式。
5. 违约责任:明确双方违约时的责任和处理办法。
6. 争议解决:设定争议解决的方式,如协商、仲裁或诉讼等。
7. 附加条款:根据工程特点可能需要增加的特殊条款。
在实际操作中,合同价的确定往往需要专业的造价工程师进行评估和计算。
他们会根据工程的实际情况,结合行业标准和市场价格,合理估算出各项费用,并在此基础上制定出合理的合同价。
为了应对可能出现的风险,合同中还会设定一定的风险预备金或者价格调整机制,以确保工程能够在预算范围内顺利完成。
建筑安装工程费用项目组成发表时间:2010-3-3 21:27:00 阅读次数:87 所属分类:行政规章建筑安装工程费由直接费、间接费、利润和税金组成(见附表)。
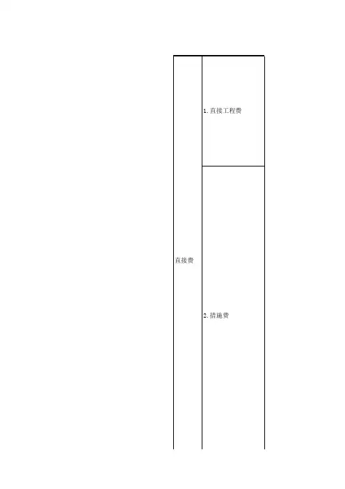
一、直接费由直接工程费和措施费组成。
(一)直接工程费:是指施工过程中耗费的构成工程实体的各项费用,包括人工费、材料费、施工机械使用费。
1.人工费:是指直接从事建筑安装工程施工的生产工人开支的各项费用,内容包括:⑴基本工资:是指发放给生产工人的基本工资。
⑵工资性补贴:是指按规定标准发放的物价补贴,煤、燃气补贴,交通补贴,住房补贴,流动施工津贴等。
⑶生产工人辅助工资:是指生产工人年有效施工天数以外非作业天数的工资,包括职工学习、培训期间的工资,调动工作、探亲、休假期间的工资,因气候影响的停工工资,女工哺乳时间的工资,病假在六个月以内的工资及产、婚、丧假期的工资。
⑷职工福利费:是指按规定标准计提的职工福利费。
⑸生产工人劳动保护费:是指按规定标准发放的劳动保护用品的购置费及修理费,徒工服装补贴,防暑降温费,在有碍身体健康环境中施工的保健费用等。
2.材料费:是指施工过程中耗费的构成工程实体的原材料、辅助材料、构配件、零件、半成品的费用。
内容包括:⑴材料原价(或供应价格)。
⑵材料运杂费:是指材料自来源地运至工地仓库或指定堆放地点所发生的全部费用。
⑶运输损耗费:是指材料在运输装卸过程中不可避免的损耗。
⑷采购及保管费:是指为组织采购、供应和保管材料过程中所需要的各项费用。
包括: 采购费、仓储费、工地保管费、仓储损耗。
⑸检验试验费:是指对建筑材料、构件和建筑安装物进行一般鉴定、检查所发生的费用,包括自设试验室进行试验所耗用的材料和化学药品等费用。
不包括新结构、新材料的试验费和建设单位对具有出厂合格证明的材料进行检验,对构件做破坏性试验及其他特殊要求检验试验的费用。
3.施工机械使用费:是指施工机械作业所发生的机械使用费以及机械安拆费和场外运费。
施工机械台班单价应由下列七项费用组成:(1)折旧费:指施工机械在规定的使用年限内,陆续收回其原值及购置资金的时间价值。
建安工程费建安工程费是指在建筑项目中用于支付建筑材料、施工人工、设备租赁、工程监理等与工程建设直接相关的各项费用的总和。
在一个建筑项目的设计和施工过程中,建安工程费是非常重要的一个方面,合理的控制和管理建安工程费可以保证建筑项目的顺利进行。
建筑项目中的建安工程费的构成建筑项目中的建安工程费包括以下几个方面:1.建筑材料费用:建筑材料是建筑项目中不可或缺的一部分,建筑材料费用通常占据整个建安工程费的相当大的比例。
建筑材料费用包括各种建筑材料的采购费用,运输费用以及仓储费用等。
2.施工人工费用:施工人工是建筑项目中非常重要的一部分,施工人工费用通常占据建安工程费的很大比例。
施工人工费用包括施工人员的工资、社会保险费用等。
3.设备租赁费用:在建筑项目的施工过程中,可能需要使用一些特殊的施工设备和机械。
这些设备和机械通常需要通过租赁的方式获得,设备租赁费用也是建安工程费中的一部分。
4.工程监理费用:为了保证建筑项目的质量和进度,通常需要雇佣一些专业的工程监理机构进行监管和管理。
工程监理费用包括工程监理人员的费用以及监理机构的服务费用。
合理控制建安工程费的重要性合理控制建安工程费对于一个建筑项目的成功非常重要,具有以下几个方面的重要性:1.财务上的重要性:建筑项目的建安工程费通常是一个非常大的数额,对于建设单位来说,合理控制建安工程费可以节约资金资源,避免建设项目超支和资金困难的情况。
2.施工进度的重要性:建筑项目的施工进度是项目成功的关键,过高的建安工程费用可能会导致施工进度的延误,影响整个项目的进展。
3.建筑质量的重要性:合理控制建安工程费可以确保项目的各项质量指标得到满足,避免因为缺乏质量控制而导致的建筑质量问题。
4.建筑安全的重要性:合理控制建安工程费可以确保项目的安全规范得到满足,避免因为施工设备不达标、材料质量不合格等原因引发的安全事故。
如何合理控制建安工程费合理控制建安工程费需要从多个方面进行考虑和管理:1.建筑项目的预算管理:在项目前期,需要对建筑项目进行详细的预算编制和管理,合理估算各个费用项目的金额,提前预警可能出现的费用风险。
建安工程费和施工合同价建安工程费的构成建安工程费是指在建筑安装工程中,为完成建设任务所发生的全部费用。
它通常包括直接费用和间接费用两大部分。
直接费用直接费用是指直接投入到建设工程中的材料、人工和机械使用等费用。
这其中包括了:- 材料费:工程建设所需的各种原材料、辅助材料的费用。
- 人工费:工程施工过程中支付给工人的工资、福利等费用。
- 机械使用费:施工机械的租赁、折旧、维修等费用。
间接费用间接费用则是指不直接投入生产但为保证工程顺利进行而发生的管理费用、财务费用等。
这些费用包括:- 管理费:项目管理人员的薪酬、办公费用等。
- 财务费:贷款利息、汇兑损失等。
- 利润:承包商预期的利润。
- 风险费:预见的风险所造成的潜在损失。
施工合同价的制定施工合同价是指在施工合同中约定的工程总价款,它是根据工程量清单、设计图纸和相关规范计算得出的。
制定施工合同价时,应遵循以下原则:- 公平性:确保价格的公正,不得有歧视性条款。
- 透明性:所有费用项目和计算方法应公开透明。
- 合理性:价格应反映市场行情,符合成本加合理利润的原则。
- 竞争性:鼓励通过市场竞争来确定价格。
施工合同价范本以下是一份简化的施工合同价范本,供参考:施工合同价工程名称XX项目/工程名称合同编号XX-2023-XXX/合同编号甲方XX有限公司/甲方乙方XX建筑公司/乙方合同总价人民币(大写)XX元整/合同总价工程内容包括但不限于土建工程、安装工程、装修工程等。
/工程内容工期自YYYY年MM月DD日至YYYY年MM月DD日/工期付款方式按工程进度分阶段支付/付款方式违约责任逾期完成每日罚款XX元,质量问题按XX标准赔偿。
/违约责任其他条款详见附件《施工合同细则》/其他条款/施工合同价在实际制定合同时,应根据具体情况调整合同内容,并由专业法律人士审核,以确保合同的合法性和执行力。
结语。
美好的明天工程规费是“建筑安装工程费用中“间接费”的组成部分。
建筑安装工程费用=直接费+间接费+利润+税金直接费=直接工程费+ 措施费直接工程费:1、人工费;2、材料费;美好的明天3、施工机构使用费间接费=施工管理费+规费施工管理费:1、管理人员工资2、办公费3、交通差旅费4、固定资产使用费5、工具用具使用费6、劳动保险、财产保险费7、财务费8、税金9、工会经费、职工教育经费及其他规费:规费就是指政府和有关权利部门规定必须缴纳的费用,说白了就是规定必须要缴纳的费用1、工程排污费2、2、工程定额测定费3、3、社会保险统筹基金4、4、住房公积金5、5、危险作业意外伤害保险措施费:1、环境保护费;2、文明施工费;3、安全施工费;4、临时设施费5、夜间施工费;6、二次搬运费;7、大型机械设备进出场及安拆费;8、混凝土、钢筋混凝土模板及支架费;9、脚手架费;10、已完工程及设备保护费;11、施工排水、降水费措施费措施费是指为完成工程项目施工,发生于该工程施工前和施工过程中非工程实体项目的费用,由施工技术措施费和施工组织措施费组成。
费用内容1.大型机械设备进出场及安拆费:是指机械整体或分体自停放场地运至施工现场或由一个施工地点运至另一个施工地点,所发生的机械进出场运输及转移费用及机械在施工现场进行安装、拆卸所需的人工费、材料费、机械费、试运转费和安装所需的辅助设施的费用。
2.混凝土、钢筋混凝土模板及支架费:是指混凝土施工过程中需要的各种钢模板、木模板、支架等的支、拆、运输费用及模板、支架的摊销(或租赁)费用。
3.脚手架费:是指施工需要的各种脚手架搭、拆、运输费用及脚手架的摊销(或租赁)费用。
4.施工排水、降水费:是指为确保工程在正常条件下施工,采取各种排水、降水措施所发生的各种费用。
5.其它施工技术措施费:是指根据各专业、地区工程特点补充的技术措施费项目。
构成主体编1.环境保护费:是指施工现场为达到环保部门要求所需要的各项费用。
公路建筑安装工程费用的组成1. 引言公路建筑安装工程是指在公路建设过程中,为保障道路正常使用和行车安全而进行的各种设备和设施的安装工程。
公路建筑安装工程费用的组成包括直接费用和间接费用两部分。
直接费用是指与具体施工项目直接相关的费用,如设备购置费、人工费、材料费等;间接费用则是指与具体施工项目间接相关的费用,如管理费、保险费等。
2. 直接费用2.1 设备购置费公路建筑安装工程所需的设备包括各种机械设备、电气设备、通信设备等。
设备购置费是指为了完成施工任务而购买这些设备所需支付的费用。
该项费用通常由施工单位根据实际需要进行预算,并与供应商进行谈判以获取最优价格。
2.2 人工费人工费是指为了完成公路建筑安装工程所需支付给劳动者的报酬。
在公路建筑安装过程中,需要有一定数量的技术人员和操作人员参与施工,他们会根据其所属职位和工作时间进行计酬。
人工费的计算通常根据当地的劳动力市场行情以及相关政策规定进行。
2.3 材料费材料费是指为了完成公路建筑安装工程所需购买的各种材料的费用。
公路建筑安装工程所需的材料包括但不限于钢筋、水泥、砂石、电线电缆等。
施工单位通常会根据实际需要进行材料清单的编制,并与供应商进行谈判以获取最优价格。
2.4 其他直接费用除了设备购置费、人工费和材料费之外,公路建筑安装工程还可能涉及一些其他直接费用,如设备运输费、设备安装调试费等。
这些费用通常在项目预算过程中被考虑进去,并根据实际情况进行核算。
3. 间接费用3.1 管理费管理费是指公路建筑安装工程中施工单位为了保障施工进度和质量而支付给管理人员的报酬。
管理人员负责协调各个施工环节,监督施工进度以及质量控制等方面的工作。
3.2 保险费公路建筑安装工程在施工过程中可能会发生一些意外事故,为了应对这些风险,施工单位需要购买相应的保险。
保险费是指为了获得必要的保险保障而支付给保险公司的费用。
3.3 其他间接费用除了管理费和保险费之外,公路建筑安装工程还可能涉及一些其他间接费用,如临时设施搭建费、水电费等。
简述建筑安装工程费用的构成,并详细回答其中直接费的构成。
(10分)摘要:一、建筑安装工程费用的构成概述二、直接费的构成及其细分1.人工费2.材料费3.施工设备使用费4.施工临时设施费三、各构成部分在建筑安装工程费用中的占比及影响因素四、总结正文:建筑安装工程费用是建筑项目中不可或缺的一部分,它关系到项目的投资额度和工程质量。
为了更好地理解和控制建筑安装工程费用,我们需要深入了解其构成,特别是直接费的构成。
一、建筑安装工程费用的构成概述建筑安装工程费用主要包括直接费、间接费、企业管理费、利润和税金等部分。
直接费是指直接用于工程项目的建设、安装和施工的费用,是建筑安装工程费用中最主要的部分。
二、直接费的构成及其细分1.人工费:人工费是直接费中最主要的部分,包括施工人员的基本工资、加班费、奖金等。
人工费的多少取决于工程的复杂程度、施工周期和劳动力市场状况等因素。
2.材料费:材料费包括建筑材料、设备材料、辅助材料等。
材料费的构成主要包括原材料价格、运输费、采购费等。
材料费的多少取决于材料种类、质量、采购渠道和市场价格等因素。
3.施工设备使用费:施工设备使用费是指施工过程中使用的各类设备的租赁、购买、维修和保养等费用。
施工设备的使用对工程进度和质量有重要影响,因此设备费在直接费中占有较大比重。
4.施工临时设施费:施工临时设施包括施工现场的临时建筑、道路、水电等设施。
这些设施对于保证施工顺利进行、确保工程质量和安全具有重要意义。
临时设施费的构成主要包括设计费、建造费、租赁费和拆除费等。
三、各构成部分在建筑安装工程费用中的占比及影响因素人工费、材料费、施工设备使用费和施工临时设施费在建筑安装工程费用中的占比因项目类型、规模、地区和施工方法等因素而异。
一般来说,人工费和材料费在直接费中占比较大,施工设备使用费和施工临时设施费次之。
但在某些特殊情况下,如大型工程或技术含量较高的项目,施工设备使用费和施工临时设施费可能占比较大。
建安工程费包括:1、直接费:人工费,材料费,机械费,组织措施费,技术措施费;2、间接费:规费;3、利润;4、工程特殊费用;5、税费。
1.直接费,是指施工过程中耗费的构成工程实体和有助于工程形成的各项费用,包括人工费、材料费;施工机械使用费。
(1)人工费,是指直接从事建筑安装工程施工的生产工人开支的各项费用。
(2)材料费,是指施工过程中耗用的构成工程实体的主要材料、辅助材料、构配件、零件、半成品的费用和周转使用材料的摊销费用。
(3)施工机械使用费,是指使用施工机械作业所发生的机械使用费。
2.其他直接费,是指直接费以外施工过程中发生的其他费用,内容包括:(1)风雨季施工增加费,是指工程在风雨季期间施工,为保证工程质量,采取防雨、防风、防滑措施所增加的人工、材料、设施的费用及工效差等。
(2)夜间施工增加费,是指施工中正常工序搭接所必须的夜间施工照明设施费、工效降低和夜餐费。
(3)二次搬运费,是指构成工程的建筑安装材料、成品和半成品,由于运输道路无法直接运至工地或现场堆放条件所限而发生的二次搬运费。
(4)生产工具用具使用费,是指施工生产所需不属于固定资产的生产工具及检验用具等的购置、摊销和维修费,以及支付给工人自备工具补贴费。
(5)检验试验费,是指对建筑材料、构件和建筑安装物进行一般鉴定、检查所发生的费用,包括自设试验室进行试验所耗用的材料和化学药品等费用,以及技术革新和研究试制试验费。
(6)工程定位复测、工程点交、场地清理(指建筑物2米以内)等费用。
(7)特殊工种培训费。
3.现场经费,是指为施工准备、组织施工生产和管理所需费用,内容包括:(1)临时设施费,是指施工企业为进行建筑安装工程施工所必需的生活和生产用的临时建筑物、构筑物和其他临时设施费用等。
临时设施包括:临时宿舍、文化福利及公用事业房屋与构筑物,仓库、办公室加工房以及规定范围内道路、水、电、管线以及简易施工围墙等临时设施和小型临时设施。
临时设施费用内容包括:临时设计的搭设、维修、拆除或摊销费。
建设工程施工合同的建安费【合同名称】:XX项目建筑工程施工合同【甲方】:(业主单位全称)【乙方】:(施工单位全称)根据《中华人民共和国民法典》及相关法律法规的规定,甲乙双方本着平等自愿、诚实信用的原则,就XX项目的建设工程施工事宜,经友好协商,达成如下建安费支付协议:一、建安费的构成1. 直接费用:包括人工费、材料费、机械使用费等直接投入到建设工程中的成本。
2. 间接费用:涵盖施工现场管理费用、临时设施费用、安全生产费用等不直接投入生产但为保证施工正常进行所必须的费用。
3. 利润:乙方依据合同约定完成施工任务后所获得的收益。
4. 风险费用:为应对可能出现的风险和不确定因素设置的费用。
二、建安费的计算方式1. 根据工程量清单计价,按照国家及地方相关定额标准执行。
2. 如遇设计变更或工程量调整,建安费将根据实际发生的工作量相应增减。
三、建安费的支付条件与时间1. 预付款:甲方在合同签订后___天内支付建安费预付款,金额为建安费总额的___%。
2. 进度款:按照工程进度分批支付,具体支付节点和比例由双方另行约定。
3. 结算款:工程竣工验收合格后,根据实际完成的工程量进行最终结算。
四、违约责任若甲方未按约定时间支付建安费,应向乙方支付违约金;若乙方施工质量不符合要求,应负责无偿修复或赔偿损失。
五、其他条款1. 双方应严格遵守合同约定,任何一方不得擅自变更合同内容。
2. 因不可抗力导致不能履行或完全履行合同的,受影响一方应及时通知对方,并提供相应的证明材料,双方应根据实际情况协商解决。
3. 本合同自双方签字盖章之日起生效,至工程竣工验收合格并结清所有款项之日终止。
六、争议解决合同履行过程中发生争议,双方应首先通过友好协商解决;协商不成时,可依法申请仲裁或向人民法院提起诉讼。
本合同一式两份,甲乙双方各执一份,具有同等法律效力。
未尽事宜,双方可另行签订补充协议。
甲方代表(签字):___________ 日期:____年__月__日乙方代表(签字):___________ 日期:____年__月__日。
工程合同里建安费怎么算一、直接费用直接费用是构成建安费的基础部分,主要包括以下几个方面:1. 人工费:根据合同约定的工种、工资标准以及实际用工量计算。
2. 材料费:按照实际使用的材料品种、数量与单价相乘得出。
3. 机械使用费:依据施工所需机械的台班费用和使用时间进行计算。
二、间接费用间接费用则涉及到项目管理和保障的费用,一般包含以下内容:1. 管理费:包括了施工单位管理人员的工资、办公费、差旅交通费等。
2. 利润:施工单位预期获得的利润,通常以合同额的一定比例计算。
3. 风险费:针对可能出现的风险因素预留的费用,根据项目特点和风险评估结果确定。
4. 税金:根据国家相关税收政策规定应缴纳的税费。
三、建安费的计算公式建安费的具体计算可以采用以下公式:建安费= ∑(直接费用) + ∑(间接费用)其中,直接费用和间接费用的具体数额需要根据实际工程量清单、市场行情和管理要求来确定。
四、注意事项在计算建安费时,还应注意以下几点:1. 严格按照合同条款执行:所有费用的计算都必须严格遵循合同约定的条款。
2. 合理预算:确保各项费用的预算科学合理,避免因估算不准导致后期经济纠纷。
3. 透明公正:所有费用的计算过程和结果应当公开透明,保证双方的利益不受侵害。
4. 及时调整:面对市场价格波动等因素,应及时调整相关费用,确保建安费的真实性和合理性。
建安费的计算是一个涉及多个环节的复杂过程,它要求合同双方不仅要对工程本身有深入的了解,还要掌握相关的经济知识和市场动态。
通过上述范本,可以为工程项目的建安费计算提供一个基本的参考框架,帮助双方实现公平、合理的费用分配。