后张法预应力施工
- 格式:doc
- 大小:432.00 KB
- 文档页数:9
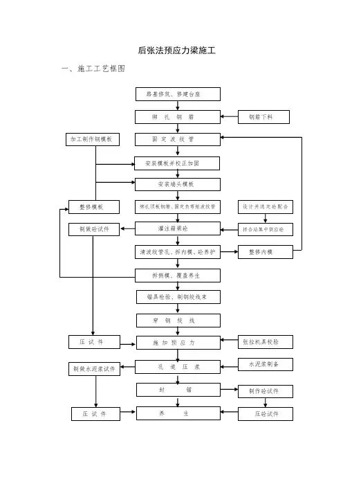
后张法预应力梁施工一、施工工艺框图二、主要工序施工说明本合同段桥梁工程上部结构为后张法预应力箱梁, 梁长分30米、20米两种。
为保证施工质量, 拟在各桥桥头路基上设置箱梁预制场, 采用预制场预制, 预制场的位置见施工总平面布置(表4)。
预制场用砼硬化, 同时修建砼台座, 箱梁在台座上预制。
预制场设龙门吊机两台, 负责吊装模板、灌注砼及移梁运梁。
1.模板:外模板采用定型加工组合钢模板, 在模板外侧安装附着式振动器, 以加强砼的振捣。
内模板采用竹胶板。
待所有钢筋、波纹管、预埋件就位后, 进行模板的支设, 并用对拉螺栓调整、加固。
模板加固时挂线调整,确保模板顺直。
2.钢筋及钢绞线: 在现场钢筋加工场加工制作, 在底模上就地绑扎, 先在台座上用石笔或墨线划出钢筋及波纹管定位骨架位置。
然后绑扎底板筋及骨架筋, 待波纹管固定就位后再绑扎其它钢筋。
钢筋笼底部及侧面设置砼垫块, 以确保钢筋的保护层厚度。
钢绞线的下料长度应通过计算确定, 计算时考虑孔道长度、穿心式千斤顶和锚夹具长度。
钢绞线的切断采用切断机或砂轮锯。
钢绞线切割时, 先在距切口30~50mm处用铁丝绑扎。
钢绞线编束时, 每隔1~1.5m绑扎一道铁丝, 丝扣向里, 绑扎好的钢丝束编号挂牌堆放。
3.波纹管:在骨架筋绑扎成型后, 开始固定波纹管。
波纹管按图纸所示坐标位置, 用U型钢筋卡固定牢固, 防止砼浇注时波纹管上浮。
模板就位前, 检查波纹管是否完好, 以防水泥浆进入管内。
波纹管与锚垫板、螺旋钢筋的衔接应处理好。
4.砼浇注及养护: 预制场地与搅拌站距离较近, 砼运输可采用机动翻斗车, 用龙门吊吊装入模灌注。
砼采用水平分层、一次浇注完成。
浇注砼应对称进行、用插入式震动器振捣密实, 同时辅以附着式震动器振捣。
砼浇注、振捣要随时注意内模及波纹管不移位。
板顶面砼应平整, 并按规范要求拉毛或刷毛。
砼浇注完成后, 立即用φ10钢筋检查波纹管有无堵塞现象, 发现问题及时处理。
后张法预应力施工要求1、预应力管道安装应符合下列要求:①管道应采用定位钢筋牢固的固定于设计位置。
②金属管道接头应采用套管连接,连接套管应采用大一个直径型号的同类管道,且应与金属管道封裹严密。
③管道应留压浆孔和溢浆孔;曲线孔道的波峰部位应留排气孔;在最低部位宜留排水孔。
④管道安装就位后应立即通孔检查,发现堵赛应及时疏通。
管道经检查合格后应立即将其端面封堵。
⑤管道安装后,需在其附近进行焊接作业时,必须对管道采取保护措施。
2、预应力筋安装应符合下列要求:①先穿束后浇混凝土时,筑之前,心须位查管道,并确认完好;浇筑混凝土时应定时抽动、转动预应力筋。
②先浇混凝土后穿束时,浇筑后成立即疏通管道,确保其畅通。
③混凝士采用蒸汽养护时,养护期内不得装入预应力筋。
④穿束后至孔道灌浆完成应控制在下列时间以内,否则应对预应力筋采取防锈措施:空气湿度大于70%或盐分过大时7d,空气湿度40%~70%时15d,空气湿度小于40%时20d。
⑤在预预应力附近进行电焊时,应对预应力钢筋采取保护措施。
3、预应力筋张拉应符合下列要求:①混凝土强度应符合设计要求;设计未规定时,不得低于设计强度的75%。
且应将限制位移的模板拆除后,方可进行张拉。
②预应力筋张拉端的设置,应符合设计要求;③张拉前应根据设计要求对孔道的摩阻损失进行实测,以便确定张拉控制应力,并确定预应力筋的理论伸长值。
④预应力筋的张拉顺序应符合设计要求;当设计无规定时,可采取分批、分阶段对称张拉,宜先中间,后上、下或两侧。
⑤预应力筋张拉程序应符合设计规定。
4、张拉控制应力达到稳定后方可锚固,预应力筋锚固后的外露长度不宜小于30mm,锚具应采用封端混凝土保护,当需较长时同外露时,应采取防锈蚀措施。
锚固完毕经检验合格后,方可切割端头多余的顶应力筋,严禁使用电孤焊切割。
5、预应力筋张拉后,应及时进行孔道压浆,多跨连续有连接器的预应力筋孔道,应张拉完一段灌注一段。
孔道压浆宜采用水泥浆,水泥浆的强度应符合设计要求。
后张法预应力梁施工在现代建筑工程中,后张法预应力梁凭借其出色的承载能力和结构性能,得到了广泛的应用。
后张法预应力梁施工是一项复杂而精细的工作,需要严格遵循施工流程和技术要求,以确保工程质量和结构安全。
一、施工准备在进行后张法预应力梁施工之前,需要做好充分的准备工作。
首先是设计图纸的审核,施工人员要仔细研究图纸,理解设计意图,明确预应力梁的规格、尺寸、预应力筋的布置等关键信息。
其次,要准备好施工所需的材料和设备。
材料方面,包括高强度预应力筋(如钢绞线)、锚具、波纹管等,这些材料必须符合相关标准和设计要求,具备质量合格证明。
设备方面,如千斤顶、油泵、压浆机等,要提前进行调试和检验,确保其性能稳定可靠。
施工现场的准备也至关重要。
要清理场地,保证施工道路畅通,为材料运输和设备安置提供便利。
同时,搭建好施工所需的临时设施,如仓库、加工棚等。
二、模板与支架安装模板安装是施工的第一步。
模板应具有足够的强度、刚度和稳定性,能够承受混凝土浇筑和振捣过程中的压力和冲击力。
模板表面要平整光滑,以保证梁体的外观质量。
对于预应力梁,通常采用定型钢模板或竹胶板。
支架的安装要根据梁体的重量、施工荷载以及地基情况进行设计和计算。
支架要牢固可靠,能够承受施工过程中的各种荷载,并且要进行预压,以消除非弹性变形,确保梁体在浇筑后的线型符合设计要求。
三、钢筋绑扎在模板和支架安装完成后,进行钢筋的绑扎。
钢筋的规格、型号、数量和间距要严格按照设计图纸进行布置。
对于普通钢筋,要注意钢筋的连接方式和接头位置,保证连接牢固,接头位置符合规范要求。
在钢筋绑扎过程中,要特别注意预应力筋的预留管道位置。
预留管道通常采用波纹管,其位置要准确无误,定位钢筋要牢固可靠,以防止在混凝土浇筑过程中管道移位或变形。
四、预应力筋制作与穿束预应力筋一般采用高强度钢绞线,其制作要在专门的场地进行。
根据设计长度进行下料,切割时采用砂轮切割机,严禁采用电弧切割,以防止损伤钢绞线。
后张法预应力施工技术预应力施工是一种常用的加固和改善混凝土结构的方法。
其中,后张法预应力施工技术作为一种高效且可靠的施工方法,得到了广泛应用。
本文将就后张法预应力施工技术的定义、原理、施工过程及其在工程实践中的应用进行探讨。
1. 后张法预应力施工技术的定义后张法预应力施工技术是在混凝土结构完全浇筑固化后,再施加预应力的一种方法。
与传统的预应力施工技术相比,后张法采用了不同的施工顺序,即先浇筑混凝土结构,再施加预应力。
这种施工方法的优点在于可以防止混凝土浇筑时的收缩和温度影响,减少混凝土的开裂和变形。
2. 后张法预应力施工技术的原理后张法预应力施工技术基于混凝土的力学性质和预应力的应用原理。
在混凝土固化后,其内应力已经减小到很小的程度,此时施加的预应力可以更有效地控制结构的变形和裂缝的产生。
同时,后张法预应力施工技术还可以通过调整钢束的位置和应力大小,对结构进行局部加固和调整,提高结构的整体性能。
3. 后张法预应力施工技术的施工过程后张法预应力施工技术的施工过程可以分为三个主要步骤:钢筋配置、预应力施加和锚固。
首先,在混凝土结构内部设置预埋钢筋,在预定位置安装张拉器和锚具,然后进行钢束张拉和锚固,施加预应力。
最后,进行张拉钢束的放松和灌浆,保证预应力的传递和固定。
4. 后张法预应力施工技术在工程实践中的应用后张法预应力施工技术在各类混凝土结构加固和施工中得到了广泛应用。
首先,在桥梁工程中,后张法预应力施工技术可以有效地增加桥梁的承载能力,减少结构的变形和开裂,提高桥梁的使用寿命。
其次,后张法预应力施工技术还可以应用于建筑物的墙体和柱子的施工,提高结构的整体稳定性和抗震性能。
此外,后张法预应力施工技术还可以用于隧道、坝体等大型工程结构的施工和加固。
总结:后张法预应力施工技术作为一种高效且可靠的施工方法,通过在混凝土结构完全浇筑固化后施加预应力,可以有效地减少混凝土的开裂和变形,提高结构的整体性能。
在桥梁、建筑物和大型工程结构等领域,后张法预应力施工技术的应用已经取得了显著的成果,并得到了广泛认可。
后张法预应力混凝土施工工艺在现代建筑工程中,后张法预应力混凝土施工工艺因其能够显著提高混凝土结构的承载能力、抗裂性能和耐久性,而得到了广泛的应用。
接下来,让我们一起深入了解这一重要的施工工艺。
一、后张法预应力混凝土施工的原理后张法预应力混凝土是指先浇筑混凝土构件,待混凝土达到一定强度后,在构件预留的孔道中穿入预应力筋,然后利用张拉设备对预应力筋进行张拉,使其产生预应力,最后用锚具将预应力筋锚固在构件上,使混凝土获得预压应力。
这种施工工艺的核心在于通过预应力筋的张拉,预先给混凝土施加压力,从而抵消混凝土在使用过程中可能承受的拉应力,提高混凝土构件的性能。
二、施工准备1、材料准备预应力筋:常用的预应力筋有高强度钢丝、钢绞线和精轧螺纹钢筋等,应根据工程设计要求选择合适的规格和型号,并确保其质量符合相关标准。
锚具:锚具是将预应力筋锚固在混凝土构件上的关键部件,常见的锚具有夹片式锚具、支承式锚具和锥塞式锚具等,同样需要满足设计要求和质量标准。
混凝土:混凝土的强度等级和性能应符合设计要求,一般采用高强度等级的混凝土。
2、设备准备张拉设备:包括千斤顶、油泵和油压表等,应根据预应力筋的规格和张拉力大小选择合适的张拉设备,并定期进行校验和维护。
灌浆设备:用于预应力筋孔道的灌浆,包括灌浆泵、搅拌机等。
3、技术准备施工图纸会审:仔细审查施工图纸,确保施工人员理解设计意图和施工要求。
编制施工方案:根据工程特点和设计要求,编制详细的施工方案,包括施工工艺流程、质量控制要点、安全措施等。
技术交底:对施工人员进行技术交底,使其掌握施工工艺和操作要点。
三、预留孔道预留孔道是后张法预应力混凝土施工中的关键环节,其质量直接影响到预应力筋的张拉和灌浆效果。
1、孔道成型方法钢管抽芯法:适用于直线孔道。
在浇筑混凝土前,将钢管埋入混凝土中,待混凝土初凝后、终凝前抽出钢管,形成孔道。
胶管抽芯法:适用于曲线孔道。
将胶管埋入混凝土中,待混凝土达到一定强度后,通过充气或放气的方式将胶管抽出,形成孔道。
后张法预应力施工方案1. 引言后张法预应力施工是一种常见的预应力施工方法,适用于各种混凝土结构的预应力加固和加强。
本文将详细介绍后张法预应力施工方案的基本原理、施工步骤、注意事项等内容,旨在帮助读者了解和掌握后张法预应力施工的要点。
2. 后张法预应力施工原理后张法预应力施工是通过在混凝土结构中设置预应力拉杆,通过对拉杆进行张拉,产生预压力,从而使混凝土结构在使用荷载下具有更好的抗弯和抗剪能力。
其基本原理如下:•预应力拉杆安装:根据设计要求,在混凝土结构中预留拉杆孔,将预应力拉杆穿过孔洞,一端固定在结构中,另一端留出伸出长度。
•拉杆张拉:使用张拉设备对拉杆进行拉伸,产生预压力,将混凝土结构拉伸,增加其抗弯和承载能力。
•固定和锚固:在拉杆拉伸到设计要求的预应力力值后,用锚具或锚板进行固定和锚固,将预应力力传递到混凝土结构上。
•预应力力的作用:预应力力的作用使混凝土结构在使用荷载下产生压应力,提高结构的抗弯和抗剪能力,实现结构的加固和加强。
3. 后张法预应力施工步骤后张法预应力施工包括以下主要步骤:3.1 结构检查和准备在进行后张法预应力施工之前,首先对混凝土结构进行检查,确保其结构完好,没有损坏或缺陷。
对需要加固和加强的部位进行特别关注,检查是否存在裂缝、变形等问题。
在检查的基础上,制定详细的施工计划和安全措施,并准备所需的材料和设备。
3.2 预应力孔的设置根据设计要求,在混凝土结构中设置预应力孔洞,一般采用钻孔或预留孔的方式进行。
预应力孔的位置和数量应根据结构需要进行合理确定。
3.3 预应力拉杆的安装在预应力孔洞中穿过预应力拉杆,将拉杆的一端固定在结构中。
拉杆的选择应根据设计要求和结构的负荷情况进行合理选择,确保拉杆具有足够的强度和刚度。
3.4 拉杆的张拉使用专用的张拉设备对拉杆进行拉伸,产生预压力,使混凝土结构发生拉伸变形。
拉杆的拉伸应按照设计要求的预应力力值进行,同时要注意拉杆的张拉速度和控制。
后张法预应力施工技术一、引言预应力混凝土结构在现代建筑工程中得到广泛应用,它具有优良的承载能力和耐久性。
而后张法预应力施工技术作为一种先进的施工方法,在提高结构性能、减少工期等方面有着独特的优势。
本文将从后张法预应力施工技术的基本原理、施工流程、应用案例等方面进行探讨。
二、基本原理后张法预应力施工技术是在混凝土构件设置预应力钢筋后,通过拉伸预应力钢筋以产生预应力。
相较于传统的先张法预应力施工技术,后张法预应力施工技术的拉力施加在浇筑后的混凝土上,能够更好地适应混凝土的收缩和蠕变变形,从而提高结构的整体性能。
三、施工流程1. 钢筋加工与预应力筋布置在施工前,需要对预应力筋进行加工,并根据设计要求进行布置。
预应力筋的布置应符合设计图纸和相关规范要求,保证其数量、位置和张拉方式的准确性。
2. 模板安装与混凝土浇筑按照预定的结构尺寸和形状进行模板的安装,并进行混凝土的浇筑。
在浇筑过程中,应注意混凝土的均匀性和密实性,以保证后续的钢筋张拉工作的可行性。
3. 钢筋张拉与固定混凝土的强度达到设计要求后,开始进行钢筋的张拉工作。
张拉过程中,应使用专用的张拉设备和工具,按照设计要求施加预定的力值,并固定钢筋。
4. 压浆与保护钢筋固定后,需要进行压浆和保护层的施工。
压浆能够有效填充混凝土与钢筋之间的空隙,提高预应力筋的粘结性能。
保护层的施工能够保护预应力筋不受外界环境的侵蚀,延长结构的使用寿命。
四、应用案例后张法预应力施工技术在实际工程中得到了广泛应用。
以某高层建筑结构为例,通过采用后张法预应力施工技术,结构的整体性能得到显著提升。
在施工中,该技术能够更好地适应结构的变形,提高抗震性能和整体刚度。
五、结论后张法预应力施工技术作为一种先进的施工方法,具有较大的发展潜力。
在实际应用中,通过合理的施工流程和技术操作,能够有效提高预应力混凝土结构的性能,满足工程的设计要求。
但同时也需要注意施工中的细节控制和质量保证,以确保施工效果的可靠性和安全性。
后张法预应力施工要点在建筑工程中,后张法预应力施工可谓是个大明星,怎么说呢?这玩意儿就像是给混凝土穿上了一件防弹衣,把它的承载能力和抗裂性给提升得飞起!那么,今天咱们就来聊聊后张法的那些事儿,听起来是不是有点意思?1. 什么是后张法?后张法,这个名字听起来是不是有点高深?其实啊,就是一个很简单的施工方法。
想象一下,你在做一个拉面,刚开始的时候,面团是松松垮垮的,但你如果用劲儿把它拉紧,那不是就变得更有劲了吗?同理,后张法就是在混凝土硬化之后,再通过钢筋拉紧,给它“打打气”,让它更加结实耐用。
1.1. 原理大揭秘原理嘛,其实也不复杂!简单来说,先把钢丝或钢绞线放到混凝土里,然后等混凝土硬化了,最后把这些钢筋拉紧,形成一个预应力状态。
你可以理解为,混凝土和钢筋一起开个“抱团”,互相支撑,才不怕风吹雨打。
想想看,要是你也有这么一个“搭档”来扶持你,是不是无比安心呢?1.2. 优点多多后张法的优点可真不少!首先,它大大降低了混凝土的裂缝风险。
咱们都知道,混凝土一旦开裂,那可真是让人心头一紧。
其次,它能让梁、板变得更薄,节省材料,省钱更省心!最后,由于预应力的作用,建筑的使用寿命也被延长,简直是“长命百岁”的节奏啊!2. 施工要点说到施工,咱们不得不严肃起来。
这可是要掌握一些要点的,不然可就像一锅糊涂粥,大家都不想吃对吧?2.1. 材料选择首先,材料的选择得走心。
比如说,钢筋的质量一定要过关,像是“金子”一样的硬,才能把后张法的优势发挥到极致。
同时,混凝土的配合比也得精细,太稀了不结实,太干了又难施工。
就像做饭,火候掌握得当,味道才好嘛!2.2. 施工工艺在施工过程中,首先得做好放线。
这就有点像是给自己画个轮廓线,不能扭扭捏捏。
紧接着,把预应力筋的布置方案确定好,就像是给混凝土穿上合身的衣服,让它更显气质。
然后,再进行张拉——这个过程可是个技术活儿,得仔细揣摩,确保张拉力符合标准。
别到最后“马虎”了,惹出笑话来,那可就不好了!3. 施工后的注意事项施工完成后,也不能手忙脚乱哦,还得有后续的维护工作。
后张法预应力张拉施工技术1. 概述后张法预应力张拉施工技术是指在混凝土构件硬化后,通过张拉预应力钢筋并将其锚固于构件上,以提前施加应力,从而提高构件的承载能力和抗裂性能的一种施工方法。
该技术广泛应用于桥梁、建筑、隧道、板梁等工程中。
2. 施工准备2.1 材料准备:预应力钢筋、锚具、夹具、油泵、千斤顶、压力表、钢绞线等。
2.2 设备准备:张拉设备、锚固设备、切割设备、运输设备等。
2.3 技术准备:了解和熟悉预应力张拉施工的相关规范、图纸、工艺流程等。
2.4 现场准备:清理施工现场,设置安全警示标志,搭设张拉操作平台。
3. 施工工艺3.1 预应力钢筋加工1)钢筋下料:根据设计要求,采用砂轮锯切割预应力钢筋。
2)钢筋校直:使用调直机将预应力钢筋校直。
3)钢筋切断:按需要长度使用切断机或手动切割工具进行切断。
3.2 预应力钢筋张拉1)预应力钢筋的张拉顺序应按照设计要求进行。
2)使用油泵和千斤顶配合,进行预应力钢筋的张拉。
3)在张拉过程中,应控制张拉速度,避免速度过快导致构件损坏。
4)达到设计张拉力后,持荷一段时间,确保预应力钢筋与混凝土之间的粘结力达到要求。
5)在预应力钢筋张拉到设计值后,立即进行锚固。
6)锚固方法应根据锚具的类型进行,确保预应力钢筋与锚具连接牢固。
7)锚固后,对预应力钢筋进行标记,以便检查和维护。
4. 施工质量控制4.1 材料质量控制:确保原材料的质量符合国家相关标准。
4.2 施工过程控制:严格遵循施工工艺,确保施工过程中的质量。
4.3 质量检测:对施工过程和完成后进行质量检测,确保施工质量符合设计要求。
5. 安全施工5.1 施工现场应设置安全警示标志,提醒施工人员注意安全。
5.2 张拉设备应定期进行检查和维护,确保设备安全可靠。
5.3 张拉操作平台上应设置防护栏杆,防止施工人员意外坠落。
6. 环境保护6.1 施工过程中,应采取措施减少噪声、粉尘、废水等对环境的影响。
6.2 妥善处理废料,避免对环境造成污染。
后张法预应力施工工艺一、后张法预应力施工工艺的原理后张法预应力施工是指先浇筑混凝土构件,待混凝土达到设计强度后,在构件预留的孔道中穿入预应力筋,然后利用张拉设备对预应力筋进行张拉并锚固,从而在混凝土构件中建立起预压应力的施工方法。
其原理在于通过对预应力筋施加拉力,使混凝土构件在承受外荷载之前预先受到压应力。
当构件承受外荷载时,首先抵消预压应力,从而推迟裂缝的出现,提高构件的承载能力和抗裂性能。
二、后张法预应力施工工艺流程1、预留孔道根据设计要求,在浇筑混凝土前,在构件中预留出预应力筋孔道。
孔道的形状可以是直线形、曲线形或折线形,常用的预留方法有预埋波纹管法、钢管抽芯法和胶管抽芯法等。
预埋波纹管法是将波纹管直接埋设在构件中,具有施工方便、孔道成型质量好等优点;钢管抽芯法是在混凝土浇筑后,抽出预埋的钢管形成孔道,适用于直线孔道;胶管抽芯法是利用充水或充气的胶管在混凝土凝固后抽出形成孔道,适用于曲线孔道。
2、穿束待混凝土构件达到设计强度的 75%以上时,将预应力筋穿入预留孔道。
预应力筋可以是钢绞线、钢丝束或螺纹钢筋等。
穿束前应检查孔道是否通畅,有无杂物堵塞。
对于较长的孔道,可以采用先穿束后浇筑混凝土的方法,也可以在混凝土浇筑后采用牵引法穿束。
3、张拉采用专门的张拉设备对预应力筋进行张拉。
张拉顺序应符合设计要求,一般遵循对称、均匀的原则,以避免构件产生过大的偏心受压。
张拉控制应力应根据设计要求和规范确定,通常为预应力筋强度标准值的 075 倍左右。
在张拉过程中,应实时监测预应力筋的伸长值,与理论伸长值进行对比,以判断张拉是否正常。
4、锚固当预应力筋张拉到设计控制应力后,用锚具将其锚固在构件端部。
常用的锚具有夹片式锚具、支承式锚具和锥塞式锚具等。
锚固完成后,应及时切除多余的预应力筋,并对锚具进行防护处理,以防止锚具锈蚀。
5、孔道压浆张拉锚固完成后,应尽快进行孔道压浆。
压浆的目的是填充孔道,防止预应力筋锈蚀,并使预应力筋与混凝土共同工作。
后张法预应力混凝土施工在现代建筑工程中,后张法预应力混凝土施工技术因其显著的优势而得到了广泛的应用。
这种技术能够有效地提高混凝土结构的承载能力、抗裂性能和耐久性,适用于大跨度、重载的建筑结构,如桥梁、大型厂房等。
一、后张法预应力混凝土施工的原理后张法预应力混凝土施工是先浇筑混凝土构件,待混凝土达到一定强度后,在构件预留的孔道中穿入预应力筋,然后利用张拉设备张拉预应力筋,使其产生预压应力。
最后,用锚具将预应力筋锚固在构件上,在预应力筋的两端形成永久性的锚固力,从而使混凝土构件在使用阶段能够承受更大的荷载。
二、施工前的准备工作1、材料准备预应力筋:常用的预应力筋有高强度钢丝、钢绞线和精轧螺纹钢筋等。
预应力筋的质量应符合国家标准和设计要求,具有足够的强度、韧性和良好的可加工性。
锚具:锚具是将预应力筋锚固在混凝土构件上的重要部件,应根据预应力筋的种类和规格选择合适的锚具,并确保锚具的质量和性能符合要求。
混凝土:混凝土的强度等级应符合设计要求,其配合比应经过试验确定,以保证混凝土具有良好的工作性能和力学性能。
2、技术准备施工图纸会审:施工前应对施工图纸进行会审,熟悉设计意图和施工要求,发现问题及时与设计单位沟通解决。
施工方案编制:根据工程特点和施工要求,编制详细的施工方案,包括施工工艺流程、质量控制要点、安全保障措施等。
技术交底:对施工人员进行技术交底,使其了解施工工艺和质量要求,掌握施工操作要点。
3、施工现场准备场地平整:对施工现场进行平整,保证施工场地坚实、平整,排水良好。
搭建临时设施:搭建施工所需的临时设施,如仓库、办公室、休息室等。
安装施工设备:安装张拉设备、压浆设备等施工设备,并进行调试和校验,确保设备正常运行。
三、预留孔道的制作预留孔道的质量直接影响预应力筋的张拉效果和混凝土构件的质量。
预留孔道的形状有直线形、曲线形和折线形等,常用的预留孔道方法有预埋波纹管法、预埋钢管法和抽芯法等。
1、预埋波纹管法波纹管的选择:波纹管应选用具有一定强度和柔韧性、耐腐蚀、密封性好的材料制作。
后张法预应力施工在建筑工程领域,后张法预应力施工是一项重要且应用广泛的技术。
它能够显著提高结构的承载能力、抗裂性能和耐久性,为各种大型、复杂的建筑结构提供了可靠的解决方案。
后张法预应力施工的基本原理是在混凝土构件浇筑成型并达到一定强度后,通过在预留的孔道中穿入预应力筋,并利用张拉设备对预应力筋进行张拉,然后用锚具将预应力筋锚固在构件端部,从而在混凝土中建立起预压应力。
首先,让我们来了解一下后张法预应力施工所需要的材料和设备。
预应力筋是后张法施工中的关键材料,常见的有钢绞线、钢丝束和精轧螺纹钢筋等。
钢绞线具有强度高、柔韧性好等优点,是目前应用最为广泛的预应力筋材料。
在选择预应力筋时,需要根据工程的具体要求,考虑其强度、直径、松弛性能等因素。
锚具也是不可或缺的重要部件,它用于将预应力筋固定在混凝土构件上。
常见的锚具有夹片式锚具、支承式锚具和锥塞式锚具等。
锚具的性能直接影响到预应力的施加效果和结构的安全性,因此必须满足强度、锚固性能等方面的要求。
此外,还需要用到预留孔道的材料,如金属波纹管和塑料波纹管。
金属波纹管具有良好的密封性和抗压性能,而塑料波纹管则具有耐腐蚀、重量轻等优点。
施工设备方面,主要包括张拉设备和压浆设备。
张拉设备用于对预应力筋进行张拉,常见的有千斤顶和油泵。
千斤顶的类型和规格应根据预应力筋的种类和张拉力大小进行选择。
压浆设备则用于向预留孔道中压注水泥浆,以保护预应力筋并提高其与混凝土的粘结性能。
在进行后张法预应力施工前,需要做好充分的准备工作。
一是要进行施工图纸的会审,确保施工人员对设计意图有清晰的理解,明确预应力筋的布置、张拉顺序和控制应力等要求。
二是要编制详细的施工方案,包括施工工艺流程、质量控制要点、安全措施等内容。
三是要准备好施工所需的材料和设备,并对其进行检验和调试,确保其性能符合要求。
接下来,详细介绍一下施工的主要工艺流程。
第一步是预留孔道。
在浇筑混凝土构件时,按照设计要求预留出孔道的位置。
浅谈后张法预应力施工————————————————————————————————作者:————————————————————————————————日期:浅谈后张法预应力施工( 1.上海ⅩⅩ建设监理有限公司,上海20000;)摘要:随着经济的快速发展,城市建筑逐渐向着”高、大、广”的方向发展,普通的钢筋混凝土结构已经无法适应现代建筑的发展,许多新的施工工艺应运而生,比如:钢结构工程、预应力工程。
其中的预应力工程发展在新工艺中的优势尤为突出,它有着普通钢筋混凝土有之而不及的优势,但是预应力施工也存在这一些问题:1、施工工艺较普通钢筋混凝土来说更加复杂;2、对于施工质量要求这一块来说较普通混凝土也更加严格。
本文通过对现场实际预应力工程施工经验,将预应力工艺和所碰到的问题逐一列出,便于大家更为全面的了解后张法预应力工程。
【关键词】:预应力工程;后张法;高强度;钢绞线1.预应力工程概况百联综合体项目位于崇明区城桥镇,总用地面积114551m2,总建筑面积23471m2。
项目工程是以“田园都市”为理念指导将其打造成为崇明当地特色商业街区。
由于综合体项目结构复杂,部分梁的悬挑长度过长、跨度和截面(800×1200、600×1200、800×1500)过大,普通混凝土结构已无法满足相应力学要求,经设计确认后部分框架主梁中布置采用有粘结预应力钢绞线。
设计说明预应力筋采用1860MPa级、φs15.20低松弛应力钢绞线;孔道材料均采用金属波纹管,孔道布置图见下图1.1所示。
图1.1 孔道布置示意图(大跨度梁)1.1预应力的原理在预应力混凝土构件中,—般是通过张拉钢绞线来给混凝土施加较强的压应力,而此时钢绞线由于自身的特性可以承受高强度的拉应力,这时候的预应力混凝土可以更好地发挥钢绞线与砼自身的优势,能有效提高钢筋和砼的整体刚度以及砼的抗裂性。
1.2预应力节点构造总结工程图纸中各种节点形式,现将典型节点分列如下:1.有粘结预应力筋内置式张拉端(如图1.2.1所示)及加腋做法(如图1.2.2所示)图1.2.1有粘结预应力筋束内置式张拉端做法图1.2.2有粘结预应力筋束加腋张拉端做法2.梁有粘结预应力筋固定端节点(图1.2.3所示):图1.2.3有粘结预应力筋固定端做法2预应力施工的工艺2.1 预应力施工主要技术要点针对本工程的预应力布置及应力结构设计方案,提出以下几点技术要点:2.1.1下料下料是整个预应力工程施工的首要工作,对此我们要做好以下几个步骤:1、首先要对图纸中标明的钢绞线的品种规格熟悉,同时进场时要做好复检。
2、钢绞线在进场时进行的表观检查要注意材料表面不得有损伤。
3、下料时是要充分考虑到各方面因素影响(曲线段长度、弹性内缩值、张拉机具等),避免下料造成困扰。
4、主要原材料露天堆放的时候,必须覆盖塑料薄膜防止雨淋,同时下面应加垫木进行保护,尽量保证不与地面接触。
2.1.2 有粘结预应力的铺束1.严格按照“平行顺直”这个要求来铺设,以减少张拉时的摩擦力损失并保证张拉后应力能够达到设计要求;2.波纹管的安装需要多工种的密切配合进行才能达到最佳效果。
首先在梁的模板安装时,预留梁模板的一边不安装,为的是方便定位波纹管[2]的矢高,同时预应力用的波纹管在布设中,两根波纹管连接的地方用胶带缠绕密实,以保证后续工作时不造成接口处进浆,从而影响后序施工。
2.1.3 预应力束固定端、张拉端处理1.预应力锚具在张拉端和固定端处都应该安放聚苯塑料块,它的作用在于保证锚具不突出结构面以外。
2.端部涉及到与预应力工程相碰的钢筋及管线都应尽量为预应力的布设而让路。
2.1.4、混凝土浇筑预应力孔道的检查应放于砼浇筑之前。
主要检查孔道的完整性,应当特别注意孔道接头处、排气孔、张拉端处、喇叭口等重要部位的密封。
常见处理方式分为:张拉端用棉丝密封灌浆孔,固定端用棉纱封堵死。
2.1.5 预应力张拉1.预应力筋张拉时,结构砼强度必须达到设计要求,当设计无要求时,根据相关规范规定,砼强度不应砼强度标准值的小于75%。
2.张拉机具在张拉前必须送检验机构对千斤顶和油表进行配套检测,同时为了确保机具处于可使用状态,在使用前要做好试运行工作。
3.锚具的检查。
锚环、夹片、承压板、螺旋筋等部分共同构成了锚具这一体系。
我们要对进场的锚具做下列三项检测:(1)外观检查。
(2)硬度检验。
(3)静载锚固性能试验。
4.张拉程序和方式要符合设计要求。
通常预应力筋张拉方式有一端张拉、两端张拉、分批张拉、分阶段张拉、分段张拉、补偿张拉等方式。
张拉顺序采用对称张拉原则;对于平卧重叠构件,张拉顺序宜先上后下逐层进行,并采取每层对称张拉原则。
5.若预应力砼构件遇有孔洞、露筋、管道串通、裂缝及构件端支承板变形、板面与管道中心不垂直等缺陷,均应采取有效措施进行处理,达到设计要求后才能进行预应力筋的张拉。
6.张拉作业。
张拉作业作为预应力施工最为重要的一个环节,我们必须遵循“张拉力油压表控制为主,理论伸长值作为重要参考依据”这一原则。
本工程张拉控制应力由计算可知为1395Mpa,实测伸长值与理论计算伸长值的偏差应在5%范围之内,现场测出伸长值不在该范围之内时应立刻停止张拉这道工序,找出问题所在同时采用对应的措施处理之后再进行张拉工作。
预应力筋张拉和放松时,应认真填写张拉记录表。
2.1.6 预应力孔道灌浆灌浆要求1)预应力筋张拉完毕后应及时进行孔道灌浆,宜用52.5级硅酸盐水泥或普通硅酸盐水泥调制的水泥浆灌浆,水胶比不应大于0.45,强度不应小于30N/mm2。
2)水泥浆搅拌过程应控制在2-4分钟这个范围内。
用专用的搅拌筒搅拌器来制备水泥浆。
灌浆只能一个方向进行,水泥浆的有效时间不得超过半个小时。
3)灌浆应遵循从下往上这个原则来进行,其目的是避免漏浆堵塞临近孔道。
4)压力灌浆完成后必须进行重力补浆这道工序。
灌浆两天后再检查排气孔和灌浆孔里水泥浆标高是否在结构面以上,由此检验补浆的效果。
5)灌浆过程中,应按照规定留置70.7mm立方体水泥净浆试块,一组标养,一组同条件养护。
2.1.7 封端保护锚固区务必保证密封,严禁有水汽进入,否则会导致钢绞线锈蚀。
为此可进行下列处理:1.砂轮切除或割除过长的钢绞线。
2.外露的钢绞线必须涂专用防腐油脂并罩上封端塑料罩做封闭处理。
3.用高一级的混凝土封堵张拉端,其中砼中不得含有氯离子的外加剂。
3.预应力施工常见问题1.梁内穿设塑料波纹管和预应力束(1)在绑扎柱子钢筋的时候,应给预应力孔道留出相应的不小于10cm的空挡,以使预应力波纹管能穿过。
绑扎梁普通钢筋腰筋好了之后,可以开始波纹管的铺设,波纹管布设完毕以后才能挂拉钩。
钢绞线是连续的不能断开再接的,故要求预应力梁要整条梁扎通。
(注:由于梁截面较大,为了确保顺利且准确安装预应力定位支架,特别强调在进行预应力梁施工时要预先将梁两侧模板空出。
梁端头的柱模板待钢绞线布设完成后再行支设。
)(2)施工人员在绑扎普通钢筋时应先绑扎预应力梁,绑梁时先绑扎梁主筋、箍筋和腰筋,拉钩筋应待波纹管穿设完成并初步定位后再进行绑扎,梁二排钢筋必须绑扎到位以保证波纹管的矢高。
需要引起重视的是矢高尺寸的取值,其值应为梁的下表面至钢绞线中心的距离。
定位钢筋依据钢绞线的规格大小从而采用Φ10,同时定位钢筋之间的间距应不大于1000mm。
包括与安装的管道位置冲突,各工种要相互配合,保护好成品。
(3)所有预应力束的波峰点全部安装了盖瓦和PVC管,施工时进行混凝土灌注和振捣过程中严禁损坏排气管或将排气管拔出,否则会对张拉端灌浆会造成特别大的困扰。
图7. 波纹管开孔示意图、固定端排气管示意图(4)现场严禁随意切割外伸部分钢绞线(属张拉操作长度范围),钢绞线严禁电焊、氧割。
气割或焊接所产生的焊接火花和接地电流会使钢绞线性能会发生突变,在张拉时很可能出现被拉断的情况。
(5)在安装辅助聚苯板过程中,施工人员见到此聚苯板后切不可随意将其取出或破坏,加腋钢筋绑扎时不要穿到聚苯板里去,否则也会影响正常的预应力施工。
2.灌浆1)钢绞线外露长度不宜过长,30-50mm即可,同时要用阀门做好所有张拉端的密封工作,以防水泥浆外溢,以免对后道灌浆的工序造成影响。
2)灌浆进行到排气管冒出浓浆后方可堵塞该处排气孔。
若排气管不通畅,必须通知结构工程师和监理到现场检查原因,商量此时的对策,通常情况是采用电锤钻孔,直至打通波纹管,使得排气管通畅。
3.主体结构浇筑砼1)本工程预应力孔道选用塑料波纹管,此管的特点是轻、薄,怕热,钢筋绑扎、电焊、氧割等施工时,在浇筑混凝土时,要特别重点注意。
振捣棒不得触碰预应力孔道,要尽量保证孔道的完好无损,防止波纹管遭到破坏进而导致砼水泥浆进入孔道。
一旦浆体进入预应力孔道,将来会因浆体凝固而直接堵塞波纹管,导致无法进行正常张拉和灌浆,由此会造成不必要麻烦和损失。
2)在浇筑砼时还要注意砼应浇捣密实、防止漏振。
预应力筋的张拉效果与承压垫板后面浇筑的砼的密实度有着直接联系,若发现张拉端垫板周围的砼振捣不密实而出现空鼓或蜂窝麻面等现象时坚决禁止张拉。
4.张拉预应力筋在张拉过程中,原则上不能发生断丝这种情况,若发生这种情况应及时停止张拉工作并上报工程师做进一步定夺。
如有个别夹片失效从而造成钢绞线的回缩,应考虑更换夹片后重新进行张拉工作。
4.结论通过该工程我们可以了解到预应力砼存在一些施工难点和质量控制要点,也通过该工程我们发现了预应力工程有以下几个优点:1.预应力混凝土能充分发挥钢筋和混凝土的特性,能更好地发挥钢绞线与砼自身优势,从而才能提高整体的刚度、抗裂性。
2.与混凝土要有较好的粘结力。
3.有足够的塑性和良好的加工性能。
4.充分利用高强度钢绞线来替代钢筋,它的强度得到很大的改善;5.结构的体积改观明显,从工程的费用方面得到极大的改观;6.结构自身的荷载减轻,从而对结构整体寿命起到了帮助作用。
5.参考文献[1]李学斌. 预制节段拼装体外预应力混凝土箱梁受力特性研究[D].铁道部科学研究院,2003.[2]王安建. 桥梁后张预应力施工方法探讨[J]. 河南科技,2013,16:149.[3]王增春,南建林,王锋. CFRP增强木梁的预应力施工方法[J]. 施工技术,2006,10:73-75.[4]汪向良,朱大海. 预应力锚索桩板墙施工方法及质量控制要点[J]. 中国西部科技,2011,07:34-36.[5]慕光波,王连广,姜磊. 横张预应力钢骨混凝土梁施工方法与承载力计算[A]. 中国钢结构协会钢-混凝土组合结构分会.中国钢协钢-混凝土组合结构分会第十一次年会论文集[C].中国钢结构协会钢-混凝土组合结构分会:,2007:4.[6]毕庆波. 市政桥梁工程钢筋预应力混凝土箱梁施工方法研究[J]. 城市建筑,2012,17:208+211.。