企业名称争议裁决(行政裁决)对外受理流程图
- 格式:doc
- 大小:33.50 KB
- 文档页数:1
企业名称登记管理实施办法(征求意见稿)第一条为了规范企业名称登记管理,保护企业的合法权益,根据《企业名称登记管理规定》和有关法律、行政法规,制定本办法。
第二条本办法适用于在中国境内依法需要办理登记的企业。
本办法所称企业,包括公司、非公司企业法人、合伙企业、个人独资企业及其分支机构,以及外国(地区)企业分支机构等。
第三条县级以上人民政府市场监督管理部门作为企业登记机关,对社会提供企业名称申报服务,在办理企业登记时依法登记企业名称,监督管理企业名称的使用,处理企业名称争议,规范企业名称登记管理秩序。
第四条国家市场监督管理总局主管全国企业名称登记管理工作,制定企业名称登记管理有关的企业名称禁限用规则、代理行为规范等具体规范,制定企业名称申报系统的统一技术规范,建立全国企业名称规范管理系统。
省(自治区、直辖市,以下统称省级)市场监督管理部门按照统一技术规范建立企业名称申报系统,并与全国企业名称规范管理系统对接。
第五条国家市场监管总局负责建立下列情形的企业名称数据库:(一)冠以“中国”、“中华”、“中央”、“全国”、“国家”等字样的;(二)在名称中间使用“中国”、“中华”、“全国”、“国家”等字样的;(三)不含行政区划的。
省级市场监督管理部门负责建立前款规定以外的企业名称数据库,具体情形由省级市场监督管理部门规定。
第六条企业名称由行政区划、字号、行业或者经营特点、组织形式组成。
企业名称应当使用规范汉字,不得使用汉语拼音字母、阿拉伯数字等。
民族自治地方的企业名称同时使用本民族自治地方通用的民族文字的,不需报企业登记机关登记。
企业名称需译成外文使用的,由企业依据文字翻译原则自行翻译使用,不需报企业登记机关登记。
第七条市辖区、开发区、垦区等区域名称应当与企业住所所在地的市级行政区划或者省级行政区划连用,不得单独使用。
第八条企业名称中的行政区划加注括号可以置于字号之后、组织形式之前。
第九条企业名称中的字号应当由两个以上汉字组成,可以是字、词或者其组合。
附件:1行政裁决申请表2 .授权委托书3 .行政裁决受理通知书4 .行政裁决不予受理通知书5 .行政裁决答复通知书6 .终止行政裁决通知书7 .行政裁决调解书8 .行政裁决决定书9 .客运经营者发车时间安排纠纷行政裁决流程行政裁决申请表备注:1本申请书需经申请单位法定代表人签名并加盖申请人公章后提出申请。
2.提出裁决申请时,申请人应同时提交营业执照及法定代表人的身份证明材料及相关证据材料。
3.本申请书及相关证明、证据材料一式两份,分正本和副本,正本由受理争议裁决申请的裁决机关存档备查,副本由受理争议裁决申请的裁决机关转送被申请人留存。
委托代理的,还当提交《授权委托书》和被委托人身份证明材料。
授权委托书申请人:指定代表或者委托代理人:委托事项及权限:1.办理客运经营者发车时间安排纠纷裁决。
2.同意□不同意□代表本企业参与办理行政裁决有关活动;3.同意□不同意□核对申请材料中的复印件并签署核对意见;4.同意□不同意□修改申请材料的填写错误;5.同意□不同意□领取行政裁决有关文书。
指定或者委托的有效期限:自年月日至年月行政裁决受理通知书案号: _____________年月0,收到你(单位)递交的行政裁决申请材料。
经审查,符合受理条件,本局决定予以受理。
现将有关事项告知如下:一、你(单位)有权在收到被申请人提出的书面答复和相关证据材料之日起10日内,提出反驳等补充意见及证据材料。
无正当理由,逾期未提交的,视为放弃上述权利。
二、委托他人代理的,须提交委托人签名或盖章的《授权委托书》和代理人相关身份证明文件。
联系人:联系电话:(单位公章)年月日本文书一式二份,一份存根,一份交当事人或其代理人。
行政裁决不予受理通知书案号:年月0,收到你(单位)递交的行政裁决申请材料。
经审查,不符合受理条件,决定不予受理。
理由如下:如对本通知书事由不服的,你(单位)可以在收到本通知书之日起60日内,向本机关同级人民政府或者沈阳市交通运输局申请行政复议,也可以在收到本通知书之日起六个月内直接向人民法院起诉。
行政裁决专利侵权纠纷的办案流程行政裁决是指政府机关在行政法律关系中对争议当事人的权益进行判决和裁定的行为。
在知识产权保护领域,行政裁决机构是处理专利侵权纠纷的重要机构之一。
本文将深入探讨行政裁决专利侵权纠纷的办案流程,并分享我对这一流程的观点和理解。
一、行政裁决专利侵权纠纷的背景和意义1、背景在当前全球知识经济时代,专利是创新的重要产权形式,对于企业和个人的技术创新、市场竞争力以及国家创新体系的建设起着至关重要的作用。
然而,专利侵权问题也因此而产生,给创新活动造成了困扰。
2、意义行政裁决专利侵权纠纷的办案流程的建立和完善,能够保护专利权人的利益,促进技术创新和经济发展,提高社会创新环境,加强知识产权保护与管理。
二、行政裁决专利侵权纠纷的办案流程1、申请立案阶段(1)专利权人提起行政裁决申请(2)行政裁决机构受理申请并立案2、证据调查阶段(1)行政裁决机构通知被申请人提供证据(2)被申请人提供证据材料(3)行政裁决机构对证据进行调查和取证3、听证阶段(1)行政裁决机构组织听证会(2)双方当事人进行陈述和辩论(3)行政裁决机构对案件进行调查和裁决4、行政裁决阶段(1)行政裁决机构根据相关法律法规和证据裁定案件(2)发布行政裁决意见和决定书5、司法救济阶段(1)当事人不服行政裁决可向人民法院提起行政诉讼(2)人民法院对行政裁决进行审理和判决(3)维权方案得到最终解决三、观点和理解行政裁决专利侵权纠纷的办案流程在尊重知识产权和促进创新方面具有重要意义。
通过行政裁决机构的独立性和专业性,能够较为高效地解决专利侵权争议,保护受侵权方的创新成果。
行政裁决流程相对简便,成本较低,适合处理一些初级的侵权纠纷,使得知识产权保护更加全面。
然而,行政裁决专利侵权纠纷的办案流程也存在一些问题。
行政裁决机构的人力资源和专业能力需要进一步提升,以应对日益复杂的专利侵权纠纷案件。
行政裁决机构的裁决是否公正、是否符合法律的适用也需要加强监督和评估,以确保各方当事人的利益得到合理保护。
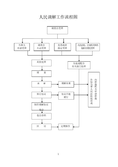
人民调解工作流程图人民调解工作流程图调委会受理当事人申请受理调委会主动受理党委政府指定受理直接处理分流或配合有关部门处理调 查调 解调解未果向仲裁机关申请仲裁告知当事人向法院起诉或签订协议协议不能履行制作调解协议卷宗卷宗存档回 访定期报告人民法院、公安机关和其他机关委托受理人民调解工作的日常指导、监督和管理人民调解工作的日常指导、监督和管理流程图流程图依据国务院《人民调解委员会组织条例》、司法部《人民调解工作若干规定》、《中央办公厅、《中央办公厅、国务院办公厅转发最高人民法院、国务院办公厅转发最高人民法院、国务院办公厅转发最高人民法院、司法部关于进一步司法部关于进一步加强新时期人民调解工作的意见》、《安徽省人民调解条例》对人民调解工作的日常指导、监督和管理县级以上司法行政部门应当加强对人民调解工作的指导和管理,基层司法所对人民调解委员会的日常工作予以具体指导和监督基层人民法院及其派出法庭指导人民调解委员会的工作解答、处理调解委员会或纠纷当事人就人民调解工作有关问题的请示、咨询和投诉应人民调解委员会的请求或者根据需要,协助、参与对具体纠纷的调解活动对调委会主持达成的调解协议予以检查,发现违背法律、法规、规章和政策的,应当予以纠正总结交流调解工作经验,调查研究民间纠纷的特点和规律,指导调解委员会改进工作积极推动新时期人民调解工作的改革与发展,不断研究和探索加强人民调解工作的思路与途径人民调解工作的培训流程图人民调解工作的培训流程图定期培训不定期培训以会代训、组织参加上级司法行政机关培训班等拟定培训方案安排授课人员及准备授课材料基层调委会上报参训名单培训筹备,通知培训时间、地点正式培训培训小结及情况通报市级人民调委会和人民调解员表彰奖励市级人民调委会和人民调解员表彰奖励流程图流程图拟定表彰、奖励方案批准表彰、奖励方案各基层单位申报县(区)司法局初审人民调委会、人民调解员平时工作中进行考察对人民调委会、人民调解员进行初步考核、评议报上级司法行政机关审批不符合表彰、奖励要求的,进行告知上级机关批准进行表彰、奖励向社会公布颁发表彰奖励决定表彰、奖励材料归档并报上级司法行政机关备案矛盾纠纷处理流程图矛盾纠纷处理流程图 排查申请转交登记受理审批一般纠纷村调委会各相关站所调查调解未达成协议达成协议归档回访乡调委会重大纠纷调查听证调解达成协议未达成协议领导小组联席会议继续调解转交其他单位行政裁决引导诉讼或其他渠道解决归档回访涉法纠纷司法所派出所法院社区矫正流程图社区矫正流程图入矫日常管理解除矫正法院新判决监狱或看守所释放法律文书送检察院法律文书送司法局矫正对象7日内报到司法所7日内走访派出所训诫进行入矫教育建档矫正对象每周电话汇报、每月书面汇报1次司法所每月走访其家庭或单位、居委会1次迁居需向派出所提出申请,派出所通报司法所,移送其档案迁入市内且不超过三天请假口头报告,市外7日前提出书面申请每月参加公益劳动不少于12小时,每月参加集中学习至少1次每月对其评定打分1次,并以适当方式予以公布奖惩应征求各方意见由街道矫正领导小组办公室集体研究审核司法所对2个月以内矫正期满的矫正对象进行解教教育期满前1个月,司法所指导其完成自我鉴定期满前10日,司法所出具社区矫正期满鉴定表送区局审核决定期满之日,区局向法院、检察院、派出所、社区发出书面解矫通报期满之日,司法所通过一定形式对矫正对象作解矫宣告宣告后,司法所在《解除社区矫正对象花名册》上作解矫登记10日内,整理矫正对象档案卷宗材料,报送区局审核入矫一月后评定管理等级对社区矫正工作开展情况进行检查流程图对社区矫正工作开展情况进行检查流程图矫正执行管理监督考核奖惩矫正解除谈话教育建立档案签订协议学习教育发放入矫须知制定矫正方案进行公益劳动进行心理矫治矫正对象必须遵守国家法律法规、规章和监督管理规定矫正对象每周以电话、每月以书面向矫正机构报告思想活动情况矫正对象迁居或离开居住区域时必须经矫正机构和公安机关批准保外就医罪犯须遵守在指定医院就医、转院或进行治疗以外的活动须经批准等规定街道、乡镇矫正机构日常监督考察矫正机构按月将新增矫正对象名单、基本情况,按季将其考核情况报检察机关,接受检察监督建立考核制度每月计分考核按季进行综合考核评议奖励处罚表扬、记功评为积极分子减刑警告、记过治安处罚撤销缓刑、假释,收监执行重新犯罪或发现余罪予以刑事处罚死亡收监执行因减刑提前解除重新犯罪、有余罪移送检察机关处理刑期、考验期满履行审批手续后宣布对材料归档,备案为社区服刑人员提供职业培训、就业指导流程图社区服刑人员提出申请提交相关材料:1、个人与家庭收入情况证明;2、乡镇(街道)证明;3、个人身份证和和户口薄;4、个人要求落实低保申请书司法所初步审查、整理材料,做出鉴定,提出意见材料不全,一次性告知补充司法行政机关协调民政、劳动等部门进行相关审查、批准进行就业培训、指导或者落实最低生活保障不符合条件,将材料退回不符合条件,将材料退回材料不全,一次性告知补充报市、区社区矫正工作领导小组办公室备案对社区矫正服刑人员的处罚流程图对社区矫正服刑人员的处罚流程图建立考核制度进行每月考核按季度进行综合考评按照考核结果进行量化计分对其中矫正表现不好的矫正对象,司法所提出处罚建议区矫正办研究决定报市矫正处司法惩处的相关部门治安处罚撤销缓刑、假释,收监执行重新犯罪或发现余罪予以刑事处罚社区矫正工作中问题的协调处理流程图社区矫正工作中问题的协调处理流程图 对发生的情况和问题进行调查研究协调相关部门,研究讨论初步解决方案形成书面解决方案材料上报分管领导分管领导决定,相关事项由集体研究决定付诸实施材料归档,备案邀请相关部门对初步方案进行论证、协调方案中的不当之处或者有不同意见,进行再次修订、论证、协调和完善对基层法律服务机构的管理和指导流程图对基层法律服务机构的管理和指导流程图 市局年初对基层法律服务机构拟制年度监督指导计划和临时性检察方案按计划安排实施监管根据投诉、举报实施临时性检查1、实施由二名以上执法人员参加2、向当事人出示执法证件3、开展调查、开展调查、检查、检查、收集证据4、检查完毕后承办人写出终结报告,并提出初步处理意见向市局主管领导报告,并批准一般违纪的,当场纠正,下发限期整改通知书违法、违纪达到行政处罚标准的,按国务院59、60号令规定的处罚标准进行处罚将监督、检查情况及处理结果记入基层法律服务机构诚信档案归档年度汇总监督检察情况并公布结果对法律援助申请的审查、审批流程图对法律援助申请的审查、审批流程图告知申请法律援助应提交的材料:申请表、居民身份证、户籍证明或或其他它有效身份证明;与所申请法律援助有关的材料;经济状况证明或《江苏省法律援助条例》第14条规定人员的证明申请人提交相关申请材料发现提交材料不全,告知相关法律援助机构补交告知法律援助的条件和范围告知法律援助的条件和范围申请人提出法律援助申请申请人提出法律援助申请申请人填写申请表法律援助机构对申请进行审查并提出审查意见(7日)决定给予法律援助,出具《给予法律援助决定书》 决定不予援助,出具《不给予法律援助通知书》办理相关手续申请人可以向当地司法行政部门提出异议(申请时限:接到通知之日起30日内)对异议进行审查,并作出书面审查意见(5日)经审查异议成立 经审查异议不成申请人可以在收到审查意见之日起60日内向本级人民政府或上一级司法行政机关申请行政复议提供法律援助对不予提供法律援助决定审查复核流程图对不予提供法律援助决定审查复核流程图 法律援助机构对申请进行审查并提出审查意见决定给予法律援助,出具《给予法律援助决定书》决定不予援助,出具《不给予法律援助通知书》办理相关手续申请人可以向当地司法行政部门提出异议(申请时限:接到通知之日起30日内)对异议进行审查,并作出书面审查意见(5日)经审查异议成立经审查异议不成立申请人可以在收到审查意见之日起60日内向本级人民政府或上一级司法行政机关申请行政复议提供无偿法律援助对刑释解教人员的安置帮教流程图对刑释解教人员的安置帮教流程图接受刑释解教人员的相关材料档案 将材料档案转递刑释解教人员所属乡镇(街道)司法所各县(区)安置帮教办公室成立刑释解教人员安置帮教工作办公室监狱、劳教所、看守所寄发刑释解教人员本人携带 刑释解教人员的相关材料将回执寄回监狱、劳教所、看守所将材料档案转递各县(区)安置帮教办公室 将人员情况进行登记、建档根据人员具体情况制定帮教方案落实帮教措施,实施帮教活动落实重点人员相关监管措施法制宣传教育工作管理、指导流程图法制宣传教育工作管理、指导流程图依据安徽省法制宣传教育相关的规章,对本地区法制宣传教育工作进行管理和指导贯彻执行有关法制宣传教育的法律、法规、规章、决议、决定拟定和组织实施法制宣传教育规划和年度计划协调、指导、督促和检查本地区的法制宣传教育工作会同有关部门切实做好刑满释放人员和解除劳动教养人员的法制宣传教育工作协调、组织法制宣传教育的培训、考试、考核开展法制宣传教育工作的调查研究,总结推广典型经验决定或者建议实施奖惩组织法制宣传教育考试、考核流程图 组织法制宣传教育考试、考核流程图。
惠州市市场监督管理局关于企业名称争议处理规定(征求意见稿)为公正、及时地处理企业名称争议,保护企业名称所有人的合法权益,强化企业名称事中事后监管,根据《市场主体登记管理条例》《企业名称登记管理规定》《企业名称禁限用规则》等有关规定,结合本市实际,制定本规定。
一、适用范围本规定适用于惠州市各级企业登记机关依申请处理名称争议的情形。
本规定所称企业名称争议,是指有利害关系的企业认为他人已登记注册企业名称与本企业名称之间相同或近似,使公众产生混淆误认,侵害企业名称权利,引发企业名称争议冲突的行为。
企业名称争议中存在《企业名称登记管理规定》第二十二条和《中华人民共和国反不正当竞争法》第六条规定的情形的,依照有关法律、行政法规的规定处理,不适用本规定。
二、处理机关(一)企业名称争议按照“谁登记、谁处理”的原则,由被争议企业(以下简称被申请人)的企业登记机关负责处理。
被申请人登记管辖权发生变更的,由迁入地企业登记机关负责处理。
企业因名称与他人发生争议,申请人可以向被申请人的企业登记机关申请处理,也可以向人民法院提起诉讼。
已向人民法院提起名称争议诉讼的,企业登记机关不再受理名称争议处理申请。
(二)企业登记机关建立企业名称争议处理审查机制,成立企业名称争议处理审查组(以下简称“审查组”)。
审查组由企业登记注册负责人、业务骨干组成。
审查会议由登记注册部门负责人召集和主持,人数需要达5人或以上单数方能召开。
三、基本原则企业名称争议处理应当遵循诚实信用、维护公平竞争秩序、保护在先合法权利、高效便捷的原则。
四、争议申请(一)申请人可以在广东省政务服务网提出名称争议处理的行政裁决申请,也可以向企业登记机关办事服务窗口提出申请。
(二)申请人提出企业名称争议处理申请,应当提交以下材料:1.《企业名称争议处理申请书》和申请人主体资格证明;2.证据材料;3.其他有关材料。
申请书应当由申请人签署并载明申请人和被申请人的情况;名称争议事实及理由、请求事项等内容。
国家工商行政管理局关于贯彻《企业名称登记管理规定》有关问题的通知正文:---------------------------------------------------------------------------------------------------------------------------------------------------- 国家工商行政管理局关于贯彻《企业名称登记管理规定》有关问题的通知(1991年9月6日工商企字〔1991〕第309号)各省、自治区、直辖市及计划单列市工商行政管理局:为了更好地贯彻《企业名称登记管理规定》(以下简称《规定》),正确核定企业名称,保护企业名称的专用权,现就有关问题通知如下:一、各级登记主管机关一律按《规定》和本通知核准登记企业名称。
二、登记主管机关对企业名称实行分级登记管理。
凡使用“中国”、“中华”,冠以“国际”、“全国”、“国家”,或不冠以企业所在地行政区划名称的企业名称,需经国家工商行政管理局核准或核定,在全国范围内,同行业企业名称不得相同或近似。
冠省(包括自治区、直辖市,下同)、市(包括州,下同)、县(包括旗、市辖区,下同)行政区划名称的企业名称,由同级登记主管机关核准或核定,在本行政区范围内,同行业企业名称不得相同或近似。
三、各省、自治区、直辖市工商行政管理局对已经登记注册,使用“中国”、“中华”,冠以“国际”、“全国”、“国家”,或不冠以企业所在地行政区划名称的企业名称,应按照《规定》和本通知精神,在今年年底前报国家工商行政管理局重新核定,由国家工商行政管理局统一发布公告。
不予核定的,原登记主管机关应限期办理其企业名称变更登记。
其中《规定》生效前已经按我局工商〔1990〕243号文件上报过的,可不再报。
经我局核定的企业名称,如需要变更或转让,应报我局重新核定。
其中不再使用“中国”、“中华”,冠以“国际”、“国家”、“全国”字词的,应报我局备案。
三、权力运行流程图(一)行政许可1、企业名称预先核准及变更核准流程图(内外资)项目类型:行政许可项目编号:行政许可1号承办部门:企业注册科电话:096-8871832 法定期限:10个工作日监督投诉电话:096-8871832 承诺期限:7个工作日2、企业(公司)设立登记流程图(内外资)项目类型:行政许可项目编号:行政许可2号承办部门:企业注册科电话:096-8871832 法定期限:15个工作日监督投诉电话:096-8871832 承诺期限:10个工作日3、企业(公司)变更登记流程图项目类型:行政许可项目编号:行政许可3号承办部门:企业注册科电话:096-8871832 法定期限:15个工作日监督投诉电话:096-8871832 承诺期限:10个工作日4、企业(公司)注销登记流程图(内外资)项目类型:行政许可项目编号:行政许可4 号承办单位:企业注册科电话:096-8871832 法定期限:15个工作日监督投诉电话:096-8871832 承诺期限:10个工作日5、个体工商户名称预先核准流程图项目类型:行政许可项目编号:行政许可6号承办部门:工商所电话:096-8871832 法定期限:15个工作日监督投诉电话:096-8871832 承诺期限:10个工作日6、个体工商户设立登记流程图项目类型:行政许可项目编号:行政许可7号承办部门:工商所电话:096-8871832 法定期限:15个工作日监督投诉电话:096-8871832 承诺期限:10个工作日7、个体工商户变更登记流程图项目类型:行政许可项目编号:行政许可8号承办部门:工商所电话:096-8871832 法定期限:15个工作日监督投诉电话:096-8871832 承诺期限:10个工作日8、农民专业合作社登记注册流程图项目类型:行政许可办理地点:市场监督管理局承办部门:市场监督管理局服务电话:096-8871832法定期限:15个工作日承诺期限:5个工作日监督投诉电话:096-887183211、个体工商户注销登记流程图项目类型:行政许可项目编号:行政许可9号承办部门:工商所电话:096-8871832 法定期限:15个工作日12、广告经营许可证登记流程图项目类型:行政许可项目编号:行政许可10号承办部门:市场监督管理局电话:096-8871832 法定期限:20个工作日监督投诉电话:096-8871832 承诺期限:15个工作日13、户外广告登记流程图项目类型:行政许可项目编号:行政许可11号承办部门:市场监督管理局电话:096-8871832 法定期限:7个工作日监督投诉电话:096-8871832 承诺期限:5个工作日14、食品经营许可项目类型:行政许可承办机构:市场监督局办理地点:市场监督局服务电话:096-8871832 法定期限:20个工作日承诺期限:20个工作日监督电话:096-8871832法定期限:10个工作日承诺期限:5个工作日优化期限:15个工作日15、食品经营许可项目类型:餐饮服务许可证办理办理地点:许可受理科法定时限:30个工作日承诺时限:20 个工作日承办部门:市场监督局服务电话:096-8871832 监督电话:096-8871832法定时限:30个工作日 承诺时限:20 个工作日 优化时限:10个工作日16、医疗用毒性药品零售企业批准项目类型:行政许可 承办机构:市场监督局 办理地点:市场监督局法定期限:30个工作日 承诺期限:15个工作日服务电话:096-8871832 监督电话:096-8871832法定时限:30个工作日 承诺时限:15 个工作日 优化时限:15个工作日17、麻醉药品和精神药品邮寄证明核发项目类型:行政许可 承办机构:食药局 办理地点:市场监督局法定期限:40个工作日 承诺期限:5个工作日法定时限:40个工作日 承诺时限:5 个工作日 优化时限:35个工作日18、麻醉药品和精神药品运输证明核发项目类型:行政许可 承办机构:平安市场监督局 办理地点:市场监督局法定期限:10个工作日 承诺期限:5个工作日服务电话: 096-8871832 监督电话:096-8871832法定时限:10个工作日承诺时限:5 个工作日优化时限:5个工作日19、开办药品零售企业许可项目类型:行政许可承办机构:食药局法定期限:10个工作日承诺期限:5 个工作日服务电话: 096-8871832 监督电话:096-8871832(二)行政处罚流程图项目类型:行政处罚项目编号:行政处罚1号承办部门:市场监督管理局电话:096-8871832 法定期限:90日监督投诉电话:096-8871832结案归档(90日办结,特殊情况可报批延长办理时限)(三)行政强制措施流程图项目类型:行政强制项目编号:行政强制1号承办部门:市场监督管理局电话:096-8871832 法定期限:30日监督投诉电话:096-8871832(四)行政裁决1、企业名称争议裁决流程图项目类型:行政裁决项目编号:行政裁决1号承办部门:企业注册科电话:096-8871832 法定期限:15个工作日2、个体工商户名称争议裁决流程图项目类型:行政裁决项目编号:行政裁决2号承办部门:企业注册科电话:096-8871832 法定期限:15个工作日(五)行政确认1、青海省著名商标认定流程图项目类型:行政确认项目编号:行政确认1号承办部门:市场监督管理局电话:096-8871832 法定期限:30个工作日监督投诉电话:096-8871832 承诺期限:25个工作日2、动产抵押登记流程图项目类型:行政确认项目编号:行政确认2号承办部门:市场监督管理局电话:096-8871832 法定期限:当场监督投诉电话:096-8871832(六)行政收费项目类型:行政收费项目编号:行政收费1号承办单位:市场监督管理局电话:096-8871832 法定期限:当场监督投诉电话:096-8871832(七)行政强制项目类型:行政强制项目编号:行政强制1号承办单位:市场监督管理局电话:096-8871832 法定期限:当场监督投诉电话:096-8871832(八)行政奖励项目类型:行政奖励项目编号:行政奖励1号承办单位:市场监督管理局电话:096-8871832 法定期限:无监督投诉电话:096-8871832(九)行政监督检查项目类型:行政监督检查项目编号:行政监督检查1号承办单位:市场监督管理局电话:096-8871832 法定期限:无监督投诉电话:096-8871832(十)其它权力1、合同争议行政调解流程图项目类型:行政调解项目编号:行政调解2号承办部门:市场监督管理局电话:096-8871832 法定期限:两个月内监督投诉电话:096-8871832 承诺期限:55日内2、受理消费者投诉流程图项目类型:行政调解项目编号:行政调解3号承办部门:市场监督局电话:096-8871832 法定期限:60日内监督投诉电话:096-8871832 承诺期限:55日内3、行政复议流程图项目类型:行政救济项目编号:行政救济1号承办单位:法制科电话:096-8871832 法定期限:60日内监督投诉电话:096-8871832 (办公室)承诺期限:55日内4、赔偿案件审理流程图项目类型:行政救济项目编号:行政救济2号承办单位:法制科电话:096-8871832 法定期限:两个月内监督投诉电话096-8871832 (办公室)承诺期限:55日内5、企业(公司)有关事项备案流程图项目类型:行政备案项目编号:行政备案1号承办单位:企业注册科电话:096-8871832 法定期限:15日内监督投诉电话:096-8871832 承诺期限:10日内6、拍卖企业拍卖活动备案流程图项目类型:行政备案项目编号:行政备案2号承办单位:市场监督局电话:096-8871832 法定期限:当场监督投诉电话:096-88718327、经纪执业人员情况及聘用、解聘合同备案流程图项目类型:行政备案项目编号:行政备案3号承办单位:市场监督管理局电话:096-8871832 法定期限:当场监督投诉电话:096-88718328、特殊标志使用合同备案流程图项目类型:行政备案项目编号:行政备案4号承办单位:市场监督管理局电话:096-8871832 法定期限:当场监督投诉电话:096-8871832上报存查意见9、流通领域商品质量抽查检验流程图项目类型:其他具体行政行为项目编号:其他具体行政行为1号承办单位:市场监督局电话:096-8871832 法定期限:当场监督投诉电话:096-887183210、实施现场检查流程图项目类型:其他具体行政行为项目编号:其他具体行政行为2号承办单位:市场监督管理局电话:096-8871832 法定期限:当场监督投诉电话:096-887183211、产品质量申诉处理项目类型:行政裁决承办机构:市场监督管理局法定期限:30个工作日承诺时限:25个工作日服务电话:096-8871832 监督投诉电话:096-887183212.计量器具强制检定项目类型:行政确认承办机构:市场监督管理局法定期限:5个工作日承诺时限:5个工作日服务电话: 096-8871832 监督投诉电话:096-8871832备注:食品药品和质量监督管理的行政处罚、行政强制、现场检查、听证程序流程图与工商行政管理程序流程图通用。
(一)行政裁决申请书申请人:姓名、性别、年龄、职业、地址、联系电话或者法人或者其他组织的名称、地址、法定代表人的姓名、职务、联系方式委托代理人姓名住址联系电话被申请人名称住址委托代理人姓名住址联系电话案由:申请人与被申请人就存在争议,申请行政裁决。
行政裁决请求:事实和理由:此致***(行政裁决机关名称)。
附:1、行政裁决申请书副本份;2、有关材料份。
申请人(签名或者盖章):二○**年**月**日(二)***(行政裁决机关名称)行政裁决告知书(文号)(被告知人):你(你们,你单位)的行政裁决申请书收悉。
经审查,(对符合法律法规,但不属于本机关管辖的行政裁决申请,告知申请人向有管辖权的裁决机关提出申请)。
根据《山东省行政程序规定》第一百一十三条第二款第(二)项的规定,你(你们,你单位)应当到申请行政裁决。
特此告知。
(印章)二○**年**月**日(三)***(行政裁决机关名称)不予受理行政裁决申请决定书(文号)申请人:(姓名),(性别),出生年月:,住所(联系地址):。
[(法人或者其他组织)(名称),住所(联系地址):。
] 法定代表人(或者主要负责人):(姓名),(职务)。
委托代理人:(姓名),(身份)。
被申请人:(姓名),(性别),出生年月:,住所(联系地址):。
[(法人或者其他组织)(名称),住所(联系地址):。
] 法定代表人(或者主要负责人):(姓名),(职务)。
申请人与被申请人就存在争议,于20**年**月**日向本机关提出行政裁决申请。
经审查,本机关认为:(申请事项依法不适用行政裁决程序规定的)。
根据《山东省行政程序规定》第一百一十三条第二款第(三)项的规定,决定不予受理。
(印章)二○**年**月**日(四)***(行政裁决机关名称)行政裁决受理通知书(文号)(申请人):你(你们,你单位)与(被申请人)就存在争议提出的行政裁决申请,经初步审查,决定予以受理。
如需委托代理人代为参加行政裁决,应提交载明委托事项、委托权限和委托期限的授权委托书及代理人身份证明。
企业名称争议处理暂行办法(征求意见稿)第一章总则第一条【立法目的】为依法、便捷处理企业名称争议,保护企业名称合法权益,规范企业名称登记管理秩序,依据《企业名称登记管理规定》等规定,制定本办法。
第二条【基本概念】本办法所称企业名称争议,是指企业认为他人自主申报行为违反诚实守信原则,已登记注册的企业名称与本企业名称近似,侵害本企业名称合法权益的情形。
本办法所称申请人是指提起企业名称争议的企业,被申请人是指被提起企业名称争议的企业。
第三条【管辖权限】县级以上地方市场监督管理部门负责处理企业名称争议,作出行政裁决。
申请人与被申请人的登记注册所在地在同一省级范围内的,企业名称争议的具体管辖办法由省级市场监督管理部门制定。
申请人与被申请人的登记注册所在地不在同一省级辖区范围内的,企业名称争议由被申请人登记注册所在地的省级市场监督管理部门负责。
上级市场监督管理部门可以将其管辖的企业名称争议授权指定的下级市场监督管理部门管辖。
第四条【内部分工】企业名称争议处理由市场监督管理部门登记注册机构负责,由法制机构对处理决定进行合法性审查,所在市场监督管理部门应当保障争议处理机构、人员的专业性。
第五条【基本原则】企业名称争议处理遵循保护在先权利原则、诚实信用原则、公平与效率兼顾等原则。
第二章名称争议的申请与受理第六条【当事人条件】企业名称争议的申请人和被申请人应当是在中国境内依法设立的企业。
第七条【申请材料】申请人提起企业名称争议的,应当向企业名称争议处理机关提交以下材料:(一)申请书;(二)证据材料;(三)其他有关材料。
申请书应当由申请人签署并载明申请人和被申请人的情况、名称争议事实及理由、请求事项等内容。
委托代理的,还应当提交委托书和被委托人资格证明。
第八条【受理期限】企业名称争议处理机关应当自收到申请书之日起5个工作日内作出是否受理的决定;申请人提供的相关材料不符合本办法有关规定的,通知申请人自收到补正通知之日起5个工作日内补正。
行政裁决流程图行政判决外部运转流程环节详细信息表单信息项1.供应商提出赞扬2.初审3.修正4.审核5.转送6.不予受理7.受理8.视状况书面通知被赞扬人暂停政府推销活动9.发送作出说明通知书10.书面审查11.调查取证12.外部评议13.草拟«赞扬处置决议书»14.审核15.审签16.送达17.公告廉政风险防控信息一、权利事项风险防控梳理信息如下。
二、外部运转流程风险梳理信息如下。
监察点信息文书模板政府推销供应商赞扬转送通知书〔赞扬人〕:关于你〔单位〕因不满意〔被赞扬人〕对____〔推销项目编号,第几包〕作出的质疑回答提出的赞扬及相关证明资料/关于你〔单位〕因〔被赞扬人〕未在规则的期限内对____〔推销项目编号,第几包〕的质疑作出质疑回答提出的赞扬及相关证明资料,我部门已于年月日收悉。
经审查,赞扬不属于本部门管辖,依据«政府推销供应商赞扬处置方法»〔财政部令第20号〕第十一条第一款第〔二〕项之规则,我部门已于年月日将该赞扬转送〔接受转送的财政部门〕处置。
请你及早与〔接受转送的财政部门〕联络。
特此通知年月日政府推销供应商赞扬转送通知书〔接受转送的财政部门〕:本〔部门〕于年月日收到〔赞扬人〕因不满意〔被赞扬人〕对____〔推销项目编号,第几包〕作出的质疑回答提出的赞扬及相关证明资料/本部门于年月日收到〔赞扬人〕因〔被赞扬人〕未在规则的期限内对____〔推销项目编号,第几包〕的质疑作出质疑回答提出的赞扬及相关证明资料,经审查,应由你部门管辖。
依据«政府推销供应商赞扬处置方法»〔财政部令第20号〕第十一条第一款第〔二〕项之规则,现将赞扬书及相关证明资料转送你部门,请依法处置。
附:1、赞扬书份2、相关证明资料份年月日政府推销供应商赞扬不予受理告知书〔赞扬人〕:关于你〔单位〕因不满意〔被赞扬人〕对_______〔推销项目编号,第几包〕作出的质疑回答提出的赞扬及相关证明资料/关于你〔单位〕因〔被赞扬人〕未在规则的期限内对_______〔推销项目编号,第几包〕的质疑作出质疑回答提出的赞扬及相关证明资料,我〔部门〕已于年月日收悉。
市县权力、责任清单及公共服务事项编制指南安康市行政审批制度改革工作领导小组办公室2016年4月目录1.权责清单编制说明 (1)2.相关表格填写的格式要求 (10)3.权责清单目录表实例模板 (17)4.权力运行流程表样表及格式 (29)5.权力运行流程图样本 (30)6.事中事后监管制度实例 (46)7.部门职责边界登记表实例 (54)8.公共服务事项目录样表及格式 (58)9.公共服务事项样本及格式 (59)10.公共服务事项办理流程图及格式 (60)权责清单编制说明一、权力事项列入权责清单的权力事项,也可称职权事项是指行政机关或依法承担行政职能的事业单位依法实施的对公民、法人和其他组织权利义务产生直接影响的具体行政行为。
分行政许可类、行政处罚类、行政强制类、行政征收类、行政给付类、行政检查类、行政确认类、行政奖励类、行政裁决类、其他类等10个类别(简称“9+X”)。
其中其他类又分为:其他类年检、其他类备案、其他类其他审批权、其他类行政调解、其他类审核转报、其他类其他等6个类别。
二、责任事项按照权责匹配、权责对应的要求,每一项具体权力都应明确具体责任,而且要把每一项权力对应的“责任”细化到条、落实到款,这就是我们所说的责任清单。
编制责任清单重点是厘清责任事项,责任事项是行使行政职权应当履行的义务,责任事项与每一项行政职权是对应关系。
所以在编制责任清单时需要重点把握好责任事项的环节划分。
一是法律法规明确规定行政职权行使程序的行政职权,按照法定程序划分为若干环节。
二是法律法规没有明确规定程序的职权事项,可参照类似职权事项,按照科学、合理、便民、高效的原则确定责任环节。
具体划分的参考标准是:1.行政许可类:可划分为受理、审查、决定、送达、事后监管五个责任环节,设定的依据是《行政许可法》;2.行政处罚类:可划分为立案、调查、审查、告知、决定、送达、执行七个责任环节,设定的依据是《行政处罚法》;3.行政强制类:可划分为催告、决定、执行、事后监管四个责任环节,设定的依据是《行政强制法》;4.行政征收类:可划分为起始、征收、事后监管三个责任环节,设定的依据如《税收征收管理法》;5.行政给付类:可划分为受理、审查、决定、送达四个责任环节,设定的依据如《军人抚恤优待条例》;6.行政检查类:可划分为检查、处置、信息公开、事后管理四个责任环节,设定的依据如《药品广告审查办法》;7.行政确认类:可划分为受理、审查、决定三个责任环节,设定的依据如《无公害农产品管理办法》;8.行政奖励类:可划分为起始、审查、报批、送达四个责任环节,设定的依据如《就业促进法》;9.行政裁决类:可划分为受理、调查审理、告知、决定、送达、事后监管六个责任环节,设定的依据如《企业名称登记管理实施办法》;10.其他类:(1)年检、备案:可划分为受理、审查、决定、事后管理四个责任环节;(2)其他审批权:可划分为受理、审查、决定、送达、事后管理五个责任环节;(3)行政调解:可划分为受理、审查、裁决、执行四个责任环节;(4)行政复议:可划分为受理、调查、决定、送达、事后监管五个责任环节。
天津市行政裁决程序规定文章属性•【制定机关】天津市人民政府•【公布日期】2022.12.19•【字号】天津市人民政府令第34号•【施行日期】2023.03.01•【效力等级】地方政府规章•【时效性】现行有效•【主题分类】行政法总类其他规定正文天津市行政裁决程序规定(2022年12月9日经市人民政府第211次常务会议通过 2022年12月19日天津市人民政府令第34号公布自2023年3月1日起施行)第一条为了规范行政裁决程序,及时有效化解社会矛盾纠纷,保障公民、法人和其他组织的合法权益,践行社会主义核心价值观,根据有关法律、法规,结合本市实际,制定本规定。
第二条本市行政区域内的行政裁决,适用本规定。
国家对行政裁决另有专门规定的,从其规定。
本规定所称行政裁决,是指行政机关根据当事人申请,根据法律法规授权,居中对与行政管理活动密切相关的自然资源权属争议、知识产权侵权纠纷和补偿争议、政府采购活动争议等民事纠纷进行裁处的行为。
第三条行政裁决坚持党的领导,遵循平等、规范、简便、高效的原则。
第四条市、区人民政府应当加强对本行政区域内行政裁决工作的组织、推动,健全行政裁决制度,及时有效化解社会矛盾纠纷。
第五条司法行政部门负责本行政区域内行政裁决工作的综合协调。
依法承担行政裁决职责的行政机关(以下简称裁决机关)应当加强行政裁决工作队伍建设,开展行政裁决工作培训,按照法律法规规定受理行政裁决案件,切实履行行政裁决职责。
第六条裁决机关应当将行政裁决事项纳入本机关权责清单,按照规定实行动态管理并向社会公布。
第七条裁决机关应当推进信息化建设,推广现代信息技术在行政裁决工作中的运用,为人民群众咨询和参加行政裁决提供便利。
第八条申请行政裁决应当符合下列条件:(一)申请人与申请行政裁决的民事纠纷有直接利害关系;(二)有明确的被申请人;(三)有具体的行政裁决请求和事实、理由;(四)属于行政裁决范围和收到申请的裁决机关的职责范围。