【管理流程】医院各部门流程图汇总
- 格式:doc
- 大小:600.50 KB
- 文档页数:80
1.全面质量管理工作流程实施部门质量控制部流程编号YL-001流程单元质量控制部门节点 1 2 3 4 5 6 7A 成立质量控制小组质量信息全院公布基础质量控制医疗质量控制护理质量控制行政及后勤管理质量控制服务质量控制经济管理质量控制医保合疗管理质量控制院感管理质量控制医教部质控部护理部院办公室党群工作部经济核算办医保合疗管理部感染管理部三基三严培训临床科研工作实习进修人员管理义诊及宣传医疗纠纷处理医疗制度落实技术常规操作规范执行病历质量管理护理制度落实技术常规操作规范执行护理病历质量管理信息及安全管理后勤保障支持劳动纪律落实设备管理财务管理医疗服务医德医风建设政治思想工作医疗指标完成情况科室收治病人情况经济效益完成核算绩效工资发放情况综合考评奖罚情况医保病人管理合作医疗病人管理科室内部感染管理重点部门感染管理每月定期或不定期检查每月进行质量考核评价半年年度召开总结会议每月检查奖罚通报季度质量分析会议通过工作总结情况通报。
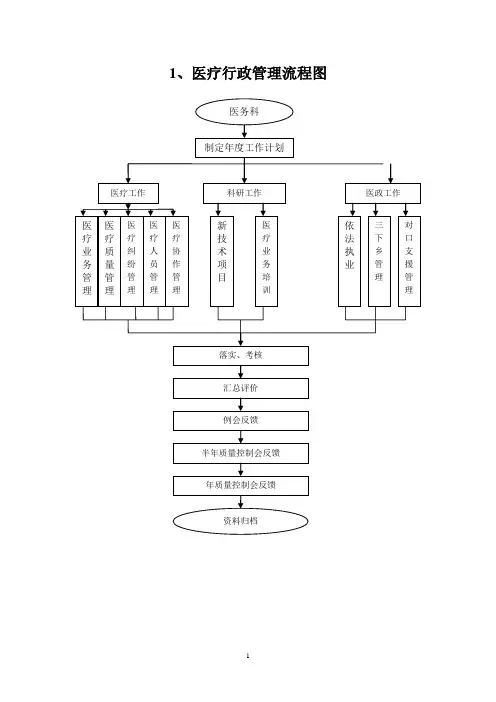
1、医疗行政管理流程图
2、医务人员业务培训工作流程图
3、院内临床病例讨论工作流程图
5、病历质量管理考核工作流程图
6、新技术项目开展工作流程图
7、医疗纠纷接待处理工作流程图
8、出院病人满意度调查工作流程图
9、临床科室危重病人会诊工作流程图
10、病人转诊工作流程图
11、科主任例会流程图
12、公共卫生事件应急救援工作流程图
13、卫生强基工程流程图
16、疾病证明书办理流程图
17、特殊检查管理流程
18、用药前管理流程
19、门诊病人就诊流程
20、医疗质量安全事件报告处理流程
21、重大手术、非计划二次手术审批流程
22、患者身份识别流程
23、新技术、新项目准入、审批管理流程
24、医疗技术损害处置流程。
医院工作流程图汇集目录1.医院行政管理工作流程图 (4)1.1行政会议流程图 (4)1.2文件管理工作流程图 (7)1.3人力资源管理工作流程图 (17)1.4医院文化工作流程图 (25)1.5接待工作流程图 (27)1.6医务科工作流程图 (29)1.7科教管理工作流程 (44)1.8护理工作流程图 (46)1.9 感染管理工作流程圄 (54)1.10预防保健工作流程图 (63)1.11 财务管理工作流程图 (66)1.12信息统计工作流程图 (81)1.13设备器材科工作流程图 (85)1.14后勤管理工作流程圈 (88)1.14.2物资供应管理工作流程图 (89)2. 门诊工作流程圄 (102)2.1门诊咨询工作流程图 (102)2.2门诊挂号工作流程图 (103)2.3住院病人住院流程图 (104)2.4住院病人出院流程图 (105)2.5门诊部医师工作流程图 (106)2.6门诊部护士工作流程图 (107)3.临床科室工作流程图 (109)3.1临床科室主任医疗行政管理工作流程图 (109)3.1.2 临床科室医师日常医疗工作流程图 (110)3.1.3临床科室新入院病人医师工作流程图 (111)3.1.4住院手术病人工作流程图 (112)3.1.5临床用血工作流程 (113)3.2临床科室护理工作流程图 (115)3.2.3危重患者抢救护理工作流程 (117)3.2.4临床科室手术病人护理工作流程图 (118)3.2.5 护理各班次工作流程图 (119)3.3 急诊科工作流程图 (124)3.3.1 急诊科院前诊疗工作流程图 (124)3.3.2 急诊科院内诊疗工作流程图 (125)3.4 麻醉科工作流程图 (126)3.4.1麻醉科医师日常工作流程图 (126)3.4.2麻醉科护士工作流程图 (127)3.4.3 麻醉科值班护士工作流程图 (128)3.5放射治疗工作流程图 (129)3.6高压氧舱治疗工作流程图 (130)4. 抢救工作流程图 (131)4.1 危重病人抢救工作流程图 (131)4.2 休克抢救流程图 (132)4.3 感染性休克抢救流程图 (133)4.4 心源性休克抢救流程图 (134)4.5 过敏性休克抢救流程图 (135)4.6 低血容量性休克抢救流程图 (136)4.8高渗性脱水抢救流程图 (138)4.9低、等渗性脱水抢救流程图 (139)4.10昏迷病人抢救流程图 (140)4.11不稳定心绞痛抢救流程图 (141)4.12心肌梗死抢救流程图 (142)4.13 室性心动过速抢救流程图 (143)4.14 心动过缓抢救流程图 (144)4.15 心室颤动(室颤)抢救流程图 (145)4.16 上消化道出血抢救流程图 (146)4.17 糖尿病酮症酸中毒抢救流程图 (147)4.18糖尿病高渗性昏迷(HNDC)抢救流程图 (148)4.19低血糖症抢救流程图 (149)4.20出血性脑血管病抢救流程图 (150)4.21 缺血性脑血管病抢救流程图 (151)4.22 脑疝抢救路程图 (152)5.护理部工作流程 (153)5.1护理质量控制工作流程图 (153)5.2护士长例会会议流程图 (154)5.3护理业务查房工作流程图 (155)5.4护理行政查房工作流程图 (156)5.5护士长夜查房工作流程图 (157)5.6护理人员业务培训工作流程图 (158)5.7护士外出学习、进修管理工作流程图 (159)5.8接收护理实习生、志愿者护理人员管理工作流程图 (160)1.医院行政管理工作流程图1.1行政会议流程图1.1.1院长办公会议流程图1.1.2中层干部例会会议流程图1.1.3大型会议会务组织工作流程图舞1.2文件管理工作流程图1.2.1职代会行政文件制作流程图1.2.2公文制发工作流程图1.2.3上级文件收发工作流程图1.2.4印章使用管理工作流程图1.2.7文书档案管理工作流程图1.2.8复印工作流程图1.3人力资源管理工作流程图1.3.1职工调入(毕业生分配)工作流程图1.3.2员工劳动合同管理工作流程图1.3.3办理退休手续工作流程图1.3.4职称管理工作流程图1.3.5岗前培训工作流程图1.3.6科室考核管理工作流程图服1.4医院文化工作流程图1.4.1院报制发工作流程图1.4.2 定期报送信息工作流程图1.5接待工作流程图1.5.1外事接待工作流程图1.5.2患者来信、来访处理工作流程图1.5.3出院病人满意度调查工作流程图1.6医务科工作流程图1.6.1医疗行政管理工作流程图临1.6.2医务人员业务培训工作流程图1.6.3接收医师实习进修人员管理工作流程图1.6.4外出进修培训工作流程图1.6.5院内临床病历讨论工作流程图1.6.6医疗质量管理工作流程图1.6.7病历质量考核工作流程图单1.6.8新技术项目开展工作流程图1.6.9医疗纠纷接待处理工作流程图1.6.10医疗大查房工作流程图反1.6.11临床科室危重人会诊工作流程图1.6.12病人转诊工作流程图1.6.13科主任例会流程图1.6.14公共卫生事件应急救援工作流程图1.6.15卫生“三下乡”活动流程图1.7科教管理工作流程1.7.1科研管理工作流程图1.7.2论文、专著、成果登记奖励工作流程图1.8护理工作流程图1.8.1护理质量控制工作流程图病1.8.2护士长例会会议流程图。
康复科对患者病情及所承受能力确认的流程康复意外紧急处置流程康复治疗训练过程中的记录规范、诊断标准与流程综合应用作业疗法、物理治疗法、语言治疗法规定与流程党政办公室患者的服务流程医院总值班流程总值班应急工作流程图医院应急工作流程门诊部门诊预约流程图与基层医疗机构合作开诊预约转诊服务流程物理诊断科物理诊断科检查及报告书写流程物理诊断科紧急意外抢救流程医疗差错事故防范流程护理部急诊、医技检查、药房、住院、手术、介入流程采集血标本流程术后患者管理相关流程消毒供应室工作流程压疮风险评估与报告流程住院患者出院后的随访与指导流程医务科非计划再次手术”流程检验科危急值报告流程临床会诊工作流程图医院突发传染病事件,应急流程报告方式、时限和流程检验新项目审批流程实验室安全管理流程图病人跌倒后处理流程急诊手术管理流程急诊与住院连贯的医疗服务流程紧急用血流程麻醉意外与并发症处理流程门急诊病人入院流程手术安全核查手术部位标识流程医疗安全不良事件报告流程危机值报告流程医师外出会诊管理流程院内会诊管理流程急诊病人院前与院内急救衔接流程执行留观、入院、出院、转科、转院制度,并有相应的服务流程, 留观服务流程病人入院流程病人转科、转院工作流程重大手术审批流程住院患者出院后的随访与指导流程ICU转入(出)工作流程无名患者身份标识的方法和核对流程紧急情况下口头医嘱执行流程模糊医嘱的澄清流程医技科室(放射,B超,CT,心电,内镜)抢救危重患者紧急呼救流程医疗技术审批流程医疗技术管理流程科室无空床处理流程科室医疗设施有限时处理流程急诊病人院前与院内急救衔接流程院内感染科锐器伤后处理流程图乙肝职业暴露处理方法与报告流程图丙肝职业暴露处理方法与报告流程图梅毒职业暴露处理方法与报告流程图HIV职业暴露处理方法与报告流程图对患者病情及所承受能力确认的流程康复意外紧急处置流程康复治疗训练过程中的记录规范、诊断标准与流程综合应用作业疗法、物理治疗法、语言治疗法规定与流程患者的服务流程总值班应急工作流程图医院应急工作流程门诊预约流程图与基层医疗机构合作开诊预约转诊服务流程医疗差错事故防范流程急诊、医技检查、药房、住院、手术、介入流程采集血标本流程术后患者管理相关流程消毒供应室工作流程压疮风险评估与报告流程住院患者出院后的随访与指导流程非计划再次手术”流程检验科危急值报告流程检验新项目审批流程实验室安全管理流程图病人跌倒后处理流程急诊手术管理流程急诊与住院连贯的医疗服务流程入院总体认同通知病区备床办理入院手续医生及时开出医嘱24h内护理初始评估24n内完成医疗护理计划诊疗方案,效果利弊,住院费用方案选择,风险程度,知情同意24h内完成医疗护理初始评估按计划安排检查明确诊断需要时改变诊疗计划紧急用血流程麻醉意外与并发症处理流程门急诊病人入院流程手术安全核查手术部位标识流程医疗安全不良事件报告流程危机值报告流程病人姓名、住院号、项目名称 检查结果、来电时间、 报告主管/值班医生时间医师外出会诊管理流程院内会诊管理流程急诊病人院前与院内急救衔接流程执行留观、入院、出院、转科、转院制度,并有相应的服务流程留观服务流程病人入院流程病人转科、转院工作流程重大手术审批流程住院患者出院后的随访与指导流程ICU转入(出)工作流程无名患者身份标识的方法和核对流程紧急情况下口头医嘱执行流程腕带填写内容姓名(无名+日期);性别(男/女);年龄(不详);病历号;过敏史(不详)。
医院工作流程图汇集1医院工作流程图汇集目录1.医院行政管理工作流程图1.1行政会议工作流程图1.1.1院长办公会议流程图1.1.2中层干部例会会议流程图1.1.3大型会议会务组织工作流程图1.2文案管理工作流程图1.2.1职代会行政文件制作流程图1.2.2公文制发工作流程图1.2.3上级文件收发工作流程图1.2.4印章使用管理工作流程图1.2.5报刊收发工作流程图1.2.6图书管理工作流程图1.2.7文书档案管理工作流程图1.2.8复印工作流程图1.2.9打印材料工作流程图1.2.10 报刊征订工作流程图1.3人力资源管理工作流程图1.3.1职工调入(毕业生分配)工作流程图1.3.2员工劳动合同管理工作流程图21.3.3办理退休手续工作流程图1.3.4职称管理工作流程图1.3.5岗前培训工作流程图1.3.6科室考核管理工作流程图1.3.7员工考评管理工作流程图1.3.8医德医风检查工作流程图1.4医院文化工作流程图1.4.1院报制发工作流程图1.4.2 定期报送信息工作流程图1.5接待工作流程图1.5.1外事接待工作流程图1.5.2患者来信、来访处理工作流程图1.5.3出院病人满意度调查工作流程图1.6医务科工作流程图1.6.1医疗行政管理工作流程图1.6.2医务人员业务培训工作流程图1.6.3接收医师实习进修人员管理工作流程图1.6.4外出进修培训工作流程图1.6.5院内临床病历讨论工作流程图1.6.6医疗质量管理工作流程图1.6.7病历质量考核工作流程图31.6.9医疗纠纷接待处理工作流程图1.6.10医疗大查房工作流程图1.6.11临床科室危重人会诊工作流程图1.6.12病人转诊工作流程图1.6.13科主任例会流程图1.6.14公共卫生事件应急救援工作流程图1.6.15卫生”三下乡”活动流程图1.7科教管理工作流程1.7.1科研管理工作流程图1.7.2论文、专著、成果登记奖励工作流程图1.8护理工作流程图1.8.1护理质量控制工作流程图1.8.2护士长例会会议流程图1.8.3护理业务查房工作流程图1.8.4护理行政查房工作流程图1.8.5护士长夜查房工作流程图1.8.6护理人员业务培训工作流程图1.8.7护士外出学习、进修管理工作流程图1.8.9接收护理实习生、试用期护理人员管理工作流程图1.9 感染管理工作流程圄41.9.2医院感染控制质量检查工作流程图1.9.3医院感染病例监测工作流程图1.9.4医院感染暴发应急处理工作流程图1.9.5院感知识继续教育工作流程图1.9.6消毒灭菌效果及环境卫生学监测工作流程图1.9.7医护人员职业暴露处理与报告工作流程图1.9.8一次性医疗用品管理工作流程图1.9.9医疗废物回收、处理工作流程图1.10预防保健工作流程图1.10.1预防保健工作流程图1.10.2传染病管理工流程图1.10.3疫苗管理工作流程图1.11 财务管理工作流程图1.11.1年度预算工作流程图1.11.2年度决算工作流程图1.11.3账务处理工作流程图1.11.4财务报表工作流程图1.11.5收入工作流程图1.11.6银行、出纳付款工作流程图1.11.7薪金发入工作流程图51.11.8固定资产及物资核对工作流程图1.11.9社会保障金及税金的核算缴纳工作流程图1.11.10票据管理工作流程图1.11.11财务审计工作流程图1.11.12收费工作流程图1.11.13退费工作流程图1.11.14患者医疗保险管理工作流程图1.11.15本院职工及家属医疗费审核工作流程图1.11.16效益工资核算工作流程图1.12信息统计工作流程图1.12.1工作量报表工作流程图1.12.2日报表工作流程图1.12.3信息工作流程图1.12.4病案管理工作流程图1.13设备器材科工作流程图1.13.1医疗设备器材购置工作流程图1.13..2医疗设备管理工作流程图1.13.3医用器材管理流程图1.13.4计量管理工作流程图1.14后勤管理工作流程圈1.14.1固定资产及物资购置工作流程图61.14.2物资供应管理工作流程图1.14.3物品领取工作流程图1.14.4报废工作流程图1.14.5工勤维修工作流程图1.14.6电梯检修保养工作流程图1.14.7供汽锅炉运气操作工作流程图1.14.8供氧工作流程图1.14.9发电工作流程图1.14.10中央空调运行工作流程图1.14.11电梯驾驶员操作工作流程图1.15保安管理工作流程图1.15.1安全检查工作流程图1.15.2应急突发事件管理工作流程图1.15.3安全保卫工作流程图2. 门诊工作流程圄2.1门诊咨询工作流程图2.2门诊挂号工作流程图2.3住院病人住院流程图2.4住院病人出院流程图2.5门诊部医师工作流程图2.6门诊部护士工作流程图72.7门诊手术工作流程图3.临床科室工作流程图3.1临床科室主任医疗行政管理工作流程图3.1.1临床科室主任医疗行政管理工作流程图3.1.2 临床科室医师日常医疗工作流程图3.1.3临床科室新入院病人医师工作流程图3.1.4住院手术病人工作流程图3.1.5临床用血工作流程3.1.6住院病人医院医疗工作流程3.2临床科室护理工作流程图3.2.1临床科室入院病人护理工作流程图3.2.2临床科室出院病人护理工作流程图3.2.3危重患者抢救护理工作流程3.2.4临床科室手术病人护理工作流程图3.2.5 护理各班次工作流程图3.2.5.1 早班护士工作流程图3.2.5.2 小夜班护士工作流程图3.2.5.3 大夜班护士工作流程图3.2.5.4 治疗办护士工作流程图3.2.5.5 文秘班护士工作流程图3.3 急诊科工作流程图83.3.1 急诊科院前诊疗工作流程图3.3.2 急诊科院内诊疗工作流程图3.4 麻醉科工作流程图3.4.1麻醉科医师日常工作流程图3.4.2麻醉科护士工作流程图3.4.3 麻醉科值班护士工作流程图3.5放射治疗工作流程图3.6高压氧舱治疗工作流程图4. 抢救工作流程图4.1 危重病人抢救工作流程图4.2 休克抢救流程图4.3 感染性休克抢救流程图4.4 心源性休克抢救流程图4.5 过敏性休克抢救流程图4.6 低血容量性休克抢救流程图4.7代谢性酸中毒抢救流程图4.8高渗性脱水抢救流程图4.9低、等渗性脱水抢救流程图4.10昏迷病人抢救流程图4.11不稳定心绞痛抢救流程图4.12心肌梗死抢救流程图94.13 室性心动过速抢救流程图4.14 心动过缓抢救流程图4.15 心室颤动(室颤)抢救流程图4.16 上消化道出血抢救流程图4.17 糖尿病酮症酸中毒抢救流程图4.18糖尿病高渗性昏迷(HNDC)抢救流程图4.19低血糖症抢救流程图4.20出血性脑血管病抢救流程图4.21 缺血性脑血管病抢救流程图4.22 脑疝抢救路程图5.护理部工作流程5.1护理质量控制工作流程图5.2护士长例会会议流程图5.3护理业务查房工作流程图5.4护理行政查房工作流程图5.5护士长夜查房工作流程图5.6护理人员业务培训工作流程图5.7护士外出学习、进修管理工作流程图5.8接收护理实习生、志愿者护理人员管理工作流程图10111.医院行政管理工作流程图 1.1行政会议流程图 1.1.1院长办公会议流程图121.1.2中层干部例会会议流程图131.1.3大型会议会务组织工作流程图141.2文件管理工作流程图1.2.1职代会行政文件制作流程图151.2.2公文制发工作流程图16171819201.2.7文书档案管理工作流程图211.2.8复印工作流程图221.2.9打印材料工作流程图231.2.10 报刊征订工作流程图241.3人力资源管理工作流程图1.3.1职工调入(毕业生分配)工作流程图1.3.2员工劳动合同管理工作流程图261.3.3办理退休手续工作流程图2728291.3.6科室考核管理工作流程图321.4医院文化工作流程图1.4.1院报制发工作流程图331.4.2 定期报送信息工作流程图341.5接待工作流程图1.5.1外事接待工作流程图1.5.2患者来信、来访处理工作流程图351.5.3出院病人满意度调查工作流程图361.6医务科工作流程图1.6.1医疗行政管理工作流程图371.6.2医务人员业务培训工作流程图381.6.3接收医师实习进修人员管理工作流程图391.6.4外出进修培训工作流程图1.6.5院内临床病历讨论工作流程图4142431.6.8新技术项目开展工作流程图441.6.9医疗纠纷接待处理工作流程图451.6.10医疗大查房工作流程图461.6.11临床科室危重人会诊工作流程图471.6.12病人转诊工作流程图481.6.13科主任例会流程图491.6.14公共卫生事件应急救援工作流程图50。
(管理流程图)各类医院流程图康复科对患者病情及所承受能力确认的流程康复意外紧急处置流程康复治疗训练过程中的记录规范、诊断标准与流程综合应用作业疗法、物理治疗法、语言治疗法规定与流程党政办公室患者的服务流程医院总值班流程总值班应急工作流程图医院应急工作流程门诊部门诊预约流程图与基层医疗机构合作开诊预约转诊服务流程物理诊断科物理诊断科检查及报告书写流程物理诊断科紧急意外抢救流程医疗差错事故防范流程护理部急诊、医技检查、药房、住院、手术、介入流程采集血标本流程术后患者管理相关流程消毒供应室工作流程压疮风险评估与报告流程住院患者出院后的随访与指导流程医务科非计划再次手术”流程检验科危急值报告流程临床会诊工作流程图医院突发传染病事件,应急流程报告方式、时限和流程检验新项目审批流程实验室安全管理流程图病人跌倒后处理流程急诊手术管理流程急诊与住院连贯的医疗服务流程紧急用血流程麻醉意外与并发症处理流程门急诊病人入院流程手术安全核查手术部位标识流程医疗安全不良事件报告流程危机值报告流程医师外出会诊管理流程院内会诊管理流程急诊病人院前与院内急救衔接流程执行留观、入院、出院、转科、转院制度,并有相应的服务流程, 留观服务流程病人入院流程病人转科、转院工作流程重大手术审批流程住院患者出院后的随访与指导流程ICU转入(出)工作流程无名患者身份标识的方法和核对流程紧急情况下口头医嘱执行流程模糊医嘱的澄清流程医技科室(放射,B超,CT,心电,内镜)抢救危重患者紧急呼救流程医疗技术审批流程医疗技术管理流程科室无空床处理流程科室医疗设施有限时处理流程急诊病人院前与院内急救衔接流程院内感染科锐器伤后处理流程图乙肝职业暴露处理方法与报告流程图丙肝职业暴露处理方法与报告流程图梅毒职业暴露处理方法与报告流程图HIV职业暴露处理方法与报告流程图对患者病情及所承受能力确认的流程康复意外紧急处置流程康复治疗训练过程中的记录规范、诊断标准与流程综合应用作业疗法、物理治疗法、语言治疗法规定与流程患者的服务流程总值班应急工作流程图医院应急工作流程门诊预约流程图与基层医疗机构合作开诊预约转诊服务流程物理诊断科检查及报告书写流程物理诊断科紧急意外抢救流程医疗差错事故防范流程急诊、医技检查、药房、住院、手术、介入流程采集血标本流程术后患者管理相关流程消毒供应室工作流程压疮风险评估与报告流程住院患者出院后的随访与指导流程非计划再次手术”流程急诊检验科危急值报告流程临床医生立即作相应的诊疗处理,医生、护士、检验人员分别作相应的记录并存档检验新项目审批流程→病人跌倒后处理流程急诊手术管理流程急诊与住院连贯的医疗服务流程紧急用血流程麻醉意外与并发症处理流程门急诊病人入院流程手术安全核查手术部位标识流程以下情况必须记成对器官双侧器官椎体水平腹部正中切口单手术医疗安全不良事件报告流程危机值报告流程医师外出会诊管理流程执行留观、入院、出院、转科、转院制度,并有相应的服务流程留观服务流程病人入院流程。
医院各部门流程图汇总对患者病情及所承担能力确认的流程康复意外紧急处置流程康复治疗训练过程中的记录规范、诊断标准与流程综合应用作业疗法、物理治疗法、语言治疗法规定与流程党政办公室患者的服务流程医院总值班流程总值班应急工作流程图医院应急工作流程门诊部门诊预约流程图与基层医疗机构合作开诊预约转诊服务流程物理诊断科物理诊断科检查及报告书写流程物理诊断科紧急意外抢救流程医疗差错事故防范流程护理部急诊、医技检查、药房、住院、手术、介入流程采集血标本流程术后患者治理有关流程消毒供应室工作流程压疮风险评估与报告流程住院患者出院后的随访与指导流程医务科非打算再次手术”流程检验科危险值报告流程临床会诊工作流程图医院突发传染病事件,应急流程报告方式、时限和流程检验新项目审批流程实验室安全治理流程图病人跌倒后处理流程急诊手术治理流程急诊与住院连贯的医疗服务流程紧急用血流程麻醉意外与并发症处理流程门急诊病人入院流程手术安全核查手术部位标识流程医疗安全不良事件报告流程危机值报告流程医师外出会诊治理流程院内会诊治理流程急诊病人院前与院内急救衔接流程执行留观、入院、出院、转科、转院制度,并有相应的服务流程, 留观服务流程病人入院流程病人转科、转院工作流程重大手术审批流程住院患者出院后的随访与指导流程ICU转入(出)工作流程无名患者身份标识的方法和核对流程紧急情形下口头医嘱执行流程模糊医嘱的澄清流程医技科室(放射,B超,CT,心电,内镜)抢救危重患者紧急呼救流程医疗技术审批流程医疗技术治理流程科室无空床处理流程科室医疗设施有限时处理流程急诊病人院前与院内急救衔接流程院内感染科HIV康复意外紧急处置流程总值班应急工作流程图医院应急工作流程门诊预约流程图与基层医疗机构合作开诊预约转诊服务流程医疗差错事故防范流程住院患者出院后的随访与指导流程非打算再次手术”流程急诊检验科危险值报告流程检验新项目审批流程检验科填写新增检验科项目申请表报医务科批准 → 医院院务会批准 →新项目试运行结果通过 ←试运行终止后请院务会议组织评审医务科通过 →院务会议通过→通知全院各科室实验室安全治理流程图病人跌倒后处理流程24h24n诊疗方案,方案选择,24h按打算安排检查明确诊断完成各项治疗(麻醉手术)需要时改变诊疗打算门急诊病人入院流程手术安全核查手术部位标识流程医疗安全不良事件报告流程危机值报告流程医师外出会诊治理流程院内会诊治理流程急诊病人院前与院内急救衔接流程邀请医师资质会诊的目的、时刻加盖邀请机构公章医务部审核同意 登记备案难以胜任会诊工作告知邀请医疗机构返回后2日内报医务部并终止会诊会诊费用交财务部 按规定提取 医院另行安排件报告进行分析、总结、并给予通报样本咨询题?重采复查?采取措施 书面记录 检验日期、病人姓名、住院号科室床号、检验项目、检验结果 复查结果、接电话人、联系时刻酌情复查无误 赶忙通知临床 是否与临床相符执行留观、入院、出院、转科、转院制度,并有相应的服务流程留观服务流程病人入院流程病人转科、转院工作流程住院患者出院后的随访与指导流程ICU转入(出)工作流程无名患者身份标识的方法和核对流程紧急情形下口头医嘱执行流程号;过敏史(不详)。
医院各部门流程图汇总康复科对患者病情及所承受能力确认的流程康复意外紧急处理流程康复治疗训练过程中的记录规范、诊断标准与流程综合应用作业疗法、物理治疗法、语言治疗法规定与流程党政办公室患者的服务流程医院总值班流程总值班应急工作流程图医院应急工作流程门诊部门诊预约流程图与基层医疗机构合作开诊预约转诊服务流程物理诊断科物理诊断科检查及报告书写流程物理诊断科紧急意外抢救流程医疗差错事故防范流程护理部急诊、医技检查、药房、住院、手术、介入流程采集血标本流程术后患者管理相关流程消毒供应室工作流程压疮风险评估与报告流程住院患者出院后的随访与指导流程医务科非计划再次手术”流程检验科危急值报告流程临床会诊工作流程图医院突发传染病事件,应急流程报告方式、时限和流程检验新项目审批流程实验室安全管理流程图病人跌倒后处理流程急诊手术管理流程急诊与住院连贯的医疗服务流程紧急用血流程麻醉意外与并发症处理流程门急诊病人入院流程手术安全核查手术部位标识流程医疗安全不良事件报告流程危机值报告流程医师外出会诊管理流程院内会诊管理流程急诊病人院前与院内急救衔接流程执行留观、入院、出院、转科、转院制度, 并有相应的服务流程, 留观服务流程病人入院流程病人转科、转院工作流程重大手术审批流程住院患者出院后的随访与指导流程ICU转入 ( 出) 工作流程无名患者身份标识的方法和核对流程紧急情况下口头医嘱执行流程模糊医嘱的澄清流程医技科室( 放射, B超, CT, 心电, 内镜) 抢救危重患者紧急呼救流程医疗技术审批流程医疗技术管理流程科室无空床处理流程科室医疗设施有限时处理流程急诊病人院前与院内急救衔接流程院内感染科锐器伤后处理流程图乙肝职业暴露处理方法与报告流程图丙肝职业暴露处理方法与报告流程图梅毒职业暴露处理方法与报告流程图HIV职业暴露处理方法与报告流程图对患者病情及所承受能力确认的流程。
医院工作基本流程图科室工种齐全名目1.医院行政治理工作流程图1.1行政会议工作流程图1.1.1院长办公会议流程图1.1.2中层干部例会会议流程图1.1.3大型会议会务组织工作流程图1.2文案治理工作流程图1.2.1职代会行政文件制作流程图1.2.2公文制发工作流程图1.2.3上级文件收发工作流程图1.2.4印章使用治理工作流程图1.2.5报刊收发工作流程图1.2.6图书治理工作流程图1.2.7文书档案治理工作流程图1.2.8复印工作流程图1.2.9打印材料工作流程图1.2.10 报刊征订工作流程图1.3人力资源治理工作流程图1.3.1职工调入〔毕业生分配〕工作流程图1.3.2职员劳动合同治理工作流程图1.3.3办理退休手续工作流程图1.3.4职称治理工作流程图1.3.5岗前培训工作流程图1.3.6科室考核治理工作流程图1.3.7职员考评治理工作流程图1.3.8医德医风检查工作流程图1.4医院文化工作流程图1.4.1院报制发工作流程图1.4.2 定期报送信息工作流程图1.5接待工作流程图1.5.1外事接待工作流程图1.5.2患者来信、来访处理工作流程图1.5.3出院病人中意度调查工作流程图1.6医务科工作流程图1.6.1医疗行政治理工作流程图1.6.2医务人员业务培训工作流程图1.6.3接收医师实习进修人员治理工作流程图1.6.4外出进修培训工作流程图1.6.5院内临床病历讨论工作流程图1.6.6医疗质量治理工作流程图1.6.7病历质量考核工作流程图1.6.8新技术项目开展工作流程图1.6.9医疗纠纷接待处理工作流程图1.6.10医疗大查房工作流程图1.6.11临床科室危重人会诊工作流程图1.6.12病人转诊工作流程图1.6.13科主任例会流程图1.6.14公共卫生事件应急救援工作流程图1.6.15卫生〝三下乡〞活动流程图1.7科教治理工作流程1.7.1科研治理工作流程图1.7.2论文、专著、成果登记奖励工作流程图1.8护理工作流程图1.8.1护理质量操纵工作流程图1.8.2护士长例会会议流程图1.8.3护理业务查房工作流程图1.8.4护理行政查房工作流程图1.8.5护士长夜查房工作流程图1.8.6护理人员业务培训工作流程图1.8.7护士外出学习、进修治理工作流程图1.8.9接收护理实习生、试用期护理人员治理工作流程图1.9 感染治理工作流程圄1.9.1医院感染操纵工作流程图1.9.2医院感染操纵质量检查工作流程图1.9.3医院感染病例监测工作流程图1.9.4医院感染暴发应急处理工作流程图1.9.5院感知识连续教育工作流程图1.9.6消毒灭菌成效及环境卫生学监测工作流程图1.9.7医护人员职业暴露处理与报告工作流程图1.9.8一次性医疗用品治理工作流程图1.9.9医疗废物回收、处理工作流程图1.10预防保健工作流程图1.10.1预防保健工作流程图1.10.2传染病治理工流程图1.10.3疫苗治理工作流程图1.11 财务治理工作流程图1.11.1年度预算工作流程图1.11.2年度决算工作流程图1.11.3账务处理工作流程图1.11.4财务报表工作流程图1.11.5收入工作流程图1.11.6银行、出纳付款工作流程图1.11.7薪金发入工作流程图1.11.8固定资产及物资核对工作流程图1.11.9社会保证金及税金的核算缴纳工作流程图1.11.10票据治理工作流程图1.11.11财务审计工作流程图1.11.12收费工作流程图1.11.13退费工作流程图1.11.14患者医疗保险治理工作流程图1.11.15本院职工及家属医疗费审核工作流程图1.11.16效益工资核算工作流程图1.12信息统计工作流程图1.12.1工作量报表工作流程图1.12.2日报表工作流程图1.12.3信息工作流程图1.12.4病案治理工作流程图1.13设备器材科工作流程图1.13.1医疗设备器材购置工作流程图1.13..2医疗设备治理工作流程图1.13.3医用器材治理流程图1.13.4计量治理工作流程图1.14后勤治理工作流程圈1.14.1固定资产及物资购置工作流程图1.14.2物资供应治理工作流程图1.14.3物品领取工作流程图1.14.4报废工作流程图1.14.5工勤修理工作流程图1.14.6电梯检修保养工作流程图1.14.7供汽锅炉运气操作工作流程图1.14.8供氧工作流程图1.14.9发电工作流程图1.14.10中央空调运行工作流程图1.14.11电梯驾驶员操作工作流程图1.15保安治理工作流程图1.15.1安全检查工作流程图1.15.2应急突发事件治理工作流程图1.15.3安全保卫工作流程图2. 门诊工作流程圄2.1门诊咨询工作流程图2.2门诊挂号工作流程图2.3住院病人住院流程图2.4住院病人出院流程图2.5门诊部医师工作流程图2.6门诊部护士工作流程图2.7门诊手术工作流程图3.临床科室工作流程图3.1临床科室主任医疗行政治理工作流程图3.1.1临床科室主任医疗行政治理工作流程图3.1.2 临床科室医师日常医疗工作流程图3.1.3临床科室新入院病人医师工作流程图3.1.4住院手术病人工作流程图3.1.5临床用血工作流程3.1.6住院病人医院医疗工作流程3.2临床科室护理工作流程图3.2.1临床科室入院病人护理工作流程图3.2.2临床科室出院病人护理工作流程图3.2.3危重患者抢抢救理工作流程3.2.4临床科室手术病人护理工作流程图3.2.5 护理各班次工作流程图3.2.5.1 早班护士工作流程图3.2.5.2 小夜班护士工作流程图3.2.5.3 大夜班护士工作流程图3.2.5.4 治疗办护士工作流程图3.2.5.5 文秘班护士工作流程图3.3 急诊科工作流程图3.3.1 急诊科院前诊疗工作流程图3.3.2 急诊科院内诊疗工作流程图3.4 麻醉科工作流程图3.4.1麻醉科医师日常工作流程图3.4.2麻醉科护士工作流程图3.4.3 麻醉科值班护士工作流程图3.5放射治疗工作流程图3.6高压氧舱治疗工作流程图4. 抢救工作流程图4.1 危重病人抢救工作流程图4.2 休克抢救流程图4.3 感染性休克抢救流程图4.4 心源性休克抢救流程图4.5 过敏性休克抢救流程图4.6 低血容量性休克抢救流程图4.7代谢性酸中毒抢救流程图4.8高渗性脱水抢救流程图4.9低、等渗性脱水抢救流程图4.10昏迷病人抢救流程图4.11不稳固心绞痛抢救流程图4.12心肌梗死抢救流程图4.13 室性心动过速抢救流程图4.14 心动过缓抢救流程图4.15 心室跳动〔室颤〕抢救流程图4.16 上消化道出血抢救流程图4.17 糖尿病酮症酸中毒抢救流程图4.18糖尿病高渗性昏迷〔HNDC〕抢救流程图4.19低血糖症抢救流程图4.20出血性脑血管病抢救流程图4.21 缺血性脑血管病抢救流程图4.22 脑疝抢救路程图5.护理部工作流程5.1护理质量操纵工作流程图5.2护士长例会会议流程图5.3护理业务查房工作流程图5.4护理行政查房工作流程图5.5护士长夜查房工作流程图5.6护理人员业务培训工作流程图5.7护士外出学习、进修治理工作流程图5.8接收护理实习生、理想者护理人员治理工作流程图1.医院行政治理工作流程图1.1行政会议流程图1.1.1院长办公会议流程图1.1.2中层干部例会会议流程图1.1.3大型会议会务组织工作流程图1.2.1职代会行政文件制作流程图1.2.7文书档案治理工作流程图1.2.8复印工作流程图1.3人力资源治理工作流程图1.3.1职工调入〔毕业生分配〕工作流程图1.3.2职员劳动合同治理工作流程图1.3.3办理退休手续工作流程图1.4医院文化工作流程图1.4.1院报制发工作流程图1.4.2 定期报送信息工作流程图1.5接待工作流程图1.5.1外事接待工作流程图1.5.2患者来信、来访处理工作流程图1.5.3出院病人中意度调查工作流程图1.6医务科工作流程图1.6.1医疗行政治理工作流程图1.6.2医务人员业务培训工作流程图1.6.3接收医师实习进修人员治理工作流程图1.6.4外出进修培训工作流程图1.6.5院内临床病历讨论工作流程图1.6.8新技术项目开展工作流程图1.6.9医疗纠纷接待处理工作流程图1.6.10医疗大查房工作流程图1.6.11临床科室危重人会诊工作流程图1.6.12病人转诊工作流程图1.6.13科主任例会流程图1.6.14公共卫生事件应急救援工作流程图1.6.15卫生〝三下乡〞活动流程图1.7科教治理工作流程1.7.1科研治理工作流程图1.7.2论文、专著、成果登记奖励工作流程图1.8护理工作流程图1.8.1护理质量操纵工作流程图1.8.2护士长例会会议流程图1.8.3护理业务查房工作流程图。
医院质量管理流程—超全面一、行政管理工作流程图(一)行政办公流程图1、总经理 / 院长工作流程图目标考核4、人力资源部主任工作流程图考核奖惩完成工作目督促做好消毒隔离工作拟订有关业务计划,报批主管院长后深入科室,督促制度落实和常规的执制定预案,定期检查,处理投诉,严组织全院医技人员进行业务培训与组织执业医师申请考试审核、安排、考核进修人员组织科研课题的申请、验收工作负责外来专家的管理工作督促检查药品、医疗器械的供应和管考核奖惩医务部主任具体组织实施全院医、教、研、预防科主任依法行医,规范行为,人性化规范诊疗常规,提高○1习知新学新识技开展医疗新技术,开发科研新解决疑难杂症协调关系,增强凝聚力论;○3读得阅心交接待处理投诉,降低上访率,提高成本核算,增收节支做好考评,奖惩分明术;○2难例疑病讨流;○4病历、处方书写规范;培养人才,科技兴妥善解决矛盾完成工作考核奖惩组织学习,撰写论文,完成学中级以上人员,论文1~2篇 /年7、护理部主任工作流程图主任(总护士长)负责全院护理工作与各科室主任取得联系反计划拟订全年的工作计划、目标,安排全年学习计划,检查护理工作质量,按期总结汇报实施组织全体护理人员的政治学习和业务学习培训,严格执行各项规章制度和法律法规,提高整体素质,组织和指导全院的教学工作,开发和应用护理新技术掌握本院各科室的护理工作情况,加强对护士长及主管护师的指导与培养,定期组织她们相互检查、学习和交流经验,不断提高护理质量各科室护理之间关系,合理调配护理人员,协同人事部门做好各科护士和护士长的任免、考核、晋升工作负责对全院护士的职业道德、职业责任教育,培养她们树立全心全意为患者服务的思想,热爱护理专业,杜绝护理差错事故发生,并负责对有关问题进行处理检查各科室的消毒隔离工作、操作常规及清洁工作沟通协调培训教育监督完成工作考核奖惩挂钩护理部目标。
康复科对患者病情及所承受能力确认的流程康复意外紧急处置流程康复治疗训练过程中的记录规范、诊断标准与流程综合应用作业疗法、物理治疗法、语言治疗法规定与流程党政办公室患者的服务流程医院总值班流程总值班应急工作流程图医院应急工作流程门诊部门诊预约流程图与基层医疗机构合作开诊预约转诊服务流程物理诊断科物理诊断科检查及报告书写流程物理诊断科紧急意外抢救流程医疗差错事故防范流程护理部急诊、医技检查、药房、住院、手术、介入流程采集血标本流程术后患者管理相关流程消毒供应室工作流程压疮风险评估与报告流程住院患者出院后的随访与指导流程医务科非计划再次手术”流程检验科危急值报告流程临床会诊工作流程图医院突发传染病事件,应急流程报告方式、时限和流程检验新项目审批流程实验室安全管理流程图病人跌倒后处理流程急诊手术管理流程急诊与住院连贯的医疗服务流程紧急用血流程麻醉意外与并发症处理流程门急诊病人入院流程手术安全核查手术部位标识流程医疗安全不良事件报告流程危机值报告流程医师外出会诊管理流程院内会诊管理流程急诊病人院前与院内急救衔接流程执行留观、入院、出院、转科、转院制度,并有相应的服务流程, 留观服务流程病人入院流程病人转科、转院工作流程重大手术审批流程住院患者出院后的随访与指导流程ICU转入(出)工作流程无名患者身份标识的方法和核对流程紧急情况下口头医嘱执行流程模糊医嘱的澄清流程医技科室(放射,B超,CT,心电,内镜)抢救危重患者紧急呼救流程医疗技术审批流程医疗技术管理流程科室无空床处理流程科室医疗设施有限时处理流程急诊病人院前与院内急救衔接流程院内感染科锐器伤后处理流程图乙肝职业暴露处理方法与报告流程图丙肝职业暴露处理方法与报告流程图梅毒职业暴露处理方法与报告流程图HIV职业暴露处理方法与报告流程图对患者病情及所承受能力确认的流程康复意外紧急处置流程康复治疗训练过程中的记录规范、诊断标准与流程综合应用作业疗法、物理治疗法、语言治疗法规定与流程患者的服务流程总值班应急工作流程图医院应急工作流程门诊预约流程图与基层医疗机构合作开诊预约转诊服务流程物理诊断科检查及报告书写流程物理诊断科紧急意外抢救流程医疗差错事故防范流程采集血标本流程术后患者管理相关流程消毒供应室工作流程压疮风险评估与报告流程住院患者出院后的随访与指导流程非计划再次手术”流程急诊检验科危急值报告流程医院各部门岗位职责医院各部门岗位职责检验新项目审批流程实验室安全管理流程图病人跌倒后处理流程急诊手术管理流程急诊与住院连贯的医疗服务流程入院总体认同通知病区备床办理入院手续医生及时开出医嘱24h内护理初始评估24n内完成医疗护理计划诊疗方案,效果利弊,住院费用方案选择,风险程度,知情同意 24h内完成医疗护理初始评估按计划安排检查明确诊断需要时改变诊疗计划紧急用血流程麻醉意外与并发症处理流程门急诊病人入院流程。
医院各部门操作流程图1.术前准备术前解除患者恐惧紧张心理↓护士对病人术前状态应了解,观察有无上呼吸道感染、发热、月经来潮、情绪不稳等情况、及时向医生提供↓病人生理心理精神状况良好,无任何不适时实行手术↓术前用药,执行预防过敏反应发生的药物使用流程↓做好病要术前卫生处臵、沐浴、备皮、更衣等↓遵医嘱行术前治疗护理处臵,并执行标准化规范操作,如灌肠、导尿、禁食等↓术前测量生命体征并记录,检查术前准备工作↓贵重物品如手饰、手机、钱等留在病房给自己的亲人↓手术室护士接病人至手术室,与病房护士交接,必要时一同护送↓根据手术时间及术后需要准备单元用物2.手术后护理质量控制流程护士笑迎术后病人回病房,护士应祝贺手术病人手术获得成功↓监测生命体征,并妥善安臵各种管道,观察并做好记录↓采取合适体位使病人安全舒适↓及时为病人解除手术后疼痛、不适等↓保持管路通畅,观察伤口情况,保持敷料清洁↓做好基础护理,防止并发症发生↓遵照医嘱及时用药,预防感染发生↓加强营养,增强体质,促进伤口愈合↓进行健康教育,使病人掌握相关疾病护理要点进行自我防护3.晨间护理工作流程责任护士、护理员、护士长↓晨间到床旁,问好,解释,取得病人的配合↓根据气候,关闭门窗,协助病人取得舒适卧位↓进行刷牙、洗脸、梳头、翻身、按摩等护理,必要时剪指甲、更衣↓更换各种引流管、引流袋、湿化瓶水等,记录量↓逐层清扫床铺,必要时更换及被服,开窗通风30分钟↓征求病人意见,感谢合作,等待查房4.晚间护理工作流程夜班护士、护理员、护生↓到床旁,问好,解释,关门窗,拉窗帘↓指导或协助患者刷牙、洗脸、泡脚、擦洗及其它↓完成相关治疗护理工作↓整理床铺,协助排便,创造适于睡眠环境,必要时帮助患者入眠↓感谢合作,祝病人晚安,盖好盖被↓关吊灯,(开床头灯)轻掩房门↓按护理级别及治疗需要,定时巡视记录并治疗,病情允许治疗护理工作最好集中进行5.护理文书书写流程责任护士,主班护士每日2-4次根据实际测量结果绘制体温单中各种图标,项目齐全↓根据对病情的观察及处臵按时限书写护理记录,特殊情况随时书写↓根据每日对病人处臵情况执行者及时填写执行医嘱记录↓每日下午进行医嘱执行及护理文书查对↓↓———————————————————↓主班护士下午巡视病房责任护士根据分管病人了解病区整体情况及重病人病情信息病情及治疗护理观察信息↓↓根据掌握信息书写护理交班报告根据观察所见按时限书写重症护理记录及一般护理记录6.治疗护士药物配制工作流程药疗护士接到治疗通知单↓与主班护士进行三查十对,检查药物质量,再次核对姓名及使用方法↓如需要进行药物皮试,确认无误后进行配制,责任护士执行,并观察结果,确认为(-)↓再次查对药物性质,一次用品质量、输液通知单中药物用法剂量,查对药物配伍禁忌↓按照无菌技术操作标准流程于输液前现用现配↓药物全部常溶解,安瓶不留残余,并再次查对无误↓在输液单第二联上签名,在液体瓶上注明床号、姓名、药物及配制时间↓与责任护士再次查对,由责任护士执行7.危重病人护理质量控制流程专科护士承担危重病人护理↓根据监护指标及病情变化进行动态监护↓抢救药品、设施必备、能随时自如使用↓严密观察病情变化,及时发现问题,做好记录↓对发生问题及时报告,必要时能应急处理↓按护理计划随时做好基础护理、消毒隔离工作↓在主任及医生业务指导下工作,护士长监督执行情况↓特一级护理病人护理质量达标8.接待新住院病人护理流程接到通知,了解病情↓根据掌握信息评估病人需求↓责任护士准备床单及用物↓告知患者衣柜内有衣架,饭卡使用方法,便盆,脸盆送至病房↓护士礼貌迎接病人,测量生命体征、体重(卧床病人例外)↓陪同进病房,责任护士介绍情况并了解病人需求↓请主管医生进行住院查体问诊↓责任护士进行疾病健康教育及服务指导心理护理↓感谢病人合作,请病人先休息↓写护理记录,执行医嘱,有治疗抄写治疗本↓根据护理级别巡视病房,生活方面能解决的问题及时解决,严禁冷、硬、推、拖↓根据患者评比情况给予适当奖励↓有计划安排工作,做到忙而不乱,心中有数,严格查对制度三查:操作前、中、后查对十对:床号、姓名、姓别、年龄、药名、计量、浓度、时间、用法、有效期9.输血护理操作流程执行输血医嘱↓护士携输血申请单和病人输血同意书并带患者血样(姓名床号的标记)和输血预交现金一并送化验室↓接血库取血的通知后与输血科人员查对无误后签字取血,血型,血袋号码,有效期,血液的质量,防止剧烈振荡已免溶血↓输前血液在室温下预热,护士二人再次共同查对病人血型与输血单是否一致,查↓确认无误后护士二人共同到床旁,准备好用物,二人再次查对并核实病人↓准确无误时,二人协作,输入↓输入后护士在床旁观察5-10分钟,无异常方可离开↓输入中勤观察,询问病人感受,有异常及时处理↓在护理记录中记录输血相关事宜↓输毕,再次查对,将血袋收回,于2小时内送至输血库(化验室)保存。
【管理流程】医院各部门流程图汇总
康复科
对患者病情及所承受能力确认的流程
康复意外紧急处置流程
康复治疗训练过程中的记录规范、诊断标准和流程
综合应用作业疗法、物理治疗法、语言治疗法规定和流程党政办公室
患者的服务流程
医院总值班流程
总值班应急工作流程图
医院应急工作流程
门诊部
门诊预约流程图
和基层医疗机构合作开诊预约转诊服务流程
物理诊断科
物理诊断科检查及方案书写流程
物理诊断科紧急意外抢救流程
医疗差错事故防范流程
护理部
急诊、医技检查、药房、住院、手术、介入流程
采集血标本流程
术后患者管理相关流程
消毒供应室工作流程
压疮风险评估和方案流程
住院患者出院后的随访和指导流程
医务科
非计划再次手术”流程
检验科危急值方案流程
临床会诊工作流程图
医院突发传染病事件,应急流程方案方式、时限和流程检验新项目审批流程
实验室安全管理流程图
病人跌倒后处理流程
急诊手术管理流程
急诊和住院连贯的医疗服务流程
紧急用血流程
麻醉意外和且发症处理流程
门急诊病人入院流程
手术安全核查
手术部位标识流程
医疗安全不良事件方案流程
危机值方案流程
医师外出会诊管理流程
院内会诊管理流程
急诊病人院前和院内急救衔接流程
执行留观、入院、出院、转科、转院制度,且有相应的服务流程, 留观服务流程病人入院流程
病人转科、转院工作流程
重大手术审批流程
住院患者出院后的随访和指导流程
ICU转入(出)工作流程
无名患者身份标识的方法和核对流程
紧急情况下口头医嘱执行流程
模糊医嘱的澄清流程
医技科室(放射,B超,CT,心电,内镜)抢救危重患者紧急呼救流程
医疗技术审批流程
医疗技术管理流程
科室无空床处理流程
科室医疗设施有限时处理流程
急诊病人院前和院内急救衔接流程
院内感染科
锐器伤后处理流程图
乙肝职业暴露处理方法和方案流程图
丙肝职业暴露处理方法和方案流程图
梅毒职业暴露处理方法和方案流程图
HIV职业暴露处理方法和方案流程图
对患者病情及所承受能力确认的流程
康复意外紧急处置流程。