CE认证介绍教程
- 格式:ppt
- 大小:382.50 KB
- 文档页数:27
机械产品ce认证指南随着机械产品的广泛应用,CE认证成为了欧洲市场进口机械产品的基本要求。
CE认证是一种符合欧洲标准的认证标志,是产品在欧盟市场销售的必需标志。
本文将详细介绍机械产品CE认证指南,帮助企业了解CE认证流程和注意事项。
一、CE认证的概念CE认证是指欧洲和一些国家为了保护人身安全、财产安全和环境安全,[通过规定的安全标准]在产品销往欧盟国家之前,对进口的产品进行检测、指令、认证和标志等各个环节的合理控制,以保证产品合法,符合欧盟法律要求。
二、CE认证产品范围根据CE认证的范围,被认定的机械产品包含了众多种类,如:1. 汽车、摩托车及其零部件;2. 农业机械设备及其零部件;3. 建筑与道路工程机械、工业机械;4. 家用电器、喷漆设备、安全防护设备。
三、CE认证流程1. 准备工作务必到官方网站下载相关资料。
准备提交文件或样品时,必须以欧洲的标准书写,产品手册、说明书必须标注英文。
符号和指标的标准必须符合欧洲标准。
2. 类型试验通过对CE认证产品进行型式试验,确认产品是否符合欧盟法律要求,产品型式试验主要包括:性能试验:性能检测分为静态检测和动态检测,分别检测产品核心参数是否满足欧盟的要求;电磁干扰测试:测试设备在电磁环境下是否会产生干扰,是否能够持续正常工作;安全测试:检测CE认证产品是否符合欧盟机械指令在安全方面的基本要求。
3. 技术文件审核审核机构会要求申请人提交相关技术说明书、用户手册、安全规格书、测试报告等文件,审核机构对审核过程要求非常严格,因为技术文件的审核是认证的核心。
审核机构必须解决所有问题并确认证书的有效性。
4. EC标志的使用通过认证机构的审核,合格的产品可以在产品上使用CE 认证标志,以便在欧洲市场中销售。
此标志必须正确使用和标注。
四、注意事项1. 产品成品检测欧盟指令要求申请一定数量的样本去参加检测和评估,这是评估产品质量、性能以及安全性的重要步骤。
2. 审核标准在申请CE认证审批时,需要注意审核标准,使用的标准必须符合欧盟标准,以确保方法、标准等均按照欧盟法律要求,以便更好地遵守CE认证指南。
ce认证的六个步骤CE认证,指的是商品符合欧盟相关指令的标准要求后获得的认证。
对于希望将商品出口至欧洲市场的企业来说,CE认证是非常重要的。
下面将分为六个步骤,详细介绍CE认证的流程。
第一步:确定适用的指令首先,企业需要确定适用于自己商品的指令。
欧盟有多个指令,针对不同行业和商品,如低电压指令(LVD)、机械指令(MD)等。
根据商品的特点和功能,以及欧盟法规的要求,选择正确的指令非常重要。
第二步:进行产品评估在确定适用指令后,企业需要对自己的商品进行评估。
这包括对商品结构、材料、性能等方面的检查和测试。
根据指令的要求,可能需要对商品进行实验室测试或现场测试,以确保其符合相应的标准。
第三步:编写技术文档在通过评估后,企业需要编写技术文档,详细说明其商品的技术特点、性能参数、安全要求等。
这些文件通常包括用户手册、技术规范、产品测试报告等。
企业需要确保文档的准确性和完整性,以便后续的认证进程。
第四步:制定合规策略接下来,企业需要制定合规策略,确保其商品符合CE认证要求。
这包括制定产品设计、生产和运营的规范和流程,以便确保产品在整个生命周期内保持合规性。
企业也可以寻求专业的合规咨询机构的帮助,以确保制定的策略和措施是有效的。
第五步:申请认证机构进行评估完成前面的准备工作后,企业可以选择合适的认证机构,提交申请进行评估和认证。
认证机构将对企业的商品、技术文档和合规策略进行审核,以确定是否符合欧盟的相关要求。
如果通过审核,企业将获得相应的CE认证证书。
第六步:标注CE标识获得CE认证后,企业需要标注商品上的CE标识,以证明其合规性。
CE标识通常应用于商品的包装、说明书或本体上,以便消费者和监管机构可以轻松辨认商品是否符合欧盟标准要求。
企业需要确保标识的正确和清晰,以免引起误解。
除了上述六个步骤,企业还需要定期进行监督和管理,以确保商品的合规性和持续符合CE认证的要求。
这包括对生产过程、供应链等方面的监控和调整。
ce 教程
CE教程是指关于CE(Conformité Européene)认证的培训课程。
CE认证是欧盟国家要求的一种产品认证,符合CE标准的产品才能在欧洲市场销售。
CE教程旨在帮助企业了解CE认证的原理、过程和要求,为他们提供必要的知识和技能,以便顺利通过CE认证。
下面是一份典型的CE教程大纲,供参考:
一、CE认证的概述
1. 了解CE认证的背景和目的
2. 掌握CE认证的范围和适用领域
二、CE认证的法规和标准
1. 熟悉CE认证的相关法规和指令
2. 理解CE认证的技术标准和测试要求
三、CE认证的流程
1. 了解CE认证的申请流程和所需文件
2. 掌握CE认证的评估和审核过程
3. 能够处理CE认证过程中的问题和挑战
四、CE认证的实施和管理
1. 掌握CE认证的实施步骤和方法
2. 熟悉CE认证的管理要求和体系
3. 能够建立和维护CE认证的文件和记录
五、CE认证的案例分析和经验分享
1. 分析和讨论CE认证的典型案例
2. 分享CE认证的成功经验和实践技巧
六、CE认证的未来发展趋势
1. 了解CE认证的最新法规和标准的变化
2. 掌握CE认证的未来发展趋势和挑战
CE教程通常以讲座和讨论的形式进行,结合实际案例和练习,以增强学员对CE认证的理解和应用能力。
教程的时间一般为
几天到几周,根据学员的需求和要求可以进行定制。
通过参加CE教程,企业能够系统地了解CE认证的要求和流程,提高产品质量和安全性,提升公司在欧洲市场的竞争力。
同时,学员还可以与其他企业和专家进行交流和互动,建立专业人脉和合作关系。
CE认证“CE”标志是一种安全认证标志,被视为制造商打开并进入欧洲市场的护照。
CE代表欧洲统一(CONFORMITE EUROPEENNE)。
凡是贴有“CE”标志的产品就可在欧盟各成员国内销售,无须符合每个成员国的要求,从而实现了商品在欧盟成员国范围内的自由流通。
CE认证-流程第一步:确定产品符合的指令和协调标准超过20个指令覆盖的产品需要加贴CE标志。
这些指令分别覆盖了不同范围的产品,并且指令中列举了所覆盖产品的基本要求。
欧盟协调标准就是用来指导产品满足指令基本要求的详细技术文件。
第二步:确定产品应符合的详细要求您必须保证您的产品满足欧盟相关法律的基本要求。
产品满足其所适用的所有协调标准的要求,才被视为符合相关的基本要求。
是否适用协调标准完全是自愿的,您也可以选择其他方式来满足相应的基本要求。
第三步:确定产品是否需要公告机构参与检验您的产品所涉及到的每一个指令都对是否需要由第三方公告机构来参与CE的审核有详细的规定。
并不是所有产品都强制要求通过公告机构认证,所以确定是否真的需要公告机构参与是非常重要的。
这些公告机构都是由欧盟委员会授权的,并在NANDO(新方法指令公告机构及指定机构)的档案中有详细的清单。
第四步:测试产品并检验其符合性制造商有责任对产品进行测试并且检查其是否符合欧盟法规(符合性评估流程),风险评估是评估流程中的基础规则,满足了欧盟相关协调标准的要求后,您才有可能满足欧盟官方法规的基本要求。
第五步:起草并保存指令要求的技术文件制造商必须根据产品所符合指令的要求及风险评估的需要,建立产品的技术文件(TCF)。
如果相关授权部门要求,制造商须将技术文件及EC符合性声明一起提交检查。
第六步:在您的产品上加贴CE标志并做EC符合性声明(EC Declaration of Conformity)CE标志必须由制造商或其授权代表加贴在产品上。
CE标志必须按照其标准图样,清楚且永久的贴在产品或其铭牌上。
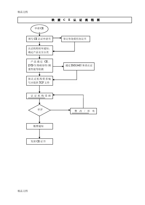
医疗器械CE认证的基本介绍医疗器械CE认证是指医疗器械制造商根据欧盟医疗器械指令(Medical Device Directive,简称MDD)或欧盟医疗器械规例(Medical Device Regulations,简称MDR)的要求,申请并获得CE认证的过程。
CE认证是产品在欧洲市场上销售和使用的必要条件之一,它代表着制造商对产品的合规性和质量的承诺。
CE认证的过程包括以下几个关键步骤:1.审查文件:制造商需要准备和提交一系列的技术文档,包括产品设计和制造过程的说明、使用说明书、性能测试报告、质量管理体系等。
这些文件将被认证机构用于审核和评估产品的合规性。
2.评估产品:认证机构将对产品进行技术评估,以确认其是否符合欧盟医疗器械指令或规例的要求。
评估的范围包括产品的设计、性能、安全性等方面。
3.审核质量管理体系:制造商需要建立并实施符合相关标准要求的质量管理体系,并通过认证机构的审核确认其有效性。
4.风险评估:制造商需要对产品进行风险评估,以确定可能存在的风险并采取相应的控制措施,确保产品安全可靠。
5.进行现场检查:认证机构可能进行现场检查,以确保制造商的生产设施和质量管理体系符合要求,并能够保证产品的一致性和可追溯性。
6.发放证书:如果产品经过评估和审核符合要求,认证机构将向制造商发放CE认证证书,授权其在欧洲市场上销售和使用该产品。
CE认证的优势:1.欧洲市场准入:CE认证是进入欧洲市场的重要条件之一,对于想要将产品销售到欧洲国家的制造商而言,CE认证是不可或缺的。
2.提升产品竞争力:CE认证代表着产品的合规性和质量保证,可以提升产品的竞争力,增加消费者对产品的信任度。
3.强调品牌价值:CE认证标志能够使产品具备更高的品牌价值,有助于建立品牌形象和口碑。
4.符合法律法规:欧盟对医疗器械的安全和质量要求非常严格,CE认证可以确保产品符合相关法律法规的要求,降低企业的法律风险。
5.提高产品质量:通过认证过程,制造商需要建立符合标准要求的质量管理体系,这有助于提高产品的质量和可靠性。
1.了解CE认证信息产品做CE认证,需要对相关CE认证的信息要有一定了解。
1.1、确认出口国家若出口至欧洲经济区EEA包括欧盟EU及欧洲自由贸易协议EFTA的28个成员国中的任何一国,则可能需要CE认证。
下列 28 (15+10+3)个欧洲国家强制性地要求产品携带CE标志.Austria 奥地利, Belgium 比利时, Denmark 丹麦, Finland 芬兰, France 法国, Germany 德国, Greece 希腊, Ireland 爱尔兰, Italy 意大利, Luxemburg 卢森堡, the Netherlands 荷兰, Portugal 葡萄牙, Spain 西班牙, Sweden 瑞典, United Kingdom (Great Britain) 英国. Estonia 爱沙尼亚, Latvia 拉脱维亚, Lithuania 立陶宛, Poland 波兰, Czech Republic 捷克, Slovakia 斯洛伐克, Hungary 匈牙利, Slovenia 斯洛文尼亚, Malta 马耳他, Cyprus 塞浦路斯. Iceland 冰岛, Liechtenstein 列支敦士登, Norway 挪威1.2、确认产品类别及欧盟相关产品指令•73/23/EEC Low voltage•87/404/EEC Simple pressure vessels•88/378/EEC Safety of toys•89/336/EEC Electromagnetic compatibility•89/686/EEC Personal protective equipment•90/384/EEC Non-automatic weighing instruments•90/385/EEC Active implantable medical devices•90/396/EEC Appliances burning gaseous fuels•92/42/EEC Hot-water boilers•93/15/EEC Explosives for civil uses•93/42/EEC Medical devices•94/9/EC Equipment and protective systems ……•94/25/EC Recreational craft•95/16/EC Lifts•96/48/EC Interoperability of the Trans-European high-speed…•96/98/EC Marine equipment•97/23/EC Pressure equipment•98/37/EC Machinery•98/79/EC In vitro diagnostic medical devices•99/5/EC Radio and telecommunications terminal equipment•99/36/EC Transportable pressure equipment•2000/14/EC Noise emission in the environment …若产品属于这里所列22类中的任何一个,一般地讲,则需要进行CE认证。
ce认证流程
CE认证,是指欧盟(European Union)经过验证的产品,具备
符合安全标准的质量标准和安全程度的认证。
CE认证的目的是为了
确保物品的安全性,以保护消费者的生命财产安全而设立的一种认证制度。
CE认证的一般流程一般包括产品认证调查、边界定义、质量认
证和发放证件四个主要步骤。
首先,在产品认证调查阶段,企业需要对自己的产品描述、产品的技术参数、安全等性能、和产品使用环境等进行仔细的检查,并对这些性能进行详细的分析,以确保它们都符合与产品相关的安全要求。
一旦确保了产品的质量符合颁发CE认证的标准,那么就可以进行下
一步的边界定义。
在边界定义阶段,企业需要根据全球范围内的各种安全标准,确定自己产品需要认证的领域,以确保所有认证领域都可以得到认证。
一旦确定了产品的边界,那么就可以进行下一步的质量认证。
在质量认证阶段,企业需要根据CE认证的标准,进行产品的质
量认证,主要包括产品的设计、开发、采购过程中的技术要求,以及物料的质量检测、性能检测、可靠性检测等。
只有经过了这些步骤,产品才能通过CE认证。
最后,CE认证完成后,企业需要发放CE认证证件,证明其产品经过了CE认证,保证了产品符合欧盟安全标准的安全性,确保了消
费者的生命财产安全。
总之,CE认证是欧盟安全标准的认证,它的核心是确保产品符合安全标准的安全性,保护消费者的生命财产安全。
CE认证的认证流程,一般包括产品认证调查、边界定义、质量认证和发放证件四个主要步骤,其中每一步都是必不可少的,只有经过了这些步骤,产品才能符合CE认证的标准,才能得到CE认证。
ce认证流程和资料什么是CE认证?CE认证是欧盟认可的一种通用的安全认证,它的定义为“凡是在欧盟市场上出售的消费型产品必须经过CE认证”,及时确保该产品达到欧盟消费者安全要求和质量标准。
CE认证流程CE认证流程包括申请人、技术文件审核和实地检验。
1、申请人:申请人首先需要向认证机构提交相关证件和产品样本,包括产品说明书、工厂或经销商营业执照、合同和质保书等。
2、技术文件审核:在审核技术文件时,认证机构将会检验申请人提交的各种文件,以确保产品符合欧盟标准的要求。
3、实地检验:实地检验需要认证机构派出检验员到工厂现场检查产品的生产环境,以及产品的生产流程、产品的构造和性能等情况。
CE认证所需资料1、产品说明书:产品说明书中应包含产品体系结构、安全性能及使用方法等内容。
2、申请书:申请书中包括产品名称、型号、产地、申请人名称,以及申请人与产品经销商的关系等内容。
3、营业执照:营业执照需要申请人提供,以证明是合法经营的公司。
4、合同:合同中应当包括技术行业标准和要求、交货条件、付款条件、包装要求等。
5、发票:发票上应当出现产品名称、规格、数量、品牌等信息。
6、质保书:质保书中应当包括产品的质量保证、服务支持等内容。
7、测试报告:测试报告中应当包括产品技术和安全性等各项指标测试结果。
8、相关证件:申请人需要提交产品的合法性证明,比如专利证书、检验报告等。
总结CE认证是欧盟认可的一种通用的安全认证,它的定义为“凡是在欧盟市场上出售的消费型产品必须经过CE认证”,及时确保该产品达到欧盟消费者安全要求和质量标准。
CE认证流程包括申请人、技术文件审核和实地检验;CE认证所需资料包括产品说明书、申请书、营业执照、合同、发票、质保书、测试报告和相关证件。
申请CE认证的企业在准备资料的时候应当根据实际情况准备,以确保产品符合欧盟标准的要求。
ce认证基础知识摘要:一、CE认证简介1.CE认证的含义2.CE认证的必要性二、CE认证流程1.确定产品所属的欧盟指令和测试标准2.进行产品测试和评估3.编写技术文件4.申请CE认证5.获得CE认证证书三、CE认证费用1.认证费用与产品类型和测试标准的关系2.认证费用包括的环节四、CE认证的意义和优势1.符合欧洲市场准入要求2.提高产品在欧洲市场的竞争力3.保障消费者利益正文:CE认证是欧洲关于商品安全性的认证,被视为制造商打开并进入欧洲市场的护照。
无论是在欧盟内部企业生产的产品,还是其他国家生产的产品,要想在欧盟市场上自由流通,都必须加贴CE认证标志。
CE认证只限于产品不危及人类、动物和货品的安全方面的基本安全要求。
一、CE认证简介1.CE认证的含义CE认证是欧洲共同市场的一种强制性认证制度,英文全称为“Conformity Evaluation Mark”。
它旨在确保产品符合欧洲法规的基本安全要求和健康标准,以便在欧盟成员国之间自由流通。
2.CE认证的必要性CE认证是产品进入欧洲市场的通行证。
只有通过CE认证的产品,才能在欧洲市场上销售。
对于制造商来说,获得CE认证意味着产品符合欧洲标准,有利于提高品牌声誉和市场竞争力。
二、CE认证流程1.确定产品所属的欧盟指令和测试标准根据产品类型和特性,确定对应的欧盟指令(法规)和测试标准。
例如,家电产品需要按照LVD(低电压指令)和EMC(电磁兼容性指令)进行测试评估,而机械产品则需要按照MD(机械指令)进行安全评估。
2.进行产品测试和评估根据所选指令和测试标准,对产品进行测试和评估。
测试成本是认证费用中占比最大的部分,因此不同产品的认证费用也会有所不同。
3.编写技术文件根据测试结果,编写技术文件(Technical File),用于证明产品符合CE认证的基本要求。
4.申请CE认证将技术文件提交给认证机构,申请CE认证。
认证机构将对技术文件进行审核,确认产品符合欧洲法规要求。
ce认证流程和资料CE认证流程和资料。
CE认证是欧洲市场准入的必备认证,对于想要进入欧洲市场的产品来说,CE认证是不可或缺的。
那么CE认证的流程和所需资料是怎样的呢?下面我们就来详细介绍一下。
首先,进行CE认证需要明确产品的范围和类别,因为不同的产品会有不同的认证流程和标准。
一般来说,CE认证可以分为以下几个步骤:1. 产品准备阶段,在这个阶段,需要对产品进行全面的检测和评估,确保产品符合欧洲相关的法规和标准。
同时,还需要准备好相关的技术文件和说明书,以便后续的认证流程中使用。
2. 申请认证,一旦产品准备就绪,就可以向欧洲认证机构递交申请。
在申请中,需要提交产品的技术文件、测试报告、使用说明书等相关资料,并支付相关的费用。
3. 认证评估,认证机构会对申请的产品进行评估,包括检测产品的安全性、可靠性、符合性等方面。
如果产品符合要求,就会颁发CE认证。
4. CE标志使用,获得CE认证后,产品就可以在欧洲市场上市销售,并且可以在产品上贴上CE标志,表明产品符合欧洲相关的法规和标准。
在进行CE认证时,需要准备的资料主要包括以下几个方面:1. 产品技术文件,包括产品的设计图纸、结构图、材料清单、工艺流程等相关资料。
2. 测试报告,产品需要经过相关的测试和检测,包括安全性测试、电磁兼容性测试、环保测试等。
3. 使用说明书,产品的使用说明书需要清晰明了,包括产品的安装、使用、维护等内容。
4. 品质体系文件,包括产品的质量管理体系文件、质量控制记录、质量检验报告等。
5. 其他相关证明材料,根据产品的特点和要求,可能还需要提供其他相关的证明材料,比如材料的环保证明、安全认证等。
总结一下,CE认证的流程和所需资料是非常重要的,只有准备充分并且符合要求的产品,才能顺利通过CE认证并在欧洲市场上市销售。
希望本文能够帮助大家更好地了解CE认证流程和所需资料,为产品的国际市场准入提供帮助。
CE认证详细流程和费用
CE认证(Conformité Européene)是指产品符合欧盟(EU)相关的
法规和标准,符合CE认证的产品可以自由在欧盟市场流通。
CE认证是欧
盟对产品安全和质量保证的要求,符合CE认证的产品意味着其在设计、
生产和销售过程中符合欧盟的相关要求,获得消费者的信任。
下面将介绍CE认证的详细流程和费用。
1.确定适用于产品的法规和标准:首先,企业需要确定适用于其产品
的欧盟法规和标准。
这依赖于产品所属的类型和类别,以及欧盟对该类产
品的要求。
通常来说,欧盟的法规包括EMC指令、低压指令、机械指令、
医疗器械指令等。
3.审查和评估:企业需要通过第三方认证机构或授权的技术部门进行
产品的审查和评估。
审查和评估的目的是核实产品是否符合欧盟的相关要求。
审查和评估的具体内容包括技术文件的审核、产品样品的测试和评估,以及生产过程的审核等。
费用:
CE认证的费用因产品的类型和规模而异,以下是一些常见因素影响
到CE认证的费用:
-产品类型:不同类型的产品需要经过不同的测试和评估,因此费用
也不同。
例如,电子产品通常需要进行电磁兼容性(EMC)测试,而机械
产品则需进行机械安全性测试。
-文件准备:准备文件和技术资料所需的时间和成本也可能影响到CE
认证的费用。
企业需要投入人力和材料资源来准备所需的文件和资料。
CE认证介绍解析CE认证,全称为Conformité Européene,是指符合欧洲标准的产品认证。
它是欧洲共同市场制度下的一种技术手段,适用于制造商在欧洲销售产品时的技术要求。
CE认证标志是欧盟委员会颁布的,是欧洲市场的“通行证”,意味着该产品已符合欧洲法律、安全与健康要求,并获得了进入欧洲市场的许可。
只有通过了CE认证,产品才能合法进入欧洲市场,并且可以在欧洲各成员国内自由流通销售。
CE认证的过程通常包括以下几个步骤:1.确定认证的指令和技术要求:在决定申请CE认证之前,制造商需要确定产品所属的指令类型,并了解相关的技术要求。
2.符合技术要求:制造商需要对产品进行设计和制造,以符合相应的技术要求。
这可能包括进行必要的测试和评估,以确保产品符合安全性、可靠性等要求。
3.编制技术文件:制造商需要编制一份包含产品技术规格的文件。
这一文件将被用于说明产品符合相应的技术要求,并供欧洲市场监管机构审查。
4.申请CE认证:制造商需要向认证机构提交申请,并提供相关的文件和测试报告。
5.认证评审:认证机构将对申请的文件进行评审,并进行必要的检查和测试。
如果通过评审,申请者将获得CE认证。
6.标注CE标志:一旦获得CE认证,制造商可以在产品上标注CE标志,表明该产品已通过了CE认证,符合欧洲标准要求。
CE认证的优点主要有以下几点:1.具备欧洲市场准入资格:CE认证是进入欧洲市场的必要条件。
通过CE认证,制造商可以合法地将产品销售到欧洲各国。
2.提高产品竞争力:CE认证证明了制造商对产品安全性和质量的关注,提高了产品的可信度和竞争力。
3.易于受众辨认:CE标志是欧洲市场最常见的产品标志之一,消费者可以通过CE标志轻松识别出通过认证的产品。
4.适用范围广泛:CE认证涵盖了多个指令,适用于不同种类的产品,包括电子设备、机械设备、玩具、医疗器械等。
CE认证在欧洲市场中具有重要的意义,是制造商进入欧洲市场的重要通行证。
CE认证介绍教程CE认证是指“符合欧盟(EU)的技术法规要求并取得许可证”的意思,也被称为“欧洲联盟(EL)的强制性认证”、“欧洲新方法指令”。
它是指厂商将其产品销往欧盟市场时需符合欧盟的强制性要求,并取得相关认证标志的过程。
本文将介绍CE认证的概念、重要性、步骤和相关要求。
CE认证的概念和重要性CE认证是指厂商将其产品销往欧盟市场时所需符合的技术法规要求,并取得相应认证标志。
它是欧洲联盟内唯一的统一技术要求,适用于包括电子、机械、儿童玩具、电气用品等领域的广泛产品。
欧盟制定了适用于不同产品的相关指令,如低压指令、机械指令、EMC指令等。
只有符合这些指令的产品,并通过相应的认证程序,才能够使用CE标志,证明其符合欧盟法规的要求,方可进入欧盟市场销售。
CE认证的重要性体现在以下几个方面:1.法律要求:CE认证是欧盟对产品强制性的技术法规要求,任何不符合要求的产品都无法销售到欧盟市场。
只有通过了CE认证的产品,才能够合法地进入欧盟市场销售。
2.增强市场竞争力:欧盟市场是全球最大的单一市场之一,对于很多企业来说,进入欧盟市场是非常重要的。
通过取得CE认证,企业可以证明其产品符合欧盟的法规要求,从而增加产品的市场竞争力。
3.提高产品质量和安全性:CE认证要求产品符合一系列的技术要求,如电气安全、机械安全、健康和环境要求等,这些要求的实施可以提高产品的质量和安全性,保障消费者的权益。
CE认证的步骤CE认证的步骤主要包括以下几个环节:1.确定适用的指令:首先需要确定产品应该遵循哪些指令,根据产品的特性,选择适用的指令,并了解和掌握指令的要求。
2.委托认证机构:厂商需要选择一个合适的认证机构进行认证。
在选择认证机构时,要考虑其专业性、能力和合作性等因素。
3.进行技术文件准备:厂商需要准备一系列的技术文件,包括产品的技术规格、测试报告、工艺流程、设计说明等。
这些文件将作为认证的依据。
4.进行产品测试:在认证机构的指导下,厂商需要对其产品进行一系列的测试,以确保产品符合相应的技术要求。
CE认证介绍教程CE认证(Conformité Européenne)是欧洲认证的缩写,简称CE。
CE认证是指符合欧盟市场的产品实施统一的技术规范和标准的认证,是欧洲市场唯一的强制性认证标志。
获得CE认证意味着产品符合欧盟的法律要求,可以在欧盟市场自由流通和销售。
1.CE认证的意义CE认证是欧盟统一发行的产品强制性认证标志,是欧盟对于产品质量和安全性的保障。
获得CE认证的产品可以在欧洲市场自由流通和销售,是欧盟市场的“通行证”。
对于出口到欧洲市场的企业来说,CE认证是进入欧洲市场的“敲门砖”。
2.CE认证的范围CE认证涵盖了众多领域的产品,包括电子电器产品、机械设备、建筑材料、医疗器械、化妆品等。
根据欧盟的法规和指令,这些产品必须获得CE认证才能在欧盟市场销售。
3.CE认证的流程CE认证的流程比较复杂,通常包括以下步骤:(1)确定产品所适用的欧盟指令和法规;(2)进行产品测试和评估,确保产品符合相关标准和要求;(3)申请CE认证并提交相关文件和证明材料;(4)经过认证机构的审核和审查;(5)获得CE认证并标注CE标志。
4.CE认证的标志获得CE认证的产品可以在产品上标注CE标志,CE标志是一个圆形的标志,中间是“CE”字母,代表了产品符合欧盟的标准和法规。
CE标志是欧盟对于产品合格的认可标志,也是产品在欧洲市场的“通行证”。
5.CE认证的注意事项CE认证是欧盟市场的强制认证标志,对于希望进入欧盟市场的企业来说非常重要。
在申请CE认证时,企业需要注意以下事项:(1)了解产品所属的领域和相关的欧盟指令和法规;(2)选择合适的认证机构进行测试和评估;(3)准备充分的相关文件和证明材料,确保产品符合相关标准和要求;(4)在申请过程中与认证机构积极合作,及时解决问题和提供信息;(5)获得CE认证后,对产品进行合格标注和定期检测,确保产品持续符合标准和要求。
总之,CE认证是欧盟市场的重要门槛,对于希望进入欧洲市场的企业来说非常重要。
医疗器械CE认证医疗器械的质量和安全性一直备受关注。
为了确保医疗器械在欧洲市场上符合质量和安全标准,CE认证成为医疗器械进入欧洲市场的必备条件。
本文将介绍医疗器械CE认证的定义、流程和重要性。
一、医疗器械CE认证的定义CE认证,全称为Conformité Européene,意为欧洲合格标志。
CE 认证是欧洲共同市场的准入标准,标志着产品符合欧盟的法律要求,能够自由在欧洲市场上销售和流通。
二、医疗器械CE认证的流程1. 申请:制造商或供应商首先需要向欧洲认证机构申请CE认证。
申请者需要提供详细的技术文件,包括产品设计、制造流程和使用说明书等。
2. 技术评估:认证机构将对申请材料进行评估,并进行技术文件的审核。
审核过程可能包括现场检查、实验室测试和文件审查等。
评估包括对产品的安全性和性能进行评估。
3. 符合性评价:根据通过的技术评估结果,认证机构将评估产品是否符合CE认证的要求。
4. 发布证书:如果产品符合CE认证的要求,认证机构将发布CE 认证证书。
制造商或供应商可以将CE标志添加到产品上,并允许在欧洲市场上销售和流通。
三、医疗器械CE认证的重要性1. 法律要求:欧洲法律要求医疗器械必须通过CE认证才能进入欧洲市场。
没有CE认证的医疗器械将无法合法销售和流通。
2. 提高产品竞争力:CE认证是医疗器械在欧洲市场上的“通行证”,它证明了产品符合欧洲质量和安全标准。
通过CE认证,产品的可信度和可接受性得到提高,为产品赢得了市场竞争力。
3. 降低风险和责任:通过CE认证,可确保产品的质量和安全性。
医疗器械制造商或供应商将降低因产品质量问题而引起的风险和法律责任。
4. 开拓国际市场:CE认证是进入欧洲市场的必备条件,是进军国际市场的重要一步。
一旦通过CE认证,产品将可以进入欧洲以及其他许多国家和地区的市场。
结论:医疗器械CE认证是医疗器械进入欧洲市场的基本要求,也是确保医疗器械质量和安全性的重要手段。