空间网架发展历史及安装方法
- 格式:docx
- 大小:14.07 KB
- 文档页数:4
网架安装方法网架是一种用于支撑和固定各种设备和设施的金属结构,广泛应用于建筑、工业、仓储等领域。
正确的网架安装方法对于确保设备的稳固性和安全性至关重要。
下面将介绍网架安装的具体步骤和注意事项。
1. 确定安装位置。
首先,需要根据设备的需要和实际情况,确定网架的安装位置。
在确定位置时,需要考虑设备的重量、尺寸、安装空间以及周围环境等因素,以确保安装位置的合理性和稳固性。
2. 准备安装工具和材料。
在进行网架安装之前,需要准备好所需的安装工具和材料,包括螺丝刀、扳手、螺栓、螺母、螺钉等。
确保所选用的工具和材料符合安装要求,并且质量可靠。
3. 安装网架支架。
首先,需要安装网架的支架。
根据安装位置和设备要求,确定支架的数量和位置,并使用螺丝刀或扳手将支架固定在墙面或地面上。
在固定支架时,需要确保支架水平、垂直,固定牢固。
4. 安装网架主体。
接下来,将网架的主体部分安装在支架上。
根据设备的需要和实际情况,确定主体部分的长度和高度,并使用螺栓、螺母将主体部分固定在支架上。
在安装主体部分时,需要确保每个连接点都牢固可靠,不得存在松动现象。
5. 检查和调整。
完成网架的安装后,需要对安装情况进行检查和调整。
检查各个连接点是否牢固,是否存在松动现象,是否符合设备要求。
如发现问题,需要及时调整和修复,确保安装质量。
6. 安装设备。
最后,将需要支撑和固定的设备安装在网架上。
根据设备的重量、尺寸和安装要求,确定设备的安装位置和方式,并使用螺丝、螺栓将设备固定在网架上。
在安装设备时,需要确保设备稳固可靠,不得存在晃动和松动现象。
通过以上步骤的操作,网架的安装工作就完成了。
在进行安装过程中,需要严格按照安装要求和操作规范进行,确保安装质量和安全性。
另外,安装过程中需要注意人身安全和设备保护,避免发生意外事故和设备损坏。
希望以上内容对网架安装方法有所帮助,谢谢阅读!。
网架安装步骤及方法介绍网架是一种用于支撑和固定植物、藤蔓、灌木等的结构。
它在园艺和农业领域被广泛使用,可以提供植物生长需要的支撑和空间,增加植物生长的效率和美观度。
本文将介绍网架的安装步骤及方法。
材料准备在安装网架之前,我们需要准备一些必要的材料和工具:1. 网架:可以选择金属或塑料材质的网格状结构。
2. 支架:用于固定网架的立柱或其他支撑物。
3. 锤子:用于敲击固定网架的支架。
4. 手锯或电锯:用于根据需要调整网架的长度。
5. 基础材料:用于固定支架,可以选择混凝土或其他相应的材料。
6. 钻孔机:用于在安装支架时钻孔。
安装步骤接下来,我们将按照以下步骤来安装网架:步骤一:确定安装位置首先,我们需要确定安装网架的位置。
通常情况下,我们会选择相对阳光充足且便于管理的地方。
选定位置后,用绳子或喷漆在地面标记出网架的轮廓。
步骤二:安装支架在确定好位置后,我们需要安装支架。
将支架按照所需长度进行锯断,并确保其稳定性。
然后,使用锤子将支架打入地面中,使其固定。
步骤三:固定网架将网架展开并拉至支架上方,根据需要调整网架的长度。
使用钻孔机在支架上钻孔,然后使用螺丝或钢丝将网架固定在支架上。
确保网架稳固,能够承受后续植物的生长和重量。
步骤四:修整和调整安装完成后,仔细检查网架的稳定性和安装是否垂直。
如果有需要,可以使用锤子和手锯进行微调和修整,直到达到满意的效果。
步骤五:测试安装完成后,我们需要进行一次测试来确保网架的稳定性。
轻轻摇动网架,如果网架没有晃动、松动或变形,则表示安装成功。
注意事项在安装网架时,还需要注意以下几点:1. 确保支架垂直:支架的垂直度将直接影响网架的稳定性和生长效果。
在安装支架时,应使用水平仪或测量工具确保其垂直。
2. 考虑植物的生长需求:在安装网架时,应根据植物的生长需求来确定网架的高度和形状。
不同植物可能需要不同的网架结构和间距。
3. 确保安全:在安装网架时,应注意自己的安全。
需要使用手套、安全眼镜等防护用具,以防止意外伤害。
安装前准备工作工程安装前,派技术人员到现场进行检测,对各定位轴线及予理件标高进行检测,对高出规范要求的进行调整,保证各样土建予埋件地点及标高吻合规范及设计要求。
网架施工场所内要求无阻截物,地面平坦结实,协调施工现场网架及零零件堆放地点、施工人员食宿、办公室和水、电等施工所需的各样设备。
与甲方及土建负责人共同磋商网架安装过程中的各方面配合,以保证工程施工得以顺利进行,组织脚手架的搭设或踏看吊车进入现场停放的地点,保证产品及人员进入现场可以顺利施工。
组织强有力的施工队伍,熟习设计图纸,仔细解析施工过程中可能出现的不利要素及解决方法,增强施工队伍的技术及安全教育,严格按规范安装施工,保证工程质量。
安装工程质量保证举措第一是预埋螺栓的埋置,这将关系到组合式钢柱能否可以按设计要求顺利安装,因此,我们不只在加工严格控制精度,并且在锚栓的埋置时派专人与土建施工单位亲密配合,保证柱子吊装的顺利进行。
为保证工程质量,在安装队伍中装备一名质检员现场检查安装状况,保证每个螺栓都能按要求拧紧,网架整体安装尺寸吻合设计要求。
其他,对安装过程中出现的杆件表面破弊端,实时补刷防锈漆。
对安装过程中出现的杆件曲折实时办理或改换。
质检人员要随时检测网架安装过程中的网架整体尺寸及变形状况,保证网架安装吻合设计规范。
网架安装方案网架安装方案网架的安装方法好多,一般分为:高空散装法、分块安装法、高空滑移法、整体吊装法、整体提高法和整体顶升法等。
①高空散装法有全支架 (即满堂红脚手架 ) 法、部分活动支架法和悬挑法三种。
全支架法是搭设一个与网架大小基真同样的工作平台,网架在平台上拼装,拼装质量较易控制,但脚手架的工作量较大,考虑本工程较小,为了保证工程的进度与质量,因此可作安装方案之一考虑;②分块安装法是将网架分红若干区段,在地面拼装好后,用起重设备提高至高空设计标高就位放置,此后再拼装成整体的安装方法,本收费站网架面积较小,不用进行分块,并且,网架为六点支承,很难进行分块吊装,故不作考虑。
钢结构工程网架结构通常都是大跨度空间,常用的形式有以下几种。
一、由平面桁架系组成的两向正交正放网架、两向正交斜放网架、两向斜交斜放网架、三向网架、单向折线形网架。
二、由四角锥体组成的正放四角锥网架、正放抽空四角锥网架、棋盘形四角锥网架、斜放四角锥网架、星形四角锥网架。
三、由三角锥体组成的三角锥网架、抽空三角锥网架、蜂窝形三角锥网架。
钢结构工程中对于大跨度空间网架结构的节点和杆件的安装,一般是采用在工厂内制作完成并检验合格后,运至现场,拼装成整体。
大跨度空间网架结构的安装方法有分条或分块安装法、高空滑移法、高空散装法、整体顶升法、整体吊装法、整体提升法。
不管是使用哪种方法进行安装,网架钢结构安装步骤如下:
1.施工前的检查,施工前的检查包括钢构件的验收、施工机具和测量器具的检验及基础的复测。
2.钢构件的验收,对钢构件应按施工图和规范要求进行验收。
3.钢构件运到现场时,基础的复测。
钢结构是固定在钢砼基座(基础、柱顶、牛腿等)上的。
因而对基座及其锚栓的准确性、强度要进行复测。
基座复测要对基座面的水平标高、平整度、锚栓水平位置的偏差、锚栓埋设的准确性作出测定。
并把复测结果和整改要求交付基座施工单位。
4. 编制安装计划和构件供应计划,组织好施工。
网架钢结构安装是施工过程是非常张要的一环,在施工过程中一定要注意细节,确保按照要求进行工作。
河南省正大钢结构工程有限公司可承接钢结构工程、建筑工程、建筑幕墙工程、桥梁工程、市政公用工程、建筑装饰装修工程、环保工程、等工程的设计、施工与咨询服务;钢结构、钢桥梁、钢网架、的加工及钢结构所有维护材料的制作;建筑材料、金属材料、五金产品的销售。
网架结构的拼装网架结构的拼装一般可分为小拼与总拼两个过程。
一、小拼网架的杆件与节点制作完毕后,为了减少现场工作量和保证拼装质量,最好在工厂或预制拼装场内先拼成单片桁架,或拼成较小的空间网架单元,然后再运到现场完成网架的总拼工作。
小拼单元应在专门的拼装模架上进行,以确保小拼单元形状尺寸的准确性。
小拼模架可分为转动型模架(图10-21)和平台型模架(图10-22)两种。
采用转动型模架小拼,应将节点与杆件夹在特制的模架上,待点焊定位后,再在此转动的模架上全面施焊,这样焊接条件较好,焊接质量易于保证。
平台型模架类似于平面桁架的放样拼整平台。
小拼单元划分的原则如下:(1)尽量增大工厂焊接工作量的比例。
(2)应将所有节点都焊接在小拼单元上,网架总拼时仅连接杆件。
图10-21 转动型模架1—模架;2—支架;3—网架杆件图10-22 平台型模架(a)四角锥体小拼单元;(b)桁架式小拼单元1—拼装平台;2—角钢做的靠山;3—搁置节点槽口;4—网架杆件中心线;5—临时上弦;6—标杆二、总拼网架结构在总拼时,应选择合理的焊接工艺顺序,以减少焊接变形与焊接应力。
一般以采用中间向两端或四周发展拼装与焊接顺序为宜,这样可以使网架在焊接时能够比较自由地收缩。
如采用相反的拼装与焊接方法,封闭圈易使杆件产生较大的焊接应力。
网架总拼时,除必须遵守对施焊的原则外,还应将整个网架划分成若干圈,先焊接内圈的下弦杆构成下弦网格,再焊接腹杆及上弦杆,然后再按此顺序焊接外面一圈,逐渐向外扩展。
这样上、下弦交替施焊,收缩均匀,有利于保持单榀桁架的垂直度和网格的设计形状。
若焊接次序不合理,则在焊接后易出现角部翘起或中心拱起等现象。
当网架采用条(块)状单元在高空进行总拼时,为保证网架总拼后几何尺寸及其形状的准确,应在地面进行预拼装。
采用整体吊装、提升、顶升等安装方法时,网架在地面进行拼装。
为便于控制和调整,拼装支架应设置在下弦节点处。
拼装支架可由混凝土基础上安放短钢管或砌筑临时性砖墩构成。
网架结构的安装方法
网架结构安装方法可以分为以下几步:
1. 准备工作:收集所需安装材料、工具和图纸,并确保所有的构件和配件齐全。
另外,还需要确定网架结构的安装位置和固定方式。
2. 组装构件:按照图纸上的指示,将网架结构的构件逐一组装起来。
通常情况下,网架结构的构件有柱子、横梁、斜撑等,需要按照顺序和正确的位置进行组装。
3. 定位固定:将已经组装好的网架结构定位到安装位置上,并使用适当的固定方式进行固定。
常见的固定方式有膨胀螺栓、焊接、地脚螺栓等。
4. 安装配件:根据需要,安装一些配件。
例如,安装帆布或透明塑料遮阳顶篷、玻璃窗、门等。
5. 检验和调整:安装完成后,进行检验和调整,确保网架结构的平整度、垂直度等符合要求。
6. 验收和保养:验收安装质量,并进行必要的保养工作,以延长网架结构的使用寿命。
需要注意的是,安装网架结构时需要遵循相关的安全规范,确保施工人员的安全。
此外,如果不具备相应的安装经验和技能,最好请专业的施工队伍进行安装。
网架三种安装施工方法
东吴网架小编给大家分享网架安装的三种方法:
1、整体安装法
整体安装法就是先将网架在地面上拼装成整体,然后用起重设备将其整体提升到设计位置上加以固定。
这种施工方法不需高大的拼装支架,高空作业少,易保证焊接质量,但需要的起重量大的起重设备,技术较复杂。
因此,此法对球节点的钢网架(尤其是三向网架等杆件较多的网架)较适宜。
根据所用设备的不同,整体安装法又分为多机抬吊法、拔杆提升法、千斤顶提升法及千斤顶顶升法等。
2、高空拼装法
钢网架用高空拼装法进行安装,是先在设计位置处搭设拼装支架,然后用起重机把网架构件分件(或分块)上吊至空中的设计位置,在支架上进行拼装。
此法有时不需大型起重设备,但拼装支架用量大,高空作业多。
因此,对高强度螺栓连接的、用型钢制作的钢网架或螺栓球节点的钢管网架较适宜,目前仍有一些钢网架用此法施工。
3、高空滑移法
网架屋盖近年来采用高空平行滑移法施工的逐渐增多,它尤其适用于影剧院、礼堂等工程。
这种施工方法,网架多在建筑物前厅顶板上设拼装平台进行拼装(亦可在观众厅看台上搭设拼装平台进行拼装),待第一个拼装单元(或第一段)拼装完毕,即将其下落至滑移轨道上,用牵引设备向前滑移一定距离。
接下来在拼装平台上拼装第二个单元(或第二段),拼好后连同第一个拼装单元(或第一段)一同向前滑移,如此逐段拼装不断问前滑移,直至整个网架拼装完毕并滑移至就位位置。
网架安装方法在进行网架安装之前,首先需要做好充分的准备工作。
这包括对安装现场进行勘察,确定安装位置和条件,准备好所需的材料和工具等。
接下来,我们将详细介绍网架安装的方法。
1. 确定安装位置。
首先,需要确定网架的安装位置。
在确定位置时,需要考虑到网架的承重能力、安装空间和周围环境等因素。
同时,还需要确保安装位置的地面平整、无障碍物,以便于后续的安装操作。
2. 安装支架。
在确定好安装位置后,需要进行支架的安装。
首先,根据网架的尺寸和要求,在地面上标记好支架的位置和间距。
然后,使用螺丝刀和螺丝将支架固定在地面上,确保支架安装牢固、水平。
3. 安装立柱。
接下来,需要安装立柱。
根据支架的设计要求和安装位置,选择合适的立柱进行安装。
在安装立柱时,需要确保立柱的垂直度和水平度,以保证网架的稳定性和安全性。
4. 安装横梁。
安装好立柱后,需要进行横梁的安装。
根据网架的设计要求和实际情况,选择合适的横梁进行安装。
在安装横梁时,需要确保横梁与支架、立柱的连接牢固,同时要注意横梁的水平度和间距的一致性。
5. 安装配件。
最后,需要进行网架的配件安装。
根据网架的设计要求,选择合适的配件进行安装,包括连接件、固定件等。
在安装配件时,需要确保配件的安装位置准确、牢固,以保证整个网架的稳定性和安全性。
在进行网架安装的过程中,需要注意以下几点:安全第一。
在安装过程中,需要严格遵守安全操作规程,做好防护措施,避免发生意外事故。
注意细节。
在安装过程中,需要注意每一个细节,确保每一个连接点、固定点都安装正确、牢固。
质量保证。
在安装完成后,需要对网架进行全面检查,确保安装质量符合要求,没有疏漏和缺陷。
总之,网架安装是一个需要细心、耐心和技术的工作。
只有做好充分的准备工作,严格按照安装方法进行操作,才能保证网架安装的质量和安全。
希望以上内容对网架安装方法有所帮助,谢谢阅读。
大跨度空间网架结构安装技术研究摘要:文章主要针对大跨度空间网架结构安装方法进行阐述,并对每种方法的适用性和优缺点进行对比分析,旨在为其选用经济、合理、高效的安装方法提供借鉴。
关键字:空间;网架;网架安装;施工技术Abstract: installation method for large span space frame structure described, and the applicability, advantages and disadvantages of each method were analyzed, designed to provide a reference for selected economic, reasonable, and efficient method of installation.Keywords: space;grid;grid installation;construction and technology1 前言网架结构是以多根杆件按照一定规律组合而成的网格状高次超静定结构。
杆件可以用多种材料制成,而以钢制管材或型材为主。
这种结构在第二次世界大战之前在欧洲出现,而真正大规模应用则是在战后。
当时,网架结构以其工厂制作、现场安装、施工方便、节约劳力等优点在不少场合取代了钢筋混凝土结构。
网架结构的蓬勃发展是由于其具有一系列优点。
首先是网架能起空间作用,由于所有杆件都能参与工作而具有良好的受力性能,其刚度和整体性优于一般平面结构,能有效承受各种非对称荷载、集中荷载和动荷载。
网架中所有杆件的整体受力在地震作用下也显示了它优异的抗震特性。
其次,网架结构制作安装比较方便。
杆件与节点都可以在工厂生产,使现场工作量降至最低,同时也不需要复杂的技术,这就便于网架进行定型化工业化的施工,加之,中国在网架施工中还创造了一些简便有效的安装方法,并有专业化施工队伍进行安装。
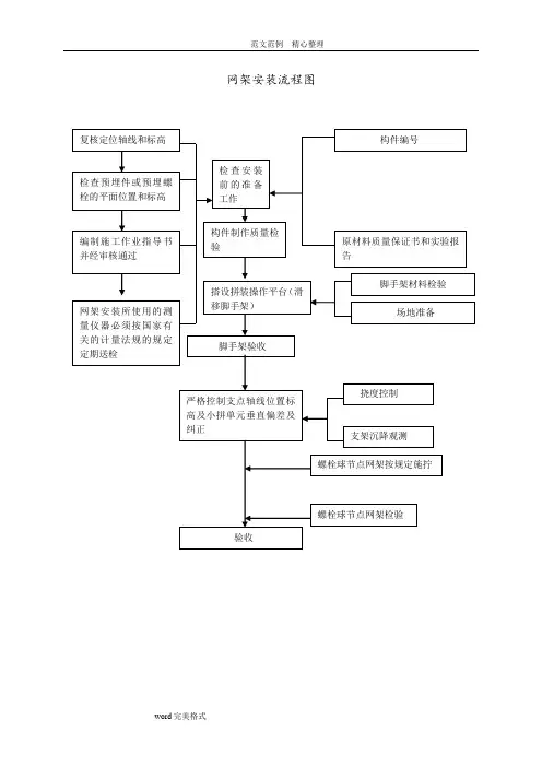
网架安装流程图
网架拼装示意图
网架的拼装如下示意图
步骤一:设置并抄平脚手架平台支撑
步骤二:按安装图安装下弦球
步骤三:连接下弦杆
步骤四:将已拼装成的上弦球及腹杆三角锥连接到下弦层
步骤五:连接第二网格上弦杆及腹杆步骤六:将两网格安装成基本单元
步骤七:扩大基本单元步骤八:安装腹杆
步骤九:拼装成较稳固基本单元步骤十:扩大基本单元
步骤十一:继续扩大基本单元步骤十二:拼装成一吊装单元
钢网架结构安装的允许偏差(m m)
注:①检查数量:除杆件弯曲矢高按杆件数抽查5%外,其余全数检查;
② L为纵向、横向长度;
③ L
为相邻支座间距。
1。
网架安装工艺流程下载温馨提示:该文档是我店铺精心编制而成,希望大家下载以后,能够帮助大家解决实际的问题。
文档下载后可定制随意修改,请根据实际需要进行相应的调整和使用,谢谢!Download Tip: This document has been carefully written by the editor. I hope that after you download, they can help you solve practical problems. After downloading, the document can be customized and modified. Please adjust and use it according to actual needs. Thank you!网架安装工艺流程:①施工准备:包括方案设计确认、材料进场检验(如Q345D、Q235B型钢材,螺栓、铆钉等)、场地平整与安全措施布置。
②放线验线:依据设计图纸,在柱顶准确放出网架定位轴线与标高控制线。
③组件拼装:采用散装法或整体吊装法,地面预拼部分网架单元或整体结构,确保尺寸准确,焊接质量达标。
④吊装就位:使用起重机将网架单元或整体提升至设计高度,精准就位,期间需临时固定以防倾覆。
⑤网格安装:依序安装下弦平面网格、上弦倒三角网格、下弦正三角网格,逐步构建网架主体结构。
⑥调整紧固:通过测量工具监测,对网格进行微调,确保几何尺寸无误,紧固各连接节点与支座。
⑦焊接验收:对接合部位进行焊接处理,确保焊缝质量,之后进行焊接质量检查与验收。
⑧支座连接:完成网架与柱顶的最后连接,实施必要的卸载程序,如拔杆卸载。
⑨检查验收:全面检查网架的安装质量,包括结构稳定性、焊缝质量、防腐处理等,提交验收报告。
球形网架的发展史球形网架是一种新型的屋盖承重结构,属于多次超静定空间结构体系,它改变了平面屋架结构的受力状态,能够承受来自各方的荷载。
网架的特点以螺栓球节点网架为例。
螺栓球节点网架是一种新型的屋盖承重结构,属于多次超静定空间结构体系,这种平板形网架,结构新颖美观,杆件规律性强,网格统一,整体性好,空间刚度大,抗震性能好且便于安装。
网架安装方法常见的网架安装方法主要有六种,分别为高空散装法、分块安装法、高空滑移法、整体吊装法、整体提身法、整体顶升法。
每一种安装方法都有其特点,我们在进行网架安装的时候,要根据实际的情况考虑到经济、安全、工期等各项因素选择合适的安装方法。
球形网架的发展二十世纪迄今,在全世界范围内网架生产厂家的室内空间球形网架都得到了十分大的发展趋势。
室内空间球形网架结构是室内空间网格图构造的一种,简言之“空间结构”是相对“平面设计图构造”而言,它具有三维作用的特性,网架加工结构还能够作为平面设计图构造的扩展和推动。
网架加工结构问世迄今,以其效率高的承受能力特点、奇特别具一格的方法和快速方便快捷的建筑施工遭到大伙儿的欢迎。
在务必大跨度、大空间的健身运动展览馆、博览中心、文化创意机器设备、交通枢纽乃至工业厂房,无不见到网架加工结构的足迹。
网架加工结构经历一个世纪的不断发展趋势,在结构方式方面,除了网架加工、网壳之外,膜结构工程项目、预应力张拉整体体系管理、开闭钢屋架、折叠式结构等都是网架加工结构的新成员。
二十世纪早期,不锈钢板材原料为网架加工结构的发展趋势提供了规范,以后的铝型材则促进球形网架的构件更轻巧。
近年来的纤维材料,尤其是许多的新型工程建筑建筑装饰材料被设计开发出来,对空间结构的发展趋势导致了显著的伤害。
原料应用方面由于钢材品种与抗拉强度的不断提升,网架加工结构也越地面采用了糟钢、无缝管、园钢、吊装绳乃至不锈钢铸件商品。
在十分大水准上,空间结构变为“室内空间钢架结构结构”。
随着着现代计算机的产生,一些新的基础知识和数据分析方式,如有限单元法、非线形分析、推动力分析等,在空间结构中得到了普遍应用,以至空间结构的计算和方案设计更加方便快捷和准确,促进徐州市网架加工现如今形态各异,种类各种各样。
长沙卷烟厂十五技改一期工程联合工房网架及屋面工程施工组织设计ZJWS/QA-钢结构-JY200401发放编号:受控印章:发布日期:二O0四年一月执行日期:二OO四年一月中国建筑第五工程局第三建筑安装公司钢结构分公司目录第一章.工程概况----------------------------------第二章.施工部署 --------------------------------- 第一节.现场施工组织机构----------------------第二节.施工现场平面布置---------------------- 第三节.主要施工机械及进场计划----------------第五节.材料进场计划-------------------------第三章.施工技术方案 ----------------------------- 第一节.网架安装方案--------------------------- 第二节.屋面系统安装方案----------------------- 第四章施工进度计划和保证措施-------------------- 第一节施工进度计划-------------------------第二节保证措施-----------------------------第五章劳动力计划及保证措施---------------------- 第一节劳动力使用计划-----------------------第二节劳动力组织保证措施-------------------第六章质量保证措施及检测------------------------ 第一节质量目标-----------------------------第二节质量保证体系------------------------- 第三节质量管理流程------------------------- 第四节质量保证措施------------------------- 第七章安全文明施工措施-------------------------- 第八章成品保护措施------------------------------第一章工程概况1.工程概况项目名称:长沙卷烟厂十五技改一期工程联合厂房网架、金属屋面系统工程地点:长沙市建设单位:长沙卷烟厂长沙卷烟厂十五技改一期工程联合工房网架、金属屋面系统工程,由长沙卷烟厂投资兴建。
网架安装方案网架是什么,网架施工方案具体包括哪些内容呢,网架的安装方法有哪些呢,下面下面为大家带来相关内容介绍以供参考。
网架是由多根杆件按照一定的网格形式通过节点连结而成的空间结构。
构成网架的基本单元有三角锥,三棱体,正方体,截头四角锥等,由这些基本单元可组合成平面形状的三边形,四边形,六边形,圆形或其他任何形体。
一网架的安装方法1)高空散装法:适用于螺栓连接节点的各种类型网架,并宜采用少支架的悬挑施工方法;2)分条或分块安装法:适用于分割后刚度和受力状况改变较小的网架,如两向正交正放四角锥、正向抽空四角锥等网架。
分条或分块的大小应根据起重能力而定;3)高空滑移法:适用于正放四角锥、正放抽空四角锥、两向正交正放四角锥等网架。
滑移时滑移单元应保证成为几何不变体系;4)整体吊装法:适用于各种类型的网架,吊装时可在高空平移或旋转就位;5)整体提升法:适用于周边支承及多点支承网架,可用升板机、液压千斤顶等小型机具进行施工;6)整体顶升法:适用于支点较少的多点支承网架。
二网架施工方案1建筑施工图,结构施工图,钢结构桁架,网架设计总说明及现场施工总平面布置图等。
2相关的施工进度计划、管理程序、质量标准、安全措施等技术文件。
3本工程钢结构项目的相关设计与技术规范,规程,标准等。
3.1《钢结构设计规范》GB50017—20033.2《钢结构工程施工质量验收规范》GB50205—20013.3《建筑钢结构焊接技术规程》JGJ81—20023.4《钢结构高强螺栓连接的设计、施工及验收规范》JGJ82—19913.5《网架结构设计与施工规程》JGJ7—913.6《钢网架螺栓球节点用高强度螺栓》GB/T16939—19973.7《钢网架行业标准》JGJ75.1-75.3-913.8《网架结构工程质量检验评定标准》JGJ78—913.9《网壳结构技术规程》JGJ61—2003以上是下面为建筑人士收集整理的关于“网架安装方案”等建筑相关的知识,。
空间网架安装技术中国网架发展历史
网架结构广泛用作大跨度的屋盖结构。
特点是汇交于节点上的杆件数量较多,制作安装较平面结构复杂。
网架结构节点有焊接球、螺栓球和钢板节点三种形式。
网架的基本单元有三角锥、三棱体、正方体、截头四角锥等,可组合成平面形状的任何形体
网架结构是以多根杆件按照一定规律组合而成的网格状高次超静定结构。
杆件可以用多种材料制成,而以钢制管材或型材为主。
这种结构在第二次世界大战之前在欧洲出现,而真正大规模应用则是在战后。
当时,网架结构以其工厂制作、现场安装、施工方便、节约劳力等优点在不少场合取代了钢筋混凝土结构。
网架结构的蓬勃发展是由于其具有一系列优点。
首先是网架能起空间作用,由于所有杆件都能参与工作而具有良好的受力性能,其刚度和整体性优于一般平面结构,能有效承受各种非对称荷载、集中荷载和动荷载。
网架中所有杆件的整体受力在地震作用下也显示了它优异的抗震特性。
其次,网架结构制作安装比较方便。
杆件与节点都可以在工厂生产,使现场工作量降至最低,同时也不需要复杂的技术,这就便于网架进行定型化工业化的施工,加之,中国在网架施工中还创造了一些简便有效的安装方法,并有专业化施工队伍进行安装。
在中国,第一个网架结构是在1964年首次用于上海师范学院球类馆的屋盖上,这个31.5m×40.5m大小,以角钢焊成的网架,掀起
了中国空间结构发展史上新的一页。
经过二十多年的发展,网架结构已遍布全国各地,成为屋盖结构的一种主要形式。
由于网架结构的施工比一般平面结构复杂,因为它在拼装成整体之前还不能起空间作用,所以网架在大跨度体育馆逐渐推广之后,在施工中曾采用了多样的安装方法,并创造了一系列具有中国特色的安装技术。
如上海体育馆就地拼装、整体起吊、高空移位安装方法,20世纪70年代出现了分条制作,高空滑移拼装,就地拼装、整体提升等安装方法。
这些方法的改进与创新,对进一步在大、中跨度屋盖上推广应用网架起到了有力的推动作用。
20世纪80年代,唐山经受地震灾害重建时,考虑到网架有优于一般平面结构的抗震性能。
在唐山齿轮厂联合厂房、唐山机车车辆厂、客车总装车间等工程中都采用了上万平方米的网架结构。
进入20世纪90年代,工业厂房中大面积的网架结构更是屡见不鲜,其规模也迅速增大。
网架安装方法
中国在大跨度网架安装施工中采用了多种安装方法,并创造了一些具有世界先进水平的安装技术,网架安装技术大致可分为整体吊装法、整体提升法、高空滑移法、高空散装法,分块安装法等几种。
整体吊装法
网架地面总拼时可以采用就地与柱错位或在场外进行。
当就地与柱错位总拼时,网架起升后在高空中需要移位或转动1~2m左右,再下降就位。
由于柱是贯穿在网架的网格中的,因此凡与柱相连的梁应断开,即在网架吊装完成后再施工框架梁。
而且建筑物在地面以上的
结构必须待网架制作安装完成后才能进行,不能平行施工。
因此,当场地许可时,可在现场作为工作面总拼网架,然后用起重机负重行走较大距离进行网架安装。
整体提升法
整体提升法是指在结构柱上安装提升设备提升网架,或在提升网架的同时进行柱子滑模的施工方法,此时网架可作为操作平台。
整体提升可以分为单提网架法、升梁抬网法、升网滑模法。
单提网架法是网架在设计位置总拼后,利用安装在柱子上的小型设备将其整体提升到设计标高上然后下降、就位、固定。
升梁抬网法是网架在设计位置就地总拼,同时安装如支承网架装配圈梁,把网架支座搁置于此圈梁中部,在每个柱顶上安装如提升设备,这些提升设备在升梁的同时,抬着网架升至设计标高;升网滑模法是网架在设计位置就地总拼,柱子用滑模施工,网架的提升是用安装在柱内钢筋上的滑模用千斤顶或劲性配筋上的升板机,一面提升网架,一面滑升模板浇筑柱。
整体提升法使用提升设备一般较小,成本较低,适用于场地狭窄时施工。
整体顶升法
网架整体顶升法可以利用原有结构柱作为顶升支架,也可另设专门的支架或枕木垛掂高。
顶升法的千斤顶安置在网架的下面,在顶升过程中应采取导向措施,以免发生网架偏移转。
顶升法适用于点支承网架,在顶升过程中只能垂直地上升,不能或不允许平移或转动。
高空滑移法
高空滑移法是指分条的网架单元在事先设置的滑轨上单条滑移
到设计位置拼接成整体的安装方法。
此条状单元可以在地面拼成后用起重机吊至支架上,在设备能力不足或其它因素存在时,也可用小拼单元甚至散件在高空拼装平台上拼成条状单元。
高空支架一般设在建筑物一端。
滑移时网架的条状单元由一端滑向另一端。
高空散装法
高空散装法是指小拼单元或散件(单根杆件及单个节点)直接在设计位置进行总拼的方法。
高空散装法有全支架法(满堂脚手架)和悬挑法两种。
全支架法多用于散件拼装,而悬挑法则多用于小拼单元在高空总拼情况,或者球面网壳三角形网格的拼装。
当全支架拼装网架时,支架顶部常用木板或竹脚手板满铺,作为平台。
悬挑法拼装时,需要预先制作好小拼单元,再用起重机将小拼单元吊至设计标高就位拼装,悬挑法安装可以省搭拆支架,节省材料。
分块安装法
分块安装法,就是指网架分成条状或块状单元,分别由起重机吊装至高空设计就位搁置,然后再拼装成整体的安装方法。
所谓条状是指网架沿长跨方向分割为若干区段,而每个区段的宽度可以是一个网格至三个网格,其长度则为短跨的跨度。
所谓块状,是指网架沿纵、横方向分割后的单元形状为矩形或正方形。
每个单元的重量以现有起重机能力能胜任为准。