供电所重点岗位人员廉政风险防范工作流程及过程监控示意图
- 格式:doc
- 大小:103.00 KB
- 文档页数:11
廉政风险防控工作流程图广泛宣传动员排查廉政风险制定防控措施1 成立领导小组2制定实施方案3开展学习教育梳理职权明确职责查找廉政风险确定风险等级岗位职责风险业务流程风险制度机制风险思想道德风险外部环境风险一级风险二级风险三级风险4组织宣传1、梳理职权目录。
2、绘制权力运行流程图。
前期预防中期监控后期处置思想教育制度建设分级管理制度执行动态监控诫勉纠错谈话提醒排查廉政风险广泛宣传发动查找廉政风险确定风险等级建立信息档案1、成立领导小组2、制定实施方案3、开展学习教育梳理明确岗位职责,查找廉政风险点。
岗位职责风险业务流程风险制度机制风险思想道德风险外部环境风险一级风险二级风险三级风险健全防控措施个人廉政风险自查表部门廉政风险自查表单位廉政风险自查表岗位廉政风险及等级目录前期预防中期监控后期处置思想教育制度建设分级管理考核防控效果制度执行动态监控诫勉纠错谈话提醒奖优罚劣总结经验汇总指导建立体系归档分类。
廉政风险防控工作流程图
广泛
宣传发动
查找
廉政风险
确定风险等级
建立
信息档案1、成立领导小组
2、制定实施方案
3、开展学习教育
梳理明
确岗位
职责,查
找廉政
风险点。
岗位职责风险
业务流程风险
制度机制风险
外部环境风险
高风险
中风险
低风险
健
全
防
控
措
施
个人廉政风险自查表
科室廉政风险自查表
岗位廉政风险及等级目录
前期预防
中期监控
后期处置
思想教育
制度建设
分级管理
考
核
防
控
效
果
制度执行
动态监控
诫勉纠错
谈话提醒
奖优罚劣
总结经验
汇总指导
建立体系
归档分类。
四川省水利电力工程局廉政风险防范管理工作责任图(表一)览委訓书足、副昌长陳政副局兹董永沾副局扶杨】蹄副舄艮值志明副烏檢董蜀艮总工程师汪辉應工会主席代勇真任单位及部门,£拚西北咸工局工诈*今管西北片区各施H ffis I 贵任单位及祁门「分管生产等项目贵任审位及部门「分管机电设备、董天片反广元各项青任单位及部门:分管晟壘安全处,由助黄永沾分管夕丰,主持宜宾片、鑒西、云南片、8引工程各施工项目靑任单位及部门T |分管经营管理处、|格投标工作,协助愉译林管理机电迪挙主持机电设备采购租長工作責任单位及部门:挣管施H技术、科册、设计、中心实捡室、监理公司责任单位及部门* 办助局长分管井公呈、社保处、馬管处、劳司、建司、卧事处,主持)刍、法律事务室工四川省水利电力工程局廉政风险点防范管理工作流程图(表二)四川省水利电力工程局局属各单位廉政风险和防范管理工作流程图(表三)一、拟文工作各单位、处室、项目部拟文T经办人拟文T主管审定T经办人出文盖章发出T下发文件执行T将文件归档备查二、文件流转收文登记拟文件处理T相关处长阅转T领导阅示T执行T处室和执行人承办T办结签字附办结材料归档| - |纪检监察督办三、报账管理(一)报账管理____ 办人交齐报销原始凭证和用款依据给报账员—报账员细核签字—报销入账—审阅签字—主管领导审批签字I报账员录入、财务处报账-会计审核-符合要求的通过报销-不符合(二)备用金管理(三)备用金使用管理I用款人填写《借款单》T主管领导审批T到报账员处T借款并登记T用款后及时把原始凭证送给报账员冲销账4报账员办理报账—四、物资采购管理固定资产采购按局管理制度操作4由纪委监察、财务共同参与按局批准采购固定资产4预算执行提出采购计划经局批准发出采购公开招标信息邀请至少一二个商家审核如局采购的设备的形式选择至少三家进行公开招标4价格低、质量优、服务好的为中标人4与中标人签订购买合同4 验收固定资产后签写验收合格表4交齐验收资料在机电处备查4并将固定资产资料4录入相关数|据库44五、工资管理六、聘用人员管理七、工程决算管理由计划统计部门提出完成的工程量T经相关部门审核签字T报主管签字批准T财务办理f相关凭证入账归档保管八、干部选拔任用管理。
供电所廉洁风险点及防控措施《供电所廉洁风险点及防控措施》
嘿,咱今儿个就来说说供电所那些个廉洁风险点和咋个防控的事儿。
咱就说有这么一件事儿啊,有一次我去供电所办事儿。
那时候天气可热了,我是满头大汗地进去的。
我就看见有个工作人员在那整理资料,我上前去问他一些问题。
嘿,他态度还挺好,笑嘻嘻地给我解答。
然后呢,我就注意到旁边有个小箱子,上面写着什么“意见箱”。
我当时就想啊,这玩意儿还挺有意思,要是大家有啥想法都能往里面投。
这就是一个很具体的例子呀,像这种意见箱其实就是一种防控措施呢。
为啥这么说呢?你想啊,如果工作人员有啥不廉洁的行为,大家可以通过这个意见箱来反映呀。
这样就能及时发现问题,不至于让那些不好的行为一直存在下去。
再比如说,供电所里的各项工作流程都应该透明化。
就像我们去交电费,每一笔钱都得明明白白的,不能有啥糊涂账。
还有那些设备采购啥的,都得严格按照规定来,不能有人趁机捞好处。
还有啊,对工作人员得加强教育和培训,让他们知道廉洁的重要性。
不能因为一点小利益就把自己的原则给丢了。
就像我那次遇到的那个工作人员,他态度好,那就是一种好的表现嘛。
总之呢,供电所的廉洁工作可不能马虎,要从方方面面去注意和防控。
只有这样,我们才能用上放心电,大家说是不是呀!
以上就是我对供电所廉洁风险点及防控措施的一些看法,希望能给大家带来点启发。
哈哈!。
电力公司重要岗位廉政风险点汇总及防控措施背景介绍随着电力行业的不断发展,电力公司成为社会经济发展的重要支撑,然而,由于行业的特殊性,电力公司的重要岗位存在一定的廉政风险。
为了确保企业的廉洁经营,本文主要对电力公司重要岗位的廉政风险点进行了梳理,并提出相应的防控措施,旨在促进公司的廉洁治理。
一、采购岗位廉政风险点及防控措施1. 廉政风险点:- 采购人员接受供应商贿赂,导致采购决策失去公正性和客观性。
- 采购过程中信息不对称,容易引发商业贿赂等不正当行为。
2. 防控措施:- 建立健全的采购管理制度,明确采购流程和权限,确保公平、公正的采购决策。
- 加强对采购人员的廉政教育和培训,提高责任意识和职业道德,提防诱惑和贿赂行为。
- 完善采购信息公开制度,加强监督和内部控制,防止信息泄露和商业贿赂。
二、人事岗位廉政风险点及防控措施1. 廉政风险点:- 人事人员滥用职权,进行权力寻租和受贿行为。
- 不公正的选拔任用,影响公司人力资源配置和整体竞争力。
2. 防控措施:- 建立透明、公正、公平的选拔任用制度,严禁干部利用职权进行权力寻租和收受贿赂。
- 完善人事管理制度,明确人事管理责任和权限,减少操纵空间,防止腐败行为发生。
- 加强人事岗位廉政教育和培训,提高人事人员的廉洁意识和职业道德,强化风险防范意识。
三、财务岗位廉政风险点及防控措施1. 廉政风险点:- 财务人员虚报财务数据,骗取公司财务资源,谋取私利。
- 财务人员与供应商串通骗取财务款项,侵占公司利益。
2. 防控措施:- 强化财务管理制度建设,实施财务审计制度,加强财务数据真实性和准确性的监督。
- 建立合理的财务监控机制,增加财务审计频率,及时发现和纠正违规行为。
- 加强财务人员的廉洁教育和培训,提高风险意识,防止财务腐败行为的发生。
结论针对电力公司重要岗位的廉政风险,采取相应的防控措施至关重要。
只有通过建立健全的制度、加强教育培训和监督,提高岗位人员的廉洁意识,电力公司才能确保公正廉洁的经营环境,促进企业可持续发展。
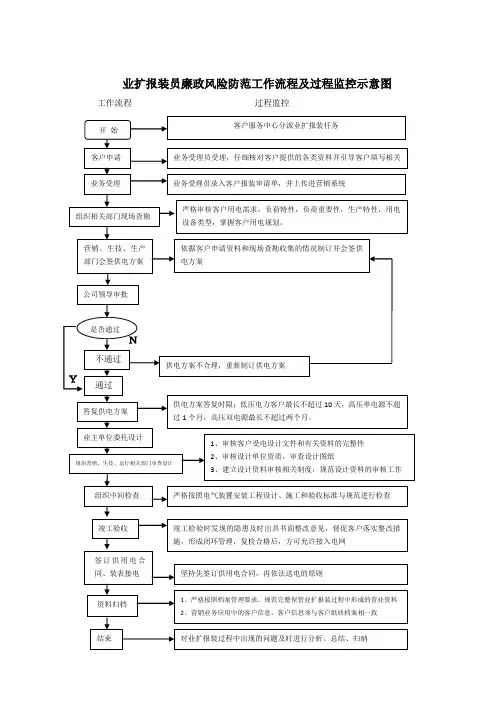
业扩报装员廉政风险防范工作流程及过程监控示意图工作流程过程监控
装接员廉政风险防范工作流程及过程监控示意图工作流程过程监控
是
否否
SG186计量系统接收表计安装任务(高、低压计量班长)高、低压计量班长根据工作内容向装接员进行派工
装接员根据传单向表库进行领表
装接员做好相关准备后,前往装接现场
配表员对计量方案的计量错误进行订正
根据传单内容对现场进行初步检查。
对更换表计进行现场检查,判别客户是否存在窃电等情况
装接员根据判断的异常类别,将现场异常内容记录在案,并报计量中心及相关部门
根据传内容,核对现场客户户名、地址、表号、CT、PT变比参数、用电性质等信息,安装计量装置。
装接员在传单记录表资产号、铅封编号及表计抄示度,并请用户确认后签字。
回后将相关内容登入Sg186系统
班长对装接员工工作内容及拆回表计进行审核,确保数据完整、正确
配表员对拆回表计进行二次审核并入库
电费管理中心应对每条装接记录进行审核,发现异常情况,及时通知计量中心人员进行现场核查
抄表员廉政风险防范工作流程及过程监控示意图工作流程过程监控
收费员廉政风险防范工作流程及过程监控示意图工作流程过程监控。
附件三:
供电所所长廉政风险防范工作流程及过程监控示意图工作流程过程监控
分管营销副所长廉政风险防范工作流程及过程监控示意图工作流程过程监控
分管安全生产副所长廉政风险防范工作流程及过程监控示意图工作流程过程监控
营业服务专职廉政风险防范工作流程及过程监控示意图
工作流程过程监控
安全专职廉政风险防范工作流程及过程监控示意图工作流程过程监控
配网班班长(副班长)廉政风险防范工作流程及过程监控示意图
工作流程过程监控
配网班班员廉政风险防范工作流程及过程监控示意图
工作流程过程监控
营抄班班长(副班长)廉政风险防范工作流程及过程监控示意图工作流程过程监控
营抄班班员廉政风险防范工作流程及过程监控示意图工作流程过程监控
服务班班长(副班长)廉政风险防范工作流程及过程监控示意图
工作流程过程监控
服务班班员廉政风险防范工作流程及过程监控示意图
工作流程过程监控
备注:以上十一张图颜色红色代表较高风险;黄色代表一般风险;蓝色代表较低风险。
廉政风险防控工作流程图广泛宣传动员排查廉政风险制定防控措施取得成效1 成立领导小组2制定实施方案3开展学习教育梳理职权明确职责查找廉政风险确定风险等级岗位职责风险业务流程风险制度机制风险思想道德风险外部环境风险一级风险二级风险三级风险4组织宣传1、梳理职权目录。
2、绘制权力运行流程图。
前期预防中期监控后期处置思想教育制度建设分级管理制度执行动态监控诫勉纠错谈话提醒考核防控效果奖优罚劣总结经验汇总指导建立体系归档分类廉政风险防控工作流程图广泛宣传发动查找廉政风险确定风险等级建立信息档案1、成立领导小组2、制定实施方案3、召开动员会梳理明确岗位职责,查找廉政风险点。
岗位职责风险思想道德风险外部环境风险一级风险二级风险三级风险健全防控措施个人廉政风险自查表岗位廉政风险前期预防中期监控后期处置思想教育制度建设分级管理考核防控效果制度执行动态监控诫勉纠错谈话提醒总结经验汇总指导建立体系。
附件三:供电所所长廉政风险防范工作流程及过程监控示意图工作流程过程监控分管营销副所长廉政风险防范工作流程及过程监控示意图工作流程过程监控分管安全生产副所长廉政风险防范工作流程及过程监控示意图工作流程 过程监控营业服务专职廉政风险防范工作流程及过程监控示意图工作流程过程监控安全专职廉政风险防范工作流程及过程监控示意图工作流程过程监控配网班班长(副班长)廉政风险防范工作流程及过程监控示意图工作流程过程监控配网班班员廉政风险防范工作流程及过程监控示意图工作流程过程监控营抄班班长(副班长)廉政风险防范工作流程及过程监控示意图工作流程过程监控营抄班班员廉政风险防范工作流程及过程监控示意图工作流程过程监控服务班班长(副班长)廉政风险防范工作流程及过程监控示意图工作流程过程监控服务班班员廉政风险防范工作流程及过程监控示意图工作流程过程监控备注:以上十一张图颜色红色代表较高风险;黄色代表一般风险;蓝色代表较低风险。
第一章《声现象》复习提纲一、声音的发生与传播1、课本P13图1.1-1的现象说明:一切发声的物体都在振动。
用手按住发音的音叉,发音也停止,该现象说明振动停止发声也停止。
振动的物体叫声源。
练习:①人说话,唱歌靠声带的振动发声,婉转的鸟鸣靠鸣膜的振动发声,清脆的蟋蟀叫声靠翅膀摩擦的振动发声,其振动频率一定在20-20000次/秒之间。
②《黄河大合唱》歌词中的“风在吼、马在叫、黄河在咆哮”,这里的“吼”、“叫”“咆哮”的声源分别是空气、马、黄河水。
③敲打桌子,听到声音,却看不见桌子的振动,你能想出什么办法来证明桌子的振动?可在桌上撒些碎纸屑,这些纸屑在敲打桌子时会跳动。
2、声音的传播需要介质,真空不能传声。
在空气中,声音以看不见的声波来传播,声波到达人耳,引起鼓膜振动,人就听到声音。
练习:①P14图1.1-4所示的实验可得结论真空不能传声,月球上没有空气,所以登上月球的宇航员们即使相距很近也要靠无线电话交谈,因为无线电波在真空中也能传播,无线电波的传播速度是3×108 m/s 。
电力公司主要岗位廉政风险点搜集及防止方案1. 搜集电力公司主要岗位廉政风险点在搜集电力公司主要岗位廉政风险点时,我们应该遵循以下步骤:1.1 研究电力行业的廉政风险首先,我们需要深入研究电力行业的廉政风险。
这包括了解电力行业的法律法规、政策文件以及行业惯例。
我们可以通过查阅相关文献、参考其他电力公司的经验以及与业内专家的交流来获取这些信息。
1.2 与电力公司内部人员交流其次,我们应该与电力公司内部人员进行交流,特别是与各个主要岗位的员工进行沟通。
他们对于岗位廉政风险点的了解会更加全面和具体。
通过与他们的交流,我们可以获取到更多的信息和洞察。
1.3 分析搜集到的信息在搜集到电力公司主要岗位廉政风险点的信息后,我们需要进行仔细的分析。
这包括对每个岗位廉政风险点的潜在影响和可能的后果进行评估。
同时,我们还应该将这些风险点进行分类和排序,以便更好地制定相应的防止方案。
2. 防止电力公司主要岗位廉政风险的方案为了防止电力公司主要岗位廉政风险的发生,我们可以采取以下方案:2.1 加强员工廉政意识教育对于电力公司的每个主要岗位,我们应该加强员工的廉政意识教育。
这包括提供廉政培训课程,向员工传达廉政价值观和道德规范,以及加强对廉政风险点的认知和警惕性。
2.2 建立健全的内部控制制度为了防止廉政风险的发生,我们应该建立健全的内部控制制度。
这包括规范各个主要岗位的职责和权限,确保权力的分立和制衡。
同时,我们还应该建立严格的审批和监督机制,确保各项业务的合规性和透明度。
2.3 加强监督和反馈机制为了及时发现和纠正廉政风险,我们应该加强监督和反馈机制。
这包括建立举报渠道,鼓励员工主动举报违法违纪行为,并对举报者提供保护。
同时,我们还应该定期进行廉政风险的评估和检查,及时发现问题并采取相应的纠正措施。
2.4 加强合规审计和风险管理为了确保电力公司的合规性和风险管理,我们应该加强合规审计和风险管理工作。
这包括定期对各个主要岗位的业务活动进行审计,发现和解决存在的风险问题。
灵武市人民医院廉政风险点防范管理工作流程图2011年5月目录一、行政综合管理流程图(一)行政管理1.行政风险点管理流程图2.廉政风险点分析3.廉政风险点防范管理措施(二)财务管理1.财务管理廉政风险点流程图2.廉政风险点分析3. 廉政风险点防范管理措施二、医院处罚流程图(一)处罚廉政风险点流程图(二)处罚风险点分析(三)处罚风险点防范措施一、行政综合管理流程图(一)行政管理1.行政风险点流程图注:★表示低风险等级★★表示中风险等级★★★表示高风险等级2.廉政风险点分析(1)行政管理制度不健全,不能根据情况的变化不断补充修改各项制度。
(2)制度形同虚设,不执行制度或执行制度不能人人平等,搞双重标准。
(3)对执行制度不予以检查落实或只走过场,没有真正形成靠制度管人,按制度办事的行政管理制度。
(4)考核不严或者不予以考核,造成目标责任无法落实,职责不明,办事推诿扯皮、不能形成良好和谐的干事氛围。
(5)奖惩激励机制不落实,导致工作涣散,纪律松散,没有上进心,干与不干都一个样。
3.廉政风险点管理措施(1)建立健全完善各项行政管理制度,并不断根据上级有关方针政策的调整,不断修改补充完善有关制度。
(2)要提高党的方针、政策、行政管理法规规定及各项制度的执行力及可行力,一切公务活动坚持按规定、按制度办事,确保有令就行,有禁就止,政令畅通。
(4)认真执行国家、自治区及主管部门关于超限超载运输的政策法规,依法开展运输管理工作,有效保护路产,维护路权,保障公路安全畅通。
(5)建立科学合理的考评考核机制,量化考核目标,坚持考核标准,遵循公正、公平、公开的考核原则。
公示考核结果。
(6)按照考核目标,建立有效的奖惩机制,做到惩罚分别,提高职工的积极性和能动性。
(二)财务管理1.财务管理廉政风险点流程图注:★表示低风险等级★★表示中风险等级★★★表示高风险等级2.风险点分析(1)预算编制不实,瞒报或超预算报告,套取预算外资金。
附件三:
供电所所长廉政风险防范工作流程及过程监控示意图工作流程过程监控
分管营销副所长廉政风险防范工作流程及过程监控示意图工作流程过程监控
分管安全生产副所长廉政风险防范工作流程及过程监控示意图
工作流程 过程监控
营业服务专职廉政风险防范工作流程及过程监控示意图工作流程过程监控
安全专职廉政风险防范工作流程及过程监控示意图工作流程过程监控
配网班班长(副班长)廉政风险防范工作流程及过程监控示意图工作流程过程监控
配网班班员廉政风险防范工作流程及过程监控示意图工作流程过程监控
营抄班班长(副班长)廉政风险防范工作流程及过程监控示意图工作流程过程监控
营抄班班员廉政风险防范工作流程及过程监控示意图工作流程过程监控
服务班班长(副班长)廉政风险防范工作流程及过程监控示意图工作流程过程监控
精品资料
服务班班员廉政风险防范工作流程及过程监控示意图
工作流程过程监控
备注:以上十一张图颜色红色代表较高风险;黄色代表一般风险;蓝色代表较低风险。
可编辑修改。