软件工程之图书馆管理系统需求分析和数据流图
- 格式:doc
- 大小:361.50 KB
- 文档页数:5
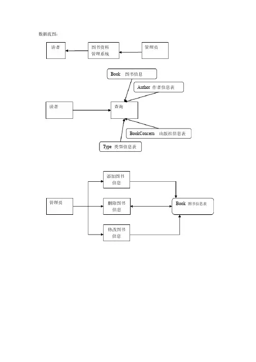
数据流图:数据流图:读者读者图书资料图书资料管理系统管理系统管理员管理员读者读者 查询查询Book 图书信息图书信息Author 作者信息表作者信息表BookConcern 出版社信息表出版社信息表Type 类型信息表类型信息表管理员管理员添加图书添加图书信息信息删除图书信息信息修改图书信息信息Book 图书信息表管理员管理员添加作者添加作者删除作者删除作者修改作者修改作者Author 作者信息表作者信息表管理员管理员添加出版社删除出版社修改出版社BookConcern 出版社信息表社信息表管理员管理员添加图书添加图书 类型类型删除图书类型类型修改图书类型类型Type 图书类型信息表图书查询图书查询书名查询作者查询类型查询出版社查询显示作者名显示类型名显示出版社名显示查询结果显示查询结果按查询按钮按查询按钮图书管理图书管理添加修改删除显示信息显示信息查询查询图书管理图书管理添加类型类型 添加作者作者添加出版社版社添加 修改 删除 删除添加 添加 修改 修改 删除类型信息类型信息更新更新管理员管理员更新更新出版社出版社查询或更新图书图书书名书名备注备注类型类型出版社出版社作者作者更新更新 作者信息作者信息类型名类型名 备注备注备注备注出版社出版社 年龄年龄备注备注职务职务 姓名姓名性别性别n 1 1 n Author ID 作者名作者名 年龄年龄 性别性别 职务职务 备注备注BookConcern ID 出版社出版社 备注备注Type ID 类型类型 备注备注Book ID 书名书名作者作者 出版社出版社 类型类型 藏书份数藏书份数开始开始显示所有图书显示所有图书选择选择输入书名输入书名按查询按钮按查询按钮显示查询结果显示查询结果结束结束选择作者名者名选择出版社版社 选择类型名选择类型名。
软件工程图书管理系统需求分析引言图书管理系统是目前各大图书馆所必备的应用系统,其作为读者借阅和管理图书的主要信息资源,越来越受到各大高校和各级图书馆的重视。
软件工程图书管理系统的设计将方便图书馆管理员:快速查找图书、借还书、查看馆藏进出情况等。
在此基础上,为了解决当前图书管理系统出版社数量较少、管理混乱的问题,研发出了软件工程图书管理系统。
需求分析系统细节设计图书管理系统主要包括三个模块:管理员模块、读者模块和图书信息管理模块。
管理员可以通过该系统进行图书的借还、图书信息的管理等工作;读者则可以进行借阅、查询等功能;图书信息管理模块主要负责图书信息的录入、修改和删除。
登录管理模块:图书管理系统需要实现登录管理模块,其中管理员模块和读者模块的登录界面不一样,需求如下:管理员需求:管理员用户名和密码都是唯一的;管理员登录进入首页后可以进行图书的借还、图书信息的管理等工作;管理员可以在首页查询当前借阅图书、读者已借阅图书等信息。
读者需求:读者的身份认证采用比较常见的用户名和密码方式;读者登录进入首页后可以查看馆藏图书、借阅图书、归还图书等;读者可以在首页查看本人当前借阅和已借阅的图书信息。
图书信息管理模块:图书信息管理模块是整个系统的核心模块,在需求分析过程中,我们将主要从以下四个方面展开分析:1. 录入图书信息管理员可以录入图书信息,需求如下:图书信息包括:书名、作者、出版社、出版日期、价格、字数、馆藏数量等;图书信息中所填写的各个属性都需要强制校验。
2. 修改图书信息管理员可以修改图书信息,需求如下:管理员可以修改馆藏图书数量、出版社、价格、作者等各项数据;管理员修改后需要进行保存,软件自动记录修改时间和修改人。
3. 删除图书信息管理员可以删除图书信息,需求如下:管理员可以在首页对未被借出的图书进行删除。
4. 查询图书信息管理员和读者都可以查询图书信息,需求如下:根据图书编号、书名、作者、类型等条件进行查询;查询到的信息包括:书名、出版社、作者、出版日期等。
软件工程之图书馆管理系统需求分析和数据流图(总6页)本页仅作为文档封面,使用时可以删除This document is for reference only-rar21year.March一、 数据图:第一层数据流图图书馆管理系统学生管理员供货商订货报表管理员信息检验错误 检验错误借书证查询结果操作确认第二层数据流图学生借阅图书的数据流图学生还书过程数据流图学生查询书籍信息数据流图流图流图三、数据字典:1)数据源点及汇点描述:1.名称:学生简要描述:借书、还书、查询及登记注册有关数据流:借书证;所借书本2.名称:当前日期简要描述:当日日期有关数据流:年月日加工2)逻辑词条描述:1.加工名:检验能否借书加工编号:1简要描述:检验学生身份、图书是否入库、读者还能借多少书以此判定读者是否能借书输入数据流:借书证;所借书本,学生信息,图书信息,图书借阅量,日期输出数据流:借书错误信息,借书信息加工逻辑: IF 借书证未登记入库 THEN发出“借书错误”ELSE IF 图书未登记入库 THEN发出“借书错误”ELSE IF 读者已借图书和现借图书多于限制数N THEN发出“借书错误”ELSE IF 读者已借图书中有超期 THEN发出“借书错误”ELSE 发出“借书信息”ENDIFENDIFENDIFENDIF2.加工名:添加借阅记录加工编号:2简要描述:将“借书信息”登记到“借阅记录”中,完成后将书本递交读者输入数据流:借书信息,日期输出数据流:图书借阅记录,图书加工逻辑:将借书信息及日期写入图书借阅记录;将图书递交读者3)数据流名词条描述:1.数据流名:借书证说明:用以携带学生的唯一识别标识数据流来源:学生信息数据流去向:检验能否借书数据流组成:学生=借书证号+姓名+专业+性别+出生日期+照片+借书数量借书证号=“000000001”..“9” varchar性别==1 int出生日期=datetime照片=Image借书数量=int2.数据流名:图书说明:记录图书的主要相关信息数据流来源:学生数据流去向:检验能否借书数据流组成:图书=ISBN+书名+作者+出版社+价格+复本量+库存量书号=“000000001”..“9” varchar书名=2—24 varchar作者=2—24 varchar出版社=2—24 varchar价格=“”..“”float复本量=int库存量=int3.数据流名:检验错误说明:用于指示学生借书错误信息数据流来源:借书检验数据流去向:学生数据流组成:检验错误=2—40 varchar4.数据流名:借书信息说明:用于传递读者号和图书号数据流来源:借书检验数据流去向:借书记录数据流组成:借书信息=借书证号+ISBN+索书号+借书时间。
图书馆管理系统一.图书馆管理系统需求分析1、系统目标设计系统开发的总目标是实现内部图书借阅管理的系统化、规范化和自动化。
能够对图书进行注册登记,也就是将图书的基本信息(如:书的编号、书名、作者、价格等)预先存入数据库中,供以后检索。
能够对借阅人进行注册登记,包括记录借阅人的姓名、编号、班级、年龄、性别、地址、电话等信息。
提供方便的查询方法。
如:以书名、作者、出版社、出版时间(确切的时间、时间段、某一时间之前、某一时间之后)等信息进行图书检索,并能反映出图书的借阅情况;以借阅人编号对借阅人信息进行检索;以出版社名称查询出版社联系方式信息。
提供对书籍进行的预先预订的功能。
提供旧书销毁功能,对于淘汰、损坏、丢失的书目可及时对数据库进行修改。
能够对使用该管理系统的用户进行管理,按照不同的工作职能提供不同的功能授权。
提供较为完善的差错控制与友好的用户界面,尽量避免误操作。
2、系统功能需求分析(1) 读者管理:读者信息的制定、输入、修改、查询,包括种类、性别、借书数量、借书期限、备注等。
(2) 书籍管理:书籍基本信息制定、输入、修改、查询,包括书籍编号、类别、关键词、备注。
(3) 借阅管理:包括借书,还书,预订书籍,续借,查询书籍,过期处理和书籍丢失后的处理。
(4)系统管理:包括用户权限管理,数据管理和自动借还书机的管理基于UML的图书馆管理系统建模设计满足以上需求的系统主要包含有一下几个子系统(1)基本业务功能子系统:该系统中主要包含了借书还书和预订等功能。
(2)基本数据录入功能子系统:该子系统主要包含有书籍信息和读者信息录入功能。
(3)信息查询子系统:包含了多功能的查询书籍信息和读者信息。
(4)数据库管理功能子系统:主要包含了借阅信息管理功能,书籍信息管理功能和预订信息管理功能。
(5)帮助功能子系统。
二、系统动态建模1、用例图、图书馆管理系统的用例图从用例图中我们可以看出管理员和读者之间对本系统所具有的用例。
.图书馆管理系统-----软件工程导论课程设计组长:袁世翰组员:耿远超郭阳刘聪颖信晓蕾于瑞锋赵迪时间:2011-01-06任务分配表一.问题定义:二十一世纪是信息的社会,信息作为社会最主要的资源,将成为战略资源引起人们广泛的关注。
如何获取信息?图书是我们最好的获取信息的方式,但由于图书馆图书收藏量大大增加,是传统的图书管理员的工作日益繁重起来,迫使人们起用新的管理方式来管理图书。
所以不能再用人工的方法来管理大量的图书,需要一个严密的系统软件来进行图书馆的管理。
该图书馆管理系统需要对日常的工作进行管理如借书还书、缴纳罚金;拥有查询功能如图书书名、作者、出版社查询,借阅历史和罚款历史查询;好要系统严密的管理图书和借书者的基本资料等。
二.可行性研究:图书馆管理系统为中小型管理系统,对于图书馆管理系统,如何让学生、老师和其他工作人员更方便更舒适的使用该系统进行查询和管理是对图书馆管理系统最基本的要求。
不断进行系统功能的更新和升级甚至是重新设计则是为了满足不同用户日益增多的查询和管理等要求而要进行的必要的工作。
1.研究目前正在使用的系统目前正在使用的图书馆管理系统,面向的对象主要有学生、教师和其它管理工作人员。
面向学生及教师的功能主要有:查询图书馆书籍种类、编目、出版社信息、作者信息、馆藏量、剩余可借量、馆藏地点,登陆自己的网上图书馆查询借阅图书记录、应还图书日期、剩余借阅量、违约记录。
管理工作人员主要登陆图书馆对馆藏图书进行管理,对于过期未还图书的借阅者进行违约记录并统计违约罚款以及根据管理章程限制学生以及教师的借书权利,对新购进的图书进行编目以及信息的录入等。
对于当前的系统功能还有所欠缺和不足,不能满足的学生教师所要求的全部功能。
例如:无法进行图书预约、不能进行书籍评价以充分了解学生及老师对图书馆图书的需求、无法进行图书挂失等。
所以对于新系统应该应用户的使用需求加入更多的功能。
2.对新系统的详细说明新系统在原有系统上加入数据库支持,加强安全性与完整性。
[项目名称]本报告由受托单位提出对似议中系统开发的决策依据.系统分析员:张林青2009年5月26日1引言A12可行性研究报告的前提3对现有系统的分析4对所建议系统的分析5可行性分析6可行性分析的结论二软件需求说明书1前言2项目概述图书管理系统: 需求分析说明书(转)默认分类 2009-10-06 22:04 阅读301 评论4字号:大中小图书管理系统: 需求分析说明书1引言.......................................................................................................................... 1。
1.1编写目的............................................................................................................. 1。
1.2背景说明............................................................................................................. 1。
2任务概述................................................................................................................... 1。
2.1目标.................................................................................................................... 2。
2.1.1开发意图....................................................................................................... 2。
软件工程图书管理系统需求分析本文档旨在介绍软件工程图书管理系统的需求分析。
我们将讨论该系统的目的和重要性,并概述本文档的内容。
软件工程图书管理系统是一种用于有效管理图书馆图书信息和相关流程的软件系统。
它可以提供自动化的图书借阅、归还、图书信息查询、流程管理等功能,以减少人工操作和提高工作效率。
需求分析是软件工程开发的重要阶段。
它通过对用户需求的调研、分析和整理,确定软件系统的功能和性能要求,为后续的设计和实施提供依据。
在图书管理系统的开发过程中,需求分析的目的和重要性主要体现在以下几个方面:确保系统功能完备。
通过仔细分析图书管理系统的各项需求,可以确保系统具备满足用户需求的各项功能,包括图书借阅、归还、图书信息查询、流程管理等。
确保系统功能完备。
通过仔细分析图书管理系统的各项需求,可以确保系统具备满足用户需求的各项功能,包括图书借阅、归还、图书信息查询、流程管理等。
提高系统可靠性和稳定性。
需求分析可以帮助开发团队充分理解用户需求,并在设计和实施过程中考虑到潜在的问题和风险,从而提高系统的可靠性和稳定性。
提高系统可靠性和稳定性。
需求分析可以帮助开发团队充分理解用户需求,并在设计和实施过程中考虑到潜在的问题和风险,从而提高系统的可靠性和稳定性。
提高系统可靠性和稳定性。
需求分析可以帮助开发团队充分理解用户需求,并在设计和实施过程中考虑到潜在的问题和风险,从而提高系统的可靠性和稳定性。
提高系统可靠性和稳定性。
需求分析可以帮助开发团队充分理解用户需求,并在设计和实施过程中考虑到潜在的问题和风险,从而提高系统的可靠性和稳定性。
提高用户满意度。
通过详细了解用户需求,并在需求分析阶段进行充分的沟通和协商,可以确保系统在满足用户基本需求的同时,也尽可能地考虑到用户的特殊需求和期望,提高用户的满意度。
提高用户满意度。
通过详细了解用户需求,并在需求分析阶段进行充分的沟通和协商,可以确保系统在满足用户基本需求的同时,也尽可能地考虑到用户的特殊需求和期望,提高用户的满意度。
1、1 系统分析1、1、1 图书馆管理信息系统的基本任务“图书馆管理信息系统”就是一个面向具有万人以上用户,位于某中型企事业单位内的图书馆管理系统,藏书规模约100多万册,每天的借阅量近万册。
在手工操作方式下,图书的编目与借阅等工作量大,准确性低且不易修改维护,读者借书只能到图书馆手工方式查找书目,不能满足借阅需求。
需要建立一套网络化的电子图书馆信息系统。
该系统服务对象有两部分人:注册用户与一般读者。
一般读者经注册后成为注册用户,注册用户可以在图书馆借阅图书,其她人员只可查阅图书目录,但不能借阅图书。
系统同时考虑提供电子读物服务,目前只提供电子读物的目录查询服务,不久的将来将提供电子读物全文服务。
用户可通过网络方式访问图书馆管理信息系统。
1、1、2 系统内部人员结构、组织及用户情况分析为了对系统有一个大致了解,现给出系统内部人员结构、组织及用户情况等基本信息。
图书馆管理系统的组织结构如图1.1 所示。
图1、1 图书馆管理信息系统的组织结构图书馆由馆长负责全面工作,下设办公室、财务室、采编室、学术论文室、图书借阅室、电子阅览室、期刊阅览室与技术支持室。
各部门的业务职责如下。
办公室:办公室协助馆长负责日常工作,了解客户需求,制定采购计划。
财务室:财务室负责财务方面的工作。
采编室:采编室负责图书的采购,入库与图书编目,编目后的图书粘贴标签,并送图书借阅室上架。
学术论文室:负责学术论文的收集整理。
图书借阅室:提供对读者的书目查询服务与图书借阅服务。
电子阅览室:收集整理电子读物,准备提供电子读物的借阅服务,目前可以提供目录查询。
期刊阅览室:负责情况的收集整理与借阅。
技术支持室:负责对图书馆的网络与计算机系统提供技术支持。
1.1.3系统业务流程分析系统的业务流程要达到的业务目标,业务流程分析就是系统分析的基础环节。
图书馆管理信息系统的业务流程如图1.2所示。
图1、2 图书馆管理信息系统的业务流程通过业务流程调查,理清图书馆管理系统的主要业务与业务的流程。
图书馆管理系统开发设计方案1需求分析1.1目前图书馆管理系统存在问题1)检索速度慢、效率低因为图书馆的藏书种类多、数量多, 将藏书准确地分门别类, 快速检索, 手工进行非常困难往往是终于查到了二伟的信息, 馆中没有此书或已被别人借走。
图书馆的规模越大, 这个问题越突出。
2)借书、还书工作量大借书、还书频率越大, 说明图书馆的作用越大, 然而随之而来的大量的借书、还书登记、实存图书的更新以及借出图书超期、遗失等的处理, 其工作量之大, 往往是人工操作所难以胜任的。
而且经常会出现这样那样的差错。
3)图书统计工作难、藏书更新不能及时完成。
图书馆的图书应根据科学技术的发展和教学工作的需要及时添加和更新, 然而由于藏书数量及图书种类越来越多, 加上自然损耗, 人为破坏, 使图书的统计工作难以及时完成, 藏书的更新也就很难有针对性地进行, 藏书的知识结构得不到良好地控制。
我校也是一所发展中的高校, 近儿年的发展速度很快, 图书馆的规模和藏书数量也不断的扩大, 为了解决海量图书的管理问题, 改变传统的管理方式也是迫在眉睫了。
1.2系统目标1.3本系统主要实现对图书馆的信息进行管理, 图书馆的正常运营中总是面对大量的读者信息, 图书信息以及两者相互作用产生的借书信息, 因此要对读者资源, 图书资源, 借书信息进行管理。
本系统的开发就是在于提高图书管理的工作效率, 加强图书馆的管理。
1.4图书馆管理系统是图书馆管理工作中不可缺少的部分,它的内容对于图书馆的管理者和使用者来说都至关重要,所以图书管理系统应该能够为管理者或读者提供充足的信息和快捷的数据处理手段。
但一直以来人们使用传统人工的方式进行图书管理和借阅管理, 这种管理方式存在着许多缺点,如:效率低、易忘记、保密性差,另外时间一长,将产生大量的文件和数据,这对于查找、更新和维护都带来了不少的困难。
随着科学技术的不断提高,计算机科学日渐成熟,其强大的功能已为人们深刻认识,它已进入人类社会的各个领域并发挥着越来越重要的作用。
1.1 系统分析1.1.1 图书馆管理信息系统的基本任务“图书馆管理信息系统”是一个面向具有万人以上用户,位于某中型企事业单位内的图书馆管理系统,藏书规模约100 多万册,每天的借阅量近万册。
在手工操作方式下,图书的编目和借阅等工作量大,准确性低且不易修改维护,读者借书只能到图书馆手工方式查找书目,不能满足借阅需求。
需要建立一套网络化的电子图书馆信息系统。
该系统服务对象有两部分人:注册用户和一般读者。
一般读者经注册后成为注册用户,注册用户可以在图书馆借阅图书,其他人员只可查阅图书目录,但不能借阅图书。
系统同时考虑提供电子读物服务,目前只提供电子读物的目录查询服务,不久的将来将提供电子读物全文服务。
用户可通过网络方式访问图书馆管理信息系统。
1.1.2 系统内部人员结构、组织及用户情况分析为了对系统有一个大致了解,现给出系统内部人员结构、组织及用户情况等基本信息。
图书馆管理系统的组织结构如图1.1 所示。
图1.1 图书馆管理信息系统的组织结构图书馆由馆长负责全面工作,下设办公室、财务室、采编室、学术论文室、图书借阅室、电子阅览室、期刊阅览室和技术支持室。
各部门的业务职责如下。
办公室:办公室协助馆长负责日常工作,了解客户需求,制定采购计划。
财务室:财务室负责财务方面的工作。
采编室:采编室负责图书的采购,入库和图书编目,编目后的图书粘贴标签,并送图书借阅室上架。
学术论文室:负责学术论文的收集整理。
图书借阅室:提供对读者的书目查询服务和图书借阅服务。
电子阅览室:收集整理电子读物,准备提供电子读物的借阅服务,目前可以提供目录查询。
期刊阅览室:负责情况的收集整理和借阅。
技术支持室:负责对图书馆的网络和计算机系统提供技术支持。
1.1.3 系统业务流程分析系统的业务流程要达到的业务目标,业务流程分析是系统分析的基础环节。
图书馆管理信息系统的业务流程如图1.2所示。
图1.2 图书馆管理信息系统的业务流程通过业务流程调查,理清图书馆管理系统的主要业务和业务的流程。
图书馆管理系统数据流图(总8页) -本页仅作为预览文档封面,使用时请删除本页-系统分析图书馆管理信息系统的基本任务“图书馆管理信息系统”是一个面向具有万人以上用户,位于某中型企事业单位内的图书馆管理系统,藏书规模约100 多万册,每天的借阅量近万册。
在手工操作方式下,图书的编目和借阅等工作量大,准确性低且不易修改维护,读者借书只能到图书馆手工方式查找书目,不能满足借阅需求。
需要建立一套网络化的电子图书馆信息系统。
该系统服务对象有两部分人:注册用户和一般读者。
一般读者经注册后成为注册用户,注册用户可以在图书馆借阅图书,其他人员只可查阅图书目录,但不能借阅图书。
系统同时考虑提供电子读物服务,目前只提供电子读物的目录查询服务,不久的将来将提供电子读物全文服务。
用户可通过网络方式访问图书馆管理信息系统。
系统内部人员结构、组织及用户情况分析为了对系统有一个大致了解,现给出系统内部人员结构、组织及用户情况等基本信息。
图书馆管理系统的组织结构如图所示。
图图书馆管理信息系统的组织结构图书馆由馆长负责全面工作,下设办公室、财务室、采编室、学术论文室、图书借阅室、电子阅览室、期刊阅览室和技术支持室。
各部门的业务职责如下。
办公室:办公室协助馆长负责日常工作,了解客户需求,制定采购计划。
财务室:财务室负责财务方面的工作。
采编室:采编室负责图书的采购,入库和图书编目,编目后的图书粘贴标签,并送图书借阅室上架。
学术论文室:负责学术论文的收集整理。
图书借阅室:提供对读者的书目查询服务和图书借阅服务。
电子阅览室:收集整理电子读物,准备提供电子读物的借阅服务,目前可以提供目录查询。
期刊阅览室:负责情况的收集整理和借阅。
技术支持室:负责对图书馆的网络和计算机系统提供技术支持。
系统业务流程分析系统的业务流程要达到的业务目标,业务流程分析是系统分析的基础环节。
图书馆管理信息系统的业务流程如图所示。
图图书馆管理信息系统的业务流程通过业务流程调查,理清图书馆管理系统的主要业务和业务的流程。
软件课程设计题目: 图馆管理系需求分析图书馆管理系统需求规格说明书1.引言1.1编写目的此规格说明书是为了对图书馆管理系统做一个概要的说明, 是软件的大约的分析过程, 对最终的软件加以说明。
重要的读者为软件设计人员, 程序编写员, 以及老师。
1.2项目背景该项目作为计算机学院05级的软件课程设计题目, 学生应当在规定的时间之内完毕, 时间是第七周(4月7日)到第十二周(5月16日), 学生应当在这个时间之内做好需求规格说明书, 概要设计说明书, 具体设计说明书, 以及做好程序, 并在最后加以用户操作手册等一系列具体的设计规定。
1.3定义1.4参考资料《实用软件工程》第二版郑人杰殷人昆陶永雷等主编清华大学出版社《delphi程序员成长攻略》蒙祖强龚涛等编著中国水利水电出版社《delphi7开发实例完全剖析》王志强编著中国电力出版社《精通delphi数据库设计与实例开发》陈润编著中国青年出版社2.任务概述2.1目的通过该系统可以实现最基本的图书馆的一系列的操作流程, 其中涉及:图书的借阅, 图书的查找, 图书的退还, 借书证的申请, 图书的上架解决, 图书的过期未还的处罚等等功能。
这些功能要用delphi以及后台的数据库SQL来实现。
2.2运营环境Windows 98/2023/XP/2023操作系统下, 安装并配置软件Microsoft SQL Server 2023数据库管理系统。
作者用的是windows XP操作系统, 理论上可以在windows 98/2023/2023下运营的。
2.3条件与限制3.因现在配有windows98与windows2023的操作系统的电脑较少, 不易找到, 所以在这两种操作系统上实验比较困难。
4.数据描述3.1静态数据用户密码, 用户帐号, 图书编号, 图书类别, 图书类名, 班级号, 图书总数量, 书名, 权限。
3.2动态数据姓名, 性别, 组号, 借书日期, 到期日期, 还书日期, 剩余数量, 出版日期, 备注, 定价。
软件工程-图书管理系统需求分析一、引言近年来,随着图书馆向数字化转型,图书管理软件逐渐成为了图书馆管理的必需品之一。
通过使用图书馆管理软件,图书馆管理人员能够更加高效地完成图书采购、分类、索引、借阅、还书、查询以及统计等各种相关的工作。
图书馆管理软件不仅可以提高图书馆工作效率,同时也能够提高读者借、还图书的方便程度。
本文档旨在分析和梳理图书管理系统项目的总体需求,以期在后续的开发阶段中更好地进行系统设计和开发。
二、项目概述图书管理系统软件是一种专业的图书馆管理系统,主要功能是自动化地管理整个图书馆的图书信息、读者信息以及图书借阅信息。
该系统可以方便图书馆管理员进行图书管理,还可以方便读者了解图书馆中图书的基本信息和状态,以及进行图书借阅和归还操作。
图书管理系统具有如下功能:1.管理员功能–图书的入库、销售、盘点和调拨管理;–读者的信息管理和读者身份识别;–图书借阅、归还、续借以及书籍查询;–还书以后图书管理员对书籍的处理;–图书报废、挂失、丢失和超期处理;2.用户功能–查图书、查询图书馆藏、预约图书、续借图书、自助借还图书;三、业务流程图书管理系统具有一定的业务流程,主要包括以下步骤:1.读者借阅操作流程–读者身份证/借书证识别;–查询图书目录;–选择借阅的书籍;–图书借阅操作(包括还书超期计算、读者利用率统计等功能);2.图书管理员增加图书流程–输入图书基本信息;–查看书籍库存;–将书籍入库;–确认书籍入库后更新库存信息;3.图书查询操作流程–进入查询页面;–查询书名、作者等信息;–选择需要查询的书籍;–查看书籍详情;4.读者信息管理流程–登录系统;–选择账户管理;–编辑账户信息(修改个人信息或账户密码);四、用户需求根据图书管理系统的业务流程和功能,整理得到以下用户需求:1.读者需求–能够查询到所需要的书籍信息;–能够方便快捷地办理借阅手续;–能够预约和续借所需要借阅的书籍;–能够便捷地完成自助借还操作;–能够方便地维护自己的个人信息和借阅记录;2.管理员需求–能够方便快捷地录入、修改和删除图书信息;–能够方便快捷地办理借阅手续;–能够方便快捷地查询和统计借阅信息;–能够方便快捷地维护图书管理员的个人信息和借阅记录;五、需求分析根据图书馆管理系统的业务流程和用户需求,我们可以对系统的功能及技术需求进行分析:功能需求1.登录注册模块:提供账户注册和登录,管理员账户和读者账户有不同的权限;2.图书录入模块:管理员能够通过该模块进行图书的录入、修改和删除;3.图书查询模块:管理员和读者能够通过该模块进行查询,包括按照书名、作者、出版社、ISBN等信息进行查询;4.借阅还书模块:读者借书操作和还书操作,管理员还书操作;5.统计报表模块:提供读者的借阅情况、书籍借阅排行等报表;6.消息发布模块:提供管理员发布消息功能,如通知读者还书等;7.权限管理模块:管理不同角色账户的权限。
图书馆管理系统一.图书馆管理系统需求分析1、系统目标设计系统开发的总目标是实现内部图书借阅管理的系统化、规范化和自动化。
能够对图书进行注册登记,也就是将图书的基本信息(如:书的编号、书名、作者、价格等)预先存入数据库中,供以后检索。
能够对借阅人进行注册登记,包括记录借阅人的姓名、编号、班级、年龄、性别、地址、电话等信息。
提供方便的查询方法。
如:以书名、作者、出版社、出版时间(确切的时间、时间段、某一时间之前、某一时间之后)等信息进行图书检索,并能反映出图书的借阅情况;以借阅人编号对借阅人信息进行检索;以出版社名称查询出版社联系方式信息。
提供对书籍进行的预先预订的功能。
提供旧书销毁功能,对于淘汰、损坏、丢失的书目可及时对数据库进行修改。
能够对使用该管理系统的用户进行管理,按照不同的工作职能提供不同的功能授权。
提供较为完善的差错控制与友好的用户界面,尽量避免误操作。
2、系统功能需求分析(1) 读者管理:读者信息的制定、输入、修改、查询,包括种类、性别、借书数量、借书期限、备注等。
(2) 书籍管理:书籍基本信息制定、输入、修改、查询,包括书籍编号、类别、关键词、备注。
(3) 借阅管理:包括借书,还书,预订书籍,续借,查询书籍,过期处理和书籍丢失后的处理。
(4)系统管理:包括用户权限管理,数据管理和自动借还书机的管理满足以上需求的系统主要包含有一下几个子系统(1)基本业务功能子系统:该系统中主要包含了借书还书和预订等功能。
(2)基本数据录入功能子系统:该子系统主要包含有书籍信息和读者信息录入功能。
(3)信息查询子系统:包含了多功能的查询书籍信息和读者信息。
(4)数据库管理功能子系统:主要包含了借阅信息管理功能,书籍信息管理功能和预订信息管理功能。
(5)帮助功能子系统。
二、系统动态建模1、用例图、图书馆管理系统的用例图从用例图中我们可以看出管理员和读者之间对本系统所具有的用例。
管理员所包含的用例有:(1)登录系统:管理员可以通过登录该系统进行各项功能的操作(2)书籍管理:包括对书籍的增删改等。
软件工程作业图书管理系统1.引言1。
1 编写目的本需求的编写是为了研究利用大型数据库做基础的图书管理系统软件的开发途径和应用方法。
同时它也是进行项目策划、概要设计和详细设计的基础,是维护人员进行内部维护,信息更新,验收和测试的依据.1。
2项目背景本项目的名称:图书管理系统。
图书管理系统这任务提出与开发者为某学生的课程设计,用户是学校图书馆。
本产品是针对电脑管理图书的需求设计的,可以完成读者登记、购入新书、读者借还书、图书注销等。
1。
3 相关定义数据字典:它是数据的信息的集合,即对数据流图中包含的所有元素的定义的集合.其作用是为设计人员提供关于数据描述的信息.数据字典应该由对以下四类元素的定义组成:数据流、数据流分量(即数据元素)、数据存储、处理。
2. 需求概述2。
1 目标“图书管理系统”主要提供图书信息和读者基本信息的维护以及借阅等功能。
本系统是提高图书管理工作的效率,减少相关人员的工作量,使学校的图书管理工作真正做到科学、合理的规划,系统、高效的实施.2。
2用户类和特征最高用户是图书管理员和读者,图书管理员需要进行用户的创建、修改和删除等工作,要求具备计算机知识,如权限管理等。
读者是普通用户,具备一定的计算机操作即可。
2。
3 运行环境服务器:CPU P4 1GHz以上;内存256M以上配置.由于服务器将存储大量图书资料,建议准备100G以上硬盘、并预留磁盘扩充接口。
客户端:CPU C433MHz以上;硬盘:200M以上空白空间;内存:128M以上配置。
软件运行环境:服务器:Windows 2000 Server、Windows2000AdvancedServer、Windows2003均可;Microsoft SQLServer2000 或2005。
客户端:Windows 98、Windows Me、Windows 2000、Windows XP系统均能正常运行.建议使用Windows XP或Windows 2000操作系统。
题目:图书馆管理系统
一、系统功能:
为了方便图书馆管理人员对图书的借阅、归还等提供轻松快捷的管理方式,同时也方便广大的读者用户可以随时随地的对图书进行续借,查询。
实现人力与设备费用的节省;处理速度的提高;管理信息服务的改进;人员工作效率的提高。
现有的图书管理系统分为图书采购、图书编目、图书借阅、信息检索四部分,统各部分既相互独立,又能进行各部分之间的数据调用。
1)图书采购子系统的主要功能是采购新的图书。
图书采购子系统主要由数据处理、采
购清单、图书信息录入组成。
2)图书编目时系统自动调用采访子系统数据及所购图书数据,图书编目完成后,可将数
据交送到编目主库及借阅子系统进行图书借阅。
图书编目子系统大致有图书编目、统计打印、数据维护几部分组成。
3)图书借阅是用来记录图书借还信息的,必需有书有证才能进行图书借还,借阅子系
统中的图书数据来自编目子系统。
4)信息检索,用户可以利用该系统,检索到图书馆的馆藏书目、读者基本信息、读者借书、预约到书、超期读者、罚款记录、最新图书、借阅频率最高的图书信息。
二、数据图:
第一层数据流图
第二层数据流图
学生借阅图
书的数据流
图
学生还书过程数据流图
学生查询书籍信息数据
流图
流图
流图
三、数据字典:
1)数据源点及汇点描述:
1.名称:学生
简要描述:借书、还书、查询及登记注册
有关数据流:借书证;所借书本
2.名称:当前日期
简要描述:当日日期
有关数据流:年月日加工
2)逻辑词条描述:
1.加工名:检验能否借书
加工编号:1
简要描述:检验学生身份、图书是否入库、读者还能借多少书以此判定读者是否能借书
输入数据流:借书证;所借书本,学生信息,图书信息,图书借阅量,日期
输出数据流:借书错误信息,借书信息
加工逻辑:IF借书证未登记入库THEN
发出“借书错误”
ELSEIF图书未登记入库THEN
发出“借书错误”
ELSEIF读者已借图书和现借图书多于限制数NTHEN
发出“借书错误”
ELSEIF读者已借图书中有超期THEN
发出“借书错误”
ELSE发出“借书信息”
ENDIF
ENDIF
ENDIF
ENDIF
2.加工名:添加借阅记录
加工编号:2
简要描述:将“借书信息”登记到“借阅记录”中,完成后将书本递交读者输入数据流:借书信息,日期
输出数据流:图书借阅记录,图书
加工逻辑:将借书信息及日期写入图书借阅记录;
将图书递交读者
3)数据流名词条描述:
1.数据流名:借书证
说明:用以携带学生的唯一识别标识
数据流来源:学生信息
数据流去向:检验能否借书
数据流组成:学生=借书证号+姓名+专业+性别+出生日期+照片+借书数量借书证号=“000000001”..“”varchar
姓名=2—24varchar
专业=2—24varchar
性别==1int
出生日期=datetime
照片=Image
借书数量=int
2.数据流名:图书
说明:记录图书的主要相关信息
数据流来源:学生
数据流去向:检验能否借书
数据流组成:图书=ISBN+书名+作者+出版社+价格+复本量+库存量书号=“000000001”..“”varchar
书名=2—24varchar
作者=2—24varchar
出版社=2—24varchar
价格=“000.01”..“999.99”float
复本量=int
库存量=int
3.数据流名:检验错误
说明:用于指示学生借书错误信息
数据流来源:借书检验
数据流去向:学生
数据流组成:检验错误=2—40varchar
4.数据流名:借书信息
说明:用于传递读者号和图书号
数据流来源:借书检验数据流去向:借书记录
数据流组成:借书信息=借书证号+ISBN+索书号+借书时间。