4、施工测量作业指导书 PDFTJ-01
- 格式:doc
- 大小:375.62 KB
- 文档页数:9
测量工序作业指导书一、工序名称测量工序二、编制目的及适用范围编制本作业指导书主要是为高速公路工程及城市道路桥梁、排水工程、地下铁道构筑物施工前期准备测量工作提供有效的依据和作业方法,贯穿于施工全过程。
本作业指导书适用于高速公路;城市道路与桥梁;特大桥;中小桥;排水工程;地铁高架桥;地铁车站;地铁地下建筑物等工程。
三、作业前准备1、检查测量工具如全站仪、水准仪、测距仪、水准尺、钢尺、直尺、皮尺等能否正常工作、是否经过标准计量单位鉴定,对超过鉴定周期的仪器设备应送标准计量单位重新进行鉴定。
2、根据工程需要应准备半永久性测量标志--方锥体混凝土桩、临时测量标志--木桩和铁钉,并刷涂红色油漆以便于识辨。
同时备有如下工具和材料:铁锨、铁镐、大锤、水泥、砂子、竹杆、小红旗等。
3、作业前由测量队长进行以下明确分工:3.1队长:抓全面工作,负责对内、外关系的协调,确保测量作业全过程的顺利完成。
3.2司镜员:作业过程中负责观测工作。
要求对各种测量仪器能熟练操作,并负责仪器的维修、鉴定、保养。
3.3记录计算员:认真地记录司镜员读出的观测值,并且复诵所记录的观测值,以和司镜员核对是否有误。
测量记录应字迹清楚整齐,不得涂改、转抄。
当记录发生错误时,应采用正确的方法进行及时更正。
作业前要准备好记录本、铅笔、计算器等必需工具。
在观测过程中,记录员如发现某测回(或测站)超出限差,必须提醒司镜员补测一个测回或测站。
当一个测量作业完成后要及时进行数据计算与成果整理,并交于队长审核。
3.4前后操作员:在水准测量中负责立水准尺。
立尺时要立直,不能左右偏移,也不能前仰后合。
在导线测量中,负责棱镜操作,要对中整平,棱镜正对全站仪或测距仪方向,前、后视操作员要听从司镜员指挥。
3.5工作员:带领两名普工,负责观测前期标识、编号,保证视线通畅无障碍,并负责测量仪器、工具的途中运输,此外还要做好前期材料、工具、人员、运输设备等方面的准备工作。
4、应备有其它的相关仪器、工具和材料:如对讲机、望远镜、信号旗、花竿、花竿支架、太阳伞、尺垫、绳尺、手锤、克丝钳、剪刀、绘图所用的工具等。
四步法”、“5S、“八步骤”施工方案施工方案审批:审核:________________________编写:________________________四步法: 1、作业指导书《作业指导书》在参照国家标准、行业标准、南方电网标准及相关的技术规范、规定的基础上,充分考虑了中国南方电网有限责任公司的实际情况,针对性、可操作性强。
O 2、风险评估与控制3、安全施工作业票。
一、概况:、根据“电网工程的一切施工活动必须有安全施工作业票”的规定要求,各施工单位从事送变电工程施工、维护及抢修等作业必须使用《安全施工作业票》(以下简称作业票)。
、本套作业票分为三大类:第一类为建筑施工使用,按工序划分共制订有14 种作业票;第二类为变电安装使用,按工序划分共制订有27种作业票;第三类为线路施工使用,按工序划分共制订有30 种作业票;具体作业票种类详见各目录清单。
、施工负责人必须有明显的标志识别(用红、黄袖套或背心,由各施工单位自行规定),在作业面上必须设有安全监护人。
、安全施工作业票附有副票与作业票同时使用,副票的主要是每天必查的工器具的安全外观检查表,内容可由各施工单位自行制定检查的细则,规定由安全监护人负责检查并签字。
、在安全施工作业票背面附有分工内容和分工人员名单。
、背面附有平面布置图,送电线路可在平面布置图中画出线路走向和位置名称(含杆塔编号等),注明分工人员位置并画好工作区域;变电站如不能画可采用补充的固定画好的平面布置图,在平面布置图中手画好施工作业面的区域。
、安全施工作业票规定由施工负责人随身携带以备项目部经理、副经理、总工、专职安全员检查,安全施工作业票的存根保留在签发处,施工完成后7 日由施工负责人交回项目部归档,存根和签发出去的安全施工作业票对应归档。
、要求项目部每月至少有一次定期检查安全施工作业票的情况并有相应的记录。
二、使用要求:、本套作业票应与施工班组《分工记录》配套使用。
、施工队长安排工作任务时,应根据现场实际情况,指派熟识施工工艺流程及了解现场情况的人员担任该工作任务的施工负责人和安全监护人,并确定作业组施工人员。
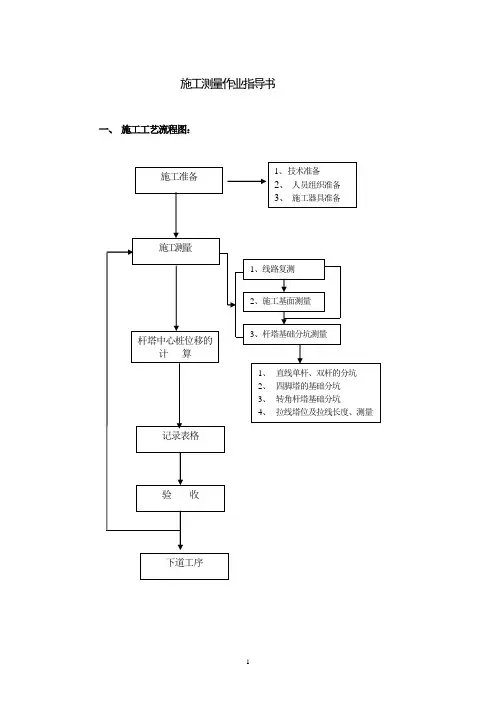
施工测量作业指导书一、施工工艺流程图:二、作业方法及要求:设计单位将线路设计终勘柱位交给施工单位后,施工单位即可依据设计的平断面图线路走向图以及施工图进行线路的施工测量,施工测量主要包括线路复测,杆塔基础分坑测,杆塔中心柱位移测量,位线坑位的测定及拉线长度计算等。
1、施工准备:(1)、技术准备:熟悉设计施工图纸,根据地形制定复测方案。
计算杆塔分坑的必要数据等。
(2)、人员组织准备:根据线路的长短,测量的难度、测量工作量的大小,确定跑前后视人数,测量工人数,负责测量的人员应有测量操作证,测量工作应由专人负责,跑前后视的人应有一定的测量知识和实际施工经验。
(3)、施工器具准备:经纬仪、对讲机、木桩、油漆、毛笔、钢卷尺、小锤、塔尺、花杆等。
2、施工测量:负责测量的人员应有测量操作证,并由专职质检员对操作证进行检查,以确保测量质量符合设计要求。
(1)线路复测(R点)为了防止原设计勘测所打的桩位,受外界因素的影响,发生偏移偏差或丢失,而造成施工错误,施工前必须对全线及所有桩位进行复测。
确认无误方可进行施工,线路复测的工序如下:A、线路复测要以直线杆作为测量基点,用正倒镜,分中法或前视法检查杆塔中心可望而不可及。
杆截塔中心桩有偏差,应采用相同的方法恢复原来桩位,有误差时允许以两相邻直线桩为基准,横线路方向偏移应不大于50mm。
B、线路转角桩的角度值应用方向法施测,应满足对设计值的误差不大于1′30″。
实测角度与设计值不相符相应查明原因。
若确定证明角度误差不是相邻桩位有误差造成的则应用好记录,报技术部门协同设计单位妥善处理。
C、杆塔位中心桩丢失时,可按设计数据进行补订,订桩时必须复查剪彩后的档距、高差、转角值及危险点,并作测量记录。
用经纬仪视距法复核档距时,其档距误差应大于设计档距的1%。
D、在线路与河流、电力线、通讯线、铁路和公路等交叉跨越的地方。
应对跨越点的标高进行复核测量,且对设计测值的误差应不超过0.5m。
目录1 .工程概况及工程量 (1)1.1工程概况 (1)1.2工程量 (1)1.3工期要求 (1)2.............................................................................................................................. 编制依据. (1)3 .作业前必须具备的条件和应做的准备 (1)3.1技术准备 (2)3.2参加作业人员的资格和要求 (2)3.3作业工器具 (3)3.4安全器具 (3)3.5其它准备工作 (3)4.............................................................................................................................. 作业程序及方法. (3)4.1 作业流程 (3)4.2作业方法及内容 (4)5 .质量控制点的设置和质量通病预防 (6)5.1质量目标 (6)5.2质量控制及质量通病预防 (7)5.3作业过程中控制点的设置 (8)5.4质量标准及要求 (7)6.作业的安全要求和环境条件 (8)6.1作业的安全危害因素辨别及相应对策表 (8)6.2作业环境应达到的条件 (8)6.3作业的安全要求和措施 (8)7.附件 (8)1工程概况及工程量1.1工程概况廊坊信安220kV变电站位于位于霸州市城东21km信安镇北1.5km。
地势开阔,用地性质为林地,地面自然高程5.2m左右(黄海高程),地震基本烈度为7度,无不良地质作用,无文物。
根据站内环形道路和站内构筑物位置,站内设置控制点4个,坐标分别为K1(A=8.8,B=10.7) ,K2(A=100.9,B=10.7) ,K3(A=100.9,B=71.1) ,K2(A=8.8,B=71.1) 。
测量工施工安全作业指导书第一章引言1.1 目的本《测量工施工安全作业指导书》旨在为测量工在施工现场进行安全作业提供指导,保障测量工施工过程中的人身安全和设备安全,减少事故和意外事件的发生,确保施工工作的顺利进行。
1.2 适用范围本指导书适用于所有从事测量工作的人员,在施工现场进行测量工作时必须遵守本指导书的相关要求和规定。
第二章安全作业管理2.1 安全作业责任所有测量工作人员都应该具备安全意识,遵守相关安全规章制度,履行安全作业责任。
施工单位应当设立安全管理人员,负责制定和执行安全管理制度,并定期进行安全教育和培训。
2.2 安全作业准备在进行测量工作前,必须对施工现场进行安全检查,确保测量设备合格,工作环境安全,存在的安全隐患得到有效控制。
在施工现场必须设置标志和警示标识,保证工作人员的安全。
2.3 安全操作要求测量工应具备相应的专业知识和技能,熟悉测量仪器的使用和日常维护保养,严格按照操作规程进行工作。
在施工现场必须严格遵守安全操作规定,如佩戴安全帽、防护鞋、安全带等个人防护用品。
在高风险作业环境中,必须采取必要的防护措施。
2.4 应急预案施工单位应当制定应急预案,明确测量工作中可能发生的事故类型和应对措施。
测量工作人员在施工现场必须熟悉应急预案,能够迅速、正确地采取应对措施,保障自身和他人的安全。
第三章施工现场安全管理3.1 现场布置施工现场必须按照现场布置图进行合理布置,确保施工道路畅通,消防设备齐全有效,应急通道畅通,并设置明显的标志和警戒线。
施工现场周边必须划定安全警戒区域,确保工作人员的安全。
3.2 施工现场通风施工现场必须保证通风良好,尤其是在封闭空间或化学品作业场所,必须进行必要的通风措施,确保空气质量合格,避免气体中毒的发生。
3.3 安全用电在施工现场进行测量工作时,必须遵守电气安全规定,确保用电设备合格,电线电缆完好无损。
测量工作人员在使用电气设备时必须遵守操作规程,合理使用电源插座和延长线,切勿乱拉乱动电线,以免发生安全事故。
施工测量放样作业指导书一、施工测量放样工艺流程图资料归档二、施工测量放样作业方法及要求1、说明本指导书是根据常规放样方法编写的,放样人员必须根据实际情况,如精度要求、控制点分布、现有仪器、现场条件、计算工具等来选择测站点和放样点的测设方法的不同组合及不同的检核方法。
各类工程及同一工程的不同阶段、不同部位对放样点的精度要求不同,所以对测站点和放样点的精度要求也不相同。
作业时请严格执行《工程测量规范》、《水电水利工程施工测量规范》和《施工测量控制程序》。
本书中提到的限差指规范要求的限差,如果设计上有特殊要求,按设计要求执行。
2、测量资料收集与放样方案制定1).测量放样前,应从合法、有效途径获取施工区已有的平面和高程控制成果资料。
2).根据现场控制点标志是否稳定完好等情况,对已有的控制点资料进行分析,确定是否全部或部分对控制点进行检测。
3).已有控制点不能满足精度要求应重新布设控制,已有的控制点密度不能满足放样需要时应根据现有的控制点进行加密。
4).必须按正式设计图纸、文件、修改通知进行测量放样,不得凭口头通知和未经批准的图纸放样。
5).根据规范规定和设计的精度要求并结合人员及仪器设备情况制定测量放样方案。
其内容应包括:控制点的检测与加密、放样依据、放样方法及精度估算、放样程序、人员及设备配置等。
3、放样前准备1).阅读设计图纸,校算建筑物轮廓控制点数据和标注尺寸,记录审图结果。
2).选定测量放样方法并计算放样数据或编写测量放样计算程序、绘制放样草图并由第二者独立校核。
3).准备仪器和工具,使用的仪器必须在有效的检定周期内。
给仪器充电,检查仪器常规设置:如单位、坐标方式、补偿方式、棱镜类型、棱镜常数、温度、气压等。
4).使用有内存的全站仪时,可以提前将控制点(包括拟用的测站点、检查点)和放样点的坐标数据输入仪器内存,并检查。
4、全站仪坐标法设站+极坐标法放点1).在控制点上架设全站仪并对中整平,初始化后检查仪器设置:气温、气压、棱镜常数;输入(调入)测站点的三维坐标,量取并输入仪器高,输入(调入)后视点坐标,照准后视点进行后视。
测量工程施工作业指导书遵义建工(集团)务川有限公司二〇一六年十一月目录一、等级控制测量(平面)作业指导书 (1)二、等级水准测量(含等外)作业指导书 (6)三、地形测量(采集)作业指导书 (10)四、线路测量作业指导书 (14)五、沉降观测、变形监测作业指导书 (19)六、基坑监测作业指导书 (22)七、 GPS/RTK作业指导书 (35)八、工程测量用仪器设备使用、维护保养要求 (39)3.1全站仪使用、维护保养 (39)3.2全球定位系统使用、维护保养 (40)3.3水准仪使用、维护保养 (42)4仪器设备维护保养计划 (43)九、水准仪器的校验 (44)十、水准仪I角的核查方法 (45)一、等级控制测量(平面)作业指导书本作业指导书是针对等级控制测量的特点和作业需要编写的,服务范围是三等导线、一级导线、二级导线、三级导线以下平面控制网、平高控制网、高程控制网的建立和控制点加密。
使用本指导书进行测量作业,应遵守《城市测量规范》、《工程测量规范》等规程规范。
在遵循务川珍珠大道项目的设计要求下进行作业。
1.0 任务接收项目测量组长接受任务后,明确任务的技术要求和作业工期。
2.作业前准备工作2.1项目测量组长获得任务后,立即收集相关资料到实地进行踏勘。
编写技术设计书。
2.2项目测量组长组织相关人员进行作业准备。
组织相关作业人员认真学习有关测量规范和技术指示或技术设计书,确定作业任务的性质和要求。
继续完善测区资料的收集(包括测区所在地点、范围、道路、交通、控制点等)。
2.3 项目测量组长根据平面控制等级选择合适的测量仪器,并对仪器进行相关的检校,包括全站仪、电子手簿或一般记录手簿、脚架、觇牌、棱镜、气压计、温度计等的完好状态,是否处在检定期内,有不合格项目不得用于作业。
2.4项目测量组长组织相关人员熟悉全站仪的使用方法,对仪器进行参数设置如气压、温度和加乘常数。
进行气压、温度改正。
3.选点、埋石3.1按《城市测量规范》 CJJ 8-99选点密度按P8 2-2条实施。
施工测量作业指导书1、控制测量1.1测量情况2005年7月2日至2005年7月3日,测量班,对隧道进口进行布点及控制测量。
拓普康GTS711S全站仪一台,标称精度:测角为2″,测距为±(2mm+2ppm*D)。
水平仪:苏光DSZ2型水准仪,标称精度:±2mm/km。
1.2、控制测量精度本标段隧道全长7588m,为长大隧道。
根据《京沪高速铁路测量暂行规定》(铁建设[2003]13号),隧道横向贯通误差限差为150mm,横向贯通中误差为75mm,高程贯通误差限差为50mm ,高程贯通中误差为25mm 。
洞外、洞内贯通中误差分别为45mm和60mm;洞外、洞内高程贯通中误差分别为18mm和17mm.。
1.3、洞外控制网复测及控制测量施测方法施工前已由设计院和业主技术部门进行现场控制桩点交接,办理相关手续。
开工前组织测量人员对交接的GPS控制网点和水准基点进行复测,复核控制点的坐标和水准基点高程的精度,测量结果经过平差后与所交的控制点结果进行对比,符合规范要求根据设计单位布点情况,隧道进口仅有两个GPS点,复测与控制测量采用GPS同步进行,在洞口埋设3个GPS加密点(DO49-1、DO49-2、DO48-1)与设计点组成空间大地四边形和三角形,利用GPS观测内符合精度和残差分析,可复核设计单位提供GPS控制点精度。
以边连接方式布网,以控制隧道掘进方向。
1.4、洞内平面控制测设1.4.1洞口投点测设施工时通过洞外精测点,引进洞内采用双导线布置形成闭合导线,采用全站仪、精密水准仪等测量仪器,精确控制隧道中线。
以DO49置镜,后视DO48,进行洞口投点,DO49-1、DO49-2作为检核点;置镜洞口点,后视DO49指导隧道进洞方向。
洞口导线点位埋设使用Φ22钢筋(钢筋顶上刻十字线)埋于洞口附近坚固稳定的地面上,并用混凝土固定桩位,点与点之间通视良好。
点位布置完毕后,利用设计院交接的导线网点GPS 点(已知)作基准点,使用全站仪引测附合导线上各点的坐标值(并经平差),使用精密水准仪从高等级的2个BM点测定导线上各点的高程(并经平差)。
施工测量作业指导书(一)施工测量放样工艺流程图(二)施工测量放样作业方法及要求一、说明本指导书是根据常规放样方法编写的,放样人员必须根据实际情况,如精度要求、控制点分布、现有仪器、现场条件、计算工具等来选择测站点和放样点的测设方法的不同组合及不同的检核方法。
各类工程及同一工程的不同阶段、不同部位对放样点的精度要求不同,所以对测站点和放样点的精度要求也不相同。
作业时请严格执行《工程测量规范》、《水电水利工程施工测量规范》和《施工测量控制程序》。
本书中提到的限差指规范要求的限差,如果设计上有特殊要求,按设计要求执行。
二、测量资料收集与放样方案制定1.测量放样前,应从合法、有效途径获取施工区已有的平面和高程控制成果资料。
2.根据现场控制点标志是否稳定完好等情况,对已有的控制点资料进行分析,确定是否全部或部分对控制点进行检测。
3.已有控制点不能满足精度要求应重新布设控制,已有的控制点密度不能满足放样需要时应根据现有的控制点进行加密。
4.必须按正式设计图纸、文件、修改通知进行测量放样,不得凭口头通知和未经批准的图纸放样。
5.根据规范规定和设计的精度要求并结合人员及仪器设备情况制定测量放样方案。
其内容应包括:控制点的检测与加密、放样依据、放样方法及精度估算、放样程序、人员及设备配置等。
三、放样前准备1.阅读设计图纸,校算建筑物轮廓控制点数据和标注尺寸,记录审图结果。
2.选定测量放样方法并计算放样数据或编写测量放样计算程序、绘制放样草图并由第二者独立校核。
3.准备仪器和工具,使用的仪器必须在有效的检定周期内。
给仪器充电,检查仪器常规设置:如单位、坐标方式、补偿方式、棱镜类型、棱镜常数、温度、气压等。
4.使用有内存的全站仪时,可以提前将控制点(包括拟用的测站点、检查点)和放样点的坐标数据输入仪器内存,并检查。
四、全站仪坐标法设站+极坐标法放点1.在控制点上架设全站仪并对中整平,初始化后检查仪器设置:气温、气压、棱镜常数;输入(调入)测站点的三维坐标,量取并输入仪器高,输入(调入)后视点坐标,照准后视点进行后视。
目录1精测网复测作业指导书 (2)2施工加密控制网作业指导书 (13)3沉降变形观测网测量作业指导书 (23)4路基施工测量作业指导书 (36)5桥梁施工测量作业指导书 (45)6涵洞施工测量作业指导书 (55)7隧道施工测量作业指导书 (63)8路基沉降变形观测作业指导书 (77)9桥涵工程沉降变形观测作业指导书 (105)xx隧道工程沉降变形观测作业指导书 (143)1精测网复测作业指导书1 适用范围本作业指导书适用于新建xx铁路GGTJ-xx标段精测网复测。
2 作业准备精测网复测之前应由建设单位组织设计单位对施工单位进行交桩,交桩过程应有设计单位、建设单位、监理单位和施工单位的人员共同参与,并留下影像资料。
施工单位根据交桩的情况,收集既有精测网资料,根据原精测网测量精度和建网方式编写复测技术方案,并报监理单位和建设单位审核,组织满足复测要求的技术人员和测量仪器,按照审批后的复测方案进行精测网的复测。
3 主要技术要求3.1 《高速铁路工程测量规范》(TB xx601-2009);3.2 《工程测量规范》(GB 50026-2007);3.3 《国家一、二等水准测量规范》(GB/T 12897-2006);3.4 《铁路工程卫星定位测量规范》(TB xx054-20xx);3.5 《全球定位系统(GPS)测量规范》(GB/T 18314-2009);3.6 xx公司相关文件规定及铁道部相关规定。
4 测量程序及工艺流程现场交桩是无砟轨道铁路工程测量的重要环节,是设计院将勘测施测的CPI控制点、CPII 控制点和水准点移交给施工单位,施工单位以此作为平面、高程控制基准开展施工的基础,也是实现无砟轨道铁路工程测量“三网合一”一个不可缺少的环节。
精测网在开工前要进行一次复测,在无砟轨道施工前也要进行一次复测,保证控制网精度满足施工要求。
在区域地面沉降段落要加密复测频次,特别是高程控制网每半年要复测一次,可结合区域地面沉降观测同时进行。
测量工施工安全作业指导书1总则1.1目的充分识别测量岗位的危险源和环境因素,并进行风险评价和重要环境因素评价,采取相应的控制措施,保证从事测量岗位作业人员在施工生产过程中职业健康与安全,防止环境污染,防止意外事故发生。
1.2适用范围本指导书适用于公司内从事测量人员。
当上述人员从事高处作业或有限空间作业时,应遵守相关规定。
1.3编制依据[80]建工劳字第24号建筑安装工人安全技术操作规程2岗位要求2.1素质要求具备初中以上学历;身体健康,无癫痫病史和障碍性残疾。
2.2技能资质经过培训、考试合格。
2.3工作经历有半年以上工作经历。
3岗位职责3.1主管领导在所在班组的班组长的领导下工作,接受工号技术负责人的技术交底和安全员的安全管理。
3.2对下负责什么负责带好徒工,为下道工序创造条件。
3.3权利和义务严格执行安全技术操作规程,不违章作业;施工作业中正确佩戴劳动保护用品和用具,服从领导和安全员的指挥;积极参加安全活动和班前会,认真执行安全技术交底和危险度预测;努力完成施工任务,搞好相互协作;有权拒绝违章指挥的作业;发生事故时要保护好现场,积极参加抢救,如实报告事故发生经过。
4操作指南4.1工作程序班前安全活动—岗位工作准备—施工作业—班后现场清理—收回工具4.2工作要求4.2.1测量工具4.2.1.1作业前必须对测量工具进行检查。
4.2.1.2测量工具必须是完好设备。
4.2.2.测量作业一般要求4.2.2.1、进入施工现场必须按规定配戴安全防护用品。
4.2.2.2、作业时必须避让机械,躲开坑、槽、井,选择安全的路线和地点。
4.2.2.3、上下沟槽、基坑应走安全梯或马道。
在槽、基坑底作业前必须检查槽帮的稳定性,确认安全后再下槽、基坑作业。
4.2.2.4、高处作业必须走安全梯或马道,临边作业时必须采取防坠落的措施。
4.2.2.5、在社会道路上作业时必须遵守交通规则,并据现场情况采取防护、警示措施,避让车辆,必要时设专人监护。
路基施工测量作业指导书【作业指导书】路基施工测量一、引言路基施工测量是道路建设中非常重要的一项工作,它直接关系到道路的质量和安全。
本作业指导书旨在详细介绍路基施工测量的相关要点和步骤,以确保测量工作的准确性和可靠性。
二、测量前准备1. 确定测量范围和目的:根据工程设计要求,明确需要测量的路基范围和目的,例如测量路基的高程、横断面、纵断面等。
2. 准备测量工具和设备:根据测量范围和目的,准备好相应的测量工具和设备,如测高仪、测距仪、水平仪、经纬仪等。
3. 检查测量工具和设备:在使用前,对测量工具和设备进行检查,确保其正常运行并校准准确。
4. 制定测量方案:根据测量范围和目的,制定详细的测量方案,包括测量点的选择、测量方法和测量顺序等。
三、测量步骤1. 设置控制点:根据测量方案,在路基上设置控制点,控制点应具有稳定性和代表性。
2. 进行高程测量:使用测高仪等工具,按照测量方案,在控制点上进行高程测量,记录测量结果。
3. 进行横断面测量:根据测量方案,选择测量点,并使用测距仪等工具,进行横断面测量,记录测量结果。
4. 进行纵断面测量:根据测量方案,选择测量点,并使用测距仪等工具,进行纵断面测量,记录测量结果。
5. 进行其他测量:根据需要,进行其他相关的测量工作,如边坡坡度测量、路基宽度测量等。
四、测量数据处理1. 数据整理:将测量得到的原始数据进行整理,包括分类、排序和编号等工作,确保数据的准确性和可读性。
2. 数据分析:根据测量目的,对整理后的数据进行分析,如计算路基的平均高程、横断面的坡度等。
3. 数据校核:对数据进行校核,确保数据的准确性和一致性,如进行数据的重测和对比分析等。
4. 数据报告:根据数据分析结果,编制测量报告,包括测量数据、分析结果和建议等,以便后续工作的参考和使用。
五、测量注意事项1. 测量时应注意安全:在进行测量工作时,务必注意自身安全和周围环境的安全,遵守相关的安全规定和操作规程。
施工测量作业指导书
PDFTJ-01
施工测量作业指导书
编码:P D FT J-01
1
PDFTJ-01 施工测量作业指导书
目次
1 适用范围 (2)
2 编写依据 (2)
3 作业流程图 (2)
4 安全风险辨析与预控 (2)
5 作业准备 (3)
6 作业方法 (4)
7 质量控制措施及检验标准 (5)
中国南方电网有限责任公司电网建设施工作业指导书 第 8 部分:配网工程
1 适用范围
本节适用于 35kV 及以下配网工程配电房(油池)建筑施工的测量。
2 编写依据
表 2 编 写 依 据
3 作业流程图
图 3 作业流程图 4
安全风险辨析与预控 4.1 施工测量作业前,施工项目部根据该项目作业任务、施工条件,参照《电网建设施工安全基准风 险指南》(下简称《指南》)开展针对性安全风险评估工作,形成该任务的风险分析表。
4.2 按《指南》中与施工测量作业相关联的《电网建设安全施工作业票》(编码:PDFTJ -01-01/01), 结合现场实际情况进行差异化分析,确定风险等级,现场技术员填写安全施工作业票,安全员审核,施 工负责人签发。
4.3 施工负责人核对风险控制措施,并在日站班会上对全体作业人员进行安全交底,接受交底的作业 人员负责将安全措施落实到各作业任务和步骤中。
4.4 安全施工作业票由施工负责人现场持有,工作内容、地点不变时可连续使用 10 天,超过 10 天须 重新办理作业票,在工作完成后上交项目部保存备查。
PDFTJ-01 施工测量作业指导书
表 4.1 作 业任务安 全 基准风 险 指南
5 作业准备
5. 1 作业前施工条件
表 5.1 作业前施工条件
5.
2 人员、主要工器具及仪器仪表配置
表 5.2 人员、主要工器具及仪器仪表配置
中国南方电网有限责任公司电网建设施工作业指导书第8 部分:配网工程6 作业方法
表6 作业方法
PDFTJ-01 施工测量作业指导书
7 质量控制措施及检验标准
7.1 质量控制措施
7.1.1现场负责人应根据现场情况安排技术人员负责质量监控。
7.1.2作业人员必须熟悉工程作业流程和质量检验标准;技术岗位人员必须持有与作业相应、有效的上岗证。
7.1.3现场负责人在进行安全技术交底时必须详细介绍本作业质量控制要点、常见的质量通病及其防治措施。
7.1.4作业现场必须有经审核批准的设计图纸和施工方案,作业人员必须按图施工。
7.1.5施工质量检验一般按以下方式进行。
质量检验一般采用三级检验制,施工队(组)对所施工的分项工程应进行100%的质量自检;项目部对所负责施工的分部工程和单位工程组织质量检查,复检比例不宜
低于50%;公司对单位工程组织检查,抽检比例不宜低于20%。
7.2 检验标准
质量检验按《10kV~500kV 输变电及配电工程质量验收与评定标准第8 册:配网工程》中的Q/CSG 表
8-7.25 要求执行。
中国南方电网有限责任公司电网建设施工作业指导书第8 部分:配网工程
●附件1安全施工作业票
编码:PDFTJ-01-01/01
PDFTJ-01 施工测量作业指导书
说明:(一)本票由现场技术员填写,现场安全员审核,现场负责人签发生效。
现场负责人开工前核对风险控制措施
并宣读。
(二)工作内容、地点、安全措施不变时本票最长可使用十天,否则应重新办票,用后上交备查;当人员发生变
更时,应在备注栏记录变更情况。
对新增人员进行交底,并签名确认。
(三)应根据现场条件、范围和环境,补充安全事
项或平面布置图。
(四)当风险等级与基准风险等级不一致时,项目部应组织相关人员重新进行风险评估并制定措施。
(五)基准风险等级与风险控制措施在开工前现场打“√”。
(六)签名不齐全(含代签名的)均作废票处理。