对外付款审批流程图
- 格式:doc
- 大小:29.50 KB
- 文档页数:1
信用证付款流程图
信用证是国际贸易中常用的支付方式之一,它是由进口商的银
行向出口商的银行发出的一种付款保证。
信用证付款流程图如下:
1. 买卖双方签订合同。
买卖双方在确定贸易条件后,签订合同并确定采用信用证支付
方式。
2. 买方申请开立信用证。
买方向自己的银行申请开立信用证,填写开证申请书,提供合同、发票、装箱单等相关资料。
3. 银行开立信用证。
买方的银行根据申请书和合同要求,在国际银行间开立信用证,并将信用证通知卖方的银行。
4. 卖方装运货物。
卖方根据合同要求,装运货物并提供装运单据。
5. 卖方向银行索取付款。
卖方将装运单据提交给自己的银行,要求按照信用证的要求向其付款。
6. 银行审核单据。
卖方的银行对单据进行审核,确保单据符合信用证的要求。
7. 银行向买方索款。
卖方的银行向信用证开证行索取付款。
8. 买方付款。
买方的银行按照信用证的规定向卖方的银行付款。
9. 银行向卖方付款。
卖方的银行收到买方付款后,向卖方付款。
10. 信用证结算。
买卖双方的银行完成付款后,信用证结算完毕。
以上是信用证付款的流程图,通过信用证支付方式,买卖双方可以在交易中获得一定的保障,避免了支付风险,同时也促进了国际贸易的发展。
希望本文对信用证付款流程有所帮助。
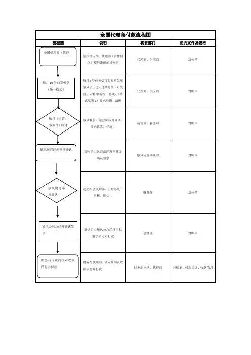
流程图说明权责部门相关表单文件报销人按照公司费用报销制度要求,整理好需要报销的发票或单据,并进行整齐粘贴。
根据报销内容填写《费用报销单》或《付款申请单》,外地出差的填写《出差费报销单》。
经办人员报销发票报销单据财务费用报销制度借款单报销单填写要求不得涂改,不得用铅笔或红色字体的笔填写,并附上相关的报销发票或单据。
若属于出差的费用报销,必须附上经过批准签字的《出差审批表》。
采购物品报销需附上总经理签字确认的《采购申请表》。
经办人员费用报销单出差审批单采购申请表借款单《费用报销单》《付款申请单》及相关单据准备完成后,报销人员提交给直接部门经理审核签字,直接部门经理须对以下方面进行审核:1) 费用产生的原因及真实性;2) 费用的合理性;3) 票据及单据的规范性。
4) 支付款项是否与购销合同付款方式相符。
若发现不符合要求,立即退还给相关报销人员重新整理提报。
相关部门经理费用报销单报销发票及单据出差审批单采购审批单借款单付款申请单购销合同部门经理审核签字后,将报销单据提交给财务部,由财务部门会计人员进行报销费用的确认,主要内容包括:1) 产生的费用是否符合报销标准及是否有费用申请单。
2) 财务是否能及时安排此费用;3) 单据或票据是否符合财务规范要求. 4) 支付款项是否与购销合同付款方式相符。
若发现不符合要求,立即退还给相关部门重新整理提报。
会计费用报销单报销发票及单据出差审批单采购审批单借款单付款申请单购销合同财务费用报销及付款流程图广州快货电子商务有限公司报销及付款单据整理粘贴填写《费用报销及付款申请部门经理审核财务部审核财务部对审核符合要求的报销单据统一呈总经理,由总经理进行批准签字,若总经理发现不符合要求,须立即退回财务部,由财务部跟进处理。
总经理费用报销单报销发票及单据出差审批单借款单付款申请单购销合同财务部出纳根据总经理批准的报销单据或付款申请单据准备款项。
出纳员费用报销单报销发票及单据出差审批单借款单付款申请单财务部出纳通知经办人,报销领款时,报销人员必须在《费用报销单》上领款人处进行签字确认。
采购付款流程
一:目的
适用于公司的除费用外的所有付款,包括但不限于购买材料,低值易耗品,固定资产的所有采购与付款。
二:采购付款流程图
三:流程说明
发票付款之前已到
1.采购物资经检验合格入库,要求供应商开具发票(增值税专用发票或普通)与验收入库单核对无误后同申购单、验收入库单,合同办理报销发票手续。
2.编制付款申请单,先由部门经理审核然后交至财务部长审核无误后呈交相应审批责任人;未经审批则返回重新核对。
3.审批通过后将付款申请单交至财务部安排付款、发票核销。
预付款形式,发票未到情况付款流程:
1.编制《付款申请单》,先由部门经理审核然后交至财务部长审核无误后呈交相应负责人审
批;未经审批则返回重新核对。
2.审批通过后将付款申请单及采购申请单,采购合同交至财务部安排付款。
采购物资经检验合格入库,及时跟催并要求供应商开具发票(增值税专用发票或普通)与验
收入库单核对无误后同申购单、验收入库单办理报销发票手续。
附件1
采购申请单
部门:申请人:申请日期:附件2
付款会签单
年月日。
工程结算及付款流程图保修金结算及付款流程图工程付款及结算管理程序1.目的规范工程结算的方法与流程,保障工程结算的准确性,提高结算工作质量及效率。
2.适用范围适用于重庆本地项目的所有工程类合同付款、结算及保修金的结算。
3.定义无4.职责4.1常务副总经理4.1.1审批《工程结算书》。
4.2成本分管总监4.2.1审批《工程结算申请审批单》;4.2.2审批《保修金结算申请》。
项目部撤消后,由工程总监负责审批。
4.3项目部经理4.3.1审核《工程结算申请审批单》;4.3.2审核《保修金结算申请》。
4.4项目部工程师4.4.1现场工程师审核承包方上报的结算资料,填写《工程结算申请审批单》;4.4.2维修工程师审核承包方上报的保修金结算申请。
4.5成本管理部4.5.1工程及材料结算、保修金结算的办理。
5.程序:5.1工程竣工验收后,项目部接收承包方提交的结算申请并审查承包方上报的结算资料,填写《工程结算申请审批单》并交项目部经理审核,报工程总监审批;5.2成本管理部根据制订的结算工作计划安排结算工作,结算工作实施的先后顺序为:采购类结算、分包工程类结算、主体总包结算;5.3成本管理部接收到结算资料后应先由部门资料员登记,再根据分工交由结算经办人进行结算审核;5.4结算经办人依据合同约定的计价方式结算费用,并作技术、经济指标分析;5.4.1材料设备类合同的结算须待合同范围内的供货、退货办理完成,结算范围包括从开始供应起至入伙之日止的全部领用量;5.4.2材料设备类结算资料应包含:各批次供货数量及价格的汇总表,各领用单位签字确认的各批次供货数量及价格。
两份表格总量及总价须一致。
5.5结算审核:5.5.1项目结算经办人在结算审核完成后报成本管理部经理审核,成本分管总监审批并签署《工程结算书》;结算经办人根据成本分管总监审批结果填写《工程结算协议书》,施工单位签字盖章后交成本管理部经理签署;5.5.2 结算经办人须审查结算资料的完整性、计价的准确性并落实扣罚款事项是否实施,须核对以往材料付款时留存于成本管理部的原始验收单据及计算表格,确保结算无误,同时将验收单据附于结算资料中。
下发年度预算通知各分支机构、项目部上报预算数经营部核定预算数各分支机构、项目部编制预算报表公司财务汇总预算报表公司领导审批上报集团公司预算报表及预算分析集团公司下达年度预算指标返回修改重新上报审核不通过审核通过各分支机构、项目部上报预算报表各分支机构、项目部编制决算报表各分支机构、项目部准备决算纸质资料决算纸质资料报送会计师事务所各分支机构、项目部上报决算报表返回修改重新上报汇总合并决算报表补充完善决算纸质资料会计师事务所交换审计意见取得审计报告转换为国资委报表编制公司财务分析报告各分支机构、项目部编制财务分析报告消除分歧意见下发决算通知通过审核未通过审完备不完备意见不一致意见一致备用金借款流程借款人提出申请,填写《借(请)款审批单》部门领导签字审批分管领导签字审批总会计师签字审批总经理签字审批财务部长签字并根据资金状况安排付款财务部办理借支手续五千元以上五千元以下职工薪酬工作流程资产运营部报送房租、公积金代扣代缴明细表(部门公章)各部门报送考勤表(部门负责人签字)人力资源部根据人事命令报送职工薪酬审批表(部门负责人、总会计师、总经理签字)财务部根据人事命令发调转人员通知书(项目部盖章、部门负责人签字)人力资源部报送人事命令财务部根据各部门报的当月数据编制工资表打印工资明细表、汇总表并存档财务部报送工资明细表至人力资源部核对财务部办理支付手续(银行代发)返回修改审核通过审核不通过人力资源部报送效益工资发放通知及支付单办理外出经营许可证业务流程项目部财务准备办理外出经营证所需资料填写公司印章审批表总会计师签字行政办公室盖公章填写公司及集团公司印章审批表向税务局上报资料集团办公室盖集团公章集团公司税务专职会计、财务部长、总会计师一公司合同集团公司合同财务报税业务流程各分支机构、项目部申请开具发票财务部税务专职人员开具发票填报营业税金及附加纳税申请表年度企业所得税汇算清缴报告及季度财务决算报表应交企业所得税填报企业所得税纳税申请表根据工资明细表,资产运营事业部、安质部提供资料等填报个人所得税、房产税、土地使用税、车船税等纳税申报表填写付款审批表办理报税手续费用报销流程部门领导签字审批分管领导签字审批总经理签字审批(飞机、高铁费用需总经理审批)财务部长签字并根据资金状况安排付款报销人员整理票据并在票据背后签字,填写《费用报销审批单》财务部办理费用报销手续预算外费用预算内费用对外付款支付流程申请人按经济业务填写《付款审批单》提出付款申请会计签字并核对债权债务信息分管领导签字审核总会计师签字审批总经理签字审批财务部长签字并根据资金状况安排付款财务部办理支付手续一万元以上一万元以内存货盘点工作流程保管人员核对账目、整理材料,准备盘点工作分配人员进行实物盘点根据盘点结果填写盘点表根据盘点结果将盘盈、盘亏、毁损的存货先做待处理财产损益处理盘点结果上报分管领导领导批示后,财务部门进行帐务处理废旧物资处理流程所属部门对无利用价值废旧物资提出处理申请所属部门领导签字审批分管领导签字审批总经理签字审批财务部门监督处理并收款列账会计档案管理流程会计凭证会计账簿财务报告其它会计资料整理、归档、装订成册、编号编制会计档案目录清单形成会计档案编制移交清单需移交会计档案存档到规定年限需销毁档案室、财务部办理销毁手续财务部长审批需要查询、复印、借阅总会计师审批档案室、财务部办理查询、复印、借阅登记手续需借阅仅需查询、复印资金计划管理业务流程物资部门报送固定资产支付计划法律合规部报送法律诉讼事项支付计划财务部汇总机关资金使用计划各项目部上报资金使用计划财务部编制公司资金使用计划财务部长审批总会计师审批人力资源部报送月度工资、奖金及社保支付计价财务部根据年度预算作各部门管理费用资金使用计划应收账款管理及催收流程工程项目部根据验工计价表确认应收账款项目负责人、项目财务负责催收账款项目财务每季度向对方单位发询证函确认应收账款办理末次验工计价收回全部应收帐款项法律合规部对欠款出具处理意见报公司领导审批采取法律行动责任人继续跟踪债务单位情况并继续催收收回工程款。
付款管理制度付款审批制度及流程1.0目的为了明确公司付款流程,规范公司付款管理。
2.0 范围有采购订单或有购买合同、费用支付类合同等的应付帐款的管理。
3.0 权责 3.1 采购部经理门必须对采购订单进行审核。
审核的内容包括是否有财务经理、总经理助理、采购经理审批签字;该定单的付款方式,该原材料或成品(以下简称物料)的进价等。
付款方式分为预付、现付(货到付款)、月结三种(月结的供应商由采购部门与对方签定月结合同)月结的时间具体参照合同。
付款方式为预付或现付的订单需财务经理、总经理助理特别核准,并报财务部备案。
凡未经总经理助理核准预付、现付方式的订单一律采用月结货款的方式。
3.2 所有采购物料报价单必须由采购经理审核、财务经理及总经理助理审批。
凡未经采购经理审核、财务经理及总经理助理审批的报价单而购进的物料,财务部门有权进行拒付货款。
采购部门应将审批后的报价单报财务部门备案,作为财务部门付款的依据。
3.3 仓库收货必须以采购订单为依据,超过订单数量送货(备品除外)或未到交货期的送仓库一律不予接受;财务一律不予付款。
物料入库单必须有品管部、仓库主管签字确认方能生效。
财务在支付货款时,必须凭采购订单、报价单、物料入库单、供货商提供的送货单及发票五单齐全才能付款,缺其中一单,财务部门有权进行拒付。
3.4 仓库管理员必须妥善保管物料入库单,凡属月结的物料入库单,必须当天录入系统,次日交财务部门入帐;凡属现付的物料入库单,必须当时交财务部门便于结算。
每张物料入库单必须附有对应的送货单。
3.5 当月送货经品管部检验品质不良,品管部判定退货的物料必须当月退货,或将物料存放退货区,同时填制退货单。
退货单一式四联,仓库一联;品管部一联;财务部一联;供应商一联。
交财务部门的一联次日上交财务部门。
退货单上必须有品管部及仓库主管签字确认,并请注明退货原因,同时附上品质报告。
3.6 财务部门结算时所需单据(采购订单、报价单、送货单、物料入库单、购货发票、如产生退货另需退货单)必须由各有关部门在规定的时间按供应商整理归集后送至财务部。
对外支付备案流程及注意事项一、一般对外支付备案流程图二、对外支付备案业务具体操作1、合同备案合同签订之日起30日内,到主管国家税务机关办税服务厅综合业务窗口,办理对外支付合同备案。
需要提交的资料有:(1)《扣缴企业所得税合同备案登记表》(国税发[2009]3号附件)一式两份;(2)合同复印件及相关资料(文本为外文的应同时附送中文译本)。
所有上述资料复印件,都需要加盖公章或财务专用章,并标明与原件一致。
30日内合同[2009]3号、国19号国家税务总局国家外汇2013年第40号7日内《中华人民共和国企业办税服务厅工作人员录入信息后,备案完成,《扣缴企业所得税合同备案登记表》加盖国税局业务专用章后,一份留存,一份返回纳税人。
如果合同备案日期超过合同签订之日的30日,则按《中华人民共和国税收征收管理法》中规定的税收违法行为处理,由“税收违法行为处理”岗在金税三期核心征管系统中,启动税收违规法“简易程序处罚”(本级终结)或者“一般程序处罚”(需要逐级推送至区县局长岗审核终结),“税收违法行为处理”岗一般为税收管理员。
2、对外支付备案单笔支付金额超过5万美元的,每次对外支付前,需要到主管国家税务机关办理对外支付备案。
备案需要提交以下资料:(1)《服务贸易等项目对外支付税务备案表》(国家税务总局国家外汇管理局公告2013年第40号附件)一式三份;(2)合同复印件及相关资料(文本为外文的应同时附送中文译本),若已经进行合同备案的,无需再提供。
备案表及相关资料加盖公章或财务专用章,复印件需标明与原件一致。
资料填写完全,大厅工作人员即时办理,加盖税务机关业务专用章后,两份留存,一份当场返回纳税人。
税务局对外支付备案完成后,持税务局备案表及合同相关资料,到外汇管理局备案。
三、代扣代缴税款1、代扣代缴企业所得税企业对外支付之日起7日内,或合同到期日起7日内,到主管税务机关办税服务厅申报认证窗口,进行代扣代缴企业所得税,需要提交《中华人民共和国扣缴企业所得税报告表》(国税函〔2008〕801号附件)一式两份,加盖财务专用章;办税服务厅工作人员,录入相关信息后,进行扣税,并在报告表上加盖国税机关业务专用章,一份留存,一份返回纳税人;扣款完成后,纳税人可持“银行电子缴税付款凭证”原件,到申报认证窗口领取税收完税证明,作为记账凭证。